|
|
(21), (22) Заявка: 2004134517/14, 25.11.2004
(24) Дата начала отсчета срока действия патента:
25.11.2004
(46) Опубликовано: 27.06.2006
(56) Список документов, цитированных в отчете о поиске:
RU 41420 U1, 27.10.2004. RU 2089238 C1, 10.09.1997. RU 2100036 C1, 27.12.1997. DE 3238070 A1, 19.04.1984. EP 0938910 A2, 01.09.1999.
Адрес для переписки:
347939, Ростовская обл., г. Таганрог, Мариупольское ш., 27/1, кв.138, А.А. Карасеву
|
(72) Автор(ы):
Карасев Александр Александрович (RU), Карасев Николай Александрович (RU), Карасев Дмитрий Александрович (RU)
(73) Патентообладатель(и):
Карасев Александр Александрович (RU)
|
(54) РЕКТАЛЬНО-ВАГИНАЛЬНОЕ ЭЛЕКТРОДНОЕ УСТРОЙСТВО
(57) Реферат:
Изобретение относится к медицине, в частности, к электротерапии. Ректально-вагинальное электронное устройство содержит два электрода, ручку с токоподводами для подключения выходов электронейроадаптивного стимулятора и армирующий металлический стержень, контактирующий с одним из электродов. Устройство снабжено основанием, на котором установлены электроды. Ручка снабжена элементом фиксации армирующего металлического стержня для обеспечения электрического контакта электродов с токоподводами. Контактная часть электродов выполнена не менее чем из двух проводников, соединенных между собой соединениями, выполненными в виде выпуклых сферических многоугольников. Основание выполнено в виде полого цилиндра или прямой призмы со сплошным центральным отверстием и числом граней, равным количеству проводников электродов. Ручка выполнена съемной. Соединения проводников электродов размещены с разных торцов основания. Проводники электродов размещены по периметру основания в чередующемся порядке электродов. Армирующий металлический стержень проходит внутри отверстия основания и контактирует с электродом, соединение проводников которого размещено на торце, противоположном ручке. Изобретение позволяет улучшить условия для обеззараживания электродов и повысить эффективность при использовании в СКЭНАР-терапии. 9 ил.
Изобретение относится к медицине, в частности к электротерапии, и может использоваться при лечении хронического простатита и гинекологических заболеваний.
Из описания к патенту Российской Федерации на полезную модель №11076, МПК 6 A 61 N 1/00, публ. 1999.09.16. известен электронный стимулятор ректально-вагинальный, в котором на держателе электродов, выполненном в виде упругого цилиндрического стержня с возможностью его изгиба относительно продольной оси на требуемый для практического применения угол в пределах угла, равного 80, закреплены два электрода, один из которых подключен к выходу генератора импульсов, а другой – к его управляющему входу. Недостаток такого ректально-вагинального устройства – отсутствие возможности раздельной дезинфекции элементов электродного устройства, что не исключает возможность заражения. Кроме того, такое электродное устройство недостаточно эффективно при СКЭНАР-терапии.
Электродное устройство для электростимуляции ректальных зон, защищенное патентом Российской Федерации на полезную модель №31331, МПК 7 A 61 N 1/36, публ. 2003.08.10, содержит общий электрод, колпачок, N изолирующих колец, N электропроводящих колец. Общий электрод соединен с помощью плотного резьбового соединения с первым изолирующим кольцом, каждое i-e изолирующее кольцо, i=2…N, соединено с помощью резьбового соединения i+1 с электропроводящим кольцом, а N-е электропроводящее кольцо соединено с помощью резьбы с ручкой. Недостаток этого электродного устройства – сложность конструкции, продолжительность сборки и разборки.
Эндовагинальный электрод для гальванизации и электрофореза лекарственных веществ, описанный в авторском свидетельстве СССР №1813459, МПК 5 А 61 М 1/30, публ. 1993.05.07, состоит из полого цилиндрического замкнутого на рабочем конце корпуса с установленным внутри полым металлическим стержнем, на котором установлена свинцовая пластинка. На рабочем (дистальном) конце корпуса электрода выполнены напротив свинцовой пластинки дроссельные отверстия. В рукоятке электрода выполнен канал, соединяющий стержень с канюлей для шприца. Вдоль рукоятки электрода с возможностью перемещения и фиксации при помощи фиксатора установлен ограничитель. В рукоятке электрода выполнено также поперечное отверстие, в котором установлена, например, на резьбе, клемма для соединения с источником тока. Недостаток такого электрода – невозможность его использования в СКЭНАР-терапии из-за наличия свинцового электрода.
Известно устройство для лечения хронического простатита (см. авторское свидетельство СССР №1785706, МПК 5 A 61 N 1/30, публ. 1993.01.07.), предназначенное для физиотерапевтического воздействия при хроническом простатите. Устройство содержит два подключенных к источнику питания электрода, первый из которых выполнен в виде пластины, а второй в виде пластины, установленной в корпусе цилиндрической формы с упором и окном, а также с ручкой и электровводом второго электрода. С целью снижения травматичности стенки прямой кишки при его введении защитный экран выполнен в виде цилиндра с отверстием для закрепления электроввода электрода на одном конце и некольцевого сегмента цилиндра на другом, размещенного внутри корпуса, причем электрод закреплен симметрично сегменту защитного экрана относительно оси корпуса, ручка разъемно соединена с корпусом, а на электровводе жестко закреплен рычаг с возможностью поворота электрода с защитным экраном на 180° вокруг оси. Недостаток такого устройства – непригодность использования в СКЭНАР-терапии из-за отсутствия возможности локализации воздействия.
В качестве прототипа заявляемому ректально-вагинальному электродному устройству принято ректально-вагинальное электродное устройство, защищенное патентом Российской Федерации на полезную модель №41420, МПК 6 A 61 N 1/30, публ. 2004 г. Устройство, принятое в качестве прототипа, содержит держатель электродов, на котором закреплены два электрода, один из которых соединен с разъемом для подключения электродного устройства к электростимулятору. Дополнительно оно содержит третий электрод с соединительным проводом и переключатель электродов, через который второй и третий электроды соединены с разъемом для подключения электродного устройства к электростимулятору. Переключатель электродов может быть выполнен двухпозиционным, при этом в первой позиции с разъемом для подключения электродного устройства к электростимулятору соединен второй электрод, а во второй позиции – третий электрод. Переключатель электродов может быть выполнен трехпозиционным, при этом в первой позиции с разъемом для подключения электродного устройства к электростимулятору соединен второй электрод, во второй позиции – третий элэктрод, а в третей позиции – второй и третий электроды.
Недостаток прототипа – неудовлетворительные условия для обеззараживания, снижение эффективности при использовании в СКЭНАР-терапии из-за малой области воздействия, ограниченной лишь промежутком между первым и вторым электродами.
Технический результат от использования изобретения – улучшение условий для обеззараживания электродов и повышение эффективности при использовании в СКЭНАР-терапии.
Указанный технический результат достигается тем, что ректально-вагинальное электродное устройство, содержащее два электрода, ручку с токоподводами для подключения выходов электронейроадаптивного стимулятора и армирующий металлический стержень, контактирующий с одним из электродов, снабжено основанием, на котором установлены электроды, ручка снабжена элементом фиксации армирующего металлического стержня для обеспечения электрического контакта электродов с токоподводами, контактная часть электродов выполнена не менее чем из двух проводников, соединенных между собой соединениями, выполненными виде выпуклых сферических многоугольников, основание выполнено в виде полого цилиндра или прямой призмы со сплошным центральным отверстием и числом граней, равным количеству проводников электродов, а ручка выполнена съемной, при этом соединения проводников электродов размещены с разных торцов основания, проводники размещены по поверхности основания параллельно оси центрального отверстия и в чередующемся порядке электродов, а армирующий металлический стержень проходит внутри отверстия основания и контактирует с электродом, соединение проводников которого размещено на торце, противоположном ручке.
Изобретение поясняется чертежами.
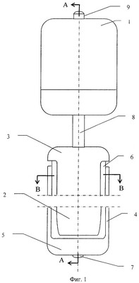
На фиг.1 изображена конструкция заявляемого ректально-вагинального электродного устройства в сборе, на фиг.2 – разрез по А-А, на фиг.3 – разрез по В-В, на фиг.4 – конструкция армирующего металлического стержня, на фиг.5 – конструкция контактной втулки пассивного электрода, на фиг.6 – конструкция основания, на фиг.7 – конструкция пассивного электрода, на фиг.8 – конструкция активного электрода, на фиг.9 показано положение электродного устройства в контейнере для обеззараживания.
На фиг.1…9 цифрами обозначены:
1 – съемная ручка;
2 – проводники пассивного электрода;
3 – соединение проводников пассивного электрода;
4 – проводники активного электрода;
5 – соединение проводников активного электрода;
6 – основание;
7 – армирующий металлический стержень;
8 – контактная втулка пассивного электрода;
9 – кнопка устройства фиксации армирующего металлического стержня;
10 – фиксирующая втулка;
11 – фиксирующие шарики;
12 – упор;
13 – пружина упора;
14 – пружина контактной втулки пассивного электрода;
15 – контактная шайба пассивного электрода;
16 – корпус съемной ручки;
17 – токоподвод пассивного электрода;
18 – токоподвод активного электрода;
19 – изолирующая шайба;
20 – тело армирующего металлического стержня;
21 – пята армирующего металлического стержня;
22 – оконечник армирующего металлического стержня;
23 – центральное отверстие контактной втулки пассивного электрода;
24 – центральное отверстие основания;
25 – опорная площадка под контактную втулку в соединении проводников пассивного электрода;
26 – опорная площадка под пяту арматурного металлического стержня в соединении проводников активного электрода.
27 – контейнер для обеззараживания (дезинфекции);
28 – обеззараживающая среда.
Заявленное ректально-вагинальное электродное устройство (фиг.1) содержит съемную ручку 1, пассивный электрод, содержащий проводники 2 и соединение проводников 3 пассивного электрода, активный электрод, содержащий проводники 4 и соединение проводников 5 активного электрода, электроды размещены на основании 6 в виде полого цилиндра или прямой призмы со сплошным центральным отверстием, соединения проводников 3 и 5 соприкасаются с торцами основания 6 и выполнены в виде выпуклого сферического многоугольника, а проводники 2 и 4 размещены по поверхности основания параллельно оси центрального отверстия и в чередующемся порядке, проводник 2, затем проводник 4 и т.д. по периметру, при этом число граней при выполнении основания виде прямой призмы равно суммарному количеству проводников 2 и 4. Активный электрод, соединение проводников 3 которого соприкасается с торцом основания 6, противоположным съемной ручке, контактирует с армирующим металлическим стержнем 7, проходящим через центральные отверстия основания 6 и контактной втулки 8 пассивного электрода. Электроды, армирующий металлический стержень 7 и контактная втулка 8 выполнены из высокопробного серебра, а основание 6 – из фторопласта или высокотемпературного пластика. Съемная ручка 1 включает устройство фиксации армирующего металлического стержня, которое, например, может содержать (фиг.2) кнопку 9, фиксирующую втулку 10 с несколькими коническими отверстиями, в которые помещены фиксирующие шарики 11, упор 12, пружину 13 упора и пружину 14 контактной втулки 8. Фиксирующая втулка 10 выполнена из электропроводящего материала и закреплена в приемном канале корпуса 16 резьбовым соединением. Между пружиной 14 и фиксирующей втулкой 10 установлена электроизолирующая шайба 15. Токоподвод 17 пассивного электрода соединен с фиксирующей шайбой 10, а токоподвод 18 активного электрода – проводящей шайбой 19, установленной между пружиной 14 и контактной втулкой 8. Армирующий металлический стержень 7 (фиг.4) представляет собой тело 20, пяту и шароподобный оконечник 22. Размеры центрального отверстия 23 контактной шайбы 8 (фиг.5) превышает диаметр оконечника 22 настолько, чтобы было исключено соприкосновение контактной шайбы 8 с армирующим металлическим стержнем 7. Основание 6 (фиг.6) выполнено в виде цилиндрического тела или в виде прямоугольной призмы с числом граней, равном суммарному количеству проводников 2, 4 активного и пассивного электродов. На фиг.7 показана конструкция пассивного электрода с двумя проводниками 2. В соединении 3 этих проводников выполнена опорная площадка 25 под контактную втулку 8. На фиг.8 показана конструкция активного электрода с двумя проводниками 4, в соединении 5 которых выполнена опорная площадка 26 под пяту 21 армирующего металлического стержня 7. На фиг.3 показано, как проводники 2 и 4 расположены на гранях основания 6 в чередующемся порядке. Аналогично проводники 2, 4 расположены и на поверхности цилиндрического основания 6, только в этом случае каждый проводник в сечении представляет собой сектор кольца с углом 75…85°.
Форма выполнения пассивного (активного) электрода в виде нескольких проводников 2 (4) с соединением 3 (5) в виде выпуклого сферического многоугольника, расположение соединений 3 и 5 с противоположных торцов основания 6, а проводников 2, 4 – вдоль образующих основания 6 в чередующемся порядке позволяют повысить эффективность СКЭНАР-терапии за счет того, что стимулирующее воздействие осуществляется по всей поверхности стимулируемого органа. Такое выполнение электродов позволяет существенно оптимизировать условия обеззараживания элементов, контактирующих с телом пациента. Отличительной особенностью заявленного ректально-вагинального электродного устройства является то, что обеспечена возможность разборки перед обеззараживанием и сборки после обеззараживания без касания оператором элементов электродного устройства, контактирующих с телом пациента. Для обеззараживания (дезинфекции) пассивный и активный электроды, основание 6, контактная втулка 8 и армирующий металлический стержень 7 в сборке размещаются в контейнере 27 для обеззараживания (фиг.9). Средой 28 для обеззараживания может быть газовой (например, пар с температурой 200…250°С) или жидкой (перекись водорода или спирт). Для сборки ректально-вагинального электродного устройства перед использованием оператор берет в одну руку съемную ручку 1 входным каналом вниз, в другую контейнер 27, в котором в сборке помещены активный и пассивный электроды, основание 6, армирующий стержень 7 и контактная втулка 8. Вводя оконечник 22 и контактную втулку 8 во входной канал корпуса 16 съемной ручки 1 до срабатывания устройства фиксации армирующего металлического стержня, оператор тем самым осуществляет сборку ректально-вагинального электродного устройства. Для разборки ректально-вагинального электродного устройства оператор устанавливает его в контейнер 27 и нажимает кнопку 9. Устройство фиксации армирующего металлического стержня освобождает его оконечник 22 и под действием пружины 14 контактная втулка 8 и армирующий металлический стержень 7 выталкиваются из входного канала корпуса 16 быстросъемной ручки 1. Устройство готово для обеззараживания.
Устройство фиксации армирующего металлического стержня функционирует следующим образом. В исходном состоянии под действием силы тяжести кнопка 9 горизонтальной плоскостью упирается в торец фиксирующей втулки 10, упор 12 лежит на изолирующей шайбе 19, а фиксирующие шарики 11 из конических отверстий в ней выступают в полость между кнопкой 9 и фиксирующей втулкой 10, пружина 14 удерживается во входном канале корпуса 16 контактной шайбой 15. При сборке оконечник 22 упирается в упор 12. Движение упора 12 через пружину 13 передается кнопке 9, при перемещении которой фиксирующие шарики 11 выдавливаются из полости между кнопкой 9 и фиксирующей втулкой 10 вглубь конических отверстий и фиксируют положение оконечника 22 в фиксирующей втулке 10. Жесткость конструкции обеспечивается тем, что контактная втулка 8 прижимается к пассивному электроду пружиной 14 и придавливает его и основание 6 к активному электроду, зафиксированному пятой 21 армирующего металлического стержня 7. Токоподводы 17, 18 подключены к выходу электронейростимулятора, который может быть размещен и внутри съемной ручки.
Преимущество заявленного ректально-вагинального электродного устройства перед известными прежде всего в том, что оператор не прикасается к его элементам, контактирующим с телом пациента, ни до, ни во время, ни после использования ректально-вагинального электродного устройства, что существенно снижает вероятность инфекционного заражения. При этом за счет расширения области воздействия повышается эффективность СКЭНАР-терапии.
Формула изобретения
Ректально-вагинальное электродное устройство, содержащее два электрода, ручку с токоподводами для подключения выходов электронейроадаптивного стимулятора и армирующий электрод, отличающееся тем, что оно снабжено основанием, на котором установлены электроды, ручка снабжена элементом фиксации армирующего металлического стержня для обеспечения электрического контакта электродов с токоподводами, контактная часть электродов выполнена не менее чем из двух проводников, соединенных между собой соединениями, выполненными виде выпуклых сферических многоугольников, основание выполнено в виде полого цилиндра или прямой призмы со сплошным центральным отверстием и числом граней, равным количеству проводников электродов, а ручка выполнена съемной, при этом соединения проводников электродов размещены с разных торцов основания, проводники размещены по поверхности основания параллельно оси центрального отверстия и в чередующемся порядке электродов, а армирующий металлический стержень проходит внутри отверстия основания и контактирует с электродом, соединение проводников которого размещено на торце, противоположном ручке.
РИСУНКИ
|
|