|
|
(21), (22) Заявка: 2004134626/15, 26.11.2004
(24) Дата начала отсчета срока действия патента:
26.11.2004
(46) Опубликовано: 27.06.2006
(56) Список документов, цитированных в отчете о поиске:
RU 2126277 C1, 20.02.1999. SU 1726504 A1, 15.04.1992. RU 2135814 C1, 27.08.1999. WO 09216251 А, 01.10.1992. WO 9508368 A, 30.03.1995.
Адрес для переписки:
400131, г.Волгоград, пр. Ленина, 30, кв.38, И.Н.Маегову
|
(72) Автор(ы):
Маегов Иван Николаевич (RU)
(73) Патентообладатель(и):
Маегов Иван Николаевич (RU)
|
(54) ИОНИЗАТОР ГОРИЗОНТАЛЬНОГО ПОТОКА ВОЗДУХА
(57) Реферат:
Изобретение относится к устройствам для ионизации воздуха и может быть применено в быту, медицине, сельском хозяйстве и в других отраслях. Ионизатор горизонтального потока воздуха, состоящий из воздуховода, в котором последовательно размещены вентилятор и ионизирующий решетчато-игольчатый катод, и корпуса, в котором размещены блок питания и ограничительное сопротивление, стенки горизонтального воздуховода содержат металлический слой для защиты объема ионообразования от действия электрополя Земли, блок питания содержит трансформатор, в котором напряжение переменного тока, взятого из сети, повышается и подается на катод ионизатора. 2 ил.
Область техники, к которой относится изобретение
Изобретение является устройством ионизации горизонтального потока воздуха и может быть применено в быту, медицине, сельском хозяйстве и в других случаях.
Уровень техники
Известен «Ионизатор воздуха» (авторское свидетельство 615938, кл. А 61 №1/44, опубл. 19.06.1978 г.) [2]. Данное устройство ионизатором не является, т.к. в нем на иглы, закрепленные внутри металлического кольца, электроны попасть не могут. Электроны с игл не испускаются, и ионизация воздуха не производится.
Известен «аэроионизатор» (описание изобретения 827079, кл. А 61 №1/44 опубл. 07.05.1981 г.) [3]. В нем ошибочно утверждается образование ионов около лопастей вентилятора, что невозможно, т.к. электроны могут стекать только с концов игл (см.1, т.I, стр.17). Данное устройство ионизатором не является.
Известен «аэроионизатор» (описание изобретения к патенту RU 2135227, опубл. 27.08.1999 г.) [4]. В нем электроны, стекающие с игл, попадают под действие электрополя Земли и устремляются вверх со скоростью 1000 м/с. Ионизация молекул кислорода в основном происходит под потолком. Ионы к людям не попадают.
Известен «Ионизатор кислорода воздуха» (описание к изобретению RU 2126277 от 20.02.1999 г.) [6]. В нем электроны, испускаемые с игл катодов, под действием вертикального электрополя Земли приобретают скорость 1000 м/с, направленную вверх. Бòльшая часть электронов прилипает к верхней стенке воздуховода и в ионообразовании не участвует, а образовавшиеся в небольшом количестве ионы кислорода все поглощаются в электрофильтре 8, который установлен в конце воздуховода. Таким образом, этот прибор ионов не производит, но он является прообразом (аналогом) «ионизатора горизонтального потока воздуха», предлагаемого автором в настоящей заявке.
В заключение необходимо сказать, что в продаже есть «ионизаторы» различных конструкций, но нет ни одного, в котором бы учитывалось действие электрополя Земли, и поэтому все они бесполезны или в лучшем случае имеют очень малый коэффициент полезного действия. Таково состояние техники аэроионизации к 2005-му году. Для понимания сути изобретения предварительно необходимо прочитать реферат.
Сущность изобретения
Задачей предлагаемого изобретения является создание ионизатора высокой эффективности.
Достигается это тем, что его горизонтальный воздуховод изолируется от электрополя Земли, для чего в трехслойные диэлектрические стенки воздуховода вводится тонкий слой алюминия (см. фиг.1). При этом объем ионизации увеличивается во много раз при неизменных размерах воздуховода, а это означает, что и коэффициент полезного действия ионизатора увеличивается во много раз только за счет введения тонкого слоя алюминия в стенки воздуховода.
Это заключение делается из следующих соображений. Если стенки воздуховода сделать из диэлектрика, то электроны, испущенные из катода, под действием электрополя Земли получают скорость 1000 м/с, направленную вверх. В связи с этим электроны концентрируются в тончайшем слое около верхней стенки воздуховода и ионизируют ничтожную часть потока воздуха.
Если же в трехслойные стенки воздуховода ввести тонкий слой металла (алюминия, например), то он защитит весь объем воздуховода от электрополя Земли, и все электроны будут двигаться вместе с горизонтальным потоком воздуха.
Ионизация будет производиться во всем объеме воздуховода. КПД ионизатора при этом увеличивается многократно.
Кроме того, предлагаемый ионизатор принципиально отличается от всех остальных еще и тем, что в нем ставится упрощенный, дешевый и абсолютно надежный блок питания – простой трансформатор без выпрямителя. Это вполне допустимо, т.к. в полупериоды, когда будет подаваться отрицательный потенциал, иглы будут испускать электроны, и ионизация все равно будет, хотя и импульсной, что совершенно незаметно для потребителя. Первичная обмотка трансформатора включается в городскую электросеть, а со вторичной обмотки ток пойдет на иглы (см. фиг.1 и 2).
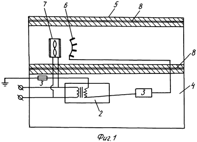
Принципиальная схема предлагаемого ионизатора показана на чертежах, где
2 – блок питания;
3 – резистор, R=107 Ом;
4 – корпус прямоугольного поперечного сечения;
5 – цилиндрический воздуховод;
6 – катод;
7 – вентилятор;
8 – защитный слой алюминия.
Ионизатор горизонтального потока воздуха – это агрегат, состоящий из корпуса 4 и воздуховода 5 (см. фиг.1). В корпусе 4 размещены блок питания 2 и резисторы 3. В воздуховоде размещены последовательно вентилятор 7 и катод 6. Катод выполнен в виде круглой решетки, в узлах которой припаяны иглы из нержавеющей стали (фиг.2).
Ионизатор работает следующим образом.
Питание производится от сети 220 В. В блоке питания 2 переменный ток повышается до 10 кВ и через ограничительный резистор 3 сопротивлением R=107 Ом подается на воздухопроницаемый игольчатый катод 6. У поверхности острых концов игл с радиусом кривизны 10-4 м (около 0,1 мм) возникает электрополе с напряженностью E0 108 (В/м), и с них стекают электроны (см.5, т.I, стр.17), которые ионизируют воздух. Ионизация происходит потому, что молекулы кислорода обладают сродством к электрону, т.е. способны присоединять электрон и превращаться в отрицательные ионы (см.5, т.5, стр.59). Поток воздуха создается вентилятором 7 такой мощности, чтобы ионизированный воздух приходил к потребителю с комфортной скоростью 1÷2 м/с. Воздух должен быть предварительно очищен от пыли и других примесей. Это необходимо, т.к. пылинки и другие частицы, заряженные электронами, прилипают к альвеолам легких и очень вредны человеческому организму.
Источники информации
1. Чижевский А.Л. Аэроионификация в народном хозяйстве. – М.: Стройиздат, 1985, 1989.
2. Пузанов Б.И., авт. свид. 615938, кл. A 61 N 1/44, 1978. Ионизатор воздуха.
3. Максимовский Ю.И., Морозов В.В., Полторацкий Б.Ф., Мирошник В.И. Описание изобретения к авт. свид. 827079, М. кл. A 61 N 1/44, 07.05.1981.
4. Коровин В.Н. Аэроионизатор. Описание изобретения к патенту РФ. РФ 2135227, кл. 6 A 61 N 1/44, 1999.
5. Физический энциклопедический словарь ФЭС 1960-1966. – М.
6. Научно-производственное предприятие «Катодная защита». Описание изобретения «Ионизатор кислорода воздуха» RU 2126277 С1, кл. 6 A 61 N 1/44, 20.02.1999.
Формула изобретения
Ионизатор горизонтального потока воздуха, состоящий из воздуховода, в котором последовательно размещены вентилятор и ионизирующий решетчато-игольчатый катод, и корпуса, в котором размещены блок питания и ограничительное сопротивление, отличающийся тем, что стенки горизонтального воздуховода содержат металлический слой для защиты объема ионообразования от действия электрополя Земли, блок питания содержит трансформатор, в котором напряжение переменного тока, взятого из сети, повышается и подается на катод ионизатора.
РИСУНКИ
|
|