|
(21), (22) Заявка: 2004129694/14, 14.10.2004
(24) Дата начала отсчета срока действия патента:
14.10.2004
(43) Дата публикации заявки: 27.03.2006
(46) Опубликовано: 27.06.2006
(56) Список документов, цитированных в отчете о поиске:
Г.С.ЮМАШЕВ. Травматология и ортопедия. – М.: Медицина, 1983. RU 2127142 C1, 10.03.1999. EP 0357517 A1, 07.03.1990. US 2004/0163693 A1, 26.08.2004. JP 2003245110 A, 02.09.2003.
Адрес для переписки:
125008, Москва, ул. Михалковская, 26, корп.1, кв.72, М.В.Паршикову
|
(72) Автор(ы):
Паршиков Михаил Викторович (RU), Попов Александр Владимирович (RU), Никитин Сергей Евгеньевич (RU), Парахин Юрий Вениаминович (RU), Кузбашева Татьяна Георгиевна (RU)
(73) Патентообладатель(и):
ООО Медицинская фирма “ПАРИЗО” (RU)
|
(54) ОРТОПЕДИЧЕСКАЯ ПЕРЧАТКА
(57) Реферат:
Изобретение относится к области медицины, а именно к травматологии и ортопедии, и может быть использовано для проведения реабилитационных мероприятий. Ортопедическая перчатка выполнена в виде охвата лучезапястного сустава и состоит из Т-образной мягкой ленты в виде стебля и двух листьев. Меньший лист на конце снабжен двумя «липучками», больший – с наружной стороны одной. На конце стебля также имеется «липучка» с наружной стороны. Стебель выполнен с возможностью обертывания кулака. Листья выполнены с возможностью схватывания лучезапястного сустава. Технический результат – охват перчатки обеспечивает полужесткий контакт кисти пациента с опорным устройством, что обеспечивает лучшую устойчивость пациента и приводит к снижению травматизма при использовании дополнительных опорных средств во время передвижения. 2 ил.
Изобретение относится к области медицины, а именно к травматологии и ортопедии, и может быть использовано для проведения реабилитационных мероприятий.
У пожилых людей и больных с заболеваниями верхних конечностей иногда возникает слабость захвата кистью опорных устройств (ходунков, костылей и т.д.). В результате чего человек при ходьбе не удерживает опорное устройство и теряет дополнительную опорность.
Наиболее близким техническим решением является приспособление для удерживания трости, состоящее из охвата, в виде петли, охватывающей лучезапястный сустав и прикрепленной к трости (см., например, Г.С. Юмашев «Травматология и ортопедия». – М.: Медицина, 1983, стр.495, рис.293).
Задачей настоящего изобретения является прочное удержание опорного устройства (ходунков, костылей и т.д.) в ослабленной кисти больного.
Поставленная задача достигается за счет того, что перчатка выполнена в виде Т-образной ленты с «липучками» на всех трех концах.
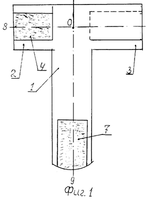
На фиг.1 показана ортопедическая перчатка (вид снаружи).
На фиг.2 – та же перчатка (вид изнутри).
Ортопедическая перчатка состоит из Т-образной мягкой ленты в виде стебля 1 и двух листьев 2 и 3. Меньший лист 2 снабжен «липучками» 4 и 5. Больший лист 3 имеет одну «липучку» 6. На конце стебля 1 также размещена «липучка» 7.
Технический результат состоит в том, что охват перчатки обеспечивает полужесткий контакт кисти пациента с опорным устройством, что обеспечивает лучшую устойчивость пациента и приводит к снижению травматизма при использовании дополнительных опорных средств во время передвижения.
Применяют перчатку следующим образом.
Кладут перчатку на стол «липучками» кверху. На, нее кладут кисть руки так, что бы она легла на перчатку тыльной стороной, а ее лучезапястный сустав расположился на пересечении «0» средних линий 8 и 9 стебля 1 и крыльев 2 и 3.
В кисть вкладывают опорную горизонтальную перекладину (трубку) ходунков или костыля и кисть сжимают в кулак вокруг нее. Стеблем 1 обертывают сжатый кулак, охватывают лучезапястный сустав листом 2 и фиксируют его «липучками» 5 и 7. Затем охватывают с другой стороны лучезапястный сустав листом 3 и фиксируют его конец «липучкой» 6 на «липучке» 4 листа 2.
После использования перчатку снимают в обратном порядке.
Ортопедическая перчатка применяется для облегчения удержания больными опорного устройства.
Ее применение позволяет ускорить процесс реабилитации больных с ослабленной функцией кисти.
Формула изобретения
Ортопедическая перчатка в виде охвата лучезапястного сустава, отличающаяся тем, что состоит из Т-образной мягкой ленты в виде стебля и двух листьев, меньший лист на конце снабжен двумя «липучками», больший – с наружной стороны одной, на конце стебля также имеется «липучка» с наружной стороны, при этом стебель выполнен с возможностью обертывания кулака, а листья выполнены с возможностью схватывания лучезапястного сустава.
РИСУНКИ
MM4A – Досрочное прекращение действия патента СССР или патента Российской Федерации на изобретение из-за неуплаты в установленный срок пошлины за поддержание патента в силе
Дата прекращения действия патента: 15.10.2006
Извещение опубликовано: 20.06.2008 БИ: 17/2008
|