|
| На основании пункта 3 статьи 13 Патентного закона Российской Федерации от 23 сентября 1992 г. № 3517-I патентообладатель обязуется передать исключительное право на изобретение (уступить патент) на условиях, соответствующих установившейся практике, лицу, первому изъявившему такое желание и уведомившему об этом патентообладателя и федеральный орган исполнительной власти по интеллектуальной собственности, – гражданину РФ или российскому юридическому лицу. |
|
(21), (22) Заявка: 2004132026/14, 25.10.2004
(24) Дата начала отсчета срока действия патента:
25.10.2004
(46) Опубликовано: 27.06.2006
(56) Список документов, цитированных в отчете о поиске:
SU 1311986 A1, 23.05.1987. SU 1505829 A1, 07.09.1989. SU 1187816 A, 30.10.1985. SU 839811 А, 25.06.1981. GB 1410935 А, 22.10.1985.
Адрес для переписки:
603104, г.Нижний Новгород, ул. Медицинская, 16-84, П.В. Колпакову
|
(72) Автор(ы):
Колпаков Павел Валентинович (RU)
(73) Патентообладатель(и):
Колпаков Павел Валентинович (RU)
|
(54) ТОРМОЗ КОЛЕСА МЕДИЦИНСКОЙ ТЕЛЕЖКИ
(57) Реферат:
Изобретение относится к медицинскому оборудованию и смежным отраслям и может быть использовано в виде средства для остановки транспортных тележек. Тормоз включает кронштейн, пружину и средство фиксации. Средство фиксации выполнено в виде пластин с пазами и отверстиями для допуска свободного хода. Пластины расположены с двух сторон колеса. Педали размещены с двух сторон пластин, которые посредством осей соединены с коромыслом и стойкой. Стойка связана с кронштейном. Пазы выполнены профильными и имеют возможность взаимодействия с ответными шестигранниками втулки колеса. В результате тормоз не содержит сложных в изготовлении деталей и является простым в эксплуатации. Фиксация колеса в заторможенном состоянии – жесткая и не допускает проскальзывания. 2 ил.
Изобретение относится к медицинскому оборудованию, а именно к средствам, обеспечивающим остановку транспортных тележек для больных, и также сможет найти применение в смежных отраслях.
Известны и широко применяются колеса со стояночными тормозами /см., например, проспекты фирм «Майра» и «Bvickle». Германия/, содержащие колеса с поворотными кронштейнами, педаль и сухарь.
Недостатком указанных устройств является сложная форма сухаря, требующая при его изготовлении применения литейных операций.
Известно «Шасси детской коляски», выбранное в качестве ближайшего аналога, А.с. №1311986, В 26 В 9/08 от 11.02.85, содержащее колеса со ступицами, средства фиксации последних, подпружиненные планки с отверстиями, пазы.
Недостатком устройства является преимущественно парная установка средств фиксации на колеса.
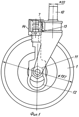
Сущность изобретения. Тормоз колеса медицинской тележки, содержащий кронштейн 2, пружину 7 и средство фиксации в виде пластин 6 с пазами 12 и отверстия, а кроме того, кожух 14, стойку 4, педали 5 и коромысло 3 со средствами фиксации положений в виде пружины 7, причем пластины 6 расположены с двух сторон колеса 1, а педали 5 размещены с двух сторон пластин 6, которые посредством осей 8 и 9 соединены с коромыслом 3 и стойкой 4, связанной с кронштейном 2, при этом пазы 12 выполнены профильными и имеют возможность взаимодействия с ответными шестигранниками втулки колеса 1, что позволяет устанавливать целесообразно средства фиксации на колеса 1, упрощая конструкцию тормоза.
Тормоз показан на фиг.1 – общий вид и на фиг.2 – вид сбоку.
Устройство содержит колесо 1, установленное на кронштейне 2, коромысло тормоза 3 на стойке 4, переключающееся педалями 5 на пластинах 6 и подпружиненное 7, при этом 8 и 9 – оси установок пружины 7 и пластин 6 соответственно, а 10 – хвостовик установки колеса 1 на тележку /не показана/, 11 – шестигранник втулки колеса 1, 12 – профильный паз в пластине 6, ответный шестиграннику 11, 13 – зацеп установки пружины 7, 14 – общий кожух.
Работает устройство следующим образом. В положении, показанном на фиг.1, колесо 1 заторможено, т.к. шестигранник 11 взаимодействует с профильным пазом 12 одной из пластин 6, имеющих с двух сторон педали 5, установленные на коромысло тормоза 3, затем после воздействия на педаль 5 пластины 6 благодаря коромыслу 3 совершают ход и профильные пазы 12 выходят из взаимодействия с шестигранниками 11, а отверстия пластин охватывают шестигранники, допуская свободный ход колеса 1. Колесо 1 – расторможено, при этом фиксаторами положений является пружина 7, установленная на зацеп 13 и взаимодействующая с коромыслом 3, как показано на фиг.1 и 2, затем циклы затормаживания и растормаживания могут повторяться неограниченное количество раз.
Устройство не содержит сложных в изготовлении деталей и является простым в эксплуатации, а фиксация колеса в заторможенном состоянии – жесткая, не допускающая проскальзывания.
Формула изобретения
Тормоз колеса медицинской тележки, содержащий кронштейн, пружину и средство фиксации в виде пластин с пазами и отверстиями для дандека свободного хода, отличающееся тем, что дополнительно содержит кожух, стойку, педали и коромысло со средством фиксации положений в виду пружины, причем пластины расположены с двух сторон колеса, а педали размещены с двух сторон пластин, которые посредством осей соединены с коромыслом и стойкой, связанной с кронштейном, при этом пазы выполнены профильными и имеют возможность взаимодействия с ответными шестигранниками втулки колеса.
РИСУНКИ
|
|