|
| На основании пункта 3 статьи 13 Патентного закона Российской Федерации от 23 сентября 1992 г. № 3517-I патентообладатель обязуется передать исключительное право на изобретение (уступить патент) на условиях, соответствующих установившейся практике, лицу, первому изъявившему такое желание и уведомившему об этом патентообладателя и федеральный орган исполнительной власти по интеллектуальной собственности, – гражданину РФ или российскому юридическому лицу. |
|
(21), (22) Заявка: 2004130558/14, 18.10.2004
(24) Дата начала отсчета срока действия патента:
18.10.2004
(46) Опубликовано: 27.06.2006
(56) Список документов, цитированных в отчете о поиске:
SU 1311986 A1, 23.05.1987. SU 1505829 A1, 07.09.1989. SU 1187816 А, 30.10.1985. SU 839811 А, 25.06.1981. GB 1410935 А, 22.10.1985.
Адрес для переписки:
603104, г.Нижний Новгород, ул. Медицинская, 16-84, П.В. Колпакову
|
(72) Автор(ы):
Колпаков Павел Валентинович (RU)
(73) Патентообладатель(и):
Колпаков Павел Валентинович (RU)
|
(54) КОЛЕСО С ТОРМОЗНОЙ СКОБОЙ МЕДИЦИНСКОЙ ТЕЛЕЖКИ
(57) Реферат:
Изобретение относится к медицинскому оборудованию и смежным отраслям и может быть использовано в виде средства для остановки транспортных тележек. Колесо с тормозной скобой медицинской тележки содержит кронштейн, пружину, поводок и подпружиненный сухарь. Сухарь выполнен с углублением на клиновой поверхности и имеет торцевую сторону для воздействия при растормаживании. Поводок имеет возможность взаимодействия с углублением и установлен на скобе. Скоба снабжена клином. Клин размещен с возможностью взаимодействия с колесом. На скобе расположена выступающая полка для поднятия скобы при растормаживании. В результате колесо с тормозной скобой не содержит большого количества деталей, является простым в изготовлении, регулировках, обслуживании и использовании. 1 з.п. ф-лы, 2 ил.
Изобретение относится к медицинскому оборудованию, а именно к средствам, обеспечивающим остановку транспортных тележек для больных и оборудования, и может найти применение в смежных отраслях.
Известны и широко применяются колеса со стояночными тормозами (см., например, проспекты фирм “Майра”, “Brickle”, Германия), содержащие колеса, кронштейны, педаль и сухарь.
Недостатком указанных устройств является сложная конструкция сухаря, требующая при его изготовлении литьевых операций.
Известно “Шасси детской коляски”, выбранное в качестве ближайшего аналога (А.с. №1311986, В 26 В 9/08 от 11.02.85), содержащее колеса со ступицами, средства фиксации последних, подпружиненные планки с отверстиями, ответные пазы.
Недостатком устройства является преимущественно парная установка средств фиксации на колеса.
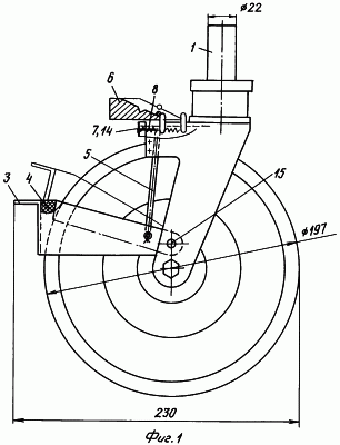
Сущность изобретения. Колесо с тормозной скобой медицинской тележки содержит кронштейн 1 и пружину 8, а, кроме того, дополнительно поводок 5 и размещенный на кронштейне 1 подпружиненный сухарь 6, выполненный с углублением на клиновой поверхности, при этом торцевая поверхность сухаря 6 выполнена для воздействия при растормаживании, а поводок 5 имеет возможность для взаимодействия с углублением и установлен на скобе 3, которая снабжена клином 4, размещенным с возможностью взаимодействия с колесом 2, причем на скобе 7 расположена выступающая полка для поднятия скобы 7 при растормаживании, при этом скоба 7 служит средством утяжеления, определяющим усилие торможения, а в целом устройство допускает непарную установку средств фиксации на колесо по упрощенной схеме взаимодействий.
Устройство изображено на Фиг.1 – общий вид в разрезе и на Фиг.2 – вид сбоку в проекционной связи.
Устройство содержит кронштейн 1, колесо 2, скобу 3, клин 4, поводок 5, сухарь 6, скобу 7 установки пружины 8, крепежные детали 14, ось 15 колеса 2.
Работает устройство следующим образом. В положении, показанном на Фиг.1, колесо 2 является заторможенным, т.к. клин 4 скобы 3 взаимодействует с ним, что обеспечивается поводком 5, находящимся у края клиновой поверхности сухаря 6, при этом вращение колеса 2 ограничивается взаимодействием с клином 4 по часовой стрелке и собственным весом скобы 3 против часовой стрелки, если вес скобы 3 увеличивать посредством дополнительной массы устанавливаемой на полку скобы 3, то пропорционально увеличится сила и момент, затормаживающие колесо 2. Для растормаживания последнего необходимо перевести сухарь 6 из положения, показанного на Фиг.1, основными линиями в положение, показанное штрихпунктиром, что достигается воздействием на торец сухаря 6, при этом поводок 5 поднимает скобу 3 и устанавливается в углубление сухаря 6, скоба 3 совершает ход, а между клином 4 и колесом 2 образуется зазор. Колесо 2 расторможено. Положение скобы 3 при этом показано на Фиг.1 штрихпунктирными линиями. Для того чтобы снова затормозить колесо 2, требуется приподнять посредством выступающей полки (показана на Фиг.1) скобу 3 вверх, при этом поводок 5 выходит из углубления сухаря 6, а последний, благодаря пружине 8, занимает начальное положение, когда клин 4 затормаживает колесо 2. Цикл закончен и может повторяться требуемое количество раз, при этом износ клина 4 компенсируется увеличением хода скобы 3 в пределах, допустимых работой устройства.
Устройство не содержит большого количества деталей, является простым в изготовлении и регулировках, обслуживании и использовании.
Формула изобретения
1. Колесо с тормозной скобой медицинской тележки, содержащее кронштейн и пружину, отличающееся тем, что дополнительно содержит поводок и размещенный на кронштейне подпружиненный сухарь, выполненный с углублением на клиновой поверхности, при этом торцевая поверхность сухаря выполнена для воздействия при растормаживании, а поводок имеет возможность взаимодействия с углублением и установлен на скобе, которая снабжена клином, размещенным с возможностью взаимодействия с колесом, причем на скобе расположена выступающая полка для поднятия скобы при растормаживании.
2. Колесо по п.1, отличающееся тем, что скоба выполнена для утяжеления.
РИСУНКИ
|
|