|
|
(21), (22) Заявка: 2003104361/14, 13.07.2001
(24) Дата начала отсчета срока действия патента:
13.07.2001
(30) Конвенционный приоритет:
14.07.2000 (пп.1-32) US 09/616,433
(43) Дата публикации заявки: 20.07.2004
(46) Опубликовано: 27.06.2006
(56) Список документов, цитированных в отчете о поиске:
US 4859583 А, 22.08.1989. WO 98/43074 A1, 01.10.1989. WO 99/46585 A1, 16.09.1999. RU 98111492 A1, 20.04.2000. RU 98111192 A1, 10.06.2000.
(85) Дата перевода заявки PCT на национальную фазу:
14.02.2003
(86) Заявка PCT:
US 01/22202 (13.07.2001)
(87) Публикация PCT:
WO 02/08763 (31.01.2002)
Адрес для переписки:
129010, Москва, ул. Б.Спасская, 25, стр.3, ООО “Юридическая фирма Городисский и Партнеры”, пат.пов. Ю.Д.Кузнецову
|
(72) Автор(ы):
ХОДЖЕС Эластэйр (US), ШАТЕЛЬЕ Рон (US)
(73) Патентообладатель(и):
ЛАЙФСКЕН, ИНК. (US)
|
(54) ИММУНОСЕНСОР
(57) Реферат:
Изобретение относится к медицинской технике, а именно к устройствам и способам для осуществления иммунологических анализов. Электрохимическое устройство для использования при обнаружении целевого антигена в жидкой пробе содержит реакционную камеру, включающую внутреннюю поверхность, ближний край и дальний край, иммобилизованное антитело, способное связываться с целевым антигеном, и репортерный комплекс, содержащий зонд-фермент, а также камеру обнаружения, имеющую стенку, внутреннюю поверхность, дальний и ближний края, вход для пробы на дальнем краю и электроды для обнаружения электрохимической реакции в камере обнаружения и проход для пробы между дальним краем реакционной камеры и ближним краем камеры обнаружения. Способ электрохимического обнаружения заключается во впуске пробы в реакционную камеру, содержащую иммобилизованное антитело, способное связываться с целевым антигеном, и репортерный комплекс, способный смешиваться с пробой и конкурировать с целевым антигеном за связывание с иммобилизованным антителом. При этом несвязанный репортерный комплекс перемещается из реакционной камеры к камере обнаружения через проход для пробы. После чего измеряют посредством электродов и электрохимической реакции наличие в пробе целевого антигена, присутствие которого снижает количество репортерного комплекса, связывающегося с иммобилизованным антителом, и позволяет зонду-ферменту участвовать в электрохимической реакции в камере обнаружения. Использование изобретения позволяет расширить ассортимент иммуносенсоров. 2 н. и 30 з.п. ф-лы, 2 ил.
Область изобретения
Настоящее изобретение относится к устройству и способу для осуществления иммунологических анализов. Устройство содержит одноразовый иммуносенсор.
Уровень техники
Биомедицинские сенсоры используются для регистрации присутствия и/или концентрации большого множества анализируемых веществ. Когда анализируемое вещество представляет собой белок, используемый чувствительный элемент обычно представляет собой антитело, поскольку взаимодействие антитела с белком (антигеном) является очень специфичным. Такие иммунологические анализы обычно попадают в две категории: получение “ответа типа да/нет”, например, с помощью простого визуального обнаружения, или получение концентрации антигена, определяемой с помощью количественного метода. Большинство количественных методов подразумевают использование дорогостоящего оборудования, такого как счетчики сцинцилляции (для мониторинга радиоактивности), спектрофотометры, спектрофлюориметры (смотри, например, патент США 5156972), инструменты на основе поверхностного плазменного резонанса (смотри, например, патент США 5965456) и тому подобное. Следовательно, было бы выгодным разработать количественный иммунологический анализ, который является как недорогим, так и достаточно простым при использовании, чтобы он был пригодным для домашнего или полевого использования.
Обычные иммунологические анализы подразделяются на две категории: конкурентный анализ и сандвич-анализ. При конкурентном анализе антиген в исследуемой пробе смешивается с комплексом антиген-зонд, а затем смесь конкурирует за связывание с антителом. Зонд может представлять собой фермент, флюорофор или хромофор. Во второй категории, т.е. при иммунологическом сандвич-анализе, антиген в исследуемой пробе связывается с антителом, а затем второй комплекс антитело-зонд связывается с антигеном. В этих известных из литературы способах анализа обычно требуется одна или несколько стадий промывки. Стадии промывки вносят сложности в процедуру анализа и могут генерировать биологически опасные жидкие отходы. Следовательно, было бы выгодным разработать устройство для осуществления иммунологического анализа, которое не требовало бы никаких стадий промывки. При необходимости, такое устройство могло бы быть сконструировано как заменяемое устройство для одноразового использования.
Сущность изобретения
Предложен количественный, недорогой, одноразовый иммуносенсор, который не требует стадий промывки и, таким образом, не генерирует жидких отходов. Более того, согласно предпочтительным вариантам воплощения такого сенсора, от пользователя не требуется никаких стадий задания (выдержки) времени, и при этом сенсор может быть легко приспособлен для взаимодействия антиген-антитело в широком кинетическом диапазоне.
Согласно первому аспекту настоящего изобретения предложено электрохимическое устройство для использования при обнаружении целевого антигена в жидкой пробе, содержащее:
реакционную камеру, имеющую:
a) внутреннюю поверхность, ближний край и дальний край,
b) иммобилизованное антитело, способное связываться с целевым антигеном, и
c) репортерный комплекс, способный смешиваться с пробой и содержащий зонд-фермент;
камеру обнаружения, имеющую:
a) стенку, внутреннюю поверхность, дальний край и ближний край,
b) вход для пробы на дальнем краю и
c) электроды для обнаружения электрохимической реакции в камере обнаружения; и
проход для пробы между дальним краем реакционной камеры и ближним краем камеры обнаружения,
причем присутствие целевого антигена в жидкой пробе приводит к измеримому изменению в электрохимической реакции в камере обнаружения.
В одном из вариантов воплощения данного аспекта в устройстве внутри реакционной камеры содержится агент, способный предотвращать неспецифическое связывание белков с внутренней поверхностью реакционной камеры. Агент может быть выбран из группы, состоящей из поверхностно-активного вещества и блокирующего белка, например бычьего сывороточного альбумина.
В другом варианте воплощения данного аспекта репортерный комплекс дополнительно содержит второй антиген, способный конкурировать с целевым антигеном за связывание с иммобилизованным антителом, или второе антитело, способное связываться с целевым антигеном.
В другом варианте воплощения данного аспекта реакционная камера содержит избыток антитела.
В другом варианте воплощения данного аспекта зонд выбирается из группы, состоящей из хромофоров и флуорофоров. Зонд может также содержать фермент, такой как глюкозооксидаза или глюкозодегидрогеназа. Также может быть введен субстрат для фермента, например окисляемый субстрат, такой как галактоза, уксусная кислота или глюкоза.
В другом варианте воплощения данного аспекта камера обнаружения дополнительно содержит медиатор. Медиатор может содержать дихлорфенолиндофенол, комплексы переходных металлов и азотсодержащих гетероатомных частиц или феррицианид.
В другом варианте воплощения данного аспекта устройство дополнительно содержит буфер, способный корректировать (устанавливать нужное значение) рН пробы, такой как буфер, содержащий фосфат или цитрат.
В другом варианте воплощения данного аспекта иммобилизованное антитело и/или репортерный комплекс наносится на внутреннюю поверхность реакционной камеры. Репортерный комплекс может быть отделен от иммобилизованного антитела расстоянием менее примерно 1 миллиметра.
В другом варианте воплощения данного аспекта устройство дополнительно содержит стабилизатор, который стабилизирует одно или несколько веществ, выбранных из антигена, фермента и антитела.
В другом варианте воплощения данного аспекта субстрат для фермента наносится на внутреннюю поверхность камеры обнаружения.
В другом варианте воплощения данного аспекта устройство дополнительно содержит материал-носитель. Материал-носитель может содержаться внутри камеры обнаружения и при этом одно или несколько таких веществ, как субстрат для фермента, медиатор и буфер, могут быть нанесены на материал-носитель или содержаться внутри материала-носителя. Материал-носитель также может содержаться внутри реакционной камеры и при этом одно или несколько таких веществ, как иммобилизованное антитело, репортерный комплекс и агент, способный предотвращать неспецифическое связывание белков с внутренней поверхностью реакционной камеры, могут быть нанесены на материал-носитель или содержаться внутри материала-носителя. Материал-носитель может содержать сетку или волокнистый материал-наполнитель, содержащий полимер, выбранный из группы, состоящей из полиолефина, сложного полиэфира, нейлона, целлюлозы, полистирола, поликарбоната, полисульфона и их смесей; пористый материал, такой как макропористая мембрана, содержащая полимерный материал, выбранный из группы, состоящей из полисульфона, поливинилидендифторида, нейлона, ацетата целлюлозы, полиметакрилата, полиакрилата и их смесей; или спеченный порошок.
В другом варианте воплощения данного аспекта камера обнаружения содержит по меньшей мере два электрода. Электроды могут содержать материал, выбранный из группы, состоящей из палладия, платины, золота, иридия, углерода, смешанного со связующим углерода, оксида индия, оксида олова и их смесей.
В другом варианте воплощения данного аспекта стенка камеры обнаружения является прозрачной для излучения, испускаемого или поглощаемого зондом, причем излучение указывает на присутствие или отсутствие репортерного комплекса в камере обнаружения.
В другом варианте воплощения данного аспекта в состав устройства включен детектор, способный обнаруживать состояние, в котором реакционная камера является по существу заполненной. В устройство может также быть включено прокалывающее средство, способное формировать вентиляционный выход из камеры обнаружения на дальнем краю камеры обнаружения. Также в состав устройства может быть включен вентиляционный выход из реакционной камеры на дальнем краю реакционной камеры.
Согласно второму аспекту настоящего изобретения предложен способ электрохимического обнаружения целевого антигена в жидкой пробе, включающий в себя:
обеспечение наличия реакционной камеры и камеры обнаружения, имеющих ближний и дальний края;
впуск пробы в реакционную камеру, имеющую внутреннюю поверхность и содержащую иммобилизованное антитело, способное связываться с целевым антигеном, и репортерный комплекс, способный смешиваться с пробой и конкурировать с целевым антигеном за связывание с иммобилизованным антителом, причем репортерный комплекс содержит зонд-фермент;
конкурентное связывание целевого антигена и репортерного комплекса с иммобилизованным антителом;
перемещение несвязанного репортерного комплекса из реакционной камеры к камере обнаружения через проход для пробы между дальним краем реакционной камеры и ближним краем камеры обнаружения; и
измерение посредством электродов электрохимической реакции в камере обнаружения для определения того, присутствует ли в пробе целевой антиген,
причем присутствие целевого антигена снижает количество репортерного комплекса, который связывается с иммобилизованным антителом, и позволяет зонду-ферменту участвовать в электрохимической реакции в камере обнаружения.
В варианте воплощения данного аспекта репортерный комплекс дополнительно содержит антиген, способный конкурировать с целевым антигеном за связывание с иммобилизованным антителом.
Краткое описание чертежей
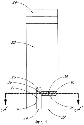
Фиг.1 изображает вид сверху (не в масштабе) иммуносенсора, включающего в себя электрохимическую ячейку.
Фиг.2 изображает вид в поперечном разрезе (не в масштабе) по линии А-А’ иммуносенсора по фиг.1 согласно одному из вариантов воплощения.
Подробное описание предпочтительных вариантов воплощения
Следующее далее описание и примеры подробно иллюстрируют предпочтительные варианты воплощения настоящего изобретения. Специалист в данной области техники заметит, что существуют многочисленные вариации и модификации настоящего изобретения, которые охватываются его рамками. В соответствии с этим, описание предпочтительных вариантов воплощения не должно рассматриваться как ограничение рамок настоящего изобретения.
Описывается работающий в одну стадию, не требующий промывки иммуносенсор. Сенсор представляет собой одноразовое, заменяемое устройство, в котором используются две соседние камеры, а именно реакционная камера и камера обнаружения. В реакционной камере протекают реакции антиген-антитело, а в камере обнаружения обнаруживаются (измеряются) результаты этих реакций и выявляется присутствие или отсутствие антигена в пробе.
Может использоваться любой пригодный для этого способ обнаружения. Пригодные для использования способы обнаружения включают в себя, например, визуальное обнаружение, при котором наблюдается проявление цвета, или спектроскопическое обнаружение, при котором отраженный или прошедший свет используется для измерения изменений в поглощении света. В предпочтительном варианте воплощения способ обнаружения является электрохимическим, согласно которому измеряется электрический ток или потенциал, ненапрямую (опосредованно) генерируемый продуктами реакций антиген/антитело.
Способы и устройства для выполнения электрохимических измерений в пробах жидкостей дополнительно обсуждаются в совместной заявке на патент США №09/615691, поданной 14 июля 2000 года и озаглавленной “ANTIOXIDANT SENSOR”, совместной заявке на патент США №09/616512, поданной 14 июля 2000 года и озаглавленной “HEMOGLOBIN SENSOR”, и совместной заявке на патент США №09/616556, поданной 14 июля 2000 года и озаглавленной “ELECTROCHEMICAL METHOD FOR MEASURING CHEMICAL REACTION RATES”, каждая из которых включена в настоящее описание посредством данной ссылки во всей ее полноте.
Задание времени различных стадий исследования (теста), то есть стадии реакции и стадии обнаружения, может быть проделано вручную. Альтернативно, задание времени может быть осуществлено автоматически в ответ на запускающий сигнал, генерируемый в тот момент, когда реакционная камера заполнена.
Вариант воплощения сенсора, пригодного для использования при электрохимическом обнаружении, иллюстрируется на фиг.1 и 2. Фиг.1 представляет собой вид сверху сенсорной полоски, а фиг.2 представляет собой вид в поперечном разрезе, показывающий детали реакционной камеры и камеры обнаружения.
Сенсор
Иммуносенсоры согласно предпочтительным вариантам воплощения могут быть получены с использованием хорошо известных методик изготовления тонкослойных устройств, таких как те, которые используются при изготовлении электрохимических сенсорных устройств на глюкозу (смотри, например, патент США 5942102, включенный в настоящее описание посредством данной ссылки во всей его полноте). Такие методики с определенными модификациями используются также и для изготовления иммуносенсоров, реализующих неэлектрохимические способы обнаружения.
В предпочтительном варианте воплощения иммуносенсора, иллюстрируемого на фиг.1 и 2, камера 28 обнаружения содержит электрохимическую ячейку 28. Реакционная камера 22 и камера 28 обнаружения изготавливаются путем формирования сначала отверстия, простирающегося сквозь лист 36 материала с большим электрическим сопротивлением. Отверстие имеет такую форму, что оно образует боковую стенку как реакционной камеры 22, так и камеры 28 обнаружения, а также проход 38 для пробы между двумя камерами 22 и 28. Благодаря тому, что отверстие простирается от ближнего края 24 реакционной камеры 22 сквозь край 37 листа, формируется также вход 24 для пробы. В одном из вариантов воплощения толщина листа 36 определяет полную высоту реакционной камеры 22 и камеры 28 обнаружения, которые являются одинаковыми. В другом варианте воплощения высота реакционной камеры 22 является большей, чем высота камеры 28 обнаружения. Реакционная камера 22 с высотой, большей, чем у камеры 28 обнаружения, приготавливается путем наслаивания и объединения вместе множества листов 32, 34 и 36. Средний лист 36 в слое имеет отверстие, определяющее боковые стенки 74 и 76 реакционной камеры 22 и камеры 28 обнаружения, как описано выше. Средний слой 36 затем помещается между двумя или более дополнительными слоями 32 и 34, причем дополнительные слои 32 и 34 имеют отверстия, определяющие боковую стенку 74 только реакционной камеры 22, тем самым слои 32 и 34 определяют торцевые стенки 60 и 62 камеры 28 обнаружения. В этом варианте воплощения торцевые стенки 60 и 62 камеры обнаружения содержат электроды 52 и 54, которые могут быть приготовлены согласно описанному ниже.
После того как сформированы боковые стенки 74 и 76 реакционной камеры 22 и камеры 28 обнаружения, первый тонкий слой 52 электрода прикрепляется на одной стороне 70 листа 36 материала с большим электрическим сопротивлением, простираясь поверх отверстия, формирующего камеру 28 обнаружения, и образуя торцевую стенку 60. Слой 52 может быть приклеен к листу 36, например, посредством клея. Пригодные для использования клеи включают в себя, например, термически активируемые клеи, чувствительные к давлению клеи, термически отверждаемые клеи, химически отверждаемые клеи, термоплавкие клеи, термически размягчаемые клеи и тому подобное. Слой 52 электрода приготавливается путем нанесения (например, путем осаждения напылением) на лист 32 из материала с большим электрическим сопротивлением пригодного для использования металла, например платины, палладия, углерода, оксида индия, оксида олова, смешанных оксидов индия/олова, золота, серебра, иридия, их смесей и тому подобного. Материалы, пригодные для использования в качестве электродов 52 и 54, являются совместимыми с реагентами, присутствующими в сенсоре 20, то есть они не будут химически взаимодействовать с реагентами.
Затем второй тонкий слой 54 электрода прикрепляется к противоположной стороне 72 слоя 36 материала с большим электрическим сопротивлением, также простираясь поверх отверстия, формирующего камеру 28 обнаружения, таким образом, чтобы сформировать вторую торцевую стенку 62. В предпочтительном варианте воплощения слои 52 и 54 электродов прикрепляются друг напротив друга на расстоянии менее примерно 500 микрон, более предпочтительно – менее 150 микрон, а наиболее предпочтительно – в пределах между 50 и 150 микронами. Если вход 24 для пробы еще не был сформирован, он создается, например, путем формирования выреза в краю 37 устройства 20, который пересекает ближний край 24 реакционной камеры 22.
Слои 52 и 54 электродов снабжены соединительными средствами, дающими возможность включения сенсора 20 в измерительную цепь. По меньшей мере один из электродов 52 или 54 в ячейке 28 представляет собой измерительный электрод, то есть электрод, чувствительный к количеству восстановленного окислительно-восстановительного агента – в случае антиокислителя или окисленного окислительно-восстановительного агента – в случае окислителя. В случае потенциометрического сенсора 20, в котором потенциал измерительного электрода 52 или 54 указывает на уровень присутствующего анализируемого вещества, имеется второй электрод 54 или 52, действующий в качестве электрода сравнения, который обеспечивает потенциал сравнения. В случае амперометрического сенсора 20, в котором ток измерительного электрода указывает на уровень анализируемого вещества в пробе, присутствует по меньшей мере еще один дополнительный электрод 54 или 52, который функционирует в качестве противоэлектрода, замыкая электрическую цепь. Этот второй электрод 54 или 52 может также функционировать в качестве электрода сравнения. Альтернативно, отдельный электрод (не показан) может выполнять функцию электрода сравнения.
Если иммуносенсор 20 работает как электрохимическая ячейка 28, то листы 32, 34 и 36, содержащие отверстия, образующие реакционную камеру 22 и/или камеру 28 обнаружения, должны содержать материалы с большим электрическим сопротивлением. Пригодные для использования материалы, обладающие большим электрическим сопротивлением, включают в себя, например, сложные полиэфиры, полистиролы, поликарбонаты, полиолефины, их смеси и тому подобное. Предпочтительный полиэфир представляет собой полиэтилентерефталат. Если иммуносенсор 20 работает с использованием способа обнаружения, отличного от электрохимического способа обнаружения, то материалы не должны обладать большим электрическим сопротивлением. Однако полимерные материалы, описанные выше, являются предпочтительными для использования при конструировании иммуносенсоров согласно предпочтительному варианту воплощения благодаря простоте их обработки, низкой стоимости и отсутствию реакционной способности по отношению к реагентам и пробам. В случае способа обнаружения, подразумевающего поглощение, прохождение или испускание света с конкретной частотой, торцевые стенки 60 и/или 62 и слои 32 и 46, и/или слои 34 и 42 над торцевыми стенками камеры 28 обнаружения должны быть прозрачными для света с этой частотой.
Реагенты, предназначенные для использования в ячейке 28, например, иммобилизованное (т.е. лишенное подвижности) антитело, связанный с зондом антиген, буфер, медиатор (т.е. посредник) и тому подобное, могут быть нанесены на стенки 40, 48 и/или 74 реакционной камеры 22 или на стенки 60, 62 и/или 76 камеры 28 обнаружения, на независимое средство-носитель, содержащееся внутри камер, могут содержаться внутри некоторой матрицы или могут быть самонесущими. Если реагенты предназначены для нанесения на стенки камер или электроды 52 и 54, эти химические вещества могут быть нанесены с помощью методик печати, хорошо известных в данной области техники, например струйной печати, трафаретной печати, литографии и тому подобное. В предпочтительном варианте воплощения раствор, содержащий реагент, наносится на поверхность внутри камеры и после этого ему дают возможность высохнуть.
Вместо иммобилизации или сушки антител 44, связанного с зондом антигена 50 или других химических веществ на поверхностях 40, 48, 60, 62, 74 и/или 76 реакционной камеры 22 или камеры 28 обнаружения, может быть выгодным наносить их на или содержать их в одном или нескольких независимых средствах-носителях, которые затем помещаются в камеру. Пригодные для использования независимые средства-носители включают в себя, но не ограничиваются этим, сетчатые материалы, нетканые листовые материалы, волокнистый материал-наполнитель, макропористые мембраны или спеченные порошки. Преимущества независимых средств-носителей заключаются в повышенной площади поверхности, за счет чего создается возможность для введения большего количества антитела и связанного с зондом антигена в реакционную камеру 28, если это желательно. В таком варианте воплощения антитело иммобилизуется на одном фрагменте пористого материала и помещается сначала в реакционную камеру, а связанный с зондом антиген сушится на другом фрагменте пористого материала, который затем помещается в реакционную камеру. Альтернативно, либо антитело, либо связанный с зондом антиген внедряется в пористый материал, а другой компонент наносится на стенку реакционной камеры, как описано выше. Еще в одном варианте воплощения стенки реакционной камеры сами по себе являются пористыми, и антитело и/или связанный с зондом антиген внедряются в них. В этом варианте воплощения жидкость способна впитываться в пористую стенку, но не вытекать из определенной области. Это достигается путем использования макропористой мембраны для формирования стенки реакционной камеры и сжатия мембраны вокруг реакционной камеры с целью предотвращения утечки пробы из желаемой области.
Пригодные для использования независимые средства-носители, такие как сетчатые материалы, нетканые листовые материалы и волокнистые материалы-наполнители, содержат полиолефины, полиэфиры, нейлоны, целлюлозу, полистиролы, поликарбонаты, полисульфоны, их смеси и тому подобное. Пригодные для использования макропористые мембраны могут быть приготовлены из полимерных материалов, содержащих полисульфоны, поливинилидендифториды, нейлоны, ацетаты целлюлозы, полиметакрилаты, полиакрилаты, их смеси и тому подобное.
Белок или антитело может содержаться внутри матрицы, например, поливинилацетата. Варьируя характеристики растворимости матрицы в пробе, может быть достигнуто контролируемое высвобождение белка или антитела в пробу.
Во всех случаях материалы, используемые в сенсоре, находятся в виде, пригодном для массового производства, а сами ячейки конструируются с тем, чтобы они были пригодны для использования в одном отдельно взятом эксперименте, а затем заменены.
Предпочтительный вариант воплощения иммуносенсора, который изготавливается, как описано выше, иллюстрируется на фиг.1 и 2. В этом предпочтительном варианте воплощения слои 32 и 34 представляют собой подложки, покрытые электропроводящим материалом 52 и 54. Электропроводящий материал 52 или 54 на поверхности 60 или 62 обращен в камеру 28 обнаружения, а слой клея (не показан) нанесен на поверхность 33 или 35, обращенную соответственно к слою 42 или 46.
Использование сенсора для определения присутствия или отсутствия антигена
В предпочтительном варианте воплощения сенсор 20 представляет собой электрохимическую ячейку 28, в которой используется фермент, например глюкозооксидаза или глюкозодегидрогеназа, в качестве зонда, как иллюстрируется на фиг.1, т.е. на виде сверху такого сенсора 20, и на фиг.2, т.е. в поперечном сечении сенсора по линии А-А’. Присутствие или отсутствие анализируемого вещества в этом варианте воплощения обнаруживается следующим образом.
Пользователь сначала вводит пробу в реакционную камеру 22 сенсора 20 через вход 24 для пробы. Проба вводится в реакционную камеру 22 под влиянием капиллярного или впитывающего действия. Во время заполнения реакционной камеры вентиляционный выход 26 открыт в атмосферу, таким образом давая возможность для выхода вытесняемому воздуху. Проба будет вводиться в реакционную камеру 22 до тех пор, пока он не заполнит ее вплоть до вентиляционного выхода 26 из реакционной камеры, после чего заполнение будет прекращено. Объем реакционной камеры 22 выбирается таким образом, чтобы он был по меньшей мере равным, а предпочтительно большим, чем объем камеры 28 обнаружения.
Изображенный прерывистой линией круг на фиг.1 обозначает отверстие 30, проходящее сквозь слои 32, 34 и 36, но не сквозь слои 42 и 46, причем отверстие в слое 34 открывается в камеру 28 обнаружения. Поскольку слои 42 и 46 сначала не прокалываются, единственным отверстием, сообщающимся с атмосферой, в камере 28 обнаружения является проход 38 для пробы, открывающийся в реакционную камеру 22. Таким образом, когда реакционная камера 22 заполняется пробой, она блокирует проход 38 для пробы в камеру 28 обнаружения. Все это приводит к запиранию воздуха в камере 28 обнаружения и по существу предотвращает ее заполнение пробой. Небольшое количество пробы будет поступать в камеру 28 обнаружения в течение того времени, которое проходит между первым контактом пробы с отверстием 38 в камеру 28 обнаружения, и временем, когда она соприкасается с дальней стороной отверстия 38. Однако, как только проба полностью смочит целиком все отверстие 38 в камере 28 обнаружения, дальнейшее заполнение камеры 28 обнаружения уже происходить не будет.
Внутренняя поверхность 40 подложки 42, которая образует основание реакционной камеры 22, покрыта антителами 44 к обнаруживаемому антигену. Антитела 44 адсорбируются или другим способом иммобилизуются на поверхности 40 подложки 42 таким образом, что они не удаляются с подложки 42 во время исследования. При необходимости, после нанесения антител 44 на внутреннюю поверхность 40 подложки 42 может быть нанесен агент, приспособленный для предотвращения неспецифического связывания белков с этой поверхностью (не показан). Пример такого агента, хорошо известного в данной области техники, представляет собой бычий сывороточный альбумин (BSA). Также в качестве такого агента может быть использовано неионное поверхностно-активное вещество, например Triton X100 , изготавливаемый Rohm & Haas, г.Филадельфия, шт.Пенсильвания, США, или Tween , изготавливаемый ICI Americas, г.Уилмингтон, шт.Делавэр, США. Выбранное неионное поверхностно-активное вещество не должно вызывать денатурацию белков. Покрытие 44 на внутренней поверхности 40 подложки 42 находится в сухом состоянии, когда она готова для использования в исследовании.
Другая подложка 46 образует верхнюю поверхность 48 реакционной камеры 22. На внутреннюю поверхность 48 подложки 46 нанесены ферменты, связанные с обнаруживаемым антигеном 50. Примеры пригодных для использования ферментов включают, но не ограничиваются ими, глюкозооксидазу и глюкозодегидрогеназу. Связанный с ферментом антиген 50 высушивается на внутренней поверхности 48 подложки 46 таким образом, что он может высвобождаться в пробу, когда эта поверхность 48 смачивается пробой. Поэтому внутренняя поверхность 48 подложки 46 и способ нанесения связанного с ферментом антигена 50 выбираются так, что существует лишь слабая связь между связанным с ферментом антигеном 50 и внутренней поверхностью 48 подложки 46. Скорость растворения связанного с ферментом антигена 50 с поверхности 48 выбирается таким образом, что в течение времени, необходимого пробе для заполнения реакционной камеры 22, происходит небольшое растворение. Таким образом, связанный с ферментом антиген 50 должен быть равномерно распределен по всему объему реакционной камеры 22 после ее заполнения.
Относительные количества связанного с ферментом антигена 50 и антитела 44 выбираются таким образом, что существует небольшой избыток антитела 44 по сравнению со связанным с ферментом антигеном 50. В этом контексте небольшой избыток определяется как избыток, который является малым по сравнению с количеством молекул обнаруживаемого антигена в пробе.
Таким образом, когда проба заполняет реакционную камеру 22, связанный с ферментом антиген 50 переходит в пробу и смешивается с этой пробой. Затем связанному с ферментом антигену 50 дается время, достаточное для того, чтобы вступить в контакт с антителами 44. Поскольку существует избыток антител 44, то в случае, если антиген не присутствует в пробе, по существу весь связанный с ферментом антиген 50 должен связываться с антителами 44 и, таким образом, эффективно иммобилизовываться. Если антиген присутствует в пробе, то этот антиген, будучи меньшим, чем связанный с ферментом антиген 50, и уже присутствуя во всем объеме пробы, будет вступать в контакт и связываться с антителами 44 до того, как связанный с ферментом антиген 50 вступит в контакт с антителами 44. По этой причине антитела 44 будут блокироваться, и их связывание со связанным с ферментом антигеном 50 будет предотвращаться. Итак, если антиген изначально присутствует в пробе, то в конце стадии реакции связанный с ферментом антиген 50 будет оставаться мобильным в пробе. Если никакого антигена в пробе изначально не присутствует, то связанный с ферментом антиген 50 в конце стадии реакции будет иммобилизовываться на внутренней поверхности 48 подложки 46.
Завершение стадии реакции представляет собой заранее определенное время после введения пробы в реакционную камеру 22. Заранее определенное время задается таким образом, чтобы существовало время, достаточное для того, чтобы по существу весь связанный с ферментом антиген 50 связался с антителами 44 при условиях исследования в случае, если никакого антигена изначально не присутствовало в пробе.
Время, когда проба вводится в реакционную камеру 22, может быть указано пользователем, например, путем нажатия кнопки на измерителе, соединенном с сенсором 20. Эта операция используется для запуска устройства задания времени. В случае визуального обнаружения измерительное устройство не является необходимым. В таком варианте воплощения пользователь вручную определяет продолжительности периода реакции.
В случае, когда для обнаружения результата реакций антитело/антиген используется электрохимическое обнаружение, индикация того, что проба уже была введена в реакционную камеру 22, может быть автоматизирована. Как описано выше, когда проба заполняет реакционную камеру 22, набольшая часть камеры 28 обнаружения у ее прохода 38 в реакционную камеру 22 будет смачиваться пробой. Если используется электрохимическое обнаружение, то в камере 28 обнаружения должны присутствовать по меньшей мере два электрода 52 и 54. Если эти электроды 52 и 54 размещаются в камере 28 обнаружения таким образом, что по меньшей мере часть каждого электрода 52 и 54 находится в контакте с пробой во время заполнения реакционной камеры 22, то присутствие пробы будет «связывать» электроды, т.е. создавать электрический мостик между электродами 52 и 54 и создавать электрический сигнал, который может быть использован для запуска устройства задания времени.
Через заранее определенное время после запуска устройства задания времени либо с помощью пользователя, либо автоматически фаза реакции антитело/антиген исследования предполагается завершенной. Когда фаза реакции антитело/антиген исследования завершается, открывается вентиляционный выход 56 в атмосферу. Например, приводимая в действие соленоидом игла в измерителе может быть использована для прокалывания слоя 42 или слоя 46 или обоих слоев 42 и 46, таким образом открывая дальний край 58 камеры 28 обнаружения в атмосферу. Прокалывание может осуществляться автоматически с помощью измерителя, как в примере выше, или вручную пользователем в случае визуального обнаружения, когда измеритель может и не использоваться, например, пользователь втыкает иглу сквозь слои 42 и 46, тем самым формируя вентиляционный выход 56.
Открывание вентиляционного выхода 56 в атмосферу делает возможным выход воздуха, захваченного в камере 28 обнаружения, тем самым делая возможным заполнение камеры 28 обнаружения прореагировавшей пробой из реакционной камеры 22. Прореагировавшая проба будет всасываться в камеру 28 обнаружения благодаря большей капиллярной силе в камере 28 обнаружения по сравнению с силой, присутствующей в реакционной камере 22. В предпочтительном варианте воплощения повышенная капиллярная сила создается с помощью соответствующего покрытия поверхностей 60 и 62 камеры 28 обнаружения или, что более предпочтительно, путем выбора капиллярного расстояния для камеры 28 обнаружения таким образом, чтобы оно было меньшим, чем расстояние для реакционной камеры 22. В настоящем варианте воплощения капиллярное расстояние определяется как самый маленький размер камеры.
Необязательно размещаемыми в камере 28 обнаружения являются высушенные реагенты 64, содержащие субстрат для фермента и медиатор, способный взаимодействовать с ферментной частью связанного с ферментом антигена 50 для генерации обнаруживаемого (измеряемого) сигнала. Субстрат для фермента и медиатор, если они присутствуют, должны иметься в количестве, достаточным для того, чтобы скорость реакции любого присутствующего фермента с субстратом 64 для фермента определялась имеющимся количеством фермента. Например, если фермент представляет собой глюкозооксидазу или глюкозодегидрогеназу, то пригодный для использования медиатор 64 фермента и глюкоза (если она уже не присутствует в пробе) должны быть размещены в камере 28 обнаружения. Может быть также введен буфер для того, чтобы помочь скорректировать, т.е. установить нужное значение, рН пробы в камере 28 обнаружения. В том варианте воплощения, в котором используется электрохимическая система обнаружения, пригодным медиатором является феррицианид. Другие пригодные медиаторы включают в себя дихлорфенолиндофенол и комплексы переходных металлов и азотсодержащих гетероатомных частиц. Указанные реагенты 64, т.е. глюкоза, медиатор и буфер, присутствуют в количествах, достаточных для того, чтобы скорость реакции фермента с субстратом 64 для фермента лимитировалась концентрацией присутствующего фермента.
Когда камера 28 обнаружения заполнена, реагенты 64 растворяются в пробе. Ферментный компонент реагентов 64 взаимодействует с глюкозой и медиатором с получением восстановленного медиатора. Этот восстановленный медиатор электрохимически окисляется на электроде 52 или 54, действующем в качестве анода в камере 28 обнаружения, с генерацией электрического тока. В одном из вариантов воплощения скорость изменения этого тока со временем используется в качестве показателя присутствия и количества фермента, который присутствует в прореагировавшей пробе. Если скорость изменения тока является меньшей, чем заранее заданное пороговое значение, то это является показателем отсутствия какого-либо значительного количества связанного с ферментом антигена 50 в прореагировавшей пробе, указывая на отсутствие антигена в исходной пробе. Если скорость изменения тока является более высокой, чем пороговое значение скорости, то это указывает на то, что связанный с ферментом антиген 50 присутствует в прореагировавшей пробе и, следовательно, антиген также присутствовал в пробе изначально. В одном из вариантов воплощения скорость изменения тока используется для получения меры относительного количества антигена, изначально присутствовавшего в пробе.
В предпочтительном варианте воплощения системы с электрохимическим обнаружением электроды 52 и 54 в камере 28 обнаружения формируются в виде электропроводящих слоев, нанесенных на внутренние поверхности 60 и 62 подложек 32 и 34, например, путем напыления, как описано в WO 97/18464. Эти проводящие слои 52 и 54 состоят из материалов, которые не взаимодействуют химически с присутствующим реагентом, и могут использоваться в качестве электродов 52 и 54 при используемых потенциалах. Примеры пригодных для использования материалов включают в себя, но не ограничиваются ими, палладий, платину, золото, иридий, углерод, смешанный со связующим углерод, оксид индия, оксид олова и смешанные оксиды индия и олова.
В настоящем варианте воплощения инертный, электрически изолирующий слой 36 разделяет несущие электроды подложки 32 и 34. Предпочтительно, изолирующий слой 36 предназначен для удержания слоев 32 и 34 на заранее заданном расстоянии друг от друга. При условии, что это расстояние является достаточно малым, например меньшим, чем 500 микрон, а более предпочтительно составляющим от 50 до 150 микрон, через соответствующее время, короткое по сравнению с используемым временем обнаружения, ток, протекающий между электродами 52 и 54, станет прямо пропорционален концентрации восстановленного медиатора. В настоящем варианте воплощения скорость роста тока является непосредственно связанной со скоростью реакции фермента и, следовательно, с количеством присутствующего фермента.
На фиг.1 изображен соединительный край 66. Электроды 52 и 54 в камере 28 обнаружения могут быть расположены в электрическом соединении с измерителем (не показан) с помощью соединительного края 66. Соединительные средства (не показаны) находятся в электрическом соединении с электродами 52 и 54 в камере 28 обнаружения с помощью проводящих дорожек (не показаны). В предпочтительном варианте воплощения, иллюстрируемом на фиг.1, эти проводящие дорожки состоят из продолжений проводящих пленок 52 и 54, нанесенных на внутренние поверхности подложек 32 и 34. Измеритель в соединении с соединительной областью 66 способен прикладывать потенциал между электродами 52 и 54 в камере 28 обнаружения, анализировать генерируемые электрические сигналы, отображать отклик и, необязательно, сохранять этот отклик в памяти.
В других вариантах воплощения, в которых используется электрохимическое обнаружение, используются полоски из проводящего материала на одной или на обеих внутренних лицевых сторонах камеры обнаружения при условии, что имеются по меньшей мере два электрода, то есть измерительный электрод и противоэлектрод/электрод сравнения. Необязательно в состав устройства входит третий электрод, служащий в качестве отдельного электрода сравнения.
В случае варианта воплощения, в котором используемый способ обнаружения представляет собой визуальное обнаружение или спектроскопию отраженного света, по меньшей мере слои 32 и 46 или слои 34 и 42 являются прозрачными для той длины волны излучения, которая должна наблюдаться. В случае визуального обнаружения наблюдается простое изменение цвета в камере 28 обнаружения. В случае спектроскопии отражения обнаруживаемое излучение проходит через слои 32 и 46 или слои 34 и 42, при этом анализируется излучение, отраженное от раствора в камере 28 обнаружения. В случае использования спектроскопии прохождения в качестве способа обнаружения, по меньшей мере слои 32, 46, 34 и 42 являются прозрачными для излучения с выбранной длиной волны. Излучение проходит через пробу в камере 28 обнаружения, при этом измеряется ослабление луча.
В предпочтительном варианте воплощения способа конструирования сенсора слой 36 содержит подложку со слоем клея (не показан), нанесенного на ее верхнюю поверхность 70 и нижнюю поверхность 72. Примеры материалов, пригодных для подложки слоя 36, включают в себя сложный полиэфир, полистирол, поликарбонат, полиолефины и, предпочтительно, полиэтилентерефталат. Примеры пригодных клеев представляют собой чувствительные к давлению клеи, термически и химически отверждаемые клеи и термоплавкие и термически размягчаемые клеи.
Использование мелитина в качестве зонда
В обыкновенных методах иммуноферментного анализа (от англ. enzyme linked immunoadsorbent assay, ELISA) антиген связывается с ферментом. Однако является также возможным связывать антиген с мелитином, т.е. полипептидом, находящимся в пчелином яде. В настоящем варианте воплощения связанный с зондом антиген, содержащий комплекс антиген-мелитин, может быть высушен на стенке реакционной камеры, как описано выше. Камера обнаружения может содержать медиатор, содержащий ферроцианид в липосомах или в липидных везикулах. Если комплекс антиген-мелитин достигает липосом, то они лопаются и высвобождают ферроцианид. Это ведет к быстрому усилению сигнала, то есть малое количество свободного антигена конкурирует с комплексом антиген-мелитин за позиции связывания на антителах, что приводит к возникновению большой концентрации ферроцианида.
Использование пероксидазы хрена и щелочной фосфатазы в электрохимических анализах
В обыкновенных ELISA-методах используют пероксидазу хрена (HRP) или щелочную фосфатазу (АР) в качестве ферментов при колориметрическом анализе. Однако были разработаны субстраты, которые делают возможным использование обоих этих ферментов в электрохимическом анализе.
В этом варианте воплощения АР может быть использована вместе с п-аминофенилфосфатом, a HRP может быть использована вместе с тетратиафульваленом.
Получение электрохимических измерений с использованием иммуносенсора
В определенных вариантах воплощения информация, относящаяся к скорости химической реакции, которая генерирует по меньшей мере один электрохимически активный продукт, может быть получена с использованием данного сенсора в том случае, если обеспечить гарантию того, что химическая реакция локализована в месте, удаленном от электрода, используемого для электрохимического взаимодействия электрохимически активного продукта (активных продуктов). Область химической реакции является достаточно удаленной от электрода, так что массоперенос частиц электрохимически активного вещества из области химической реакции к электроду фактически лимитирует протекающий на электроде ток в любой момент времени. Это расположение обеспечивает по существу линейное изменение (градиент) концентрации частиц электрохимически активного вещества между областью химической реакции и электродом. Концентрация частиц электрохимически активного вещества на электроде поддерживается фактически равной нулю благодаря протекающей там электрохимической реакции. Поэтому изменение со временем величины этого градиента концентрации будет по существу определяться только зависимостью от времени концентрации частиц электрохимически активного вещества (веществ) в области химической реакции и коэффициентом (коэффициентами) диффузии электрохимически активного продукта (продуктов) реакции в жидкой среде. Поскольку ток, протекающий на электроде, является пропорциональным градиенту концентрации частиц электрохимически активного вещества (веществ) на электроде, то зависимость от времени этого тока будет отражать зависимость от времени химической реакции, происходящей в отдаленной области. Это позволяет использовать измеряемый на электроде ток (или прошедший заряд, если ток интегрируется) в качестве удобной меры скорости и степени завершенности протекающей химической реакции.
Пример соответствующего способа обеспечения того, что химическая реакция является удаленной от рабочего электрода, представляет собой иммобилизацию одного или нескольких реагирующих компонентов на твердой поверхности, удаленной от электрода. Реагирующий(ие) компонент(-ы) может быть иммобилизован путем включения его в полимерную матрицу, которая высушивается или иным способом закрепляется на твердой поверхности. Реагирующий(ие) компонент(-ы) может также быть связан непосредственно с твердой поверхностью с помощью либо химической, либо физической связи. Альтернативно, один или несколько из реагирующих компонентов могут быть просто высушены на твердой поверхности без специальных средств иммобилизации. В этой ситуации один или несколько из реагирующих компонентов обладают достаточно низкими подвижностями в жидкой матрице, заполняющей электрохимическую ячейку, так что они по существу не мигрируют из положения, где они высушены, в течение всего периода времени, когда электрохимический ток может подходящим образом отслеживаться для осуществления необходимого измерения. В этом контексте существенная миграция означает, что компонент, движущийся медленнее всех и требуемый для химической реакции, подходит настолько близко к рабочему электроду, что на зависимость от времени тока, протекающего на электроде, начинает оказывать влияние кинетика истощения типа Котрелла.
Диапазон расстояний, которые разделяют область химической реакции и рабочий электрод, в предпочтительных вариантах воплощения составляет, желательно, менее примерно 1 см, предпочтительно менее 5 мм, более предпочтительно находится в пределах между 5, 10, 50, 100, 200, 500 микронами и 5 мм, еще более предпочтительно между 5, 10, 50, 100, 200 и 500 микронами, а наиболее предпочтительно между 5, 10, 50, 100 и 200 микронами.
Кроме рабочего электрода, предусматривается еще по меньшей мере противоэлектрод в контакте с пробой жидкости для замыкания электрохимической цепи. При необходимости противоэлектрод может функционировать в качестве комбинированного противоэлектрода/электрода сравнения или же может быть предусмотрен отдельный электрод сравнения. В предпочтительном варианте воплощения рабочий электрод и противоэлектрод, желательно, разделены расстоянием более примерно 300 микрон, предпочтительно расстоянием более примерно 500 микрон, более предпочтительно расстоянием в пределах между примерно 500 микронами и 10 мм, еще более предпочтительно расстоянием в пределах между примерно 500 микронами и 1, 2, 5 мм, а наиболее предпочтительно между 1 мм и 2, 5, 10 мм.
Рабочий электрод конструируется из материалов, которые не взаимодействуют химически с любым компонентом, с которым он будет приходить в контакт во время использования, до такой степени, чтобы искажать отклик электрода в виде тока. Если рабочий электрод должен использоваться в качестве анода, то примерами пригодных материалов являются платина, палладий, углерод, углерод в сочетании с инертными связующими, иридий, оксид индия, оксид олова, смеси оксидов индия и олова. Если рабочий электрод должен использоваться в качестве катода, тогда в дополнение к материалам, перечисленным выше, другие пригодные для использования материалы представляют собой сталь, нержавеющую сталь, медь, никель, серебро и хром.
Примеры материалов, пригодных для использования в качестве противоэлектрода, представляют собой платину, палладий, углерод, углерод в сочетании с инертными связующими, иридий, оксид индия, оксид олова, смесь оксидов индия и олова, сталь, нержавеющую сталь, медь, никель, хром, серебро и серебро, покрытое по существу нерастворимой солью серебра, такой как хлорид серебра, бромид серебра, йодид серебра, ферроцианид серебра, феррицианид серебра.
Область химической реакции может быть локализована на гладкой стенке или на противоэлектроде, удаленном от рабочего электрода. Область химической реакции может находиться в той же плоскости, что и рабочий электрод, или, более предпочтительно, в плоскости, по существу параллельной рабочему электроду и обращенной к нему.
Сенсор, пригодный для использования в определенных вариантах воплощения, включает в себя рабочий электрод и противоэлектрод, которые размещены на электрически изолирующей подложке. На второй подложке расположен слой химических реагентов, причем по меньшей мере один из реагентов является по существу иммобилизированным на подложке. В ходе использования пространство между стенками сенсора заполняется жидкостью, содержащей вещество, которое способно взаимодействовать с реагентами с получением по меньшей мере одного электрохимически активного вещества. Продукты химической реакции диффундируют к рабочему электроду, где частицы электрохимически активного вещества (веществ) электрохимически взаимодействуют с генерацией тока. Величина тока или заряда, прошедшего в или за определенное время, или зависимость тока или прошедшего заряда от времени затем могут быть использованы для получения меры скорости или степени завершенности химической реакции, протекающей в слое реагента.
В другом варианте воплощения сенсора реагенты размещаются на противоэлектроде, который находится на подложке с большим электрическим сопротивлением. В этом варианте воплощения материалы конструкции противоэлектрода являются инертными по отношению к взаимодействию с любым из компонентов реагентов, размещенных на электроде.
Способ получения электрохимического измерения, описанный выше, может быть применен к любой пригодной для использования электрохимической системе, включая системы для электрохимических иммунологических анализов. Пример применения такого способа к типичной, хотя и не иммунологической, электрохимической системе представляет собой измерение глюкозы в цельной крови с использованием фермента пирролохинолинхинон-зависимой глюкозодегидрогеназы (от англ. pyrroloquinoline quinone (PQQ) dependent glucose dehydrogenase, т.е. GDHpqq) и медиатора окисления-восстановления. В этой реакции глюкоза в крови взаимодействует с GDHpqq с образованием глюконовой кислоты. В этом процессе PQQ в ферменте восстанавливается. Затем медиатор, такой как феррицианид калия, окисляет PQQ в ферменте и образует ферроцианид. Фермент в окисленной форме может затем взаимодействовать с оставшейся глюкозой. Суммарный эффект этой реакции представляет собой получение двух молекул ферроцианида на каждую прореагировавшую молекулу глюкозы. Ферроцианид представляет собой электрохимически активное вещество и поэтому может быть окислен на электроде с получением тока. Другие пригодные ферменты для этой реакции представляют собой глюкозооксидазу (GOD) или никотинамид-аденин-динуклеотид-зависимую глюкозодегидрогеназу (от англ. nicotinamid-adenine-dinucleotide (NAD) dependent glucose dehydrogenase). Для других реакций могут быть использованы лактатдегидрогеназа и алкогольдегидрогеназа. Другие пригодные для использования медиаторы окисления-восстановления включают в себя ферроциний, комплексы осмия с бипиридином и бензофенон.
Взаимодействие глюкозы в цельной крови с ферментом может быть медленным, занимая до полного завершения вплоть до нескольких минут. Кроме того, чем выше гематокрит в пробе крови, тем медленнее реакция. Гематокрит крови представляет собой объемную долю эритроцитов в пробе цельной крови. Например, раствор, содержащий 50 мг/мл GDHpqq, 0,9 М феррицианида калия и 50 мМ буфера при рН 6,5, осаждали на противоэлектрод, после чего воду удаляли, оставляя высушенный слой реагентов. В этом слое GDHpqq является достаточно большим и поэтому эффективно иммобилизуется на противоэлектроде, в то время как феррицианид может быть более однородно перемешан по всей жидкости в электрохимической ячейке. Пробу крови вводили в ячейку и непосредственно после этого прикладывали потенциал +300 мВ между рабочим электродом и противоэлектродом. Хотя потенциал +300 мВ является наиболее предпочтительным для окисления ферроцианида, потенциал, желательно, находится в пределах между +40 мВ и +600 мВ, предпочтительно между +50 мВ и +500 мВ, а более предпочтительно между +200 мВ и +400 мВ. В ячейке рабочий электрод состоял из слоя золота, напыленного на подложку из сложного полиэфира, а противоэлектрод состоял из слоя палладия, напыленного на подложку из сложного полиэфира.
Графики тока, записанные для проб крови с различными значениями гематокрита, демонстрируют более высокую скорость реакции при более низком гематокрите крови, то есть при значениях гематокрита в крови 20%, 42% и 65%. Уровень глюкозы в каждой пробе крови был примерно одинаковым, а именно 5,4 мм – для пробы с гематокритом 65%, 5,5 мм – для пробы с гематокритом 42%, и 6,0 мм – для пробы с гематокритом 20%.
Измеренный ток может быть приблизительно описан с помощью уравнения:
i=-FADC/L,
где i представляет собой ток, F представляет собой постоянную Фарадея (96486,7 кулон/моль), А представляет собой площадь электрода, D представляет собой коэффициент диффузии ферроцианида в пробе, С представляет собой концентрацию ферроцианида в области реакции, a L представляет собой расстояние между областью реакции и электродом. Скорость реакции, которая определяется скоростью изменения концентрации С со временем, следовательно, записывается как:
dC/dt=-(L/FAD)di/dt.
Для реакций, обсуждаемых выше, в пределах между 6 и 8 секундами для проб с гематокритом 20%, 42% и 65% среднее значение di/dt составляло соответственно 3,82, 2,14 и 1,32 микроампер/секунду. Коэффициенты диффузии ферроцианида для этих проб составляли 2,0×10-6, 1,7×10-6 и 1,4×10-6 см2/с соответственно для проб с гематокритом 20%, 42% и 65%. Площадь электрода составляла 0,1238 см2, а расстояние L составляло 125 микрон. Эти значения дают скорости реакции 2,0, 1,3 и 0,99 мМ/с соответственно для проб с гематокритом 20%, 42% и 65%.
Описанный выше способ измерения реакции глюкозы в крови может быть соответствующим образом модифицирован для применения к другим электрохимическим системам, включая системы для иммунологических анализов, такие как определение антигена, как это легко заметит специалист в данной области техники.
Приведенное выше описание описывает несколько способов и материалов согласно настоящему изобретению. Настоящее изобретение является восприимчивым к модификациям способов и материалов, а также к изменениям способов и устройств. Такие модификации будут понятными для специалиста в данной области техники из рассмотрения настоящего описания или применения описанного здесь изобретения. Следовательно, не предполагается, что настоящее изобретение является ограниченным конкретными вариантами воплощения, описанными здесь, но предполагается, что оно охватывает все модификации и альтернативы, находящиеся в пределах истинных рамок и духа настоящего изобретения, раскрытых в прилагаемой формуле изобретения.
Формула изобретения
1. Электрохимическое устройство для использования при обнаружении целевого антигена в жидкой пробе, содержащее реакционную камеру, имеющую a) внутреннюю поверхность, ближний край и дальний край, b) иммобилизованное антитело, способное связываться с целевым антигеном, и c) репортерный комплекс, способный смешиваться с пробой и содержащий зонд-фермент; камеру обнаружения, имеющую a) стенку, внутреннюю поверхность, дальний край и ближний край, b) вход для пробы на дальнем краю, и c) электроды для обнаружения электрохимической реакции в камере обнаружения; и
проход для пробы между дальним краем реакционной камеры и ближним краем камеры обнаружения, причем присутствие целевого антигена в жидкой пробе приводит к измеримому изменению в электрохимической реакции в камере обнаружения.
2. Устройство по п.1, в котором репортерный комплекс дополнительно содержит антиген, способный конкурировать с целевым антигеном за связывание с иммобилизованным антителом.
3. Устройство по п.1, в котором репортерный комплекс дополнительно содержит второе антитело, способное связываться с целевым антигеном.
4. Устройство по п.2, в котором реакционная камера содержит избыток антитела.
5. Устройство по п.1, в котором фермент содержит глюкозооксидазу.
6. Устройство по п.1, в котором фермент содержит глюкозодегидрогеназу.
7. Устройство по п.1, в котором камера обнаружения дополнительно содержит субстрат для фермента.
8. Устройство по п.7, в котором субстрат для фермента представляет собой окисляемый субстрат для фермента.
9. Устройство по п.8, в котором окисляемый субстрат для фермента выбран из группы, состоящей из галактозы и уксусной кислоты.
10. Устройство по п.8, в котором окисляемый субстрат для фермента содержит глюкозу.
11. Устройство по п.1, в котором камера обнаружения дополнительно содержит медиатор.
12. Устройство по п.11, в котором медиатор выбран из группы, состоящей из дихлорфенолиндофенола и комплексов переходных металлов и азотсодержащих гетероатомных частиц.
13. Устройство по п.11, в котором медиатор содержит феррицианид.
14. Устройство по п.1, в котором камера обнаружения дополнительно содержит буфер, способный корректировать рН пробы.
15. Устройство по п.14, в котором буфер содержит фосфат.
16. Устройство по п.14, в котором буфер содержит цитрат.
17. Устройство по п.1, дополнительно содержащее агент, содержащийся внутри реакционной камеры и способный предотвращать неспецифическое связывание белков с внутренней поверхностью реакционной камеры.
18. Устройство по п.17, в котором агент выбран из группы, состоящей из поверхностно-активного вещества и блокирующего белка.
19. Устройство по п.17, в котором агент представляет собой бычий сывороточный альбумин.
20. Устройство по п.1, в котором репортерный комплекс отделен от иммобилизованного антитела расстоянием менее примерно 1 мм.
21. Устройство по п.1, которое дополнительно содержит материал-носитель.
22. Устройство по п.21, в котором материал-носитель расположен внутри камеры обнаружения, при этом первое вещество, выбранное из группы, состоящей из субстрата для фермента, медиатора, буфера и их комбинаций, нанесено на материал-носитель или содержится внутри материала-носителя.
23. Устройство по п.21, в котором материал-носитель расположен внутри реакционной камеры, при этом второе вещество, выбранное из группы, состоящей из иммобилизованного антитела, репортерного комплекса и агента, способного предотвращать неспецифическое связывание белков с внутренней поверхностью реакционной камеры, нанесено на материал-носитель или содержится внутри материала-носителя.
24. Устройство по п.21, в котором материал-носитель содержит сетчатый материал.
25. Устройство по п.21, в котором материал-носитель содержит волокнистый материал-наполнитель.
26. Устройство по п.21, в котором материал-носитель содержит пористый материал.
27. Устройство по п.26, в котором пористый материал содержит спеченный порошок.
28. Устройство по п.26, в котором пористый материал содержит макропористую мембрану.
29. Устройство по п.1, дополнительно содержащее прокалывающее средство, способное формировать вентиляционный выход из камеры обнаружения на дальнем краю камеры обнаружения.
30. Устройство по п.1, дополнительно содержащее вентиляционный выход из реакционной камеры на дальнем краю реакционной камеры.
31. Способ электрохимического обнаружения целевого антигена в жидкой пробе, включающий в себя обеспечение наличия реакционной камеры и камеры обнаружения, имеющих ближний и дальний края; впуск пробы в реакционную камеру, имеющую внутреннюю поверхность и содержащую иммобилизованное антитело, способное связываться с целевым антигеном, и репортерный комплекс, способный смешиваться с пробой и конкурировать с целевым антигеном за связывание с иммобилизованным антителом, причем репортерный комплекс содержит зонд-фермент; конкурентное связывание целевого антигена и репортерного комплекса с иммобилизованным антителом; перемещение несвязанного репортерного комплекса из реакционной камеры к камере обнаружения через проход для пробы между дальним краем реакционной камеры и ближним краем камеры обнаружения; и измерение посредством электродов электрохимической реакции в камере обнаружения для определения того, присутствует ли в пробе целевой антиген, причем присутствие целевого антигена снижает количество репортерного комплекса, который связывается с иммобилизованным антителом, и позволяет зонду-ферменту участвовать в электрохимической реакции в камере обнаружения.
32. Способ по п.31, в котором репортерный комплекс дополнительно содержит антиген, способный конкурировать с целевым антигеном за связывание с иммобилизованным антителом.
РИСУНКИ
|
|