|
|
(21), (22) Заявка: 2004118305/12, 31.07.2002
(24) Дата начала отсчета срока действия патента:
31.07.2002
(30) Конвенционный приоритет:
11.06.2002 (пп.1-8) DE 10225989.5
(43) Дата публикации заявки: 27.05.2005
(46) Опубликовано: 27.06.2006
(56) Список документов, цитированных в отчете о поиске:
DE 29914238 U1, 18.11.1999. DE 10115033 A1, 04.10.2001. GB 1050176 А, 07.12.1966. GB 2272833 А, 01.06.1994. RU 2130749 C1, 27.05.1999. SU 1777799 A1, 30.11.1992.
(85) Дата перевода заявки PCT на национальную фазу:
16.06.2004
(86) Заявка PCT:
DE 02/02800 (31.07.2002)
(87) Публикация PCT:
WO 03/103458 (18.12.2003)
Адрес для переписки:
103735, Москва, ул.Ильинка, 5/2, ООО “Союзпатент”, А.А.Силаевой
|
(72) Автор(ы):
ПОЛИДАР Франц (DE), ХАНДЕРЕР Манфред (DE)
(73) Патентообладатель(и):
ВАНЦЛЬ МЕТАЛЛЬВАРЕНФАБРИК ГМБХ (DE)
|
(54) СТОЛ ДЛЯ МАГАЗИНОВ САМООБСЛУЖИВАНИЯ
(57) Реферат:
Изобретение относится к столу (1) для магазинов самообслуживания, включающему в себя базовую раму (2), содержащую четыре трубчатые ножки (3), две боковые рамы (16), расположенные параллельно друг другу и содержащие каждая первую и вторую стенки (17, 18), и дно (22), расположенное над базовой рамой (2) и ограниченное стенками (17, 18). Каждая боковая рама (16) оснащена двумя трубчатыми стойками (15), которые несут стенки (17, 18) и с помощью соединительных средств соединены с ножками (3) базовой рамы (2) так, что противоположные поверхности (9) разреза ножек (3) и стоек (15) расположены либо в одной общей плоскости (10), либо на расстоянии друг от друга каждая в своей плоскости (10). Каждая ножка (3) с помощью шарнира (11) соединена с одной из стоек (15), при этом горизонтальная ось (13) каждого шарнира (11) находится либо в, либо ниже плоскости (10), либо между обеими плоскостями (10). Технический эффект – выполнение стола складным, штабелируемым с обеспечением удобства в эксплуатации за счет соединения ножек. 8 з.п. ф-лы, 6 ил.
Изобретение относится к столу для магазинов самообслуживания, включающему в себя базовую раму, содержащую четыре трубчатые ножки, две боковые рамы, расположенные параллельно друг другу и содержащие каждая первую и вторую стенки, и дно, расположенное над базовой рамой и ограниченное стенками, причем каждая боковая рама оснащена двумя трубчатыми стойками, которые несут стенки и с помощью соединительных средств соединены с ножками базовой рамы так, что противоположные поверхности разреза ножек и стоек расположены либо в одной общей плоскости, либо на расстоянии друг от друга каждая в своей плоскости.
Столы этого рода известны в различных выполнениях. Всем этим столам присуще то, что в целях транспортировки, например, при их поставке они могут быть приведены в максимально компактную форму. Для этого известны различные решения.
Стол, аналогичный предложенному, очень распространен на практике, поскольку он благодаря своей базовой раме является крайне жестким и стабильным. В описании промышленного образца 29914238, кл. А 47 F 5/00, 1999 раскрыт такой стол. Этот стол можно привести в рабочий вид путем составления различных отдельных деталей. Так, например, в ножки базовой рамы приходится сначала вставлять соединительные детали, прежде чем четыре стойки, которые несут боковые стенки, можно будет надеть на эти соединительные детали.
Задачей изобретения является выполнение стола описанного выше родового вида так, чтобы можно было отказаться от вышеупомянутых вставных соединений. Тем не менее стол должен быть складным. Далее этот стол должен быть выполнен с возможностью штабелирования нескольких столов в сложенном состоянии.
Решение этой задачи заключается в том, что стол для магазинов самообслуживания включает базовую раму с четырьмя трубчатыми ножками, две боковые рамы, расположенные параллельно друг другу и содержащие каждая первую и вторую стенки, дно, расположенное над базовой рамой и ограниченное стенками. Каждая боковая рама оснащена двумя трубчатыми стойками, которые несут стенки и с помощью соединительных средств соединены с ножками базовой рамы. Противоположные поверхности разреза ножек и стоек расположены либо в одной общей плоскости, либо на расстоянии друг от друга каждая в своей плоскости.
Каждая ножка с помощью шарнира соединена с одной из стоек, при этом горизонтальная ось каждого шарнира находится или в, или ниже плоскости, или между обеими плоскостями. Каждый шарнир расположен на внутренней стенке стойки и на внутренней стенке ножки и оснащен двумя петлями. Каждая петля содержит цоколь, при этом соответственно один цоколь помещен в ножку, а один цоколь – в стойку.
Каждая петля оснащена примыкающей к цоколю упорной пластиной, при этом упорные пластины предназначены для прилегания к поверхностям разреза ножки и стойки.
На каждый шарнир на одной упорной пластине предусмотрено возвышение, а в другой упорной пластине – углубление или выемка, предназначенные для размещения возвышения тогда, когда стол находится в рабочем положении.
Каждая первая стенка неподвижно закреплена на двух стойках, а каждая вторая стенка сочленена с расположенной напротив по диагонали стойкой с возможностью поворота вокруг вертикальной оси.
Каждая вторая стенка разъемно фиксирована на противоположной свободной стойке. В нерабочем положении стол может быть установлен своими ножками на ножках другого, находящегося в нерабочем положении стола.
Если, как описано ниже, каждые две стойки соединить с первой стенкой и на одной из обеих стоек установить вторую стенку так, чтобы ее можно было ограниченно вворачивать вокруг вертикальной оси, найденное решение дает следующие преимущества.
Боковые рамы могут быть своими стенками приведены вокруг шарниров в компактное нерабочее положение. Предварительно следует лишь снять дно и положить на базовую раму.
В откинутом положении первые и вторые стенки прочно удерживают лежащее на базовой раме дно. В этом положении стол представляет собой плоский пакет, так что стол можно перевозить и доставлять в компактном виде.
За счет откидывания четырех стоек освобождается видимая сверху зона четырех ножек. На ножки первого сложенного стола можно затем положить второй, также сложенный стол и т.д., так что несколько столов образуют подобие башни, которую, будучи фиксированной за счет соответствующей обвязки, можно отлично перевозить.
Для перевода стола в рабочее положение обе боковые рамы следует лишь перевести в вертикальное положение, каждую вторую стенку фиксировать с соседней стойкой, а затем поместить между четырьмя стенками пол без необходимости использования каких-либо дополнительных крепежных средств.
У первой формы выполнения шарнирные петли расположены на наружных сторонах стоек и ножек, у другой формы выполнения шарнирные петли выполнены в виде блока, так что их можно вставлять в стойки и ножки.
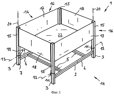
На фиг.1 представлен стол в рабочем положении, на фиг.2 – тот же стол в начале складывания, на фиг.3 подробно представлены зоны соединения ножки и стойки, на фиг.4 – те же подробно представленные зоны с откинутой стойкой, на фиг.5 – ножка другого стола на ножке показанного здесь стола, на фиг.6 – в двух видах устройство с вставленным шарниром.
Изображенный на фиг.1 складной стол 1 предназначен для магазинов самообслуживания. Он служит там для демонстрации товаров.
Стол 1 содержит оснащенную четырьмя ножками 3 базовую раму 2.
Ножки 3 соединены двумя горизонтальными продольными перекладинами 4.
Обе продольные перекладины 4 соединены, в свою очередь, двумя другими горизонтально расположенными поперечными перекладинами 5, так что базовая рама 2 представляет собой чрезвычайно стабильную конструкцию.
В этом примере ножки 3 и продольные 4 и поперечные 5 перекладины образованы квадратной трубой. То же относится к четырем стойкам 15, которые направлены от ножек 3 вверх. Каждая стойка 15 с помощью шарнира 11, расположенного соответственно на внутренней стенке 19 стоек 15 и на внутренней стенке 7 ножек 3, установлена с возможностью поворота вокруг горизонтальной оси 13. Каждые две находящиеся на продольной стороне 14 стола 1 стойки 15 несут первую стенку 17, за счет чего образуются две боковые рамы 16. На каждой боковой раме 16 с расположенной напротив по диагонали стойкой 15 вторая стенка 18 сочленена с возможностью ее поворота вокруг вертикальной оси 20. Вторые стенки 18 разъемно фиксированы соответственно на противоположно свободной стойке 15. Внутри стенок 17, 18 и над базовой рамой 2 находится дно 22, которое может быть уложено сверху между стенками 17, 18 и опирается внизу, по меньшей мере, на две стенки 17 и/или 18.
На фиг.2 изображено начало процесса разборки стола 1 по фиг.1. Дно 22 снято со стенок 17, 18 вверх и прилегает (не показано) к базовой раме 2. Вторые стенки 18 отделены от противоположных стоек 15, и их поворачивают по стрелке к внутренней стороне 21 первой стенки 17 боковой рамы 16. Затем каждую боковую раму 16 складывают примерно на 90° вниз на лежащее на базовой раме 2 дно 22 (см. стрелки). Легко представить себе, что сложенный таким образом стол 1 образует плоский пакет.
В качестве подробности на фиг.3 изображены ножка 3 и сочлененная с ножкой 3 стойка 15. На ножке 3 видна часть поперечной перекладины 5. Поверхности 9 разреза ножки 3 и стойки 15 прилегают друг к другу. Они лежат, кроме того, в одной общей плоскости 10. В этой плоскости 10 или немного ниже лежит также горизонтально расположенная ось 13 служащего в качестве соединительного средства шарнира 11, чья направленная вверх петля 12 неподвижно закреплена на внутренней стенке 19 стойки 15, а направленная вниз петля 12′ – на внутренней стенке 7 ножки 3. Внутренние стенки 7, 19 соответственно ножек 3 и стоек 15 каждой боковой рамы 16 зеркально-симметрично противоположны друг другу. На чертеже стойка 15 изображена в рабочем положении стола 1.
На фиг.4 изображена подробность по фиг.3, однако со сложенной вниз стойкой 15. Из чертежа хорошо видно, что верхний край 8 ножки 3 и, тем самым, также ее верхнее отверстие 8 доступны сверху. Каждая боковая рама 16, следовательно, сложена вниз с помощью двух шарниров 11.
На фиг.5 изображена ножка 3 первого, находящегося в нерабочем положении стола 1, на которой покоится ножка 3 второго, также приведенного в нерабочее положение стола 1. Таким образом можно штабелировать друг на друге один стол 1 за другим, причем ножки 3 находящегося вверху стола 1 прилегают к ножкам 3 находящегося внизу стола 1.
Если стол 1 желательно перевести из нерабочего положения в рабочее, необходимо сначала сложить вверх первую боковую раму 16, а затем вторую боковую раму 16. Затем обе стенки 18 следует повернуть в их рабочее положение и зафиксировать на противоположной стойке 15. Наконец пол 22 следует извлечь из базовой рамы 2 и поводящим образом опереть, по меньшей мере, на часть стенок 17, 18.
На фиг.6 в двух видах изображены ножка 3 и стойка 15, соединенные шарниром 11, петли 12, 12′ которого расположены внутри ножки 3 и стойки 15, тогда как горизонтальная ось 13 шарнира 11 находится вне ножки 3 и стойки 15. Цоколь 23 нижней петли 12′ помещен с геометрическим замыканием в полую ножку 3, а цоколь 23 верхней петли 12 – с геометрическим замыканием в полую стойку 15 и подходящим образом фиксированы от ослабления. Каждый цоколь 23 содержит упорную пластину 24. Упорная пластина 24 нижней петли 12′ прилегает к поверхности 9 разреза ножки 3, а упорная пластина 24 верхней петли 12 – к поверхности 9 разреза стойки 15. Поскольку упорные пластины 24 имеют определенную толщину, поверхности 9 разреза лежат в плоскостях 10′, расстояние между которыми соответствует двойной толщине упорной пластины 24. Горизонтальная ось 13 шарнира 11 расположена, следовательно, между обеими плоскостями 10′. Шарнирное сочленение 25, соединяющее верхнюю 12 и нижнюю 12′ петли, выполнено известным специалисту образом. Петли 12, 12′ могут быть соединены между собой поэтому либо с помощью осевого пальца, либо в случае выполнения из пластика, предпочтительно также посредством пленочного шарнира. Для дополнительной фиксации и центрирования изображенного устройства рекомендуется предусмотреть на одной из обеих упорных пластин 24 возвышение 26, например, в виде конусообразного шипа и точно напротив (см. слева) в другой упорной пластине 24 – соответствующее углубление 27 или подходящую выемку для надежного по положению размещения возвышения 26. В рабочем положении стола 1 возвышение 26 находится в углублении 27. На какой упорной пластине 24 будет находиться возвышение 26, а в какой – углубление 27 не играет роли. Справа на чертеже изображена ножка 3 со сложенной стойкой 15. Описанные шарниры 11 могут быть использованы у стола 1 таким же образом и с таким же действием, как это изображено на фиг.1 и 2.
Формула изобретения
1. Стол (1) для магазинов самообслуживания, включающий в себя базовую раму (2), содержащую четыре трубчатые ножки (3), две боковые рамы (16), расположенные параллельно друг другу и содержащие каждая первую и вторую стенки (17, 18), и дно (22), расположенное над базовой рамой (2) и ограниченное стенками (17, 18), причем каждая боковая рама (16) оснащена двумя трубчатыми стойками (15), которые несут стенки (17, 18) и с помощью соединительных средств соединены с ножками (3) базовой рамы (2), причем противоположные поверхности (9) разреза ножек (3) и стоек (15) расположены либо в одной общей плоскости (10), либо на расстоянии друг от друга каждая в своей плоскости (10′), отличающийся тем, что каждая ножка (3) с помощью шарнира (11) соединена с одной из стоек (15), при этом горизонтальная ось (13) каждого шарнира (11) находится или в, или ниже плоскости (10), или между обеими плоскостями (10′).
2. Стол по п.1, отличающийся тем, что каждый шарнир (11) расположен на внутренней стенке (19) стойки (15) и на внутренней стенке (7) ножки (3).
3. Стол по п.1, отличающийся тем, что каждый шарнир (11) оснащен двумя петлями (12, 12′), каждая петля (12, 12′) содержит цоколь (23), при этом соответственно один цоколь (23) помещен в ножку (3), а один цоколь (23) – в стойку (15).
4. Стол по п.3, отличающийся тем, что каждая петля (12, 12′) оснащена примыкающей к цоколю (23) упорной пластиной (24), при этом упорные пластины (24) предназначены для прилегания к поверхностям (9) разреза ножки (3) и стойки (15).
5. Стол по п.4, отличающийся тем, что на каждый шарнир (11) на одной упорной пластине (24) предусмотрено возвышение (26), а в другой упорной пластине (24) – углубление (27) или выемка, предназначенные для размещения возвышения (26) тогда, когда стол (1) находится в рабочем положении.
6. Стол по п.1, отличающийся тем, что каждая первая стенка (17) неподвижно закреплена на двух стойках (15), а каждая вторая стенка (18) сочленена с расположенной напротив по диагонали стойкой (15) с возможностью поворота вокруг вертикальной оси (20).
7. Стол по п.6, отличающийся тем, что каждая вторая стенка (18) разъемно фиксирована на противоположной свободной стойке (15).
8. Стол по п.1, отличающийся тем, что дно (22) выполнено съемным.
9. Стол по п.1, отличающийся тем, что в нерабочем положении он может быть установлен своими ножками (3) на ножках (3) другого, находящегося в нерабочем положении стола (1).
РИСУНКИ
|
|