|
|
(21), (22) Заявка: 2003110576/12, 14.09.2001
(24) Дата начала отсчета срока действия патента:
14.09.2001
(30) Конвенционный приоритет:
15.09.2000 (пп.1-99) US 09/662,860
(43) Дата публикации заявки: 27.09.2004
(46) Опубликовано: 27.06.2006
(56) Список документов, цитированных в отчете о поиске:
US 4757183 А, 12.07.1988. US 5394620 А, 07.03.1995. GB 2170705 А, 13.08.1986. US 4605019 А, 12.08.1986. JP 11196927 А, 27.07.1999. SU 1433465 A1, 30.10.1988.
(85) Дата перевода заявки PCT на национальную фазу:
15.04.2003
(86) Заявка PCT:
US 01/28936 (14.09.2001)
(87) Публикация PCT:
WO 02/21967 (21.03.2002)
Адрес для переписки:
103735, Москва, ул. Ильинка, 5/2, ООО “Союзпатент”, пат.пов. Л.С.Кишкиной
|
(72) Автор(ы):
ПЕРЕС Луис (US), ИВЭНИК Уолтер (US)
(73) Патентообладатель(и):
ПЕРЕС Луис (US), ИВЭНИК Уолтер (US)
|
(54) ПЕРЕНОСНОЙ БЕСШНУРОВОЙ ВЕНТИЛЯТОР ДЛЯ СУШКИ ВОЛОС
(57) Реферат:
Изобретение относится к устройствам для сушки волос. Переносной бесшнуровой вентилятор для сушки волос содержит часть полого корпуса, имеющую удлиненную форму, через которую проходит осевая линия массы, и включающую электродвигатель вентилятора и нагревательный элемент, а также имеющую задний конец и передний конец. Часть корпуса, которая служит ручкой, имеет продольную осевую линию, проходящую, по существу, поперек направления части корпуса, имеющей удлиненную форму, и вдоль осевой линии массы этой части. Источник питания имеет плоскую подставку, а соответствующая осевая линия его массы проходит вдоль продольной осевой линии ручки и находится на одной прямой с осевой линией массы части полого корпуса, имеющей удлиненную форму. Изобретение обеспечивает полную автономность, позволяет регулировать количество воздуха, поступающего в часть полого корпуса, а также поддерживать регулируемый уровень температуры. 9 н. и 90 з.п. ф-лы, 17 ил.
Настоящее изобретение в основном относится к вентилятору для сушки волос, в частности к переносному вентилятору для сушки волос, конструкция которого обеспечивает ему возможность находиться обособленно на своей подставке, и который имеет не только цепь регулирования напряжения, предназначенную для регулирования количества тепла, выделяемого нагревательным элементом, но также и устройство управления для регулирования отверстия с переменным сечением, предназначенного для выпуска воздуха, и цепь регулирования мощности тока, которая обеспечивает сначала получение от нагревательного элемента полного количества тепла, а затем переходит на импульсный режим, поддерживая заданный уровень теплообразования при меньшем потреблении электроэнергии, поступающей от аккумуляторной батареи.
Существует большое количество различных типов вентиляторов для сушки волос.Однако заявителю не известны такие из них, которые были бы переносными. Например, типичные электрические вентиляторы для сушки волос представлены в патентах США №№4195217, 5555637 и 5701681. Однако все они подключаются к сети переменного тока при помощи шнуров и не являются переносными и автономными.
Поэтому желательно было бы иметь такой вентилятор для сушки волос, который являлся бы переносным, а держать его можно было бы одной рукой, что обеспечило бы лицу, пользующемуся им, свободу совершать различные движения другой рукой, к примеру одновременно пользоваться различным дополнительным инструментом, необходимым для создания стильных причесок, что способствует разработке разных технических приемов оформления прически. Кроме того, желательно было бы получить такую конструкцию вентилятора для сушки волос, которая позволяла бы класть его на предназначенную для него подставку, где бы он удерживался в сбалансированном положении, что позволило бы облегчить работу с ним для тех, кто им пользуется, благодаря сведению к минимуму той нагрузки на запястье и плечо, которая создается под действием его веса. Помимо этого, желательно было бы также в таком случае обеспечить более экономное расходование электроэнергии аккумуляторной батареи посредством обеспечения сначала получения от нагревательного элемента полного количества тепла с последующим переходом на импульсный режим по напряжению или силе тока, подводимого к этому элементу, с такими параметрами, чтобы просто лишь обеспечить возможность поддерживать соответствующий уровень теплообразования в зависимости от скорости вращения вентилятора и количества впускаемого и выпускаемого воздуха.
К тому же было бы желательно обеспечить также наличие соответствующего узла, который являлся бы частью вентилятора для сушки волос и позволял бы выборочно обеспечивать дозированную подачу жидкости у переднего его конца.
Таким образом, настоящее изобретение относится к переносному вентилятору для сушки волос в сборе, который имеет целый ряд характерных особенностей. Первая такая особенность состоит в том, что он является переносным и полностью автономным и включает в свой состав выделяющую тепло электронагревательную спираль с вентилятором в сборе.
Кроме того, узел аккумуляторной батареи, обладая значительным весом, служит в качестве подставки для этого вентилятора, предназначенного для сушки волос, представляя собой средство для балансировки веса всего данного комплекта при пользовании им.
Источник питания может представлять собой встроенное зарядное устройство или же какую-нибудь часть зарядного устройства, к примеру, такую как узел выпрямителя, что позволяет подключать аккумуляторную батарею непосредственно к сети переменного тока и обеспечивает возможность одновременно производить подзарядку нескольких аккумуляторных батарей.
Дополнительно к этому, аккумуляторная батарея может просто подзаряжаться подсоединением ее к источнику постоянного тока, которым может являться силовой трансформатор, подключенный к настенному агрегату и обеспечивающий на своем выходе постоянный ток обычным способом.
Аккумуляторная батарея крепится при ее установке внутри ручки вентилятора для сушки волос и может быть вставлена туда только так, чтобы занимать в ней правильное положение.
К тому же, такие аккумуляторные батареи имеют более высокое, чем обычно, напряжение, что позволяет уменьшить потребность в токе и потреблять его в течение более длительного времена при эквивалентной потребляемой мощности в ваттах. Желательно, чтобы напряжение составляло 14 вольт или более.
Кроме того, предлагаемый вентилятор для сушки волос имеет также регулируемое отверстие для впуска воздуха, расположенное на заднем конце имеющей удлиненную форму части полого корпуса и предназначенное для регулирования количества воздуха, поступающего в эту часть полого корпуса, имеющую удлиненную форму. Это регулируемое отверстие для впуска воздуха может снабжаться рядом параллельных лопаток или створок, положение которых может регулироваться от такого, в котором расстояние между ними будет минимальным, что обеспечит поступление минимального воздушного потока в часть полого корпуса, имеющую удлиненную форму, до такого, в котором расстояние между лопатками или створками будет максимальным, что обеспечит поступление максимального воздушного потока в часть полого корпуса, имеющую удлиненную форму.
Помимо этого, предлагаемый вентилятор для сушки волос новейшей конструкции может также иметь и регулируемое отверстие для выпуска воздуха, расположенное на переднем конце части полого корпуса, имеющей удлиненную форму, и предназначенное для регулирования количества воздуха, выходящего из этой части полого корпуса, имеющей удлиненную форму. Это регулируемое отверстие для выпуска воздуха может снабжаться регулируемой ирисовой диафрагмой, аналогичной тем, которые применяются в съемочных камерах, и просто лишь при поворачивании ее кольца в ту или иную сторону лепестки ирисовой диафрагмы будут сдвигаться ближе друг к другу или же раздвигаться дальше друг от друга, образуя соответственно меньший или больший глазок, через который может проходить воздух.
Таким образом, предлагаемый вентилятор для сушки волос обладает способностью создавать воздушный поток, имеющий исключительно температуру окружающей среды, с разной производительностью в куб.футах в минуту, изменяемой посредством регулирования переднего и заднего отверстий, соответственно для выпуска и впуска воздуха, а также способностью обеспечивать подачу нагретого воздуха с разными производительностью в куб.футах в минуту и температурой.
Дополнительно к этому предлагаемый вентилятор для сушки волос новейшей конструкции может также иметь соответствующую цепь, которая обеспечивает импульсную модуляцию силы тока или напряжения, подаваемых на нагревательный элемент, обеспечивая такой цикл его работы, при котором создаются необходимые условия для использования и периодического восполнения статического тепла, аккумулированного нагревательным элементом. Получаемые при этом преимущества заключаются в увеличении срока службы нагревательного элемента, повышении долговечности аккумуляторной батареи, увеличении интервала между очередными подзарядками аккумуляторной батареи и в уменьшении значений силы тока в тех случаях, когда эксплуатация ведется в так называемом “режиме доведения аккумуляторной батареи до состояния глубокой разрядки”, которая связана с весьма значительными расходами. Этот импульсный контур приводится в действие в определенных условиях, когда нажимают кнопку нагрева. Электродвигатель вентилятора работает при этом независимо от импульсного контура, который предназначается исключительно для нагревательного элемента.
Этот принципиально новый импульсный контур представляет собой регулирующее средство, предназначенное для предотвращения нагревания предлагаемого электрического вентилятора для сушки волос до слишком высокой температуры, а также для увеличения срока службы нагревательного элемента.
Таким образом, задачей настоящего изобретения является создание переносного бесшнурового вентилятора для сушки волос, который обладает полной автономностью.
Еще одной задачей настоящего изобретения является создание переносного вентилятора для сушки волос, имеющего сбалансированную конструкцию за счет расположения на одной прямой осевых линий массы удлиненной части корпуса, той его части, которая служит ручкой, и той части, которая служит подставкой и в которой находится аккумуляторная батарея, благодаря чему весь комплект будет занимать устойчивое положение на своей подставке, а при пользовании им – обеспечивать правильное распределение нагрузки на кисть руки и плечо.
Еще одной задачей настоящего изобретения является создание переносного вентилятора для сушки волос, имеющего регулируемое отверстие для впуска воздуха, расположенное на заднем конце части полого корпуса, имеющей удлиненную форму, и предназначенное для регулирования количества воздуха, поступающего в эту часть полого корпуса, имеющую удлиненную форму.
Еще одной задачей настоящего изобретения является создание переносного вентилятора для сушки волос, имеющего регулируемое отверстие для выпуска воздуха, расположенное на переднем конце части полого корпуса, имеющей удлиненную форму, и предназначенное для регулирования количества воздуха, выходящего из этой части полого корпуса, имеющей удлиненную форму.
Кроме того, задачей настоящего изобретения является создание переносного вентилятора новейшей конструкции для сушки волос, имеющего регулируемое отверстие для выпуска воздуха, которое снабжено механизмом ирисовой диафрагмы, смонтированным на переднем конце части полого корпуса, имеющей удлиненную форму, и имеющим выполненные в виде лепестков части, обладающие способностью перемещаться по отношению друг к другу, обеспечивая тем самым возможность изменения размера этого регулируемого отверстия в пределах от минимального до максимального.
Еще одной задачей настоящего изобретения является создание принципиально новой цепи регулирования режима нагрева, соединяющей между собой нагревательный элемент и выключатели управления и предназначенной для регулирования силы электрического тока, подводимого к нагревательному элементу.
Помимо этого, задачей настоящего изобретения является также создание цепи для подвода максимального тока к нагревательному элементу, чтобы быстро повысить температуру нагревательного элемента до желаемого ее значения.
Другая задача настоящего изобретения заключается в создании импульсного контура, подключенного к базе транзистора большой мощности и предназначенного для стробирования этого транзистора большой мощности с предварительно заданной частотой переключения во включенное и выключенное положения с тем, чтобы поддерживать желаемую температуру нагревательного элемента после того, как эта температура будет достигнута.
Еще одной задачей настоящего изобретения является создание устройства ручного управления, предназначенного для установки желаемой частоты переключения во включенное и выключенное положения, с которой должна подаваться электроэнергия к нагревательному элементу с тем, чтобы поддерживать желаемую его температуру, к примеру, на соответствующем низком, среднем и высоком уровнях.
Кроме того, задачей настоящего изобретения является создание также соответствующего импульсного контура, предназначенного для автоматического сообщения транзистору большой мощности соответствующего импульса проводимости при переключении его во включенное и выключенное положения с тем, чтобы поддерживать желаемую температуру нагревательного элемента.
Еще одной задачей настоящего изобретения является создание соответствующего повышающего контура, предназначенного для того, чтобы обеспечить возможность увеличения напряжения или тока только в том случае, когда транзистору большой мощности сообщается соответствующий импульс на подвод тока или напряжения к нагревательному элементу.
Еще одна задача настоящего изобретения заключается в создании соответствующего приспособления к предлагаемому вентилятору для сушки волос, которое обеспечивает распыление жидкости, выборочно подаваемой в дозированных количествах к переднему концу имеющей удлиненную форму части полого корпуса вентилятора.
Таким образом, настоящее изобретение относится к переносному бесшнуровому вентилятору для сушки волос, содержащему часть полого корпуса, имеющую удлиненную форму, которая имеет соответствующую осевую линию массы и заключает в себе электродвигатель вентилятора и нагревательный элемент; задний конец и передний конец; часть корпуса, которая служит ручкой и продольная осевая линия которой проходит, по существу, поперек части корпуса, имеющую удлиненную форму, и вдоль осевой линии массы этой части, причем та часть корпуса, которая служит ручкой, снабжена соответствующими устройствами управления в виде выключателей, предназначенных для включения нагревательного элемента и электродвигателя вентилятора; и источник питания, имеющий плоскую подставку, осевая линия массы которого находится на одной прямой с осевой линией массы части полого корпуса, имеющей удлиненную форму, при этом источник питания рассчитан на присоединение его к той части корпуса, которая служит ручкой, по существу, вдоль ее продольной осевой линия таким образом, что: /1/ обеспечивается подача электроэнергии к устройствам ручного управления, и /2/ плоская подставка представляет собой конструкцию в виде платформы, обеспечивающую для электрического вентилятора, предназначенного для сушки волос, возможность находиться в обособленном положении.
Указанные и другие характерные особенности настоящего изобретения поясняются в приведенном здесь ниже подробном описании изобретения, которое ведется со ссылками на прилагаемые чертежи, на которых одинаковые элементы обозначены одними и теми же номерами позиций и на которых:
фиг.1 – представленный в перспективе общий вид вентилятора новейшей конструкция для сушки волос, предлагаемого в соответствии с настоящим изобретением;
фиг.2 – представленный в перспективе общий вид принципиально новой аккумуляторной батареи, которая может быть присоединена к вентилятору для сушки волос, показанному на фиг.1;
фиг.3 – схематическое изображение преобразователя для подвода переменного тока или постоянного тока к аккумуляторной батарее при ее зарядке;
фиг.4 – иллюстрация, показывающая регулируемые лопатки на заднем конце имеющей удлиненную форму части полого корпуса вентилятора для сушки волос, предназначенные для регулирования количества воздуха, поступающего в данный узел;
фиг.5А – блок-схема цепи регулирования, предназначенной для регулирования мощности тока, подводимого к электродвигателю вентилятора и к нагревательному элементу;
фиг.5В – схема, иллюстрирующая один из вариантов исполнения контура, предназначенного для быстрого нагревания нагревательного элемента с последующим подводом к нему пульсирующего тока или напряжения с тем, чтобы поддерживать установившийся тепловой режим;
фиг.5С – иллюстрация, показывающая более подробно одну из частей импульсного контура, представленного на фиг.5В;
фиг.5D – иллюстрация, показывающая форму волны 1 на выходе генератора колебаний и форму волны 2 на выходе контура с соотношением между ними 1:4 для сообщения импульсов нагревательному элементу;
фиг.5Е – схематическая иллюстрация выходного контура с устройством ручного управления в виде выключателей, с помощью которого может быть установлен высокий, средний и низкий температурный режим, обеспечиваемый сообщением соответствующих импульсов транзистору большой мощности при соответствующих импульсных отношениях при подаче напряжения или тока от этого транзистора к нагревательному элементу;
фиг.5F – иллюстрация, показывающая контур, предназначенный для сообщения импульсов транзистору большой мощности с тем, чтобы автоматически поддерживать желаемую температуру нагревательного элемента с использованием принципиально новой цепи регулирования;
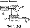
фиг.5G – иллюстрация, показывающая контур, предназначенный для повышения напряжения или увеличения тока только в пределах интервала времени, в течение которого нагревательному элементу сообщаются импульсы;
фиг.5Н – иллюстрация, показывающая импульсы повышения напряжения, которые сообщаются нагревательному элементу при помощи контура, представленного на фиг.5G;
фиг.6 – представленный в перспективе общий вид вентилятора для сушки волос, где показано устройство, расположенное в передней его части и предназначенное для регулирования величины воздушного потока, выходящего из сопла или из передней части вентилятора, а также устройство для дозированной подачи жидкости, включенное в состав предлагаемого комплекта вентилятора для сушки волос как одна из его составных частей;
фиг.7 – иллюстрация, показывающая ирисовую диафрагму в положении полного ее раскрывания, размер отверстия в которой регулируется при помощи регулировочного кольца, показанного на фиг.6;
фиг.8 – иллюстрация, показывающая ирисовую диафрагму в закрытом ее положении с минимальным отверстием в ней, в которое она устанавливается при помощи регулировочного кольца, показанного на фиг.6;
фиг.9 – иллюстрация, показывающая регулировочное устройство такого типа, который представлен на фиг.6, 7 и 8, но который может устанавливаться в порядке модернизации на расположенное спереди сопло уже существующего вентилятора для сушки волос;
фиг.10 – представленный в перспективе общий вид вентилятора новейшей конструкций для сушки волос, который имеет устройство для дозированной подачи жидкости, которое может быть сочленено с той частью корпуса, которая служит ручкой, в порядке модернизации, и имеет сопло, выведенное к переднему концу вентилятора для сушки волос с таким расчетом, чтобы при нажатии на резервуар этого устройства, который выполнен из гибкого или эластичного материала, жидкость могла выбрасываться наружу в направлении вдоль передней части или переднего конца вентилятора для сушки волос.
На фиг.1 показан представленный в перспективе общий вид вентилятора новейшей конструкции 10 для сушки волос, который включает часть 12 полого корпуса, имеющую удлиненную форму, часть 14 корпуса, которая служит ручкой, и часть 16, являющуюся подставкой, в которой размещается аккумуляторная батарея. Нужно отметить, что осевая линия массы 18 каждой из частей полого корпуса, а именно удлиненной части 12, той его части 14, которая служит ручкой, и подставки 16 с аккумуляторной батареей, находится для всех них на одной и той же прямой, что обеспечивает сбалансированность всего предлагаемого комплекта 10, а также позволяет предложенному вентилятору для сушки волос занимать обособленное положение на подставке 16. Помимо этого, благодаря расположению средних линий массы части 12 полого корпуса, имеющей удлиненную форму, той его части 14, которая служит ручкой, и подставки 16 на одной и той же прямой, а также правильному распределению веса части 12 полого корпуса и подставки 16, которое может быть обеспечено специалистами в данной области техники, для всего предлагаемого комплекта в целом обеспечивается сбалансированность конструкции, что позволяет при пользовании им ограничить до минимума физическое напряжение, возникающее в области плеча и кисти руки у тех, кто пользуется предложенным вентилятором для сушки волос.
В части 12 полого корпуса, имеющей удлиненную форму, располагаются нагревательный элемент 20, электродвигатель 22 вентилятора и импульсный контур 24, который будет рассмотрен более подробно в приведенном здесь ниже описании. Часть 12 полого корпуса, имеющая удлиненную форму, имеет также задний конец 26 и передний, или расположенный впереди, конец 28.
Ручка 14 также имеет стойку 30 устройства управления, снабженного выключателями, а также механизм 32, хорошо известный в данной области техники, который предназначен для фиксации узла подставки 16 с аккумуляторной батареей относительно ручки 14. На стойке для выключателей 30 имеются светоизлучающий диод 34, цвет которого обычно выбирается зеленым, но который может быть по желанию также и любого другого цвета, выключатель 36 /S1/, с помощью которого включается подача электроэнергии только лишь на электродвигатель вентилятора, и выключатель 38 /S2/, с помощью которого включается подача электроэнергии как на электродвигатель вентилятора, так и на нагревательный элемент. Переключатель 40 устройства ручного управления, действие которого поясняется более подробно в приведенном здесь ниже описании, имеет несколько разных положений, к примеру, для низкого, среднего и высокого температурных режимов, которые могут включаться избирательно теми лицами, которые пользуются предложенным вентилятором для сушки волос, чтобы обозначить тот уровень тепловыделения, который желательно получить на нагревательном элементе 20.
На фиг.2 изображен узел подставки 16 с источником питания, который включает в свой состав аккумуляторную батарею 42 и стержень 44, который может вставляться в ручку 14 вентилятора 10 для сушки волос, показанного на фиг.1, а также электрические клеммы 46, которые входят в соответствующие им клеммы /не показаны/, предусмотренные в ручке 14 вентилятора 10 для сушки волос, изображенного на фиг.1. Подставка 16 с аккумуляторной батареей может иметь такую конструкцию, при которой введение стержня 44 в ручку 14 возможно только лишь в одном единственном направлении. Такая конструкция может быть воплощена во множестве различных форм, к примеру это может быть прорезь 48, выполненная с одной стороны относительно соединителей 46. Среди других вариантов исполнения такой конструкции можно указать на возможность выполнения стержня 44 таким образом, чтобы поперечное его сечение имело соответствующую форму, обеспечивающую возможность вставить стержень в предназначенное под него гнездо в ручке 14 только в одном определенном положении, как показано на фиг.1. Возможен также вариант, в котором подставка 16 с аккумуляторной батареей включала бы в свой состав соответствующее гнездо электрического соединителя 50, предназначенное под соединитель зарядного устройства, показанного на фиг.3. Как указано было здесь ранее, такой соединитель зарядного устройства может быть рассчитан на передачу через него переменного напряжения от источника переменного тока в том случае, если подставка 16 с аккумуляторной батареей имеет блок выпрямителя 52. Это обеспечило бы возможность осуществлять подзарядку блока в то время, когда он смонтирован на вентиляторе 10 для сушки волос, а также иметь дополнительный отдельный блок, который можно будет заряжать в то же самое время. Вес подставки 16 сбалансирован по отношению к весу части корпуса, имеющей удлиненную форму. Такая балансировка может быть легко обеспечена специалистами в данной области техники.
Следует отметить, что показанный на фиг.3 штепсельный блок 54 может обеспечивать на своих соединителях 56 и 58 выходное напряжение либо в виде переменного тока, либо в виде постоянного тока. В том случае, если блок аккумуляторной батареи имеет свой собственный блок выпрямителя 52, то тогда на электрических соединителях 56 и 58, показанных на фиг.3, может обеспечиваться напряжение только в виде переменного тока. В том случае, если выбран будет блок аккумуляторной батареи, который не имеет своего выпрямителя 52, то тогда штепсельный блок 54 должен быть выполнен в виде устройства преобразования переменного тока в постоянный ток, а на электрических соединителях 56 и 58 будет при этом обеспечиваться напряжение в виде постоянного тока.
Как показано на фиг.1, та часть 14 корпуса, которая служит ручкой, имеет продольную осевую линию, которая проходит, по существу, в поперечном направлении относительно части 12 корпуса, имеющей удлиненную форму, и вдоль осевой линии массы 18 этой части. С другой стороны, узел подставки 16, показанный на фиг.1, также имеет свою линию массы, которая при присоединении этого узла к той части корпуса, которая служит ручкой, лежит, по существу, на продольной осевой линии, совпадающей с осевой линией массы 18, благодаря чему: /1/ обеспечивается подача электроэнергии к устройствам ручного управления 30, и /2/ плоская подставка 16 может представлять собой конструкцию, обеспечивающую для вентилятора, предназначенного для сушки волос, возможность находиться в обособленном положении.
Фиг.4 представляет собой изображенный в увеличенном масштабе вид заднего конца 26 вентилятора 10 для сушки волос, показанного на фиг.1. Следует отметить, что на этом конце имеется множество регулируемых лопаток 60, которые могут сдвигаться ближе друг к другу и раздвигаться дальше друг от друга при перемещении рычажка 27 в ту или иную сторону, благодаря чему обеспечивается регулирование количества воздуха, поступающего в часть 12 полого корпуса, имеющую удлиненную форму. Такое регулируемое отверстие для впуска воздуха снабжается рядом параллельных лопаток 60, положение которых может регулироваться в пределах от такого положения, в котором расстояние между ними будет минимальным, что обеспечит поступление лишь минимального воздушного потока в часть полого корпуса, имеющую удлиненную форму, и вплоть до такого их положения, в котором расстояние между лопатками будет максимальным, что обеспечит тем самым поступление максимального воздушного потока в часть 12 полого корпуса, имеющую удлиненную форму.
Передний, или расположенный спереди, конец 28 части 12 полого корпуса также имеет регулируемое отверстие, предназначенное для пропускания через него воздуха, и о котором рассказывается более подробно в приведенном здесь ниже описании со ссылками на фиг.6, 7, 8 и 9, а служит это отверстие для регулирования количества воздуха, выходящего из части 12 полого корпуса, имеющей удлиненную форму, и ширины струи этого воздуха.
На фиг.5А показана схема основной электрической цепи, предназначенной для регулирования мощности тока, подводимого к электродвигателю вентилятора и к нагревательному элементу. Основная цепь 62 включает в себя часть 16 корпуса, представляющую собой подставку, в которой размещаются элементы аккумуляторной батареи 42, а также, при желании, и блок выпрямителя 52. В этой части корпуса имеется также электрический соединитель 50, предназначенный для подсоединения зарядного устройства к данной цепи. Как только блок выпрямителя будет подключен к источнику питания, электроэнергия немедленно поступит в светоизлучающий диод 34, который покажет, что в аккумуляторной батарее имеется достаточно большой заряд электроэнергии для нормальной работы аппарата. При нажатии на кнопку выключателя 36 /S1/ в работу включается только лишь вентилятор или точнее электродвигатель 22 вентилятора. При нажатии на кнопку выключателя 38 /S2/ происходит замыкание сразу двух комплектов контактов, имеющихся в этом выключателе: один из них обеспечивает подачу электроэнергии на электродвигатель 22 вентилятора, а другой – подачу электроэнергии на нагревательный элемент 20 через контур импульсного генератора 64, если это потребуется. Контур импульсного генератора 64 будет рассмотрен ниже.
Схема контура импульсного генератора 64 показана более подробно на фиг.5В. При первоначальном включении аппарата и нажатии кнопки выключателя 38 /S2/ происходит подача тока как в нагревательный элемент, так и в электродвигатель вентилятора, и при этом желательно, чтобы нагревательный элемент нагрелся как можно быстрее. Таким образом, как показано на фиг.5В, когда контакты выключателя 38 будут замкнуты, проводник 39 подсоединится напрямую к входу транзистора 66. Температура нагревательного элемента 20 непрерывно контролируется при помощи температурного датчика, к примеру, такого как термопара или термистор. Температурный датчик 68 подсоединен к компаратору 70. К другому входу этого компаратора подсоединен источник напряжения 72, задающий эталонное значение или максимальную температуру нагрева нагревательного элемента 20. Поскольку сначала никакого выделения тепла не происходит, какой-либо сигнал на выходе компаратора 70 отсутствует. Это отсутствие сигнала обнаруживается инвертирующим диодом 73, который выдает соответствующий выходной сигнал на линию 76, подсоединенную к базе 78 транзистора 66 большой мощности, приводя его в состояние проводимости. Таким образом, при этом к нагревательному элементу 20 будет подаваться полное напряжение, обеспечивая максимальное его нагревание в течение минимального промежутка времени. Как только нагревательный элемент нагреется до желательной температуры, на что среагирует температурный датчик 68, на выходе компаратора 70 появится выходной сигнал, в результате чего инвертирующий диод 73 прекратит подачу своего сигнала на выходную линию 76, снимая при этом непрерывный сигнал, поступающий на базу 78 транзистора 66. В этот момент импульсный контур 80, который изолирован от инвертирующего диода 73 при помощи изолирующего диода 82, посылает свои импульсы на базу 78 транзистора 66, поддерживая тем самым тот уровень тепловыделения, который был перед этим достигнут нагревательным элементом 20, без необходимости постоянно при этом подавать к нему соответствующее напряжение.
Схема импульсного контура 80 показана более подробно на фиг.5С. Генератор колебаний 84 посылает импульсы в схему 86, которая могла бы представлять собой сдвиговый регистр, счетчик или же делительную схему, аналогичную представленной в патенте США №4571588. Исключительно только лишь для примера можно указать, что это мог бы быть 4-битовый сдвиговый регистр. С помощью находящегося на входе переключателя 40, который нужен для того, чтобы выбрать соответствующий температурный режим – низкий, средний или высокий, обеспечивается подсоединение соответствующего бита одной из ступеней схемы 86 к базе 78 транзистора 66, в результате чего транзистор 66 начинает работать в импульсном режиме, переходя во включенное и выключенное состояние с заданной частотой. Пример такого режима его работы иллюстрируется на фиг.5D. Генератор колебаний, как показано на фиг.50, выдает пять импульсов при форме волны 1, в то время как схема 86 выдает выходной импульс всего лишь один раз, получив очередные четыре импульса, что показано в виде формы волны 2, а это означает, что для времени работы транзистора 66 действует соотношение 4:1. Иными словами, из каждых четырех импульсов, полученных схемой 86, только один пропускается в транзистор 66, и поэтому транзистор 66 получает возможность подавать электроэнергию на нагревательный элемент 20 в течение всего лишь 1/4 части всего времени.
Могут быть избраны также и другие значения указанного соотношения, как показано на схеме, представленной на фиг.5Е, на которой генератор колебаний 84 осуществляет подачу импульсов в схему 86. На выходе каждой из четырех ступеней или делителей, входящих в схему 86, имеется соответствующий выключатель /S1-S5/, который подсоединен к базе 78 транзистора 66. В том случае, если, например, с помощью выключателя S1 будет выбрано положение, соответствующее высокотемпературному режиму нагревания, то тогда схема 86, находящаяся при этом в стадия 87, будет выдавать по одному выходному импульсу на каждый получаемый ею входной импульс, тем самым будет поддерживаться высокотемпературный режим нагревания, обеспечиваемый соответствующим воздействием на базу 78 транзистора 66. А если будет выбрана стадия 88 посредством замыкания контактов выключателя 3 либо посредством установки переключателя 40 в его среднее положение, то в таком случае осуществлено будет избирательное включение третьей стадии 88 и выходной импульс будет выдаваться через третий выключатель S3 на базу 78 транзистора 66 теперь уже только по получении лишь каждого третьего импульса от генератора колебаний или с соотношением 1:3. В аналогичном порядке, если будет выбрана стадия 90 посредством установки селекторного переключателя 40 в положение, соответствующее низкотемпературному режиму нагревания, то тогда будет производиться отсчет каждого четвертого импульса, получаемого схемой 86, и именно этот импульс будет тогда выдаваться через выключатель S5, который обеспечивает поддержание низкотемпературного режима нагревания, и поступать на базу 78 транзистора 66, а соотношение по интенсивности нагревания будет в этом случае иметь значение, соответствующее 1:4. Легко можно понять, что такая схема способна не только обеспечить возможность регулирования количества тепла, отдаваемого нагревательным элементом 20, но также и поддерживать заданный уровень тепловыделения при меньшей потребности в электроэнергии, потому что она попросту позволяет получать дополнительно достаточное количество тепла, вырабатываемого периодически с соответствующими интервалами с тем, чтобы поддержать требуемый уровень тепловыделения. Таким образом обеспечивается экономия электроэнергии, предлагаемый аппарат экономически более эффективен в эксплуатации, а срок службы аккумуляторной батареи при этом увеличивается.
В том случав, если желательно обеспечить автоматическое регулирование температуры, то тогда следует применять схему, представленную на фиг.5F. Как показано на фиг.5F, в состав этого контура дополнительно вводится выполненный в виде интегральной схемы регулятор 92, представляющий собой кристалл интегральной схемы, имеющей запоминающее устройство 94, в котором хранятся представленные в табличной форме сравнительные данные, позволяющие сопоставить регистрируемые температурные показатели с выходными сигналами, выдаваемыми счетчиком 86. Когда регулятор ручного управления 40 устанавливают в положение, соответствующее определенному температурному режиму – низкому, среднему или высокому, это положение регистрируется выполненным в виде интегральной схемы регулятором 92, который затем сопоставляет имеющиеся у него, представленные в табличной форме сравнительные данные с действительными значениями температуры, полученными им от температурного датчика 68, и по линии 96 подает соответствующий сигнал, по которому счетчик 86 выдает надлежащий выходной импульс на базу транзистора 66, обеспечивая тем самым подачу требуемого напряжения или тока к нагревательному элементу 20, в результате чего он выходит на заданный режим по температуре.
Желательно может быть также увеличить ток или напряжение, подаваемые к нагревательному элементу во время прохождения импульса через транзистор 66. Таким образом, как показано на фиг.5G, каждый раз, когда схема импульсного контура 80 выдает соответствующий импульс на базу 78 транзистора 66, также выдается и соответствующий импульс на устройство 98 повышения напряжения или тока, которое обеспечивает при этом соответствующее повышение напряжения или увеличение тока, подаваемых к нагревательному элементу 20. Такое устройство повышения напряжения могло бы быть выполнено, например, в виде пьезоэлектрического устройства, хорошо известного в данной области техники, и которое при подводе напряжения к этому устройству в одном направлении вызывает соответствующее повышение напряжения, которое может быть обнаружено в другом направлении пьезоэлектрического устройства. Следует отметить, что устройства такого типа, предназначенные для повышения напряжения и увеличения тока, хорошо известны в данной области техники, и поэтому в данном описании они не будут далее рассматриваться более подробно.
На фиг.5Н показано как происходит возрастание величины импульса. Обычно импульс имеет амплитуду, обозначенную позицией 100, но эта амплитуда может возрасти до величины, обозначенной позицией 102, под воздействием, которое оказывает на импульс повышающий блок 98. При этом происходит увеличение скорости, с которой нагревательный элемент нагревается до желаемой температуры. Кроме того, использование такого импульса с увеличенной амплитудой для поддержания желаемого уровня тепловыделения означает, что можно будет при этом применить также повышенное соотношение частотности импульсов. То есть, к примеру, можно будет использовать в данном случае один импульс из каждых пяти вместо одного импульса из каждых трех или четырех.
На фиг.6. 7, 8 и 9 раскрывается устройство новейшей конструкции, предназначенное для изменения проходного сечения регулируемого отверстия для выпуска воздуха, расположенного на переднем или на заднем конце части полого корпуса, имеющей удлиненную форму. С этой целью на наружной поверхности переднего конца 28 части 12 полого корпуса, имеющей удлиненную форму, предусматривается наличие регулировочного кольца 104, при помощи которого, вращая его, можно регулировать диаметр проходного сечения отверстия для выпуска воздуха, которое имеется в предлагаемом вентиляторе 10 для сушки волос. При вращательном движении регулировочного кольца 104 в ту или иную сторону происходит осуществляемое хорошо известным способом соответствующее перемещение ряда лепестков, образующих собой ирисовую диафрагму, в результате чего лепестки 106 ирисовой диафрагмы раздвигаются дальше друг от друга, пока не займут положение, в котором ирисовая диафрагма полностью раскрыта, как показано на фиг.7, либо, наоборот, не придут в такое положение, когда отверстие в диафрагме становится минимальным, как показано на фиг.8, что хорошо известно из существующего уровня техники. Возможность такой регулировки, безусловно, необходима для тех лиц, кто пользуется предлагаемым электрическим вентилятором для сушки волос, а прибегать к такой регулировке они будут в зависимости от той задачи, которую на данный момент им предстоит выполнить, пользуясь этим вентилятором.
Такое регулировочное устройство может быть выполнено в виде обоймы 108, устанавливаемой в порядке модернизации существующего оборудования, как показано на фиг.9, которая выполняется в виде полой цилиндрической части 108, имеющей, по меньшей мере, первую часть 110, размер которой по ее внутреннему диаметру выбирается достаточным для того, чтобы обеспечить особо тугую посадку при надевании обоймы на передний конец 28 части 12 полого корпуса, имеющей удлиненную форму. Устройство имеет также и вторую свою часть 112, выступающую за переднюю часть, или передний конец 28 части 12, имеющую удлиненную форму, при этом предусматривается наличие регулировочной ирисовой диафрагмы 106, выполняемой с внутренней стороны второй части 112 полой цилиндрической части 108, а также регулировочного кольца 104, предназначенного для регулирования ирисовой диафрагмы и расположенного с наружной стороны второй части 112 полой цилиндрической части 108, что обеспечивает возможность осуществлять вручную регулировку отверстия в ирисовой диафрагме в пределах от минимального его диаметра и вплоть до максимального диаметра, соответственно перемещая регулировочное кольцо вращением его по часовой стрелке или же против часовой стрелки. Таким образом, данный вариант настоящего изобретения может быть осуществлен применительно к уже существующим вентиляторам для сушки волос, единственное, что нужно будет в этом случае обеспечить – так это только то, чтобы внутренний диаметр первой части, входящей в состав полой цилиндрической части 110, имел правильно выбранный размер, при котором обеспечена будет особо тугая посадка на передней части 28 существующего вентилятора для сушки волос.
Принципиально новая характерная особенность предлагаемого вентилятора для сушки волос, выполненного в соответствии с настоящим изобретением, иллюстрируется на фиг.6 и на фиг.10. Многократно в процессе формирования стильной прически возникает необходимость в смачивании волос клиента при укладывании их с помощью электрического вентилятора для сушки волос, и на разных стадиях этого процесса стилисту приходится разбрызгивать на волосы соответствующую жидкость из пульверизатора. В варианте осуществления настоящего изобретения, показанном на фиг.6, ручка 14 имеет такую конструкцию, которая обеспечивает возможность разместить внутри ручки соответствующий баллончик 126, заполненный находящейся под давлением жидкостью. При избирательном нажатии на пусковую кнопку 128 происходит открывание клапана 130, осуществляемое любым из хорошо известных способов, в результате чего обеспечивается возможность принудительной подачи находящейся под давлением жидкости по трубке 122 к внешнему концу 28 рассматриваемого вентилятора для сушки волос. Клапан 130, показанный на этой иллюстрации, представляет собой створчатый клапан, что в данном случае сделано в целях упрощения. Очевидно, что может быть применен любой из хорошо известных в данной области техники типов клапанов.
В варианте осуществления настоящего изобретения, показанном на фиг.10, в порядке модернизации существующего оборудования предусматривается установка соответствующего приспособления 114, предназначенного для распыления жидкости, которое при помощи съемного крепления присоединяется к ручке 14 существующего вентилятора для сушки волос с тем, чтобы обеспечить возможность распыления соответствующей жидкости, выборочно подаваемой в дозированных количествах к переднему концу 28 вентилятора для сушки волос. Как показано на фиг.10, приспособление 114, предназначенное для распыления жидкости, содержит резервуар 116 для жидкости, выполненный из гибкого материала и имеющий закрывающееся отверстие 118 для заправки резервуара жидкостью, а также ремешки 120 и 121, предназначенные для крепления резервуара 114 к той части корпуса вентилятора, которая служит в качестве ручки 14. Такие ремешки могли бы быть, например, ремешками, снабженными застежкой типа крючок и петелька. От резервуара 116 для жидкости, выполненного из гибкого материала, отводится достаточно длинная трубка 122, которая подведена к внешнему концу 124 предлагаемого вентилятора для сушки волос, откуда в процессе пользования этим аппаратом можно осуществить распыление соответствующей жидкости, просто лишь надавив на резервуар 116, выполненный из гибкого материала. Предпочтительно, чтобы эта удлиненная трубка 122 проложена была вдоль профиля удлиненного полого корпуса 12, как, например, в показанном на данной иллюстрации случае, по нижней стороне корпуса к переднему его концу, благодаря чему при нажатии на резервуар, выполненный из гибкого материала, происходил бы, когда это нужно, выброс жидкости наружу у переднего конца удлиненного полого корпуса. В связи с тем, что в варианте осуществления настоящего изобретения, показанном на фиг.6, предусматривается использование резервуара, в котором жидкость находится под давлением, специалистам в данной области техники должно быть очевидно, что в данном случае возможно применение соответствующего устройства, хорошо известного из существующего уровня техники и приводимого в действие при помощи триггера, причем такое устройство при нажатии на триггер и последующем его отпускании обеспечивало бы сначала втягивание в него жидкости из резервуара, а затем выпускание ее под давлением наружу. Такие устройства нашли свое применение в игрушечных детских водяных пистолетах.
Таким образом, в приведенном здесь выше описании изобретения раскрывается вентилятор новейшей конструкции для сушки волос, который является переносным и полностью автономным, а также обладает способностью поддерживать регулируемый уровень температуры, обеспечиваемой нагревательным элементом, и снабжен соответствующими устройствами ручного и автоматического управления, причем последние основаны на использовании принципиально нового импульсного контура, и который имеет устройство управления для регулирования отверстия с переменным сечением, предназначенного для выпуска воздуха таким образом, чтобы обеспечить при этом соответствующее изменение величины проходящего через это отверстие воздушного потока, причем отверстие расположено на заднем конце вентилятора для сушки волос, а также имеет еще регулируемое отверстие для выпуска воздуха, расположенное на переднем или на направленном вперед конце. Кроме того, предлагаемый аппарат имеет также выполненный с возможностью присоединения к нему узел распылителя, предназначенный для распыления жидкости, и который может быть закреплен на ручке при помощи ремешков, а при надавливании на него осуществляет выброс находящейся в нем жидкости через трубку, которая проложена таким образом, чтобы осуществить подвод ее к внешнему концу предлагаемого вентилятора для сушки волос.
В приведенном здесь выше описании показаны и рассмотрены предпочтительные варианты осуществления настоящего изобретения, допускающие различные его изменения и дополнения к нему, которые могут быть внесены в настоящее изобретение при том условии, что они не выходят за пределы существа и объема изобретения. Соответственно следует понимать, что настоящее изобретение раскрывается в приведенном здесь выше описании исключительно только лишь в иллюстративном порядке без каких-либо ограничений.
Подразумевается, что соответствующие конструкции, материалы, действия и эквиваленты всех средств или операционные, а также функциональные элементы, упомянутые в помещенной ниже формуле изобретения, включают в себя любую конструкцию, любой материал или любое действие, которые предназначаются для осуществления определенной функции в комбинации с другими заявленными элементами, согласно конкретно заявляемому.
Формула изобретения
1. Переносной бесшнуровой вентилятор для сушки волос, содержащий часть полого корпуса, имеющую удлиненную форму, через которую проходит осевая линия массы, и включающую электродвигатель вентилятора и нагревательный элемент, задний конец и передний конец, часть корпуса, которая служит ручкой, и продольная осевая линия которой проходит, по существу, поперек направления относительно части корпуса, имеющей удлиненную форму, и вдоль осевой линии массы этой части, причем часть корпуса, которая служит ручкой, снабжена соответствующими устройствами управления в виде выключателей, предназначенных для включения нагревательного элемента и электродвигателя вентилятора, источник питания, имеющий плоскую подставку и соответствующую осевую линию массы и предназначенный для присоединения его к части корпуса, которая служит ручкой, по существу, вдоль ее продольной осевой линии и на одной прямой с осевой линией массы части полого корпуса, имеющей удлиненную форму, для обеспечения подачи электроэнергии к устройствам управления в виде выключателей, причем плоская подставка представляет собой конструкцию, обеспечивающую для электрического вентилятора, предназначенного для сушки волос, возможность находиться в обособленном положении, и регулируемое отверстие для впуска воздуха, расположенное на заднем конце части полого корпуса, имеющей удлиненную форму, и предназначенное для регулирования количества воздуха, поступающего в часть полого корпуса, имеющую удлиненную форму.
2. Переносной бесшнуровой вентилятор для сушки волос, содержащий часть полого корпуса, которая имеет первую внутреннюю полость и включает электродвигатель вентилятора и нагревательный элемент, расположенные, по существу, внутри первой внутренней полости полого корпуса, часть корпуса, которая служит ручкой и имеет вторую внутреннюю полость, причем часть корпуса, которая служит ручкой, отходит от части полого корпуса, и источник питания, расположенный, по меньшей мере, частично внутри, по меньшей мере, одной из первых внутренней полости части полого корпуса и второй внутренней полости части корпуса, которая служит ручкой, причем источник питания имеет электрическую связь с электродвигателем вентилятора и с нагревательным элементом, при этом источник питания обеспечивает подачу электроэнергии к электродвигателю вентилятора и нагревательному элементу, устройства управления, выполненные в виде выключателей, обеспечивающих электрическую связь между источником питания и электродвигателем вентилятора, а также между источником питания и нагревательным элементом, при этом устройства управления, выполненные в виде выключателей, обеспечивают избирательное прекращение подачи электроэнергии, по меньшей мере, к одному из узлов, а именно, к электродвигателю вентилятора и к нагревательному элементу, и импульсный контур, расположенный, по меньшей мере, частично внутри, по меньшей мере, одной из первых внутренней полости части полого корпуса и второй внутренней полости в части корпуса, которая служит ручкой, причем импульсный контур обеспечивает электрическую связь между источником питания и нагревательным элементом, осуществляя при этом модуляцию электроэнергии, подаваемой к нагревательному элементу, в результате чего устанавливается такой рабочий цикл, при котором обеспечивается возможность периодического расходования и восполнения аккумулированного статического тепла, обеспечиваемого нагревательным элементом в процессе осуществления этого рабочего цикла.
3. Вентилятор для сушки волос по п.1, в котором регулируемое отверстие для впуска воздуха содержит ряд параллельных лопаток, положение которых может регулироваться в пределах от такого их положения, в котором расстояние между ними будет минимальным, что обеспечит поступление минимального воздушного потока в часть полого корпуса, имеющую удлиненную форму, и вплоть до такого положения лопаток, в котором расстояние между лопатками будет максимальным, что обеспечит поступление максимального воздушного потока в часть полого корпуса, имеющую удлиненную форму.
4. Вентилятор для сушки волос по п.1, который дополнительно включает в себя регулируемое отверстие для выпуска воздуха, расположенное на переднем конце части полого корпуса, имеющей удлиненную форму, и предназначенное для регулирования количества воздуха, выходящего из части полого корпуса, имеющей удлиненную форму.
5. Вентилятор для сушки волос по п.4, в котором регулируемое отверстие для выпуска воздуха содержит механизм с ирисовой диафрагмой, смонтированный на переднем конце части полого корпуса, имеющей удлиненную форму, и снабженный соответствующими частями, выполненными в виде лепестков и обладающими способностью перемещаться по отношению друг к другу, обеспечивая тем самым возможность неоднократного изменения размера проходного сечения этого регулируемого отверстия в пределах от минимального до максимального, регулировочное устройство, присоединенное к лепесткам ирисовой диафрагмы и предназначенное для ручного регулирования проходного сечения отверстия в ирисовой диафрагме.
6. Вентилятор для сушки волос по п.5, в котором регулируемое отверстие для выпуска воздуха содержит полый цилиндр, имеющий, по меньшей мере, первую часть, размер которой по внутреннему ее диаметру подобран для обеспечения особо тугой посадки при насаживании ее на передний конец части полого корпуса, имеющей удлиненную форму, вторую часть, которая выступает за передний конец, при этом регулировочная ирисовая диафрагма выполнена с внутренней стороны второй части полого цилиндра, а регулировочное устройство, предназначенное для регулирования ирисовой диафрагмы, расположено с наружной стороны второй части полого цилиндра, что обеспечивает возможность осуществлять вручную регулировку проходного сечения отверстия в ирисовой диафрагме посредством соответствующего перемещения регулировочного устройства.
7. Вентилятор для сушки волос по п.1, который дополнительно включает в себя электрическую цепь, подсоединенную к упомянутым устройствам управления, выполненным в виде выключателей, и управляемую ими с возможностью обеспечения избирательной подачи электроэнергии на электродвигатель вентилятора и на нагревательный элемент.
8. Вентилятор для сушки волос по п.7, в котором электрическая цепь содержит по меньшей мере, первый выключатель для электрического соединения источника питания одновременно с нагревательным элементом и с электродвигателем вентилятора, и по меньшей мере, второй выключатель для электрического соединения источника питания только с электродвигателем вентилятора.
9. Вентилятор для сушки волос по п.1, который дополнительно содержит цепь регулирования режима нагрева, соединяющую между собой нагревательный элемент и устройство управления, выполненное в виде выключателя, и предназначенную для регулирования силы тока, подводимого к нагревательному элементу.
10. Вентилятор для сушки волос по п.9, который дополнительно включает в себя цепь для подвода максимального тока к нагревательному элементу для достижения нагревательным элементом желаемой температуры нагрева за минимальный промежуток времени.
11. Вентилятор для сушки волос по п.10, в котором цепь для подвода максимального тока содержит датчик для контроля температуры нагревательного элемента и обеспечивающий подачу соответствующего напряжения, компаратор для сопоставления величины эталонного напряжения относительно величины напряжения, поступившего от датчика, и подачи первого выходного сигнала, и транзистор большой мощности, подсоединенный своей базой к компаратору и предназначенный для неоднократной подачи максимального напряжения к нагревательному элементу для повышения интенсивности нагревания нагревательного элемента в течение всего промежутка времени, пока продолжает поступать первый выходной сигнал.
12. Вентилятор для сушки волос по п.11, который дополнительно включает в себя импульсный контур, подключенный к базе транзистора большой мощности и предназначенный для выдачи стробирующего сигнала на транзистор большой мощности с предварительно заданной частотой переключения его во включенное/выключенное положения для поддержания желаемой температуры нагревательного элемента после того, как будет достигнута желаемая температура.
13. Вентилятор для сушки волос по п.12, который дополнительно включает в себя устройство ручного управления, предназначенное для установки желаемой частоты переключения во включенное/выключенное положения, с которой осуществляется подача электроэнергии к упомянутому нагревательному элементу для поддержания желаемой температуры.
14. Вентилятор для сушки волос по п.13, который дополнительно включает в себя контур генератора колебаний, предназначенный для генерирования импульсов, схему, которая принимает импульсы, поступающие от генератора колебаний, несколько последовательных ступеней, предусматриваемых в схеме, при этом каждая из ступеней генерирует выходной импульс, соответствующий конкретному для нее отсчету, многопозиционный переключатель, предназначенный для осуществления избирательного подключения одной из ступеней схемы таким образом, чтобы выходной импульс поступал от этой ступени на базу транзистора большой мощности для обеспечения предварительно заданной частоты переключения транзистора большой мощности в включенное/выключенное положения с соблюдением при этом такого соотношения импульсов подаваемой электроэнергии, которое позволяет получить желаемую температуру нагревательного элемента; средства, предназначенные для установки переключателя вручную в соответствующее положение, в котором обеспечивается получение желаемой частоты повторения импульсов.
15. Вентилятор для сушки волос по п.12, который дополнительно включает в себя импульсный контур, предназначенный для автоматического сообщения транзистору большой мощности соответствующих импульсов проводимости при переключении его во включенное/выключенное положения с выбранной величиной соотношения импульсов для поддержания желаемой температуры нагревательного элемента.
16. Вентилятор для сушки волос по п.14, который содержит выполненный в виде интегральной схемы регулятор, имеющий запоминающее устройство, представленные в табличной форме сравнительные данные, сохраняемые в запоминающем устройстве и указывающие температуру нагревательного элемента в зависимости от частоты повторения импульсов, средства для обеспечения подачи соответствующего напряжения тепловым датчиком нагревательного элемента, подсоединенные к регулятору, выполненному в виде интегральной схемы, при этом регулятор, выполненный в виде интегральной схемы, формирует соответствующую конфигурацию многопозиционного переключателя, обеспечивая тем самым возможность автоматического сообщения транзистору большой мощности соответствующего импульса, осуществляющего переключение его во включенное и выключенное положения с выбранной величиной соотношения импульсов для поддержания желаемой температуры, которая была выбрана.
17. Вентилятор для сушки волос по п.12, который дополнительно содержит повышающий контур, предназначенный для увеличения напряжения и подсоединенный между транзистором большой мощности и нагревательным элементом, при этом выход импульсного контура подсоединен к повышающему контуру, обеспечивающему повышение напряжения, что позволяет повышению напряжения происходить только в том случае, когда транзистору большой мощности сообщается стробирующий импульс.
18. Вентилятор для сушки волос по п.1, в котором источник питания представляет собой, по меньшей мере, одну подзаряжаемую аккумуляторную батарею.
19. Вентилятор для сушки волос по п.18, в котором аккумуляторная батарея обеспечивает подачу напряжения, по меньшей мере, 14 В к устройствам управления, выполненным в виде выключателей.
20. Вентилятор для сушки волос по п.18, который включает в себя зарядное устройство постоянного тока для подсоединения его к подставке для подвода постоянного напряжения для осуществления подзарядки, по меньшей мере, одной аккумуляторной батареи.
21. Вентилятор для сушки волос по п.18, который дополнительно включает в себя
схему выпрямителя, преобразующего переменный ток в постоянный, которая представляет собой составную часть источника питания,
при этом выпрямитель, преобразующий переменный ток в постоянный, получает выходной сигнал, поступающий от зарядной цепи переменного тока для получения соответствующего постоянного напряжения, необходимого для подзарядки, по меньшей мере, одной аккумуляторной батареи.
22. Вентилятор для сушки волос по п.1, в котором источник питания может быть присоединен к части корпуса, которая служит ручкой, только лишь в одном единственном положении.
23. Вентилятор для сушки волос по п.1, который дополнительно включает в себя приспособление, предназначенное для распыления жидкости, выборочно подаваемой в дозированных количествах к переднему концу части полого корпуса, имеющей удлиненную форму.
24. Вентилятор для сушки волос по п.23, в котором приспособление, предназначенное для распыления жидкости, содержит резервуар для жидкости, выполненный из гибкого материала, отверстие, выполненное в резервуаре и предназначенное для заправки резервуара соответствующей жидкостью, ремешки, отходящие от резервуара для прикрепления резервуара к ручке вентилятора для сушки волос, и трубку, достаточно длинную для того, чтобы ее можно было одним концом присоединить к имеющемуся, по меньшей мере, одному отверстию, выполненному в резервуаре, после чего проложить эту трубку вдоль профиля части полого корпуса, имеющей удлиненную форму, при подведении другого ее конца к переднему концу указанной части корпуса, благодаря чему при нажатии на резервуар, выполненный из гибкого материала, будет происходить распыление жидкости у переднего конца части полого корпуса, имеющей удлиненную форму.
25. Вентилятор для сушки волос по п.23, в котором приспособление, предназначенное для распыления жидкости, содержит соответствующее пространство, предусмотренное в части корпуса, которая служит ручкой, и предназначенное для размещения в этом пространстве резервуара, содержащего находящуюся под давлением жидкость, трубку, достаточно длинную для того, чтобы ее можно было проложить от пространства в ручке к переднему концу вентилятора для сушки волос; клапан, предназначенный для подсоединения резервуара, помещенного в пространство, к длинной трубке, и соответствующее средство, приводимое в действие вручную, для избирательного открывания и закрывания клапана для выборочного распыления жидкости у переднего конца части полого корпуса, имеющей удлиненную форму.
26. Переносной бесшнуровой вентилятор для сушки волос, содержащий часть полого корпуса, имеющую удлиненную форму, которая включает электродвигатель вентилятора и нагревательный элемент, задний конец и передний конец, часть корпуса, которая служит ручкой и продольная осевая линия которой проходит, по существу, поперек относительно части корпуса, имеющей удлиненную форму, причем часть корпуса, которая служит ручкой, снабжена соответствующими устройствами управления, выполненными в виде выключателей, предназначенных для включения нагревательного элемента и электродвигателя вентилятора, источник питания, имеющий плоскую подставку, для присоединения его к части корпуса, которая служит ручкой, для подачи электроэнергии к устройствам управления, выполненным в виде выключателей, а плоская подставка представляет собой конструкцию, обеспечивающую для вентилятора, предназначенного для сушки волос, возможность находиться в обособленном положении, приспособление для распыления жидкости, выборочно подаваемой в дозированных количествах к переднему концу части полого корпуса, имеющей удлиненную форму, и
регулируемое отверстие для впуска воздуха, расположенное на заднем конце части полого корпуса, имеющей удлиненную форму, для регулирования количества воздуха, поступающего в часть полого корпуса, имеющую удлиненную форму.
27. Вентилятор для сушки волос по п.26, в котором приспособление, предназначенное для распыления жидкости, содержит резервуар для жидкости, выполненный из гибкого материала, отверстие, выполненное в резервуаре и предназначенное для заправки резервуара соответствующей жидкостью, ремешки, отходящие от резервуара, для прикрепления резервуара к ручке вентилятора для сушки волос, и трубку, достаточно длинную для того, чтобы ее можно было одним концом присоединить к имеющемуся, по меньшей мере, одному отверстию, выполненному в резервуаре, после чего проложить эту трубку вдоль профиля части полого корпуса, имеющей удлиненную форму, при подведении другого ее конца к переднему концу части корпуса, благодаря чему при нажатии на резервуар, выполненный из гибкого материала, будет происходить распыление жидкости у переднего конца части полого корпуса, имеющей удлиненную форму.
28. Вентилятор для сушки волос по п.26, в котором приспособление, предназначенное для распыления жидкости, содержит соответствующее пространство, предусмотренное в части корпуса, которая служит ручкой, и предназначенное для размещения в этом пространстве резервуара, содержащего находящуюся под давлением жидкость, трубку, достаточно длинную для того, чтобы ее можно было проложить от пространства в ручке к переднему концу вентилятора для сушки волос, клапан для подсоединения резервуара, помещенного в указанное пространство, к длинной трубке, и соответствующее средство, приводимое в действие вручную, для избирательного открывания и закрывания клапана для выборочного распыления жидкости у переднего конца части полого корпуса, имеющей удлиненную форму.
29. Переносной бесшнуровой вентилятор для сушки волос, содержащий имеющую удлиненную форму часть полого корпуса, которая имеет соответствующую осевую линию массы и включает электродвигатель вентилятора и нагревательный элемент, задний конец и передний конец, часть корпуса, которая служит ручкой, продольная осевая линия которой проходит, по существу, поперек направления части корпуса, имеющей удлиненную форму, и вдоль осевой линии массы этой части, причем часть корпуса, которая служит ручкой, снабжена соответствующими устройствами управления, выполненными в виде выключателей, предназначенных для включения нагревательного элемента и электродвигателя вентилятора; источник питания, имеющий плоскую подставку и соответствующую осевую линию массы, причем источник питания предназначен для присоединения его к части корпуса, которая служит ручкой, по существу, вдоль ее продольной осевой линии и на одной прямой с осевой линией массы части полого корпуса, имеющей удлиненную форму, для подачи электроэнергии к устройствам управления, выполненным в виде выключателей, а плоская подставка представляет собой конструкцию, обеспечивающую для вентилятора, предназначенного для сушки волос, возможность находиться в обособленном положении, цепь регулирования режима нагрева, соединяющую между собой нагревательный элемент и устройство управления, выполненное в виде выключателя, для регулирования силы тока, подводимого к нагревательному элементу, и цепь для подвода максимального тока к нагревательному элементу для достижения нагревательным элементом желаемой температуры нагрева за минимальный промежуток времени, причем цепь для подвода максимального тока содержит датчик, предназначенный для контроля температуры нагревательного элемента и обеспечивающий подачу соответствующего напряжения, компаратор для сопоставления величины эталонного напряжения относительно величины напряжения, поступившего от датчика, и подачи первого выходного сигнала, и транзистор большой мощности, подсоединенный своей базой к компаратору для неоднократной подачи максимального напряжения к нагревательному элементу для повышения интенсивности нагревания нагревательного элемента в течение всего промежутка времени, пока продолжает поступать первый выходной сигнал.
30. Вентилятор для сушки волос по п.29, который дополнительно включает в себя
регулируемое отверстие для впуска воздуха, расположенное на заднем конце части полого корпуса, имеющей удлиненную форму, для регулирования количества воздуха, поступающего в часть полого корпуса, имеющую удлиненную форму.
31. Вентилятор для сушки волос по п.30, в котором регулируемое отверстие для впуска воздуха содержит ряд параллельных лопаток, положение которых может регулироваться в пределах от такого их положения, в котором расстояние между ними будет минимальным, что обеспечит поступление минимального воздушного потока в часть полого корпуса, имеющую удлиненную форму, и вплоть до такого положения лопаток, в котором расстояние между лопатками будет максимальным, что обеспечит поступление максимального воздушного потока в часть полого корпуса, имеющую удлиненную форму.
32. Вентилятор для сушки волос по п.30, который дополнительно включает в себя импульсный контур, подключенный к базе транзистора большой мощности для выдачи стробирующего сигнала на транзистор большой мощности с предварительно заданной частотой переключения его во включенное/выключенное положения для поддержания желаемой температуры нагревательного элемента после того, как достигнута желаемая температура.
33. Вентилятор для сушки волос по п.32, который дополнительно включает в себя устройство ручного управления, предназначенное для установки желаемой частоты переключения во включенное/выключенное положения, с которой осуществляется подача электроэнергии к нагревательному элементу для поддержания желаемой температуры нагрева.
34. Вентилятор для сушки волос по п.33, который дополнительно включает в себя контур генератора колебаний, предназначенный для генерирования импульсов, схему, которая принимает импульсы, поступающие от генератора колебаний, несколько последовательных ступеней, предусматриваемых в схеме, при этом каждая из ступеней генерирует выходной импульс, соответствующий конкретному для нее отсчету, многопозиционный переключатель, предназначенный для осуществления избирательного подключения одной из ступеней схемы таким образом, чтобы выходной импульс поступал от этой ступени на базу транзистора большой мощности для обеспечения предварительно заданной частоты переключения транзистора большой мощности в включенное/выключенное положения с соблюдением при этом такого соотношения импульсов подаваемой электроэнергии, которое позволяет получить желаемую температуру нагревательного элемента, и средства, предназначенные для установки переключателя вручную в соответствующее положение, в котором обеспечивается получение желаемой частоты повторения импульсов.
35. Вентилятор для сушки волос по п.32, который дополнительно включает в себя импульсный контур, предназначенный для автоматического сообщения транзистору большой мощности соответствующих импульсов проводимости при переключении его во включенное/выключенное положения с выбранной величиной соотношения импульсов для поддержания температуры нагревательного элемента.
36. Вентилятор для сушки волос по п.35, который содержит выполненный в виде интегральной схемы регулятор, имеющий запоминающее устройство, представленные в табличной форме сравнительные данные, сохраняемые в запоминающем устройстве и указывающие температуру нагревательного элемента в зависимости от частоты повторения импульсов, средства для подачи соответствующего напряжения тепловым датчиком нагревательного элемента, подсоединенные к регулятору, выполненному в виде интегральной схемы, при этом регулятор, выполненный в виде интегральной схемы, формирует соответствующую конфигурацию многопозиционного переключателя, обеспечивая тем самым возможность автоматического сообщения транзистору большой мощности соответствующего импульса, осуществляющего переключение его во включенное и выключенное положения с выбранной величиной соотношения импульсов для поддержания желаемой температуры, которая была выбрана.
37. Вентилятор для сушки волос по п.32, который дополнительно содержит повышающий контур для увеличения напряжения и подсоединенный между транзистором большой мощности и нагревательным элементом, при этом выход импульсного контура подсоединен к повышающему контуру, обеспечивающему повышение напряжения, что позволяет повышению напряжения происходить только в том случае, когда транзистору большой мощности сообщается стробирующий импульс.
38. Вентилятор для сушки волос по п.29, который дополнительно включает в себя регулируемое отверстие для выпуска воздуха, расположенное на переднем конце части полого корпуса, имеющей удлиненную форму, для регулирования количества воздуха, выходящего из части полого корпуса, имеющей удлиненную форму.
39. Вентилятор для сушки волос по п.38, в котором регулируемое отверстие для выпуска воздуха содержит механизм с ирисовой диафрагмой, смонтированный на переднем конце части полого корпуса, имеющей удлиненную форму, и снабженный соответствующими частями, выполненными в виде лепестков и обладающими способностью перемещаться по отношению друг к другу, обеспечивая тем самым возможность неоднократного изменения размера проходного сечения этого регулируемого отверстия в пределах от минимального до максимального, и регулировочное устройство, присоединенное к упомянутым лепесткам ирисовой диафрагмы, для ручного регулирования проходного сечения отверстия в ирисовой диафрагме.
40. Вентилятор для сушки волос по п.39, в котором регулируемое отверстие для выпуска воздуха содержит полый цилиндр, имеющий, по меньшей мере, первую часть, размер которой по внутреннему ее диаметру подобран для обеспечения особо тугой посадки при насаживании ее на передний конец части полого корпуса, имеющей удлиненную форму, вторую часть, которая выступает за передний конец, при этом регулировочная ирисовая диафрагма выполнена с внутренней стороны второй части полого цилиндра, а регулировочное устройство, предназначенное для регулирования ирисовой диафрагмы, расположено с наружной стороны второй части полого цилиндра для ручной регулировки проходного сечения отверстия в ирисовой диафрагме посредством соответствующего перемещения регулировочного устройства.
41. Вентилятор для сушки волос по п.29, который дополнительно включает в себя электрическую цепь, подсоединенную к устройствам управления, выполненным в виде выключателей, и управляемую ими с возможностью избирательной подачи электроэнергии на электродвигатель вентилятора и на нагревательный элемент.
42. Вентилятор для сушки волос по п.41, в котором электрическая цепь содержит по меньшей мере, первый выключатель для электрического соединения источника питания одновременно с нагревательным элементом и с электродвигателем вентилятора, и по меньшей мере, второй выключатель для электрического соединения источника питания единственно только с электродвигателем вентилятора.
43. Вентилятор для сушки волос по п.29, в котором источник питания представляет собой, по меньшей мере, одну подзаряжаемую аккумуляторную батарею.
44. Вентилятор для сушки волос по п.43, в котором аккумуляторная батарея обеспечивает подачу напряжения, по меньшей мере, 14 В к упомянутым устройствам управления, выполненным в виде выключателей.
45. Вентилятор для сушки волос по п.43, который включает в себя зарядное устройство постоянного тока, выполненное для подсоединения его к подставке для подвода постоянного напряжения для осуществления подзарядки, по меньшей мере, одной аккумуляторной батареи.
46. Вентилятор для сушки волос по п.43, который дополнительно включает в себя схему выпрямителя, преобразующего переменный ток в постоянный, которая представляет собой составную часть источника питания, при этом выпрямитель, преобразующий переменный ток в постоянный, получает выходной сигнал, поступающий от зарядной цепи переменного тока для получения соответствующего постоянного напряжения, необходимого для подзарядки, по меньшей мере, одной аккумуляторной батареи.
47. Вентилятор для сушки волос по п.29, в котором источник питания может быть присоединен к части корпуса, которая служит ручкой, только в одном единственном положении.
48. Вентилятор для сушки волос по п.29, который дополнительно включает в себя приспособление для распыления жидкости, выборочно подаваемой в дозированных количествах к переднему концу части полого корпуса, имеющей удлиненную форму.
49. Вентилятор для сушки волос по п.48, в котором приспособление для распыления жидкости содержит резервуар для жидкости, выполненный из гибкого материала,
отверстие, выполненное в резервуаре и предназначенное для заправки резервуара соответствующей жидкостью; ремешки, отходящие от резервуара, для прикрепления резервуара к ручке электрического вентилятора для сушки волос, и трубку, достаточно длинную для того, чтобы ее можно было одним концом присоединить к имеющемуся, по меньшей мере, одному отверстию, выполненному в резервуаре, после чего проложить эту трубку вдоль профиля части полого корпуса, имеющей удлиненную форму, при подведении другого ее конца к переднему концу части корпуса, благодаря чему при нажатии на резервуар, выполненный из гибкого материала, будет происходить распыление жидкости у переднего конца части полого корпуса, имеющей удлиненную форму.
50. Вентилятор для сушки волос по п.48, в котором приспособление, предназначенное для распыления жидкости, содержит соответствующее пространство, предусмотренное в части корпуса, которая служит ручкой для размещения в этом пространстве резервуара, содержащего находящуюся под давлением жидкость, трубку, достаточно длинную для того, чтобы ее можно было проложить от пространства в ручке к переднему концу вентилятора для сушки волос, клапан, предназначенный для подсоединения резервуара, помещенного в пространство, к длинной трубке, и соответствующее средство, приводимое в действие вручную и предназначенное для избирательного открывания и закрывания клапана для выборочного распыления жидкости у переднего конца части полого корпуса, имеющей удлиненную форму.
51. Переносной бесшнуровой вентилятор для сушки волос, содержащий часть полого корпуса, имеющую удлиненную форму, которая включает электродвигатель вентилятора и нагревательный элемент, задний конец и передний конец, часть корпуса, которая служит ручкой, и продольная осевая линия которой проходит, по существу, в поперечном направлении относительно части полого корпуса, имеющей удлиненную форму, причем часть корпуса, которая служит ручкой, снабжена соответствующими устройствами управления, выполненными в виде выключателей, предназначенных для включения нагревательного элемента и электродвигателя вентилятора, источник питания, имеющий плоскую подставку, для присоединения его к части корпуса, которая служит ручкой, для подачи электроэнергии к устройствам управления, выполненным в виде выключателей, а плоская подставка представляет собой конструкцию, обеспечивающую для вентилятора, предназначенного для сушки волос, возможность находиться в обособленном положении, приспособление для распыления жидкости, выборочно подаваемой в дозированных количествах к переднему концу части полого корпуса, имеющей удлиненную форму, цепь регулирования режима нагрева, соединяющую между собой нагревательный элемент и устройство управления, выполненное в виде выключателя, для регулирования силы тока, подводимого к нагревательному элементу, и цепь для подвода максимального тока к нагревательному элементу для достижения нагревательным элементом желаемой температуры нагрева за минимальный промежуток времени, причем цепь для подвода максимального подогревного тока содержит датчик для контроля температуры нагревательного элемента и обеспечивающий подачу соответствующего напряжения, компаратор для сопоставления величины эталонного напряжения относительно величины напряжения, поступившего от датчика, и обеспечения подачи первого выходного сигнала, и транзистор большой мощности, подсоединенный своей базой к компаратору, для неоднократной подачи максимального напряжения к нагревательному элементу для повышения интенсивности нагревания нагревательного элемента в течение всего промежутка времени, пока продолжает поступать первый выходной сигнал.
52. Вентилятор для сушки волос по п.51, в котором приспособление, предназначенное для распыления жидкости, содержит резервуар для жидкости, выполненный из гибкого материала, отверстие, выполненное в резервуаре и предназначенное для заправки резервуара соответствующей жидкостью, ремешки, отходящие от резервуара, для прикрепления резервуара к ручке вентилятора для сушки волос, и трубку, достаточно длинную для того, чтобы ее можно было одним концом присоединить к имеющемуся, по меньшей мере, одному отверстию, выполненному в резервуаре, после чего проложить эту трубку вдоль профиля части полого корпуса, имеющей удлиненную форму, при подведении другого ее конца к переднему концу части корпуса, благодаря чему при нажатии на резервуар, выполненный из гибкого материала, будет происходить распыление жидкости у переднего конца части полого корпуса, имеющей удлиненную форму.
53. Вентилятор для сушки волос по п.51, в котором приспособление, предназначенное для распыления жидкости, содержит соответствующее пространство, предусмотренное в части корпуса, которая служит ручкой, и предназначенное для размещения в этом пространстве резервуара, содержащего находящуюся под давлением жидкость; трубку, достаточно длинную для того, чтобы ее можно было проложить от пространства в ручке к переднему концу вентилятора для сушки волос; клапан, предназначенный для подсоединения резервуара, помещенного в пространство, к длинной трубке, и соответствующее средство, приводимое в действие вручную, для избирательного открывания и закрывания клапана для выборочного распыления жидкости у переднего конца части полого корпуса, имеющей удлиненную форму.
54. Переносной бесшнуровой вентилятор для сушки волос, содержащий часть полого корпуса, имеющую удлиненную форму, которая имеет соответствующую осевую линию массы и включает электродвигатель вентилятора и нагревательный элемент, задний конец и передний конец, часть корпуса, которая служит ручкой, продольная осевая линия которой проходит, по существу, в поперечном направлении относительно части корпуса, имеющей удлиненную форму, и вдоль осевой линии массы этой части, причем часть корпуса, которая служит ручкой, снабжена соответствующими устройствами управления, выполненными в виде выключателей, предназначенных для включения нагревательного элемента и электродвигателя вентилятора, источник питания, имеющий плоскую подставку и соответствующую осевую линию массы, причем источник питания предназначен для присоединения его к части корпуса, которая служит ручкой, по существу, вдоль ее продольной осевой линии и на одной прямой с осевой линией массы части полого корпуса, имеющей удлиненную форму, в результате чего обеспечивается подача электроэнергии к устройствам управления, выполненным в виде выключателей, а плоская подставка представляет собой конструкцию, обеспечивающую для вентилятора, предназначенного для сушки волос, возможность находиться в обособленном положении, и приспособление для распыления жидкости, содержащее резервуар для жидкости, выполненный из гибкого материала; отверстие, выполненное в резервуаре, для заправки резервуара соответствующей жидкостью, ремешки, отходящие от упомянутого резервуара, для прикрепления резервуара к ручке вентилятора для сушки волос, и трубку, достаточно длинную для того, чтобы ее можно было одним концом присоединить к имеющемуся, по меньшей мере, одному отверстию, выполненному в резервуаре, после чего проложить эту трубку вдоль профиля части полого корпуса, имеющей удлиненную форму, при подведении другого ее конца к переднему концу части корпуса, благодаря чему при нажатии на резервуар, выполненный из гибкого материала, будет происходить распыление жидкости у переднего конца части полого корпуса, имеющей удлиненную форму.
55. Вентилятор для сушки волос по п.54, который дополнительно включает в себя регулируемое отверстие для впуска воздуха, расположенное на заднем конце части полого корпуса, имеющей удлиненную форму, для регулирования количества воздуха, поступающего в часть полого корпуса, имеющего удлиненную форму.
56. Вентилятор для сушки волос по п.55, в котором регулируемое отверстие для впуска воздуха содержит ряд параллельных лопаток, положение которых может регулироваться в пределах от такого их положения, в котором расстояние между ними будет минимальным, что обеспечит поступление минимального воздушного потока в часть полого корпуса, имеющую удлиненную форму, и вплоть до такого положения лопаток, в котором расстояние между лопатками будет максимальным, что обеспечит поступление максимального воздушного потока в часть полого корпуса, имеющую удлиненную форму.
57. Вентилятор для сушки волос по п.54, который дополнительно включает в себя регулируемое отверстие для выпуска воздуха, расположенное на переднем конце части полого корпуса, имеющей удлиненную форму, для регулирования количества воздуха, выходящего из части полого корпуса, имеющей удлиненную форму.
58. Вентилятор для сушки волос по п.57, в котором регулируемое отверстие для выпуска воздуха содержит механизм с ирисовой диафрагмой, смонтированный на переднем конце части полого корпуса, имеющей удлиненную форму, и снабженный соответствующими частями, выполненными в виде лепестков и обладающими способностью перемещаться по отношению друг к другу, обеспечивая тем самым возможность неоднократного изменения размера проходного сечения этого регулируемого отверстия в пределах от минимального до максимального, и регулировочное устройство, присоединенное к лепесткам ирисовой диафрагмы, для ручного регулирования проходного сечения отверстия в ирисовой диафрагме.
59. Вентилятор для сушки волос по п.58, в котором регулируемое отверстие для выпуска воздуха содержит полый цилиндр, имеющий, по меньшей мере, первую часть, размер которой по внутреннему ее диаметру подобран с возможностью обеспечения особо тугой посадки при насаживании ее на передний конец части полого корпуса, имеющей удлиненную форму, вторую часть, которая выступает за передний конец, при этом регулировочная ирисовая диафрагма выполнена с внутренней стороны второй части полого цилиндра, а регулировочное устройство для регулирования ирисовой диафрагмы расположено с наружной стороны второй части полого цилиндра для ручной регулировки проходного сечения отверстия в ирисовой диафрагме посредством соответствующего перемещения регулировочного устройства.
60. Вентилятор для сушки волос по п.54, который дополнительно включает в себя электрическую цепь, подсоединенную к устройствам управления, выполненным в виде выключателей, и управляемую ими с возможностью обеспечения избирательной подачи электроэнергии на электродвигатель вентилятора и на нагревательный элемент.
61. Вентилятор для сушки волос по п.60, в котором электрическая цепь содержит по меньшей мере, первый выключатель, для электрического соединения источника питания одновременно с нагревательным элементом и с электродвигателем вентилятора, и по меньшей мере, второй выключатель, для электрического соединения источника питания только с электродвигателем вентилятора.
62. Вентилятор для сушки волос по п.54, который дополнительно содержит цепь регулирования режима нагрева, соединяющую между собой нагревательный элемент и устройство управления, выполненное в виде выключателя, и предназначенную для регулирования силы тока, подводимого к нагревательному элементу.
63. Вентилятор для сушки волос по п.62, который дополнительно включает в себя цепь для подвода максимального тока к нагревательному элементу для достижения нагревательным элементом желаемой температуры нагрева за минимальный промежуток времени.
64. Вентилятор для сушки волос по п.63, в котором цепь для подвода максимального подогревного тока содержит датчик для контроля температуры нагревательного элемента и подачи соответствующего напряжения, компаратор для сопоставления величины эталонного напряжения относительно величины напряжения, поступившего от датчика, и обеспечения подачи первого выходного сигнала, и транзистор большой мощности, подсоединенный своей базой к компаратору, для неоднократной подачи максимального напряжения к нагревательному элементу для повышения интенсивности нагревания нагревательного элемента в течение всего промежутка времени, пока продолжает поступать первый выходной сигнал.
65. Вентилятор для сушки волос по п.64, который дополнительно включает в себя импульсный контур, подключенный к базе транзистора большой мощности, для выдачи стробирующего сигнала на транзистор большой мощности с предварительно заданной частотой переключения его во включенное/выключенное положения для поддержания желаемой температуры нагревательного элемента после того, как будет достигнута желаемая температура.
66. Вентилятор для сушки волос по п.65, который дополнительно включает в себя устройство ручного управления, предназначенное для установки желаемой частоты переключения во включенное/выключенное положения, с которой осуществляется подача электроэнергии к нагревательному элементу для поддержания желаемой температуры нагрева.
67. Вентилятор для сушки волос по п.66, который дополнительно включает в себя контур генератора колебаний, предназначенный для генерирования импульсов, схему, которая принимает импульсы, поступающие от упомянутого генератора колебаний, несколько последовательных ступеней, предусмотренных в схеме, при этом каждая из ступеней генерирует выходной импульс, соответствующий конкретному для нее отсчету; многопозиционный переключатель, предназначенный для осуществления избирательного подключения одной из ступеней схемы таким образом, чтобы выходной импульс поступал от этой ступени на базу транзистора большой мощности для обеспечения предварительно заданной частоты переключения транзистора большой мощности во включенное/выключенное положения с соблюдением при этом такого соотношения импульсов подаваемой электроэнергии, которое позволяет получить желаемую температуру нагревательного элемента, и средства, предназначенные для установки переключателя вручную в соответствующее положение, в котором обеспечивается получение желаемой частоты повторения импульсов.
68. Вентилятор для сушки волос по п.65, который дополнительно включает в себя импульсный контур, предназначенный для автоматического сообщения транзистору большой мощности соответствующих импульсов проводимости при переключении его во включенное/выключенное положения с выбранной величиной соотношения импульсов для поддержания желаемой температуры нагревательного элемента.
69. Вентилятор для сушки волос по п.68, который содержит выполненный в виде интегральной схемы регулятор, имеющий запоминающее устройство, представленные в табличной форме сравнительные данные, сохраняемые в запоминающем устройстве и указывающие температуру нагревательного элемента в зависимости от частоты повторения импульсов, средства для обеспечения подачи соответствующего напряжения тепловым датчиком нагревательного элемента, подсоединенные к регулятору, выполненному в виде интегральной схемы, при этом регулятор, выполненный в виде интегральной схемы, формирует соответствующую конфигурацию многопозиционного переключателя, обеспечивая тем самым возможность автоматического сообщения транзистору большой мощности соответствующего импульса, осуществляющего переключение его во включенное и выключенное положения с выбранной величиной соотношения импульсов для поддержания желаемой температуры, которая была выбрана.
70. Вентилятор для сушки волос по п.65, который дополнительно содержит повышающий контур для увеличения напряжения, подсоединенный между транзистором большой мощности и нагревательным элементом, при этом выход импульсного контура подсоединен к повышающему контуру, обеспечивающему повышение напряжения только в том случае, когда транзистору большой мощности сообщается стробирующий импульс.
71. Вентилятор для сушки волос по п.54, в котором источник питания представляет собой, по меньшей мере, одну подзаряжаемую аккумуляторную батарею.
72. Вентилятор для сушки волос по п.71, в котором аккумуляторная батарея обеспечивает подачу напряжения, по меньшей мере, 14 В к устройствам управления, выполненным в виде выключателей.
73. Вентилятор для сушки волос по п.71, который включает в себя зарядное устройство постоянного тока для подсоединения его к подставке для подвода постоянного напряжения для осуществления подзарядки, по меньшей мере, одной аккумуляторной батареи.
74. Вентилятор для сушки волос по п.72, который дополнительно включает в себя схему выпрямителя, преобразующего переменный ток в постоянный, которая представляет собой составную часть источника питания, при этом выпрямитель, преобразующий переменный ток в постоянный, получает выходной сигнал, поступающий от зарядной цепи переменного тока, в результате чего обеспечивается получение соответствующего постоянного напряжения, необходимого для подзарядки, по меньшей мере, одной аккумуляторной батареи.
75. Вентилятор для сушки волос по п.55, в котором источник питания может быть присоединен к части корпуса, которая служит ручкой, только в одном единственном положении.
76. Переносной бесшнуровой вентилятор для сушки волос, содержащий часть полого корпуса, имеющую удлиненную форму, которая включает электродвигатель вентилятора и нагревательный элемент, задний конец и передний конец, часть корпуса, которая служит ручкой, и продольная осевая линия которой проходит, по существу, поперек направления части полого корпуса, имеющей удлиненную форму, причем часть корпуса, которая служит ручкой, снабжена соответствующими устройствами управления, выполненными в виде выключателей, предназначенных для включения нагревательного элемента и электродвигателя вентилятора, источник питания, имеющий плоскую подставку и предназначенный для присоединения его к части корпуса, которая служит ручкой, в результате чего обеспечивается подача электроэнергии к устройствам управления, выполненным в виде выключателей, а плоская подставка представляет собой конструкцию, обеспечивающую для вентилятора, предназначенного для сушки волос, возможность находиться в обособленном положении, и приспособление для распыления жидкости, выборочно подаваемой в дозированных количествах к переднему концу части полого корпуса, имеющей удлиненную форму, причем приспособление, предназначенное для распыления жидкости, дополнительно содержит резервуар для жидкости, выполненный из гибкого материала, отверстие, выполненное в резервуаре и предназначенное для заправки резервуара соответствующей жидкостью, ремешки, отходящие от резервуара, для прикрепления резервуара к ручке вентилятора для сушки волос, и трубку, достаточно длинную для того, чтобы ее можно было одним концом присоединить к имеющемуся, по меньшей мере, одному отверстию, выполненному в резервуаре, после чего проложить эту трубку вдоль профиля части полого корпуса, имеющей удлиненную форму, при подведении другого ее конца к переднему концу части корпуса, благодаря чему при нажатии на резервуар, выполненный из гибкого материала, будет происходить распыление жидкости у переднего конца части полого корпуса, имеющей удлиненную, форму.
77. Переносной бесшнуровой электрический вентилятор для сушки волос, содержащий часть полого корпуса, имеющую удлиненную форму, которая имеет соответствующую осевую линию массы и включает электродвигатель вентилятора и нагревательный элемент, задний конец и передний конец, часть корпуса, которая служит ручкой, продольная осевая линия которой проходит, по существу, поперек направления части полого корпуса, имеющей удлиненную форму, и вдоль осевой линии массы этой части, причем часть корпуса, которая служит ручкой, снабжена соответствующими устройствами управления, выполненными в виде выключателей, предназначенных для включения нагревательного элемента и электродвигателя вентилятора; источник питания, имеющий плоскую подставку и соответствующую осевую линию массы, причем источник питания предназначен для присоединения его к части корпуса, которая служит ручкой, по существу, вдоль ее продольной осевой линии и на одной прямой с осевой линией массы части полого корпуса, имеющей удлиненную форму, в результате чего обеспечивается подача электроэнергии к устройствам управления, выполненным в виде выключателей, а плоская подставка представляет собой конструкцию, обеспечивающую для вентилятора, предназначенного для сушки волос, возможность находиться в обособленном положении, и приспособление для распыления жидкости и содержащее соответствующее пространство, предусмотренное в части корпуса, которая служит ручкой, и для размещения в этом пространстве резервуара, содержащего находящуюся под давлением жидкость, трубку, достаточно длинную для того, чтобы ее можно было проложить от пространства в ручке к переднему концу вентилятора для сушки волос, клапан, предназначенный для присоединения резервуара, помещенного в пространство, к длинной трубке, и соответствующее средство, приводимое в действие вручную и предназначенное для избирательного открывания и закрывания клапана для выборочного распыления жидкости у переднего конца части полого корпуса, имеющей удлиненную форму.
78. Вентилятор для сушки волос по п.77, который дополнительно включает в себя регулируемое отверстие для впуска воздуха, расположенное на заднем конце части полого корпуса, имеющей удлиненную форму, и предназначенное для регулирования количества воздуха, поступающего в часть полого корпуса, имеющего удлиненную форму.
79. Вентилятор для сушки волос по п.78, в котором регулируемое отверстие для впуска воздуха содержит ряд параллельных лопаток, положение которых может регулироваться в пределах от такого их положения, в котором расстояние между ними будет минимальным, что обеспечит поступление минимального воздушного потока в часть полого корпуса, имеющую удлиненную форму, и вплоть до такого положения лопаток, в котором расстояние между лопатками будет максимальным, что обеспечит поступление максимального воздушного потока в часть полого корпуса, имеющую удлиненную форму.
80. Вентилятор для сушки волос по п.77, который дополнительно включает в себя регулируемое отверстие для выпуска воздуха, расположенное на переднем конце части полого корпуса, имеющей удлиненную форму, и предназначенное для регулирования количества воздуха, выходящего из части полого корпуса, имеющей удлиненную форму.
81. Вентилятор для сушки волос по п.80, в котором регулируемое отверстие для выпуска воздуха содержит механизм с ирисовой диафрагмой, смонтированный на переднем конце части полого корпуса, имеющей удлиненную форму, и снабженный соответствующими частями, выполненными в виде лепестков и обладающими способностью перемещаться относительно друг друга, обеспечивая тем самым возможность неоднократного изменения размера проходного сечения этого регулируемого отверстия в пределах от минимального до максимального, и регулировочное устройство, присоединенное к лепесткам ирисовой диафрагмы и предназначенное для обеспечения возможности ручного регулирования проходного сечения отверстия в ирисовой диафрагме.
82. Вентилятор для сушки волос по п.81, в котором регулируемое отверстие для выпуска воздуха содержит полый цилиндр, имеющий, по меньшей мере, первую часть, размер которой по внутреннему ее диаметру подобран с обеспечением особо тугой посадки при насаживании ее на передний конец части полого корпуса, имеющей удлиненную форму, вторую часть, которая выступает за передний конец, при этом регулировочная ирисовая диафрагма выполнена с внутренней стороны второй части полого цилиндра, а регулировочное устройство, предназначенное для регулирования ирисовой диафрагмы, расположено с наружной стороны второй части полого цилиндра, что обеспечивает возможность осуществлять вручную регулировку проходного сечения отверстия в ирисовой диафрагме посредством соответствующего перемещения регулировочного устройства.
83. Вентилятор для сушки волос по п.77, который дополнительно включает в себя электрическую цепь, подсоединенную к устройствам управления, выполненным в виде выключателей, и управляемую ими с возможностью избирательной подачи электроэнергии на электродвигатель вентилятора и на нагревательный элемент.
84. Вентилятор для сушки волос по п.83, в котором электрическая цепь содержит по меньшей мере, первый выключатель для электрического соединения источника питания одновременно с нагревательным элементом и с электродвигателем вентилятора, и
по меньшей мере, второй выключатель для обеспечения электрического соединения источника питания единственно только лишь с электродвигателем вентилятора.
85. Вентилятор для сушки волос по п.77, который дополнительно содержит цепь регулирования режима нагрева, соединяющую между собой нагревательный элемент и устройство управления, выполненное в виде выключателя, и предназначенную для регулирования силы тока, подводимого к нагревательному элементу.
86. Вентилятор для сушки волос по п.85, который дополнительно включает в себя цепь для подвода максимального подогревного тока к нагревательному элементу для достижения нагревательным элементом желаемой температуры нагрева за минимальный промежуток времени.
87. Вентилятор для сушки волос по п.86, в котором цепь для подвода максимального тока содержит датчик для контроля температуры нагревательного элемента и обеспечивающий подачу соответствующего напряжения, компаратор для сопоставления величины эталонного напряжения относительно величины напряжения, поступившего от датчика, и обеспечения подачи первого выходного сигнала, и транзистор большой мощности, подсоединенный своей базой к компаратору и предназначенный для неоднократной подачи максимального напряжения к нагревательному элементу для повышения интенсивности нагревания нагревательного элемента в течение всего промежутка времени, пока продолжает поступать первый выходной сигнал.
88. Вентилятор для сушки волос по п.87, который дополнительно включает в себя импульсный контур, подключенный к базе транзистора большой мощности и предназначенный для выдачи стробирующего сигнала на транзистор большой мощности с предварительно заданной частотой переключения его во включенное/выключенное положения для поддержания желаемой температуры нагревательного элемента после того, как будет достигнута желаемая температура.
89. Вентилятор для сушки волос по п.88, который дополнительно включает в себя устройство ручного управления, предназначенное для установки желаемой частоты переключения во включенное/выключенное положения, с которой осуществляется подача электроэнергии к нагревательному элементу для поддержания желаемой температуры нагрева.
90. Вентилятор для сушки волос по п.89, который дополнительно включает в себя контур генератора колебаний для генерирования импульсов, схему, которая принимает импульсы, поступающие от генератора колебаний; несколько последовательных ступеней, предусмотренных в схеме, при этом каждая из ступеней генерирует выходной импульс, соответствующий конкретному для нее отсчету; многопозиционный переключатель, предназначенный для осуществления избирательного подключения одной из ступеней схемы таким образом, чтобы выходной импульс поступал от этой ступени на базу транзистора большой мощности, и для обеспечения предварительно заданной частоты переключения транзистора большой мощности во включенное/выключенное положения с соблюдением при этом такого соотношения импульсов подаваемой электроэнергии, которое позволяет получить желаемую температуру нагревательного элемента, и средства для установки переключателя вручную в соответствующее положение, в котором обеспечивается получение желаемой частоты повторения импульсов.
91. Вентилятор для сушки волос по п.88, который дополнительно включает в себя импульсный контур, предназначенный для автоматического сообщения транзистору большой мощности соответствующих импульсов проводимости при переключении его во включенное/выключенное положения с выбранной величиной соотношения импульсов для поддержания желаемой температуры нагревательного элемента.
92. Вентилятор для сушки волос по п.91, который содержит выполненный в виде интегральной схемы регулятор, имеющий запоминающее устройство; представленные в табличной форме сравнительные данные, сохраняемые в запоминающем устройстве и указывающие температуру нагревательного элемента в зависимости от частоты повторения импульсов, средства для обеспечения подачи соответствующего напряжения тепловым датчиком нагревательного элемента, подсоединенные к регулятору, выполненному в виде интегральной схемы, при этом регулятор, выполненный в виде интегральной схемы, формирует соответствующую конфигурацию многопозиционного переключателя, обеспечивая тем самым возможность автоматического сообщения транзистору большой мощности соответствующего импульса, осуществляющего переключение его во включенное и выключенное положения с выбранной величиной соотношения импульсов для поддержания желаемой температуры, которая была выбрана.
93. Вентилятор для сушки волос по п.88, который дополнительно содержит повышающий контур, предназначенный для увеличения напряжения, и подсоединенный между транзистором большой мощности и нагревательным элементом, при этом выход импульсного контура подсоединен к повышающему контуру, обеспечивающему повышение напряжения только в том случае, когда транзистору большой мощности сообщается стробирующий импульс.
94. Вентилятор для сушки волос по п.77, в котором источник питания представляет собой, по меньшей мере, одну подзаряжаемую аккумуляторную батарею.
95. Вентилятор для сушки волос по п.94, в котором аккумуляторная батарея обеспечивает подачу напряжения, по меньшей мере, 14 В к устройствам управления, выполненным в виде выключателей.
96. Вентилятор для сушки волос по п.94, который включает в себя зарядное устройство постоянного тока, выполненное с возможностью подсоединения его к подставке для подвода постоянного напряжения для подзарядки, по меньшей мере, одной аккумуляторной батареи.
97. Вентилятор для сушки волос по п.94, который дополнительно включает в себя схему выпрямителя, преобразующего переменный ток в постоянный, которая представляет собой составную часть источника питания, при этом выпрямитель, преобразующий переменный ток в постоянный, получает выходной сигнал, поступающий от зарядной цепи переменного тока, в результате чего обеспечивается получение соответствующего постоянного напряжения, необходимого для подзарядки, по меньшей мере, одной аккумуляторной батареи.
98. Вентилятор для сушки волос по п.77, в котором источник питания может быть присоединен к части корпуса, которая служит ручкой, только в одном единственном положении.
99. Переносной бесшнуровой вентилятор для сушки волос, содержащий часть полого корпуса, имеющую удлиненную форму, которая включает электродвигатель вентилятора и нагревательный элемент, задний конец и передний конец, часть корпуса, которая служит ручкой, и продольная осевая линия которой проходит, по существу, в поперечном направлении относительно части полого корпуса, имеющей удлиненную форму, причем часть корпуса, которая служит ручкой, снабжена соответствующими устройствами управления, выполненными в виде выключателей, предназначенных для включения нагревательного элемента и электродвигателя вентилятора, источник питания, имеющий плоскую подставку и предназначенный для присоединения его к части корпуса, которая служит ручкой, в результате чего обеспечивается подача электроэнергии к устройствам управления, выполненным в виде выключателей, а плоская подставка представляет собой конструкцию, обеспечивающую для вентилятора, предназначенного для сушки волос, возможность находиться в обособленном положении, и приспособление для распыления жидкости, выборочно подаваемой в дозированных количествах к переднему концу части полого корпуса, имеющей удлиненную форму, причем приспособление, предназначенное для распыления жидкости, дополнительно содержит соответствующее пространство, предусмотренное в части корпуса, которая служит ручкой, и предназначенное для размещения в этом пространстве резервуара, содержащего находящуюся под давлением жидкость, трубку, достаточно длинную для того, чтобы ее можно было проложить от пространства в ручке к переднему концу электрического вентилятора для сушки волос, клапан для присоединения резервуара, помещенного в пространство, к длинной трубке, и соответствующее средство, приводимое в действие вручную и предназначенное для осуществления избирательного открывания и закрывания клапана.
РИСУНКИ
MM4A – Досрочное прекращение действия патента СССР или патента Российской Федерации на изобретение из-за неуплаты в установленный срок пошлины за поддержание патента в силе
Дата прекращения действия патента: 15.09.2008
Извещение опубликовано: 10.08.2010 БИ: 22/2010
|
|