|
|
(21), (22) Заявка: 2004129382/12, 05.10.2004
(24) Дата начала отсчета срока действия патента:
05.10.2004
(43) Дата публикации заявки: 10.03.2006
(46) Опубликовано: 27.06.2006
(56) Список документов, цитированных в отчете о поиске:
RU 2229217 С2, 27.05.2004. RU 2220104 С2, 27.12.2003. RU 22399 U1, 10.04.2002. US 3990181 А, 09.11.1976.
Адрес для переписки:
400074, г.Волгоград, ГСП, ул. Рабоче-Крестьянская, 51, кв.31, А.К. Елисееву
|
(72) Автор(ы):
Елисеев Афанасий Кузьмич (RU), Салдаев Александр Макарович (RU), Туманян Антонина Федоровна (RU)
(73) Патентообладатель(и):
Государственное учреждение культуры “Волгоградский музейно-выставочный центр” (ГУК “ВМВЦ”) (RU)
|
(54) СИСТЕМА ПОДГОТОВКИ ВОДЫ И ПОДАЧИ ПИТАТЕЛЬНОЙ СМЕСИ В ПОЧВУ ПРИ КАПЕЛЬНОМ ОРОШЕНИИ
(57) Реферат:
Изобретение относится к сельскому хозяйству, в частности к орошаемому земледелию с системами капельного орошения. Система подготовки воды и подачи питательной смеси в почву для капельного орошения включает насосную станцию, емкость для подготовки питательного раствора, фильтр в виде полого цилиндра. Емкость снабжена дренажными трубами из коррозионно-стойкого материала. Поверхности дренажных труб покрыты фильтрационным материалом. Дренажные трубы в круглой емкости размещены в инертном песчаном наполнителе. Система имеет гидроциклон, манометры, коллектор, фильтр тонкой очистки, водоотвод, запорную арматуру, магистральный трубопровод, сеть распределительных и поливных трубопроводов. Поливные трубопроводы снабжены капельницами. В полости гидроциклона установлен сетчатый экран. Нижняя часть гидроциклона имеет сборник шлама с вентилем для его выпуска. В вертикально установленной емкости фильтра в виде полого цилиндра большого диаметра установлен внешний перфорированный полый цилиндр с размещенными в нем с равным взаимным удалением друг от друга снабженные фланцами на концах внутренние перфорированные цилиндры меньшего диаметра. Внутренняя полость внешнего перфорированного полого цилиндра заполнено инертным песчаным наполнителем. В полости каждого полого перфорированного цилиндра меньшего диаметра с возможностью демонтажа смонтированы дренажные трубы из коррозионно-стойкого материала. Внешние поверхности последних покрыты фильтрационным материалом. Нижние фланцы внутренних перфорированных цилиндров меньшего диаметра сопряжены с фланцами коллектора. Он соединен водоотводом и каналами в корпусе двухпозиционного распределителя потоков воды с фильтром тонкой очистки. Последний выполнен в виде гидроциклона, снабженного в его полости сетчатым экраном для отделения тончайших взвесей. Емкость фильтра на внешней поверхности цилиндра имеет тангенциально установленные сопла, размещенные с равным шагом по высоте емкости. Сопла соединены посредством стояка и капельницами в корпусе двухпозиционного распределителя с гидроциклоном тонкой очистки воды. В полости другого циклона установлен сетчатый экран для отделения грубого минерального сора и растительных остатков. Система обеспечит высокую производительность и непрерывную подачу очищенной воды в капельницы на поливных трубопроводах. 8 з.п. ф-лы, 4 ил.
Изобретение относится к сельскохозяйственной мелиорации, в частности к капельному орошению, и может быть использовано для очистки воды при орошении овощных культур, виноградников, садов, лесных питомников, плодово-ягодных культур и т.п. насаждений.
Известна система капельного орошения, включающая источник водоснабжения, подводящую сеть, распределительную сеть и увлажнители с инъекторами, в которой, с целью улучшения аэрации увлажняемой зоны и обеспечения контроля за подачей воды в почву, на входе в каждый инъектор установлено гидравлическое сопротивление, а под ним, в стенке инъектора, выполнено отверстие; с целью стабилизации и регулирования расхода воздуха, подаваемого в почву, каждый инъектор снабжен гидрозатвором, расположенным ниже отверстия; с целью равномерного распределения воды по увлажненным зонам при изменении напора по длине увлажнителя, инъекторы подключены к увлажнителям через трубчатые вставки различной длины; гидравлическое сопротивление выполнено в виде поплавкового регулятора уровня воды (SU, авторское свидетельство №545305, М.кл.2
Недостатком описанной системы капельного орошения является неудовлетворительная очистка воды, подаваемой из водоподводящей сети в увлажнители инъекторами. Последние забиваются растительными остатками и иловатыми взвесями в оросительной воде.
Часть указанных недостатков устраняется в системе капельного орошения, включающей водоисточник, бассейн-отстойник, насосную станцию и оросительную сеть с капельницами, в которой, с целью повышения надежности работы и снижения эксплуатационных затрат, система снабжена линейно-протяженными трубчатыми фильтрами, уложенными в грунте вдоль берега водоисточника и заглубленными под уровень грунтовых вод, при этом трубчатые фильтры сообщены с бассейном-отстойником, который выполнен закрытым (SU, авторское свидетельство №1551285 А1, М.кл.5
К недостаткам данной системы капельного орошения относятся большие материальные и трудовые затраты на укладку линейно-протяженных трубчатых фильтров в грунт на нижний уровень залегания грунтовых вод.
Известен горизонтальный отстойник, содержащий емкость, верхнюю и нижнюю распределительные системы подвода нефтесодержащей воды и отвода очищенной воды, соответственно, трубку слива нефтепродуктов, входной и выходной патрубки, в котором, с целью повышения эффективности очистки нефтесодержащих вод, верхняя и нижняя распределительные системы выполнены в виде соединенных с коллектором горизонтальных перфорированных труб, при этом трубы верхней и нижней систем выполнены с диаметром, увеличивающимся и уменьшающимся соответственно от входного патрубка к выходному, суммарная площадь поперечного сечения верхней и нижней распределительных систем составляет не более 1,3 площади поперечного сечения соответствующего коллектора, а входной и выходной патрубки расположены в диаметрально противоположных концах емкости (SU, авторское свидетельство №1544712 А1, М.кл.5
К недостаткам описанного отстойника относятся ограниченные функциональные возможности – сбор аварийных нефтепродуктов.
Близким аналогом по сущности и целевому назначению к заявленному техническому объекту относится установка для очистки воды, содержащая корпус с патрубками, верхним и нижним распределительными устройствами, согласно формуле полезной модели, в котором размещена ионообменная смола, а в корпусе дополнительно размещен с возможностью перемещения фильтрационный материал с плотностью ниже плотности воды, причем над поверхностью материала в корпусе имеется свободное от сорбентов пространство (RU свидетельство на полезную модель №21912 U1, МПК7
К недостаткам данной установки применительно к решаемой нами проблеме относятся неудовлетворительное качество очистки воды, малая производительность, незначительный по времени и разовый срок службы сорбента.
Наиболее близким аналогом (прототипом) к заявленному объекту является система подготовки воды и подачи питательной смеси в почву для капельного орошения, включающая насосную станцию, емкость для подготовки питательного раствора, фильтр, манометры, запорную арматуру, магистральный трубопровод, сеть распределительных и снабженных капельницами поливных трубопроводов, в которой фильтр в виде горизонтально установленной емкости с соотношением диаметра к ее длине 1:(1,3-10) снабжен ярусно смонтированными дренажными трубами из коррозионно-стойкого материала, при этом поверхности дренажных труб нижнего яруса покрыты фильтрационным материалом и размещены в донной части емкости под слоем инертного песчаного наполнителя мощностью 400-1000 мм с размерами зерен инертного наполнителя 1-5 мм, а внешний патрубок дренажной трубы верхнего яруса гидравлически связан с напорным гидроциклоном, снабженным в его полости сетчатым экраном в одной части сборником шлама и вентилем для его выпуска в другой части, при этом концы дренажных труб нижнего яруса соединены посредством коллектора и водоотвода с фильтром тонкой очистки воды (RU, патент №2229217 С2, МПК7
К недостаткам описанной системы подготовки воды и подачи питательной смеси в почву при капельном орошении относятся большие гидравлические сопротивления фильтра и ограниченная производительность.
Сущность заявленного изобретения заключается в следующем.
Задача, на решение которой направлено заявленное изобретение, – повышение качества очистки воды.
Технический результат – повышение производительности, снижение себестоимости растениеводческой продукции, надежности и затрат труда на техническое обслуживание системы капельного орошения.
Указанный результат достигается тем, что в известной системе подготовки воды и подачи питательной смеси в почву для капельного орошения, включающей насосную станцию, емкость для подготовки питательного раствора, фильтр в виде полого цилиндра, снабженного дренажными трубами из коррозионно-стойкого материала, поверхности которых покрыты фильтрационным материалом и размещены в инертном песчаном наполнителе, гидроциклон, снабженный в его полости сетчатым экраном в одной части и сборником шлама с вентилем для его выпуска в другой части, манометры, коллектор, фильтр тонкой очистки, водоотвод, запорную арматуру, магистральный трубопровод, сеть распределительных и снабженных капельницами поливных трубопроводов, согласно изобретению, в вертикально установленной емкости фильтра в виде полого цилиндра соосно установлен внешний перфорированный полый цилиндр с размещенными в нем с равным взаимным удалением друг от друга снабженными фланцами на концах внутренними перфорированными цилиндрами, пространство между внутренними перфорированными цилиндрами меньшего диаметра и внутренней полостью внешнего перфорированного полого цилиндра заполнено инертным песчаным наполнителем, в полости каждого внутреннего перфорированного цилиндра с возможностью демонтажа смонтированы дренажные трубы из коррозионно-стойкого материала, нижние фланцы внутренних перфорированных цилиндров сопряжены с фланцами коллектора, соединенного водоотводом и каналами в корпусе двухпозиционного распределителя потоков воды с фильтром тонкой очистки, выполненным в виде гидроциклона со смонтированным в его полости сетчатым экраном для отделения тончайших взвесей, при этом емкость фильтра на внешней поверхности цилиндра имеет тангенциально установленные сопла, размещенные с равным шагом по высоте емкости и соединенные посредством стояка и каналов в корпусе двухпозиционного распределителя с гидроциклоном с размещенными в его полости сетчатым экраном для отделения минерального сора и растительных остатков; манометры смонтированы на стояке и коллекторе; двухпозиционный распределитель потоков воды снабжен золотником для периодического изменения режима работы фильтра: очистка воды – промывка фильтрационного материала; корпус двухпозиционного распределителя потоков гидравлически связан со стояком для подвода воды при ее очистке из гидроциклона и отвода очищенной воды из коллектора в фильтр тонкой очистки, сетью для отвода продуктов загрязнения и последовательно установленными на входе и выходе в гидравлической сети циклонами; золотник двухпозиционного распределителя потоков воды снабжен ручкой управления с фиксируемыми положениями; каждая дренажная труба из коррозионно-стойкого материала смонтирована с возможностью демонтажа на верхнем фланце внутреннего перфорированного полого цилиндра; группа внутренних перфорированных полых цилиндров смонтирована на общем фланце, размещенном с возможностью демонтажа на фланце внешнего перфорированного цилиндра; диаметр полого цилиндра емкости больше диаметра внешнего перфорированного полого цилиндра в 1,10…1,25 раза; диаметры внутренних перфорированных цилиндров меньше диаметра внешнего перфорированного цилиндра в 3…5 раз.
Изобретение поясняется чертежами.
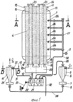
На фиг.1 схематично представлена система подготовки воды и подачи питательной смеси в почву для капельного орошения в режиме очистки воды.
На фиг.2 – то же, в режиме удаления кольматажа с поверхностей фильтрационных материалов дренажных труб и из объема песчаного наполнителя во внешнем перфорированном полом цилиндре фильтра.
На фиг.3 – сечение А-А на фиг.1, горизонтальное сечение емкости фильтра в узле сопряжения сопла для подачи воды.
На фиг.4 – сечение Б-Б на фиг.1, горизонтальное сечение фильтра тонкой очистки в виде гидроцилиндра с фильтрационным материалом на поверхности сетчатого цилиндрического экрана.
Сведения, подтверждающие возможность реализации заявленного изобретения, заключаются в следующем.
Система подготовки воды и подачи питательной смеси в почву для капельного орошения включает насосную станцию, емкость для подготовки питательного раствора, фильтр в виде круглой емкости 1 с соотношением диаметра к ее высоте 1:(1,3-10), снабженной дренажными трубами 2,внешние поверхности которых покрыты тканным фильтрационным материалом 3 из инертного материала. Дренажные трубы 3 размещены в инертном песчаном наполнителе 4 с размерами зерен инертного наполнителя 1-5 мм. Система имеет гидроциклон 5. Он снабжен сетчатым экраном 6 в одной части и сборником 7 шлама и вентилем 8 для его выпуска в другой части. Система скомпонована коллектором, манометрами 9 и 10, фильтром 11 тонкой очистки, водоотводом 12, магистральным трубопроводом, сетью распределительных и поливных трубопроводов. Поливные трубопроводы снабжены капельницами. Общеизвестные и серийно выпускаемые изделия для описанной системы подготовки воды и подачи питательной смеси в почву на представленных чертежах не показаны.
В вертикально установленной емкости 1 фильтра в виде полого цилиндра из толстостенных труб большого диаметра установлен внешний перфорированный полый цилиндр 13. Диаметр полого цилиндра емкости 1 больше диаметра трубы для внешнего перфорированного полого цилиндра 13 в 1,10-1,25 раза. Это позволяет образовать полость между стенками цилиндров для подачи забираемой из водоема воды для вторичной очистки с целью удаления взвесей и высокоорганизованных микроорганизмов. В цилиндре 13 с равным взаимным удалением друг от друга размещены снабженные фланцами 14 и 15 на концах труб внутренние перфорированные цилиндры 16. Диаметр внутренней перфорированной трубы для цилиндров 16 выбран меньшим диаметра трубы внешнего перфорированного цилиндра 13 в 3-5 раз. Группа внутренних перфорированных полых цилиндров 16 смонтирована на общем фланце 17. Каждый фланец 17 размещен с возможностью демонтажа на фланце 18 внешнего полого перфорированного цилиндра 13. Пространство между внутренними перфорированными цилиндрами 16 и внутренней полостью внешнего диаметра 13 заполнено инертным песчаным наполнителем 4. В полости каждого внутреннего перфорированного цилиндра 16 с возможностью демонтажа смонтированы дренажные трубы 2 из коррозионно-стойкого материала. Внешние поверхности дренажных труб 2 покрыты быстросъемным тканным фильтрационным материалом 3. Этому способствует размещение дренажных труб 2 своими фланцами 18 на фланцах 14 внутренних перфорированных труб цилиндров 16 меньшего диаметра. Каждая дренажная труба 2 из коррозионно-стойкого материала смонтирована с возможностью демонтажа на верхнем фланце 14 внутреннего перфорированного полого цилиндра 16 и имеет прорези, ориентированные вдоль образующих поверхности цилиндра.
Нижние фланцы 15 внутренних перфорированных цилиндров 16 сопряжены с фланцами 19 коллектора 20. Коллектор 20 соединен водоотводом 12 и каналами в корпусе 21 двухпозиционного распределителя потоков воды с фильтром 11 тонкой очистки. Двухпозиционный распределитель потоков воды снабжен золотником 22 для периодического изменения режима работы фильтра: очистка воды – промывка фильтрационного материала 4. Золотник 22 двухпозиционного распределителя потоков воды снабжен ручкой 23 управления с фиксируемыми положениями.
Фильтр 11 тонкой очистки оросительной воды выполнен в виде гидроциклона. Он снабжен смонтированным в его полости сетчатым экраном 24 для отделения тончайших взвесей. Очищенная вода из коллектора 20 в гидроциклон фильтра 11 подается тангенциально установленным патрубком 25 (см. фиг.4). На сетчатом экране 24 с возможностью замены расположено тканное полотно ТП для удаления частиц с размерами 0,05-0,10 мм.
Емкость 1 фильтра на внешней поверхности (см. фиг.1-3) имеет тангенциально установленные сопла 26. Сопла 26 размещены с равным шагом по высоте емкости 1 и соединены посредством стояка 27 и каналами в корпусе 21 двухпозиционного распределителя с гидроциклоном 5. Корпус 20 двухпозиционного распределителя потоков гидравлически связан со стояком 27 подвода воды с последующей ее очисткой из гидроциклона 5 и отвода очищенной воды из коллектора 20 в фильтр 11 тонкой очистки, сетью 28 для отвода продуктов загрязнения и последовательно установленными на входе и выходе в гидравлической сети гидроциклонами 5 и 11. Гидроциклон 5 снабжен установленными в его полости сетчатым экраном 6 для отделения грубого минерального сора и растительных остатков.
Манометры 9 и 10 смонтированы на стояке 27 и коллекторе 20 и служат контрольно-показывающими приборами. Корпус 21 двухпозиционного распределителя со стояком 27, с гидроциклонами 5 и 11, сетью 28 для отводов продуктов загрязнения последовательно соединен трубопроводами 29, 30, 31 и 32. Всем описанным деталям и узлам агрегатов присуща технологичность при серийном производстве.
Система подготовки воды и подачи питательной смеси в почву для капельного орошения функционирует следующим образом.
Для нормальной и бесперебойной работы систем капельного орошения к оросительной воде предъявляются следующие требования: содержание твердых осадков на 1 литр воды не более 3 г; степень минерализации – до 6 г/л.
Работу заявленной системы рассмотрим на двух примерах: в режиме очистки воды и в режиме удаления кольматажа из фильтрационного материала.
Из прилегающего водоема к орошаемому массиву по трубопроводу тангенциально подается вода в корпус гидроциклона 5. При тангенциальной подаче воды под давлением в корпусе гидроциклона 5 массе воды придается вращение вокруг вертикальной оси симметрии гидроциклона 5. Крупные растительные примеси, сор и взвеси из общей массы воды за счет сетчатой поверхности экрана 6 оседают вниз, т.е. в сторону донной части корпуса и поступают в сборник 7 шлама и продуктов загрязнения из очищаемой воды.
Вода с более мелкими фракциями взвесей из полости гидроциклона 5, пройдя сетчатый экран 6, поступает по трубопроводу 29 в корпус 21 распределителя потоков воды. При крайнем правом положении плунжера 22 (см. фиг.1) вода из полости корпуса 21 по трубопроводу 30 подается в стояк 27. Из стояка 27 вода ярусно по соплам 26 тангенциально поступает в полость емкости 1. При тангенциальной подаче воды в полость между стенками емкости 1 и внешнего полого перфорированного цилиндра 13 часть взвесей оседает на донную часть емкости 1. Вода через щели цилиндра 13 заполняет пространство между внутренними цилиндрами 16, заполненного инертным наполнителем 4. Перемещение потоков воды в радиальных направлениях внешнего цилиндра 13 и внутренних цилиндров 16 приводят к осаждению взвесей из воды на поверхности песчаного инертного наполнителя 4. Пройдя вторичную очистку, оросительная вода в емкости 1 через радиальные прорези в цилиндрах 16 под давлением устремляется на поверхность каждого тканного фильтрационного материала 3. Тончайшие взвеси и микроводоросли оседают на волокнах фильтрационного материала 3. Далее из дренажных труб 2 вертикальные потоки воды через сопряженные фланцы 15 и 19 подаются в полость коллектора 20. Из коллектора 20 она по водоводу 12 поступает в корпус 21 распределителя потоков воды. Благодаря крайнему правому положению золотника 22, очищенная вода по трубопроводу 31 направляется в патрубок 25 фильтра 11 тонкой очистки воды. Тангенциальная подача воды в корпус гидроциклона фильтра 11 и совместная работа сетчатого экрана 24 и тканного полона ТП (см. фиг.4) позволяют удалить частицы взвесей и их агломератов с размерами 0,05-0,10 мм. Этим достигается высокая степень очистки воды. Из фильтра 11 тонкой очистки очищенная вода под рабочим давлением поступает в магистральный трубопровод системы капельного орошения для выдачи поливных норм к корням с.-х. растений. О нормальной работе фильтра в емкости 1 судят по количественным показателям манометра 9 на стояке 27 и манометра 10 в коллекторе 20. При перепаде давлений более 0,005 МПа ручку 23 управления распределителя штоков с фиксируемыми положениями переводят в крайнее левое положение (см. фиг.2) для промывки инертного фильтрационного материала 4 в полости цилиндра 13 и удаления шлама, сора, взвесей и их соединений.
Рассмотрим режим работы системы при кольматации слоев инертного фильтрационного материала 4. Кольматаж из емкости 1 удаляют следующим образом.
Оператор, обслуживающий систему капельного орошения, усилием руки или дистанционно ручку 23 распределителя потоков переводит в фиксируемое положение «Удаление кольматажа». При перемещении свободного конца ручки 23 влево золотник 22 в корпусе 21 распределителя потоков занимает крайнее левое положение (см. фиг.2). Вода, поданная насосом из открытого водоема, поступает в полость гидроциклона 5, где отделяются грубые примеси. Пройдя первую ступень очистки, вода посредством трубопровода 29 направляется в корпус 21. Из корпуса 211 по водоводу 12 вода под давлением поступает снизу вверх в полости дренажных труб 2. Пройдя через щели дренажных труб 2, выдавливая взвеси в обратном порядке из тканных фильтрационных материалов 3, технологическая вода в радиальных направлениях выдавливается в поры фильтрационного материала 4. Взвеси, растительный и минеральный сор вымывается с поверхности песчинок и через щели внешнего перфорированного цилиндра 13 и сбрасывается в полость емкости 1. Из емкости 1 по соплам 26 муть с водой поступает в стояк 27, а далее по трубопроводу 30 в корпус 21 распределителя потоков воды. Из корпуса 21 распределителя потоков по трубопроводу 32 осадок, взвеси, сор, растительные микроорганизмы и водоросли направляются в сеть 28 для отвода продуктов загрязнения. При визуальной оценке воды, а также по величине осадков на фильтрованной бумаге, и основываясь на показаниях манометров 10 и 9, оператор ручкой 23 переводит золотник 22 в положение «Очистка воды», т.е. в рабочий режим после промывки.
При работающей насосной станции и открытии вентиля 8 удаляют из сборника 7 шлам в сеть 28 отвода продуктов загрязнения. Аналогичным образом сбрасываю осадок из фильтра 11 тонкой очистки. Эту воду используют для полива напуском плодово-ягодных насаждений, как правило размещенных с незначительным удалением от места размещения емкости 1.
При завершении очередного полива из внутренних перфорированных цилиндров 16 при освобожденных от средств крепления фланцев 14 из низ вверх извлекают дренажные трубы 2 с покрытиями из тканных фильтрационных материалов 3. Последние заменяют из комплекта ЗИП фильтра. Таким же образом поступают с тканевым полотном ТП в фильтре 11 тонкой очистки.
При эксплуатации фильтра в течении 3-5 лет инертный фильтрационный материал 4 из полости внешнего перфорированного цилиндра 13 удаляют следующим образом. Из внутренних перфорированных цилиндров 16 извлекают сначала дренажные трубы 2. Далее емкость 2 грузоподъемными средствами устанавливают горизонтально. Оператор освобождает крепежные средства с фланцев 17 и 18. Далее из полости внешнего перфорированного цилиндра 13 извлекают вместе с фланцем 17 внутренние перфорированные цилиндры 16. Затем емкость 1 переводят в вертикальное положение. Наполнитель 4 в виде песка под собственным весом опорожняет полость внешнего перфорированного цилиндра 16. Заправку свежим и просепарированным на грохоте песчаным наполнителем 4 производят в обратном порядке.
Таким образом, описанная совокупность существенных отличительных признаков в заявленном объекте обеспечивает достижение указанного технического результата.
Формула изобретения
1. Система подготовки воды и подачи питательной смеси в почву для капельного орошения, включающая насосную станцию, емкость для подготовки питательного раствора, фильтр в виде полого цилиндра, снабженного дренажными трубами из коррозионно-стойкого материала, поверхности которых покрыты фильтрационным материалом и размещены в инертном песчаном наполнителе, гидроциклон, снабженный в его полости сетчатым экраном в одной части и сборником шлама с вентилем для его выпуска в другой части, манометры, коллектор, фильтр тонкой очистки, водоотвод, запорную арматуру, магистральный трубопровод, сеть распределительных и снабженных капельницами поливных трубопроводов, отличающаяся тем, что в вертикально установленной емкости фильтра в виде полого цилиндра соосно установлен внешний перфорированный полый цилиндр с размещенными в нем с равным взаимным удалением друг от друга, снабженные фланцами на концах внутренние перфорированные цилиндры, пространство между внутренними перфорированными цилиндрами, внешним перфорированным полым цилиндром заполнено инертным песчаным наполнителем, в полости каждого внутреннего перфорированного цилиндра с возможностью демонтажа смонтированы дренажные трубы из коррозионно-стойкого материала, нижние фланцы внутренних перфорированных цилиндров сопряжены с фланцами коллектора, соединенного водоотводом и каналами в корпусе двухпозиционного распределителя потоков воды с фильтром тонкой очистки, выполненным в виде гидроциклона и смонтированным в его полости сетчатым экраном для отделения тончайших взвесей, при этом емкость фильтра на внешней поверхности цилиндра имеет тангенциально установленные сопла, размещенные с равным шагом по высоте емкости и соединенные посредством стояка и каналов в корпусе двухпозиционного распределителя с гидроциклоном с размещенным в его полости сетчатым экраном для отделения минерального сора и растительных остатков.
2. Система по п.1, отличающаяся тем, что манометры смонтированы на стояке и коллекторе.
3. Система по п.1, отличающаяся тем, что двухпозиционный распределитель потоков воды снабжен золотником для периодического изменения режима работы фильтра: очистка воды – промывка фильтрационного материала.
4. Система по п.1 или 3, отличающаяся тем, что корпус двухпозиционного распределителя потоков гидравлически связан со стояком для подвода воды при ее очистке из гидроциклона и отвода очищенной воды из коллектора в фильтр тонкой очистки, сетью для отвода продуктов загрязнения и последовательно установленными на входе и выходе в гидравлической сети гидроциклонам.
5. Система по п.3, отличающаяся тем, что золотник двухпозиционного распределителя потоков воды снабжен ручкой управления с фиксируемыми положениями.
6. Система по п.1, отличающаяся тем, что каждая дренажная труба из коррозионно-стойкого материала смонтирована с возможностью демонтажа на верхнем фланце внутреннего перфорированного полого цилиндра.
7. Система по п.1, отличающаяся тем, что группа внутренних перфорированных полых цилиндров смонтирована на общем фланце, размещенном с возможностью демонтажа на фланце внешнего полого перфорированного цилиндра.
8. Система по п.1, отличающаяся тем, что диаметр полого цилиндра емкости больше диаметра перфорированного полого цилиндра в 1,10÷1,25 раз.
9. Система по п.1, отличающаяся тем, что диаметры внутренних перфорированных цилиндров меньше диаметра внешнего перфорированного цилиндра в 3-5 раз.
РИСУНКИ
MM4A – Досрочное прекращение действия патента СССР или патента Российской Федерации на изобретение из-за неуплаты в установленный срок пошлины за поддержание патента в силе
Дата прекращения действия патента: 06.10.2006
Извещение опубликовано: 20.06.2008 БИ: 17/2008
|
|