|
|
(21), (22) Заявка: 2004105576/12, 24.02.2004
(24) Дата начала отсчета срока действия патента:
24.02.2004
(43) Дата публикации заявки: 10.08.2005
(46) Опубликовано: 27.06.2006
(56) Список документов, цитированных в отчете о поиске:
RU 2109430 С1, 27.04.1998. SU 42354 А, 31.03.1935. SU 1132819 А, 07.01.1985.
Адрес для переписки:
198152, Санкт-Петербург, ул. Краснопутиловская, 23, кв.5, Н.С. Сафонову
|
(72) Автор(ы):
Сафонов Николай Семенович (RU)
(73) Патентообладатель(и):
Сафонов Николай Семенович (RU)
|
(54) УСТРОЙСТВО ДЛЯ РУЧНОЙ ПОСАДКИ СЕМЯН
(57) Реферат:
Изобретение относится к области сельского хозяйства, в частности к сельскохозяйственному инструменту. Устройство содержит семяпровод, в верхней части которого закреплена воронка для семян, а в нижней части – заслонка для перекрытия отверстия семяпровода. Заслонка установлена на семяпроводе с возможностью поворота посредством тяги и пружины. Верхний конец семяпровода установлен в воронке для семян выше ее дна и снабжен съемной пробкой. Нижний конец семяпровода выполнен с пяткой, имеющей в передней части фартучную емкость. В задней своей части пятка переходит в лопатку. Пятка закреплена на семяпроводе под углом 120°. Кроме того, воронка для семян разделена перегородками на секции, а заслонка выполнена в виде шарнирно закрепленного на семяпроводе шибера. Использование изобретения позволит упростить конструкцию устройства, снизить утомляемость оператора при работе и сократить рабочее время. 2 з.п. ф-лы, 1 ил.
Изобретение относится к области сельского хозяйства и может быть использовано для ручной посадки семян.
Посев семян в заранее подготовленные бороздки в грядках является утомительной операцией в связи с тем, что оператор выполняет эту работу в согнутом состоянии. Пожилым людям работа в такой позе особенно утомительна, а зачастую просто противопоказана.
Известны устройства, которые упрощают выполнение этой работы и, как следствие, уменьшают утомляемость оператора. (См. RU №96111303 А, 20.09.1998 или RU №92012295 A, 27.02.1997).
Наиболее близкой по конструкции к заявляемому устройству является “Ручная сажалка” – изобретение Орловской госсельхозакадемии (см. RU №2109430 С1, 27.04.1998). Известное устройство включает семяпровод, в верхней части которого закреплена воронка для семян, а в нижней части – заслонка для перекрытия отверстия семяпровода, установленная на семяпроводе с возможностью поворота посредством тяги и пружины.
К недостаткам известного устройства можно отнести следующее:
– при использовании известного устройства оператор держит его двумя руками и вынужден стоять на грядке, уплотняя (затаптывая) ее, что требует дополнительной работы для последующего рыхления почвы;
– известное устройство в сравнении с заявленным устройством значительно сложнее по конструкции;
– известное устройство нет смысла применять для посадки семян с малым заглублением, например редиса, фасоли, гороха и др., т.к. быстрее и проще заглублять семена, проделывая сплошные борозды на грядках;
– у известного устройства нет бункера (воронки) – накопителя семян и удобрений, вследствие чего оператору необходимо брать их из какой-то другой емкости, расположенной вне устройства и опускать их в воронку, на что непроизводительно расходуется рабочее время.
Целью изобретения является уменьшение рабочего времени на посадку семян, снижение утомляемости оператора и уменьшение трудоемкости работы.
Технический результат достигается тем, что в известном устройстве, включающем семяпровод, в верхней части которого закреплена воронка для семян, а в нижней части – заслонка для перекрытия отверстия семяпровода, установленная на семяпроводе с возможностью поворота посредством тяги и пружины, верхний конец семяпровода установлен в воронке для семян выше ее дна и снабжен съемной пробкой, а нижний конец семяпровода выполнен с пяткой, имеющей в передней части фартучную емкость и переходящей в задней части в лопатку, при этом пятка закреплена на семяпроводе под углом 120°.
Кроме того, воронка для семян разделена перегородками на секции, а заслонка выполнена в виде шарнирно закрепленного на семяпроводе шибера.
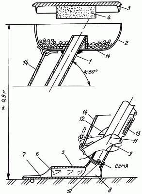
Конструкция устройства представлена на чертеже.
Основным элементом устройства является держатель – трубка, далее – семяпровод 1, который может быть выполнен из любого материала, например из стали. Внутренний диаметр семяпровода 1 должен быть достаточным для прохода семян, например фасоли, гороха и других. Общая длина семяпровода 1 (Н) соразмерна с ростом человека и приблизительно равна 0,9 м. К верхней части семяпровода 1 прикреплена воронка 2, причем конец верхней части семяпровода 1 должен несколько выступать над дном воронки 2, как это показано на фиг.1.
К нижней части бункера 2 укрепляется скоба для крепления верхнего конца тяги 3.
Воронка 2 имеет крышку 3 с пробкой 4 и разделена перегородками 14 на секции (две и более) для семян и сыпучих удобрений.
Нижний конец семяпровода 1 заканчивается пяткой 5, которая представляет собой отрезок трубки такого же диаметра, как и трубка (семяпровод) 1. Пятка 5 прикреплена к семяпроводу 1 под углом порядка 120°. Внутренняя полость пятки 5 заглушена пробкой 6. Заканчивается пятка 5 небольшой лопаткой 7, а ее передняя часть имеет фартучную камеру 8. В нижней части семяпровода 1 монтируется также шибер 9 с заслонкой 10. Шибер 9 закреплен на семяпроводе 1 шарнирно и может ограниченно поворачиваться вокруг цапфы 11. Шибер 9 имеет две щеки, обегающие семяпровод 1 и две цапфы. Поворот шибера 9 ограничивается упором 12 и прилеганием заслонки 10 к внутренней стенке семяпровода 1 под действием пружины 13. Поворот шибера 9 до упора 12 осуществляется тягой 14.
Устройство работает следующим образом.
Предусматривается, что гряды под посев подготовлены и имеют заранее проделанные борозды в поперечном направлении. Оператор берет в руку семяпровод 1 и устанавливает пятку 5 в борозду, при этом нижний конец семяпровода 1 с фартучной камерой 8 должны находиться там, где семя сажается в землю. Не следует пятку 5 с силой прижимать к земле, так как она может засорить выходное отверстие семяпровода 1. Он устанавливается по отношению к горизонтальной поверхности грядки под углом порядка 60°, что позволяет оператору стоять на меже, не затаптывая грядку. Далее, оператор берет свободной рукой семя из воронки 2 и опускает его в отверстие верхнего конца семяпровода 1. Скорость свободного падения семени в семяпроводе 1 гасится заслонкой 10, где оно задерживается. Затем оператор движением пальца той руки, которой он держит семяпровод 1, прижимает тягу 14 к семяпроводу 1. В результате тяга !4 воздействует на шибер 9 и поворачивает его до упора 12, при этом заслонка 10 открывается вместе с шибером 9 и перестает перекрывать отверстие семяпровода 1. Семя падает на землю с малой скоростью. Для того чтобы посадить второе семя и далее последующие, оператор слегка подымает семяпровод 1 с пяткой 5 и передвигает их на себя, устанавливая на расстоянии, равном промежутку посадки растений. Пятка 5 имеет мерную длину и отметки порядка пяти сантиметров, что помогает оператору определять расстояние посева семян по борозде.
Как уже говорилось, заслонка 10 шибера 9 гасит скорость свободного падения семени в семяпроводе 1. Если этого не делать, то семя с большой скоростью падает на землю и отскакивает рикошетом. Как правило, фартучная камера 8 удерживает семя от рикошета. Но возможно, из-за неровности борозды образуется щель между фартучной камерой 8 и землей. В эту щель семя может вылететь из борозды, что нарушает рядность посадки. При срабатывании шибера 9 с заслонкой 10 семя опускается на землю с малой скоростью, что обеспечивает соблюдение точности посадки. Если все же семя ложится в борозду не в расчетном месте, то в предлагаемом устройстве предусмотрена лопатка 7, которая является продолжением пятки 5. При помощи лопатки 7 можно передвинуть семя в нужном направлении или даже углубить и поправить борозду. При этом воронка 2 (если там есть семя и удобрение) закрывается крышкой 3 с пробкой 4, перекрывающей ход семени и удобрения в семяпровод 1.
В случае необходимости, в семяпровод 1 из воронки 2 можно спустить щепотку удобрений, которые во избежание засорения семяпровода должны быть сухими и по возможности гранулированными.
После завершения укладки семян в борозды грядок они разравниваются обратной стороной граблей, при этом семена засыпаются грунтом.
Экспериментальный образец описанного устройства изготовлен и успешно используется, обеспечивая меньшую утомляемость оператора при посадке семян.
Формула изобретения
1. Устройство для ручной посадки семян, включающее семяпровод, в верхней части которого закреплена воронка для семян, а в нижней части – заслонка для перекрытия отверстия семяпровода, установленная на семяпроводе с возможностью поворота посредством тяги и пружины, отличающееся тем, что верхний конец семяпровода установлен в воронке для семян выше ее дна и снабжен съемной пробкой, а нижний конец семяпровода выполнен с пяткой, имеющей в передней части фартучную емкость и переходящей в задней части в лопатку, при этом пятка закреплена на семяпроводе под углом 120°.
2. Устройство по п.1, отличающееся тем, что воронка для семян разделена перегородками на секции.
3. Устройство по п.1, отличающееся тем, что заслонка выполнена в виде шарнирно закрепленного на семяпроводе шибера.
РИСУНКИ
|
|