|
|
(21), (22) Заявка: 2004129357/12, 05.10.2004
(24) Дата начала отсчета срока действия патента:
05.10.2004
(43) Дата публикации заявки: 10.03.2006
(46) Опубликовано: 27.06.2006
(56) Список документов, цитированных в отчете о поиске:
RU 2192728 C1, 20.11.2002. RU 2067872 C1, 20.10.1996. SU 822836 А, 23.04.1981.
Адрес для переписки:
347740, Ростовская обл., г. Зерноград, ул. Ленина, 21, ФГОУ ВПО АЧГАА
|
(72) Автор(ы):
Газалов Владимир Сергеевич (RU), Пономарева Наталья Евдокимовна (RU)
(73) Патентообладатель(и):
Федеральное государственное образовательное учреждение высшего профессионального образования “Азово-Черноморская государственная агроинженерная академия” (ФГОУ ВПО АЧГАА) (RU)
|
(54) УСТРОЙСТВО ДЛЯ ПРЕДПОСЕВНОЙ ОБРАБОТКИ СЕМЯН ОПТИЧЕСКИМ ИЗЛУЧЕНИЕМ
(57) Реферат:
Изобретение относится к области сельского хозяйства и может быть использовано в хозяйствах для предпосевной стимуляции семян и получения дополнительной продукции растениеводства. Устройство содержит цилиндрический корпус и источник оптического излучения, подключенный через блок питания к источнику электропитания. Источник оптического излучения состоит из четного количества ламп, по крайней мере, из шести ламп ЛЭ-30. Максимум излучения указанных ламп приходится на диапазон длин волн 340-347 нм. Лампы равномерно распределены по внутренней стороне цилиндрического корпуса. Одни лампы подключены через дроссели блока питания соответственно к первой, второй и третьей фазам сети. Другие лампы подключены соответственно к тем же фазам сети через дроссели блока питания и дополнительные конденсаторы. Лампы с разным подключением к сети установлены с чередованием одна относительно другой для образования кругового вращающегося поля оптического излучения. Использование изобретения позволит повысить эффективность и равномерность обработки семенного материала. 1 з.п. ф-лы, 2 ил.
Изобретение относится к области сельского хозяйства, в частности к предпосевной обработке семян сельскохозяйственных культур, и может быть использовано в хозяйствах для предпосевной стимуляции семян и получения дополнительной продукции растениеводства.
Известно устройство /1/ для предпосевной обработки семян, содержащее бункер для семян и излучатели, размещенные внутри прозрачного для лучей транспортирующего элемента, установленного на раме. Транспортирующий элемент устройства выполнен в виде валиков, а излучатели размещены в каждом из них. Рама установлена с возможностью изменения угла наклона. Нечетные валики устройства соединены с рамой, а четные соединены между собой и установлены на раме с возможностью перемещения в вертикальной плоскости.
Недостатком данного устройства является сложность конструкции транспортирующего элемента и недостаточная равномерность облучения семенного материала.
Устройство /2/ для предпосевной обработки семян, содержащее ленточный транспортер, вал которого соединен с электроприводом, источник ультрафиолетового излучения, заключенный в кожух и установленный над лентой транспортера, вибратор, бункеры подачи и приемки зерна. Оно снабжено фотодатчиком определения дозы облучения семян, который расположен над лентой транспортера под источником ультрафиолетового излучения и через блок преобразования сигнала электрически связан с электроприводом ленточного транспортера. Вибратор жестко закреплен на валу ленточного транспортера и выполнен в виде звездочки с загнутыми концами, взаимодействующими с бункером подачи зерна и лентой транспортера. Бункер для подачи семян выполнен в виде телескопических цилиндров с совмещающимися прорезями для высыпания семян.
Недостатком данного устройства является повышенная энергоемкость оборудования и громоздкость конструкции.
Наиболее близким техническим решением к предлагаемому изобретению является устройство предпосевной обработки сельскохозяйственных культур, содержащее цилиндрический корпус, источник электромагнитного излучения, подключенный к источнику электропитания, и державку источника электромагнитного излучения, установленную по продольной оси корпуса. Устройство снабжено механическим акустическим резонатором, закрепленным на корпусе внутри него. Источник электромагнитного излучения выполнен в виде, по крайней мере, двух источников оптического излучения, установленных в державке, размещенной внутри механического акустического резонатора по его продольной оси. Цилиндрический корпус устройства выполнен с ручкой и рабочей частью, которая имеет поперечный дисковый кронштейн, в центре которого консольно закреплена с возможностью перемещения по оси рабочей части корпуса державка источников оптического излучения, равномерно размещенных в державке на равном расстоянии от оси рабочей части корпуса. В качестве источников излучения используют светодиоды и/или диодные лазеры, подключенные к источнику электропитания постоянного тока. Светодиоды и/или диодные лазеры имеют различные частотные характеристики оптического излучения. Длина волны оптического излучения источников лежит в области видимого и/или красного, и/или инфракрасного спектра, выбираемого из диапазона длин волн 400-980 нм. Обработку осуществляют в течение 5-20 минут.
Недостатком данного устройства являются большие, чем при проведении предпосевной обработки семян ультрафиолетовым излучением энергозатраты, связанные с длительностью обработки семян и использованием в качестве источников излучения светодиодов или диодных лазеров, работающих в диапазоне длин волн 400-980 нм.
Предлагаемым изобретением решается задача повышения эффективности предпосевной обработки семян за счет достижения большей равномерности обработки семенного материала, а также за счет применения эффективного диапазона спектра излучения, стимулирующего посевные качества семян.
Указанная задача решается тем, что в предлагаемом устройстве для предпосевной обработки семян, содержащем блок питания, цилиндрический корпус, источник оптического излучения, подключенный к источнику электропитания, источник оптического излучения состоит из четного количества ламп, по крайней мере, из шести ламп ЛЭ-30, максимум излучения которых приходится на диапазон длин волн 340-347 нм, источники оптического излучения равномерно распределены по внутренней стороне цилиндрического корпуса, причем одни лампы подключены через дроссели блока питания соответственно к первой, второй и третьей фазам сети, а другие лампы подключены соответственно к тем же фазам сети через дроссели блока питания и дополнительные конденсаторы, при этом лампы с разным подключением к сети установлены с чередованием одна относительно другой для образования кругового вращающегося поля оптического излучения; с помощью переходного элемента устройство устанавливается непосредственно на протравителе семян.
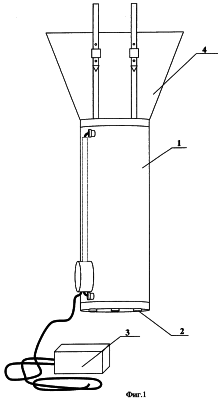
Изобретение поясняется чертежами. На фиг.1 изображен общий вид устройства для предпосевной обработки семян. На фиг.2 изображена схема электрическая принципиальная подключения ламп в устройстве для предпосевной обработки семян оптическим излучением.
Устройство для предпосевной обработки семян оптическим излучением содержит цилиндрический корпус 1, по крайней мере, шесть источников оптического излучения 2, в качестве которых используются лампы ЛЭ-30, равномерно распределенные по внутренней стороне цилиндрического корпуса 1 и подключенные к блоку питания 3. С помощью переходного элемента 4 устройство устанавливается на протравителе семян (не показано).
Устройство для предпосевной обработки семян работает следующим образом. Семена из протравителя семян через переходной элемент 4 попадают в цилиндрический корпус 1, где подвергаются воздействию кругового вращающегося поля оптического излучения. Цилиндрический корпус 1 служит отражателем, направляющим весь поток оптического излучения, создаваемый лампами ЛЭ-30, максимум излучения которых приходится на диапазон длин волн 340-347 нм, на обработку семян. Круговое вращающееся поле оптического излучения создается за счет того, что источники оптического излучения, в качестве которых используются лампы EL1, EL3, EL5 подключаются через дроссели соответственно к фазам сети L1, L2, L3 (фиг.2), а лампы EL2, EL4, EL6 к этим же фазам сети, но через дополнительные конденсаторы. Конденсаторы C1, C2, СЗ обеспечивают сдвиг в 30° между токами ламп EL1, EL3, EL5 и ламп EL2, EL4, EL6 соответственно. Таким образом, лампы, расположенные напротив друг друга в цилиндрическом корпусе 1, работают в противофазе и возникает круговое вращающееся поле оптического излучения. За счет этого, а также за счет того, что поток семян, находящихся в состоянии свободного падения, обладает большим коэффициентом пропускания оптического излучения, чем при движении сплошной массы семян по транспортеру достигается большая равномерность обработки.
Получаемый экспериментально диапазон длин волн 340-347 соответствуют максимуму параметров, характеризующих ростовые процессы: энергии прорастания, всхожести, длине ростков.
Источники информации
1. А.с. СССР №1240374, А 01 С 1/00, 1986 г.
2. Заявка РФ на изобретение №99117472/13, A 01 С 1/00, 2001 г.
3. Патент РФ №2192728, A 01 C 1/00, 2002 г. – прототип.
Формула изобретения
1. Устройство для предпосевной обработки семян оптическим излучением, содержащее цилиндрический корпус, источник оптического излучения, подключенный через блок питания к источнику электропитания, отличающееся тем, что источник оптического излучения состоит из четного количества ламп, по крайней мере, из шести ламп ЛЭ-30, максимум излучения которых приходится на диапазон длин волн 340-347 нм, равномерно распределенных по внутренней стороне цилиндрического корпуса, причем одни лампы подключены через дроссели блока питания соответственно к первой, второй и третьей фазам сети, а другие лампы подключены соответственно к тем же фазам сети через дроссели блока питания и дополнительные конденсаторы, при этом лампы с разным подключением к сети установлены с чередованием одна относительно другой для образования кругового вращающегося поля оптического излучения.
2. Устройство по п.1, отличающееся тем, что оно установлено на протравителе семян посредством переходного элемента.
РИСУНКИ
MM4A – Досрочное прекращение действия патента СССР или патента Российской Федерации на изобретение из-за неуплаты в установленный срок пошлины за поддержание патента в силе
Дата прекращения действия патента: 06.10.2006
Извещение опубликовано: 20.06.2008 БИ: 17/2008
|
|