|
|
(21), (22) Заявка: 2004111488/28, 14.04.2004
(24) Дата начала отсчета срока действия патента:
14.04.2004
(43) Дата публикации заявки: 20.10.2005
(46) Опубликовано: 20.06.2006
(56) Список документов, цитированных в отчете о поиске:
RU 2111591 С1, 20.05.1998. SU 964820 A1, 07.10.1982. SU 1640764 A1, 07.04.1991. WO 0197575 A1, 20.12.2001. WO 0101736 A1, 04.01.2001.
Адрес для переписки:
142190, Московская обл., г. Троицк, ул. Солнечная, 2, кв.55, В.М. Борисову
|
(72) Автор(ы):
Борисов Владимир Михайлович (RU), Виноходов Александр Юрьевич (RU), Иванов Александр Сергеевич (RU), Кирюхин Юрий Борисович (RU), Мищенко Валентин Александрович (RU), Прокофьев Александр Васильевич (RU), Христофоров Олег Борисович (RU)
(73) Патентообладатель(и):
Борисов Владимир Михайлович (RU), Виноходов Александр Юрьевич (RU), Иванов Александр Сергеевич (RU), Кирюхин Юрий Борисович (RU), Мищенко Валентин Александрович (RU), Прокофьев Александр Васильевич (RU), Христофоров Олег Борисович (RU)
|
(54) ЭУФ ИСТОЧНИК С ВРАЩАЮЩИМИСЯ ЭЛЕКТРОДАМИ И СПОСОБ ПОЛУЧЕНИЯ ЭУФ ИЗЛУЧЕНИЯ ИЗ ГАЗОРАЗРЯДНОЙ ПЛАЗМЫ
(57) Реферат:
Использование: для получения экстремального ультрафиолетового (ЭУФ) излучения из газоразрядной плазмы. Сущность: заключается в том, что в качестве электродов использованы два дискообразных элемента, центральные оси симметрии которых совмещены с осью вала, периферийная часть поверхности, по крайней мере, одного из электродов покрыта слоем легкоплавкого металла, и введена система подачи легкоплавкого металла на поверхность, по крайней мере, одного из электродов, а в качестве системы инициирования разряда применено устройство формирования парового канала в периферийной области межэлектродного зазора. Технический результат: повышение частоты следования импульсов и средней мощности ЭУФ излучения газоразрядной плазмы при обеспечении ее малых размеров, увеличение времени жизни и повышение эффективности ЭУФ источника при высокой стабильности излучения от импульса к импульсу. 2 н. и 6 з.п. ф-лы, 2 ил.
Изобретение относится к устройству и способу для получения преимущественно экстремального УФ излучения, а также рентгеновского и мягкого рентгеновского излучения из плотной горячей плазмы разрядов пинчевого типа с вращающимися электродами. Область применений включает ЭУФ литографию, в частности, в спектральном полосе 13.5±0.135 нм, отвечающей диапазону эффективного отражения зеркальной оптики с Mo/Si покрытием.
Известны устройство и способ для получения ЭУФ излучения из плазмы цилиндрического z-пинча в ксеноне с системой ВЧ инициирования разряда [1]. Для данных устройства и способа система формирования вспомогательного ВЧ разряда, совмещенная с разрядной камерой, препятствует эффективному охлаждению электродов, а диэлектрическая стенка разрядной камеры подвержена воздействию мощных потоков излучения, что ограничивает возможности повышения мощности ЭУФ излучения.
Частично этих недостатков лишен источник ЭУФ излучения, в котором между двумя электродами, имеющими соосные отверстия, размещен вращающийся дискообразный изолятор с множеством отверстий [2]. В способе получения ЭУФ излучения из газоразрядной плазмы посредством указанного устройства разряд пинчевого типа зажигают в момент совмещения оси одного из отверстий вращающегося изолятора с осью отверстий электродов. Однако в данном устройстве и способе не решена проблема эффективного охлаждения электродов и увеличения их времени жизни при повышении мощности ЭУФ излучения.
В значительной мере этих недостатков лишен способ получения ЭУФ излучения из лазерной плазмы, получаемой в режиме с высокой частотой следования импульсов при фокусировке импульсного лазерного пучка на субмиллиметровой мишени, содержащей рабочее вещество, линии излучения атомных элементов которого находятся в нужной области ЭУФ диапазона [3]. Устройство [3], реализующее указанный способ, включает в себя инжектор следующих друг за другом твердых или жидких субмиллиметровых мишеней, содержащих рабочее вещество, такое как ксенон (Хе), литий (Li), олово (Sn) или оксид олова (SnO2), и лазерную систему, формирующую мощный лазерный пучок с высокой частотой повторения. Один из недостатков источника ЭУФ излучения на основе лазерной плазмы обусловлен его малой по сравнению с газоразрядными ЭУФ источниками эффективностью.
Наиболее близким техническим решением, выбранным в качестве прототипа, является ЭУФ источник с вращающимися электродами, жестко закрепленными на валу, включающий в себя импульсную систему инициирования разряда и источник питания разряда, подсоединенный к электродам [4]. ЭУФ источник содержит n идентичных пар электродов с соосными отверстиями, размещенных на одинаковом расстоянии от оси вращения, при этом система инициирования разряда выполнена в виде устройства формирования вспомогательного скользящего разряда по поверхности цилиндрического диэлектрика, установленного неподвижно на том же расстоянии от оси вращения вала, что и n пар вращающихся электродов.
Способ получения ЭУФ излучения из газоразрядной плазмы посредством указанного устройства заключается в инициировании разряда между разнополярными электродами и зажигании разряда пинчевого типа при вращении с частотой вала [4]. В указанном способе инициируют разряд в момент совмещения оси одной из вращающихся электродных пар с осью неподвижной системы формирования вспомогательного разряда, осуществляя предыонизацию газа в разрядной зоне, и зажигают разряд пинчевого типа в газе или парогазовой смеси с частотой повторения f=n· последовательно в каждой из n электродных пар.
Прототип позволяет обеспечить большое время жизни электродов при высокой средней мощности ЭУФ излучения.
Недостатком прототипа является ограниченная возможность повышения частоты следования импульсов, что усложняет повышение средней мощности ЭУФ излучения до уровня, отвечающего требованиям индустриальных применений, к наиболее важному из которых относится ЭУФ литография на =13,5 нм. Указанный недостаток обусловлен тем, что в прототипе разряд пинчевого типа зажигают в разрядной зоне между электродами, имеющими осевую симметрию. Такая геометрия разряда определяет достаточно большое (>1 см) расстояние между осями соседних электродных пар, что при необходимых для ЭУФ литографии частотах следования импульсов ( 7 кГц) требует высоких (>70 м/сек), трудно реализуемых линейных скоростей вращения электродов. Кроме этого, в прототипе использование паров металла в качестве рабочего вещества может быть неоптимальным, поскольку возможность автоматической генерации таких паров предусмотрена на сильноточной фазе разряда, а не на стадии его инициирования.
Техническим результатом изобретения является повышение частоты следования импульсов и средней мощности ЭУФ излучения газоразрядной плазмы при обеспечении ее малых размеров, увеличение времени жизни и повышение эффективности ЭУФ источника при высокой стабильности излучения от импульса к импульсу.
Указанная задача может быть осуществлена усовершенствованием ЭУФ источника с вращающимися электродами, жестко закрепленными на валу, включающего в себя импульсную систему инициирования разряда и источник питания разряда, подсоединенный к электродам.
Усовершенствование устройства состоит в том, что в качестве электродов использованы два дискообразных элемента, центральные оси симметрии которых совмещены с осью вала, периферийная часть поверхности, по крайней мере, одного из электродов покрыта слоем легкоплавкого металла, и введена система подачи легкоплавкого металла на поверхность, по крайней мере, одного из электродов, а в качестве системы инициирования разряда применено устройство формирования парового канала в периферийной области межэлектродного зазора.
В качестве устройства формирования парового канала применен лазер или электронная пушка с системой фокусировки пучка на слой легкоплавкого металла, в качестве которого использовано рабочее вещество, преимущественно олово (Sn), плазма которого имеет линии излучения в ЭУФ диапазоне спектра.
В одном из вариантов реализации устройства система подачи легкоплавкого металла на поверхность электродов выполнена в виде двух ванн, заполненных жидким оловом, при этом электроды установлены с возможностью их частичного погружения в ванны при вращении.
Ванны могут быть электрически изолированы друг от друга, и источник питания подключен к вращающимся электродам посредством жидкого олова, заполняющего ванны.
В каждой ванне с жидким оловом может быть размещен теплообменник для отвода тепла от электродов.
Кроме этого, электроды могут быть снабжены лопастями для обеспечения циркуляции жидкого олова через теплообменник.
Способ получения ЭУФ излучения из плазмы газового разряда посредством источника ЭУФ излучения с вращающимися электродами заключается в инициировании разряда между разнополярными электродами и зажигании разряда пинчевого типа при вращении с частотой вала.
Усовершенствование способа состоит в том, что в периферийной, удаленной на расстояние R от оси вращения области межэлектродного зазора импульсно формируют канал из паров рабочего вещества для замыкания межэлектродного зазора величиной d, a затем осуществляют зажигание разряда пинчевого типа, при этом производят разрядные циклы с частотой повторения f 2 R/d и компенсируют расход рабочего вещества путем непрерывной подачи легкоплавкого металла на поверхность, по крайней мере, одного из электродов.
Усовершенствование способа также состоит в том, что формирование парового канала осуществляют импульсным лазерным или электронным пучком, сфокусированным на слой легкоплавкого металла.
Существо изобретения поясняется прилагаемыми чертежами.
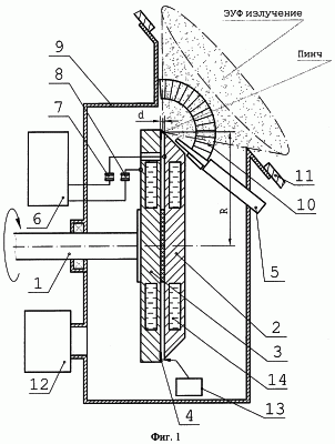
На фиг.1 схематично изображено устройство ЭУФ источника с вращающимися электродами. На фиг.2 – устройство ЭУФ источника, в котором покрытие электродов легкоплавким металлом осуществляется путем их частичного погружения в ванны с жидким оловом.
ЭУФ источник содержит жестко закрепленные на валу 1 электроды 2, 3, выполненные в виде дискообразных элементов, центральные оси симметрии которых совмещены с осью вала. Периферийная часть поверхности, по крайней мере, одного электрода 3 покрыта слоем 4 легкоплавкого металла. В качестве системы инициирования разряда ЭУФ источник содержит устройство 5 формирования парового канала, включающее в себя лазер или электронную пушку с системой фокусировки пучка на слой 4 легкоплавкого металла, покрывающий периферийную часть поверхности электрода 3. В качестве легкоплавкого металла используется рабочее вещество, преимущественно олово, атомные элементы которого имеют линии излучения в ЭУФ диапазоне спектра. Импульсный источник питания 6 подключен к электродам 2, 3 через скользящие контакты 7, 8. Скользящие контакты могут быть выполнены щеточными, жидкометаллическими, или плазменными. Импульсный источник питания может содержать такие элементы, как накопительный конденсатор с коммутатором, импульсный трансформатор, импульсный конденсатор и магнитный ключ. С целью снижения индуктивности разрядного контура часть элементов импульсного источника питания, например импульсный конденсатор и магнитный ключ, может быть установлена непосредственно на вращающихся электродах. Электроды 1, 2 размещены в разрядной камере 9. Вблизи разрядной зоны, положение которой определяется местом фокусировки пучка устройства 5 формирования парового канала, установлена ловушка 10, препятствующая распространению паров рабочего вещества и ионов плазмы разряда в область вывода ЭУФ излучения. К разрядной камере 9 подсоединена коллекторная камера 11, в которую осуществляют вывод ЭУФ излучения. Разрядная камера 9 снабжена системой вакуумной откачки 12 для обеспечения в ней низкого давления паров и газа, и уплотнением пары вращательного движения – для герметизации вала 1. В другом варианте устройства с целью герметизации вала 1 для его привода может использоваться магнитная муфта. ЭУФ источник также содержит систему 13 подачи легкоплавкого металла на поверхность, по крайней мере, одного из электродов. В качестве легкоплавкого металла используется рабочее вещество, преимущественно олово, плазма которого наиболее эффективно излучает в ЭУФ области спектра. Система 13 служит для подачи легкоплавкого металла на поверхность электродов 2, 3 одним из следующих методов: лужением (смачиванием), напылением, гидравлическим заполнением пористых структур, выполненных в материале электродов. С целью отвода тепла электроды 2, 3 снабжены каналами для циркуляции охлаждающей жидкости 14 (фиг.1).
В варианте устройства, показанном на фиг.2, оба вращающихся электрода 2, 3 покрыты слоем 4 олова. Для этого в области, оптически не связанной с разрядной зоной, размещены две ванны 15, 16 с жидким оловом 17, в которые частично погружены электроды. Ванны 15, 16 электрически изолированы друг от друга, при этом заполняющий ванны жидкий металл 17 одновременно служит в качестве жидкометаллических скользящих контактов, посредством которых источник питания 6 подключен к вращающимся электродам 2, 3. Кроме этого, с целью отвода тепла в ваннах 15, 16 с жидким оловом размещены теплообменники 18, внутри которых циркулирует охлаждающая жидкость. При этом каждый вращающийся электрод снабжен лопастями 19 для обеспечения циркуляции жидкого олова через теплообменники 18.
Способ получения ЭУФ излучения из газоразрядной плазмы реализуют следующим образом.
Вокруг оси вала 1 с частотой производят равномерное вращение жестко закрепленных на нем дискообразных электродов 2, 3, периферийная часть, по крайней мере, одного из которых покрыта слоем 4 легкоплавкого металла. При включении импульсного устройства 5 лазерным или электронным пучком, сфокусированным на слой 4 легкоплавкого металла в периферийной области межэлектродного зазора, испаряют оптимально малую порцию легкоплавкого металла. В результате формируется паровой канал, замыкающий разрядный промежуток между вращающимися электродами 2, 3 в фиксированной области пространства, определяемой местом фокусировки пучка. Включают импульсный источник питания 6 и производят зажигание разряда пинчевого типа в среде металлического пара и окружающего газа. Одной из разновидностей разряда пинчевого типа может быть сильноточная вакуумная искра. Ток разряда протекает по цепи, включающей в себя импульсный источник питания 6, скользящие контакты 7, 8, вращающиеся электроды 2, 3. В процессе протекания разрядного тока происходит дополнительное испарение легкоплавкого металла, что повышает плотность газоразрядной плазмы разряда. За счет применения в качестве легкоплавкого металла рабочего вещества, в частности олова, в парах которого осуществляется разряд пинчевого типа, обеспечивается высокоэффективное испускание из разрядной плазмы ЭУФ излучения. Используемую часть излучения выводят из разрядной камеры 9 через полупрозрачную ловушку 10 в коллекторную камеру 11. Ловушка 10 предотвращает попадание паров, продуктов эрозии электродов и плазменных потоков в коллекторную камеру 11. Для более эффективной работы ловушки 10 в нее вводят буферный газ, например Ar. После поворота электродов 2, 3 на угол, достаточный для выноса пробки горячего пара и газа из разрядной зоны, включающей в себя область фокусировки лазерного или электронного пучка системы формирования парового канала 5, цикл работы повторяют. Поскольку поперечные размеры плазменного пинча не превосходят размер d межэлектродного зазора, для пространственной стабилизации пинча достаточно производить сдвиг периферийной части электродов на расстояние, меньшее величины d. Это позволяет осуществлять разрядные циклы с частотой f>2 R/d, где R – расстояние от оси вала 1 до разрядной зоны. При R=300 мм, d=3 мм, =650 об/мин допустимая частота следования импульсов f превышает величину 7 кГц. В процессе работы с помощью системы вакуумной откачки 12 обеспечивают малое давление паров и газа в разрядной камере 10, что снижает поглощение ЭУФ излучения. Также в процессе работы с помощью системы 13 непрерывно подают на поверхность электрода 3 олово (Sn). Это компенсирует его убыль в результате разрядных импульсов. Охлаждение электродов 2, 3 производят циркулирующей в них охлаждающей жидкостью 14.
В варианте устройства, показанном на фиг.2, ток разряда пинчевого типа протекает по цепи, включающей в себя электроды 2, 3, импульсный источник питания 6 и скользящие контакты. За счет частичного погружения электродов в ванны 15, 16 с жидким металлом (оловом) 17 осуществляется подача легкоплавкого металла на поверхность обоих электродов методом их смачивания. Это обеспечивает восстановление расходуемого материала на обоих электродах, что повышает ресурс ЭУФ источника. В процессе работы тепло отводится от электродов через жидкий металл 17, заполняющий ванны 15, 16 к теплообменникам 18. Лопатки 19, которыми снабжены дискообразные электроды 2, 3, обеспечивают циркуляцию жидкого металла между электродами и теплообменниками 18, что улучшает охлаждение электродов.
Выполнение источника ЭУФ излучения с вращающимися электродами в указанном виде позволяет осуществлять разряд пинчевого типа в периферийной области дискообразных электродов, имеющей любую азимутальную координату. При этом в отличие от прототипа, содержащего дискретное количество вращающихся разрядных камер, не требуется тщательная синхронизация включения системы инициирования разряда с моментом прохождения вращающейся электродной системой определенной координаты. Это существенно упрощает работу источника ЭУФ излучения с вращающимися электродами. Кроме этого, в прототипе величина поворота электродной системы между очередными импульсами составляет несколько градусов, в то время как в предлагаемом ЭУФ источнике необходим поворот менее чем на десятые доли градуса. Это позволяет значительно увеличить частоту следования разрядных импульсов и среднюю мощность ЭУФ излучения при снижении скорости вращения. За счет этого достигается возможность получения средней мощности излучения, в частности на =13.5 нм, необходимой для индустриального применения в ЭУФ литографии с разрешением 50 нм.
Инициирование разряда путем формирования парового канала в периферийной области межэлектродного зазора обеспечивает высокую позиционную стабильность разряда пинчевого типа между вращающимися электродами и, как следствие, самого ЭУФ излучателя. Формирование парового канала импульсным лазерным или электронным пучком, сфокусированным на слой легкоплавкого металла на поверхности электрода, позволяет формировать паровой канал за малые времена в малом объеме, что наряду с высокой пространственной стабильностью ЭУФ излучателя позволяет получать малые размеры излучающей области, необходимые для основных применений.
Использование в качестве легкоплавкого металла рабочего вещества, преимущественно олова, обеспечивает получение высокой эффективности излучения разрядной плазмы в ЭУФ диапазоне спектра, в частности, вблизи =13.5 нм. При этом введение системы непрерывной подачи легкоплавкого металла на поверхность, хотя бы, одного из электродов, компенсирует расход рабочего вещества в процессе работы и обеспечивает высокую стабильность энергии ЭУФ излучения от импульса к импульсу.
Покрытие электродов легкоплавким металлом, осуществляемое путем их частичного погружения в ванны с жидким оловом, обеспечивает компенсацию происходящего в результате разрядных импульсов расхода материала обоих электродов. Это повышает время жизни электродной системы и ЭУФ источника в целом. Подключение источника питания к вращающимся электродам посредством жидкого олова, заполняющего ванны, обеспечивает подвод энергии к разряду через жидкометаллические контакты, обладающие высоким ресурсом. Размещение в каждой ванне с жидким оловом теплообменника и снабжение электродов лопастями для циркуляции жидкого олова через теплообменник обеспечивает высокую скорость охлаждения электродов с помощью жидкометаллического теплоносителя.
Таким образом, предлагаемые устройство и способ позволяют повысить эффективность и среднюю мощность ЭУФ излучения горячей плазмы разряда при уменьшении ее размеров, увеличить время жизни ЭУФ источника, повысить его пространственную и энергетическую стабильность.
Источники информации
1. Патент США 5504795; кл. США 378/119; заявлено 6.02.96.
2. Патент США 6677600; кл. США 250/504R; заявлено 27.03.2003.
3. Патент WO 03085707; МКИ6 Н 01 L 21/027, Н 05 Н 1/24; заявлено 04.04.2003.
4. Заявка на патент РФ №2002120301 от 31.07.2002.
Формула изобретения
1. Источник ЭУФ излучения с вращающимися электродами, жестко закрепленными на валу, включающий в себя импульсную систему инициирования разряда и источник питания разряда, подсоединенный к электродам, отличающийся тем, что в качестве электродов использованы два дискообразных элемента, центральные оси симметрии которых совмещены с осью вала, периферийная часть поверхности, по крайней мере, одного из электродов покрыта слоем легкоплавкого металла, и введена система подачи легкоплавкого металла на поверхность, по крайней мере, одного из электродов, а в качестве системы инициирования разряда применено устройство формирования парового канала в периферийной области межэлектродного зазора.
2. Источник ЭУФ излучения с вращающимися электродами по п.1, отличающийся тем, что в качестве устройства формирования парового канала применен лазер или электронная пушка с системой фокусировки пучка на слой легкоплавкого металла, в качестве которого использовано рабочее вещество, преимущественно олово (Sn), плазма которого имеет линии излучения в ЭУФ диапазоне спектра.
3. Источник ЭУФ излучения с вращающимися электродами по п.1, отличающийся тем, что система подачи легкоплавкого металла на поверхность электродов выполнена в виде двух ванн, заполненных жидким оловом, при этом электроды установлены с возможностью их частичного погружения в ванны при вращении.
4. Источник ЭУФ излучения с вращающимися электродами по п.3, отличающийся тем, что ванны электрически изолированы друг от друга и источник питания подключен к вращающимся электродам посредством жидкого олова, заполняющего ванны.
5. Источник ЭУФ излучения с вращающимися электродами по п.3, отличающийся тем, что в каждой ванне с жидким оловом размещен теплообменник для отвода тепла от электродов.
6. Источник ЭУФ излучения с вращающимися электродами по п.5, отличающийся тем, что электроды снабжены лопастями для обеспечения циркуляции жидкого олова через теплообменник.
7. Способ получения ЭУФ излучения из плазмы газового разряда посредством источника ЭУФ излучения с вращающимися электродами, заключающийся в инициировании разряда между разнополярными электродами и зажигании разряда пинчевого типа при вращении с частотой вала, отличающийся тем, что в периферийной, удаленной на расстояние R от оси вращения области межэлектродного зазора импульсно формируют канал из паров рабочего вещества для замыкания межэлектродного зазора величиной d, а затем осуществляют зажигание разряда пинчевого типа, при этом производят разрядные циклы с частотой повторения f 2 R/d и компенсируют расход рабочего вещества путем непрерывной подачи легкоплавкого металла на поверхность, по крайней мере, одного из электродов.
8. Способ получения ЭУФ излучения из плазмы газового разряда по п.7, отличающийся тем, что формирование парового канала осуществляют импульсным лазерным или электронным пучком, сфокусированным на слой легкоплавкого металла.
РИСУНКИ
MM4A – Досрочное прекращение действия патента СССР или патента Российской Федерации на изобретение из-за неуплаты в установленный срок пошлины за поддержание патента в силе
Дата прекращения действия патента: 15.04.2007
Извещение опубликовано: 20.07.2008 БИ: 20/2008
|
|