|
(21), (22) Заявка: 2004135417/28, 03.12.2004
(24) Дата начала отсчета срока действия патента:
03.12.2004
(30) Конвенционный приоритет:
06.12.2003 KR 2003-88404
(46) Опубликовано: 20.06.2006
(56) Список документов, цитированных в отчете о поиске:
US 6486594 B1, 26.11.2002. US 5905342 А, 18.05.1999. JP 8222187 A, 30.09.1996. JP 2183904 А, 18.07.1990. RU 2156517 C1, 20.09.2000. RU 2161875 С1, 10.01.2001.
Адрес для переписки:
129010, Москва, ул. Б.Спасская, 25, стр.3, ООО “Юридическая фирма Городисский и Партнеры”, пат.пов. А.В.Мицу
|
(72) Автор(ы):
ЛИ Дзи-Йоунг (KR), ЧОЙ Дзоон-Сик (KR), ДЗУНГ Юн-Чул (KR), ДЗЕОН Йонг-Сеог (KR), ПАРК Буеонг-Дзу (KR), КИМ Хиун-Дзунг (KR)
(73) Патентообладатель(и):
ЭЛ ДЖИ ЭЛЕКТРОНИКС ИНК. (KR)
|
(54) БЕЗЭЛЕКТРОДНАЯ ОСВЕТИТЕЛЬНАЯ СИСТЕМА
(57) Реферат:
Изобретение относится к источникам освещения и оптическим источникам, использующим микроволновый диапазон. Безэлектродная осветительная система содержит: магнетрон 101 для формирования микроволн, имеющий антенну 101а, по которой выводятся микроволны; резонатор 102, имеющий резонансное пространство, в котором резонируются микроволны и внутренний диаметр которого отчасти разный вдоль траектории прохождения микроволн; колбу 104, установленную внутри резонатора и заключающую в себе материал, испускающий световое излучение под воздействием микроволновой энергии, и линию 103 передачи микроволн, одна сторона которой соединена с антенной и другая сторона которой соединена с колбой для направления микроволн в колбу, и в которой соотношение наружного диаметра линии передачи микроволн и соотношение внутреннего диаметра резонатора, соответствующего наружному диаметру линии передачи микроволн, изменяются в направлении прохождения микроволн. Безэлектродная осветительная система выполнена с возможностью ее использования в качестве оптического источника электронного устройства за счет ее минимизации и обеспечения возможности согласования полных сопротивлений и регулирования резонансной частоты. 19 з.п. ф-лы, 9 ил.
Область техники
Настоящее изобретение относится к безэлектродной осветительной системе, и в частности к безэлектродной осветительной системе, выполненной с возможностью ее использования в качестве оптического источника электронного устройства за счет ее минимизации и возможности обеспечения оптимального согласования полных сопротивлений и регулирования резонансной частоты.
Уровень техники
Как правило, безэлектродная осветительная система, использующая микроволоновый диапазон, является системой, формирующей видимые лучи или ультрафиолетовые лучи из безэлектродной плазменной колбы при приложении микроволновой энергии к безэлектродной плазменной колбе. Безэлектродная осветительная система имеет более продолжительный срок службы, чем обычная лампа накаливания или люминесцентная лампа, и по сравнению с ними обеспечивает повышенный уровень освещения.
Фиг.1 показывает продольное сечение одного примера безэлектродной осветительной системы, использующей диапазон сверхвысоких частот в соответствии с известным уровнем техники.
Согласно Фиг.1 традиционная безэлектродная осветительная система, использующая микроволновый диапазон, содержит: корпус 1, имеющий некоторое внутреннее пространство; магнетрон 2, установленный в корпусе 1 для формирования микроволн; генератор 3 высокого напряжения для преобразования мощности переменного тока энергосистемы общего пользования в высокое напряжение, и для подачи его в магнетрон 2; волновод 4, установленный на одной стороне магнетрона 2 для направления микроволн, формируемых магнетроном 2; резонатор 6, установленный на выходе 4а волновода 4 и соединенный с волноводом 4 для экранирования утечки и прохождения микроволн через световое излучение; и колбу 5, установленную внутри резонатора 6 и возбуждающую заключенный в ней материал энергией сверхвысокой частоты, проходящей по волноводу 4, и испускающую световое излучение при генерировании плазмы.
Традиционная безэлектродная осветительная система, использующая диапазон сверхвысоких частот, также имеет отражатель 7, сформированный перед корпусом 1, периферическую область резонатора 6, и отражающий вперед световое излучение, генерируемое колбой 5.
Диэлектрическое зеркало 8 для направления волн сверхвысокой частоты (микроволн), проходящих по волноводу 4, и для отражения вперед испускаемого колбой 5 светового излучения, установлено внутри выходной части 41 волновода 4; и отверстие 8а, через которое проходит осевая часть 9 колбы 5, выполнено посередине диэлектрического зеркала 8.
Система 10 вентилятора охлаждения для охлаждения магнетрона 2 и генератора 3 высокого напряжения установлена на задней стороне корпуса 1. Ссылочное обозначение 10а обозначает кожух вентилятора, и 10b обозначает воздуходувный вентилятор, М1 обозначает электродвигатель колбы и М2 обозначает электродвигатель вентилятора.
Безэлектродная осветительная система, использующая микроволновый диапазон, работает следующим образом.
При подаче сигнала возбуждения в генератор 3 высокого напряжения генератор 3 высокого напряжения преобразует мощность переменного тока, чтобы обеспечивать магнетрон 2 высоким напряжением. Затем магнетрон 2 генерирует микроволны с сверхвысокой частотой с помощью высокого напряжения, генерируемого генератором 3 высокого напряжения. Сформированные микроволны направляются волноводом 4 и при этом проходят через выходную часть 4а волновода 4, и вводятся внутрь резонатора 6. За счет энергии микроволнового диапазона, вводимой внутрь резонатора 6, материал внутри колбы 5 возбуждается, и при этом формируется плазма. При этом генерируется световое излучение определенного спектра, и световое излучение отражается отражателем 7 вперед и диэлектрическим зеркалом 8 для освещения некоторого пространства.
Однако в традиционной безэлектродной осветительной системе волновод для направления микроволн, генерируемых из магнетрона внутрь резонатора, установлен между генератором высокого напряжения и магнетроном. В связи с этим общий размер системы увеличивается в соответствии с объемом волновода. Поэтому трудно уменьшить общий размер системы, и по этой причине безэлектродная осветительная система используется только как осветительная система для высокого выходного уровня.
Сущность изобретения
Поэтому цель настоящего изобретения заключается в обеспечении безэлектродной осветительной системы, выполненной с возможностью ее использования не только как источника освещения, но также и как оптического источника низкого выходного уровня в электронном устройстве путем уменьшения ее размеров.
Еще одна цель настоящего изобретения заключается в обеспечении безэлектродной осветительной системы, выполненной с возможностью обеспечения оптимального согласования полных сопротивлений и регулирования резонансной частоты.
Для обеспечения этих и других преимуществ и согласно цели настоящего изобретения в соответствии с излагаемыми здесь осуществлением и описанием обеспечивается безэлектродная осветительная система, содержащая: магнетрон для генерирования микроволн, имеющий антенну, по которой выводятся микроволны; резонатор, внутренний диаметр которого частично изменяется вдоль траектории прохождения микроволн и который имеет пространство, в котором осуществляется резонанс микроволн; колбу, установленную внутри резонатора, заключающую в себе испускающий световое излучение материал для испускания светового излучения за счет энергии диапазона сверхвысоких частот; и линию передачи микроволн, одна сторона которой соединена с антенной и другая сторона которой соединена с колбой для направления микроволн в колбу; при этом соотношение между наружным диаметром линии передачи микроволн и внутренним диаметром резонатора, соответствующим наружному диаметру линии передачи микроволн, изменяется в направлении хода распространения микроволн.
Вышеизложенные и прочие задачи, признаки, особенности и преимущества настоящего изобретения станут более очевидными из приводимого ниже подробного описания настоящего изобретения в совокупности с прилагаемыми чертежами.
Перечень фигур чертежей
Прилагаемые чертежи, поясняющие изобретение, включены в данное описание и составляют его неотъемлемую часть, и показывают осуществления изобретения, и в совокупности с описанием объясняют принципы изобретения.
На чертежах:
Фиг.1 – продольное сечение, показывающее безэлектродную осветительную систему согласно известному уровню техники;
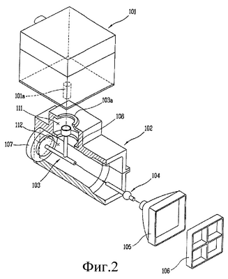
Фиг.2 – изображение в перспективе разобранной безэлектродной осветительной системы с низким выходным уровнем согласно настоящему изобретению;
Фиг.3 – продольное сечение безэлектродной осветительной системы с низким выходным уровнем согласно настоящему изобретению;
Фиг.4 – увеличенное изображение первой резонирующей части согласно настоящему изобретению;
Фиг.5 – продольное сечение, показывающее вариант осуществления средства регулирования резонансной частоты согласно настоящему изобретению;
Фиг.6 – продольное сечение, показывающее еще один вариант осуществления средства регулирования резонансной частоты согласно настоящему изобретению;
Фиг.7 – продольное сечение, показывающее вариант осуществления положения установки шлейфа согласно настоящему изобретению;
Фиг.8 – продольное сечение, показывающее еще один вариант осуществления положения установки шлейфа согласно настоящему изобретению;
Фиг.9 – продольное сечение, показывающее еще одно осуществление положения установки шлейфа согласно настоящему изобретению.
Сведения, подтверждающие возможность осуществления настоящего изобретения
Ниже приводится подробное описание предпочтительных вариантов осуществления настоящего изобретения, примеры которых показаны на прилагаемых чертежах.
Фиг.2 – изображение в перспективе разобранной безэлектродной осветительной системы с низким выходным уровнем согласно настоящему изобретению;
Фиг.3 – продольное сечение безэлектродной осветительной системы с низким выходным уровнем согласно настоящему изобретению.
Согласно Фиг.2 и 3 безэлектродная осветительная система согласно настоящему изобретению содержит: магнетрон 101 для испускания генерируемых в нем микроволн соответственно при воздействии внешнего источника энергии через антенну, предусмотренную на одной его стороне; резонатор 102, на котором установлена одна поверхность магнетрона 101, так что в нем может быть установлена антенна 101а, и внутри которого имеется резонансное пространство, внутренний диаметр которого частично изменяется вдоль траектории распространения микроволн; колбу 104, установленную в резонансном пространстве резонатора 102 и которая заключает в себе материал, возбуждаемый резонируемыми микроволнами, и которая испускает световое излучение при образовании плазмы; линию 103 передачи микроволн, установленную в резонансном пространстве резонатора 102, и одна сторона которой соединена с антенной 101а магнетрона 101 и другая сторона которого соединена с колбой 104 для направления микроволн в колбу 104 от антенны 101а; отражатель 105 для отражения светового излучения вперед, генерируемого, когда заключенный в колбе материал возбуждается микроволновой энергией; и окно 106, выполненное на передней поверхности отражателя 105, которое экранирует утечку электромагнитных волн и предохраняет колбу 104.
Резонатор 102 состоит из первой резонирующей части 111, выполненной в виде проводника, имеющего вставочное отверстие на одной своей поверхности, с возможностью размещения магнетрона 101, при этом антенну 101а можно вставить в магнетрон; и имеет многокамерное резонансное пространство в виде камер, расположенных на одной оси, при этом внутренний диаметр резонансного пространства частично изменяется; и имеет вторую резонирующую часть 112, перпендикулярную первой резонирующей части 111 и соединенную с первой резонирующей частью 111, и имеющую цилиндрическое резонирующее пространство определенного диаметра, и колбу 104 в резонирующем пространстве.
Первая резонирующая часть 111 содержит: вводную часть 114, через которую проходит антенна 101; расширенную часть 115, которая проходит от вводной части 114, соединена с антенной 101а и линией 103 передачи микроволн, и через которую проходит линия 103 передачи микроволн; и суженную часть 116, сформированную как резонансное пространство внутри выступающей части 117, через которое проходит линия 103 передачи микроволн; при этом выступающая часть 117 выступает на внутренней круговой поверхности расширенной части 115, при этом расширенная часть 115 и вторая резонирующая часть 112 соединены друг с другом в окружном направлении с определенной толщиной и длиной в направлении центральной оси расширенной части 115.
Первая резонирующая часть выполнена с разными внутренними диаметрами вводной части 114, расширенной части 115 и суженной части 116. При этом внутренний диаметр суженной части 116, предпочтительно сконструирован большим, чем внутренний диаметр вводной части. Однако внутренний диаметр суженной части может быть выполнен меньшим, чем диаметр вводной части 114 в соответствии с изменением конфигурации.
Установочная часть 103а, выступающая на определенную высоту, сформирована на внешней круговой поверхности вводной части 114 первой резонирующей части 111. На установочной части 103а установлен магнетрон 101, в результате чего антенну 101а можно вставить в вводную часть 114.
Линия 103 передачи микроволн, сформирована как проводник, состоит из: соединительной части 121, в которой выполнен направляющий паз, по которому можно вставить антенну 101 для соединения антенны с соединительной частью; при этом наружный диаметр указанной части больше диаметра антенны 101а, и указанная часть расположена в резонансном пространстве расширенной части 115; из первой линии передачи 122, выполненной заодно на одной стороне соединительной части 121 и проходящей от расширенной части 115 во вторую резонирующую часть 112 через соединительную часть 116; и из второй линии передачи 123, вертикально соединенной с первой линией 122 передачи во второй резонирующей части 112, и один конец которой соединен с колбой 104.
Первая линия 122 передачи предпочтительно выполнена на одной оси с антенной 101а и соединительной частью 121 линии 103 передачи микроволн для ровной передачи микроволн, генерируемых магнетроном 101 и для оптимальной настройки по частоте. Первая линия 122 передачи предпочтительно пересекает центр резонансного пространства, сформированного в первой резонирующей части 111; резонансное пространство, в котором диаметры антенны 101, соединительной части 121 линии 103 передачи микроволн и первой линии 121 передачи постепенно изменяются от вводной части 114 к суженной части 116.
Диаметр первой линии 122 передачи меньше диаметра соединительной части линии 103 передачи микроволн. Но также возможно выполнение диаметра первой линии 122 передачи меньшим или более крупным, чем диаметр антенны 101 в соответствии с согласованием полных сопротивлений и регулированием резонансной частоты.
Полные сопротивления можно эффективно согласовывать и резонансную частоту регулировать путем изменения наружных диаметров антенны 101а и линии 103 передачи микроволн, и внутреннего диаметра резонатора 102, соответствующего наружным диаметрам антенны 101а и линии 103 передачи микроволн в направлении распространения микроволн.
То есть, заданы разные соотношения между внутренними диаметрами резонансного пространства внутри первой резонирующей части 111 и наружными диаметрами антенны 101а, соединительной части 121 линии 103 передачи микроволн и первой линии 122 передачи, соответствующими внутреннему диаметру резонансного пространства.
В частности, согласно Фиг.4, где показана первая резонансная часть 111 безэлектродной осветительной системы согласно настоящему изобретению, заданы разными: соотношение между наружным диаметром “а” антенны 101а и внутренним диаметром “b” вводной части 114; соотношение между наружным диаметром “с” соединительной части 121 линия 103 передачи микроволн и внутренним диаметром “d” расширенной части 115 и соотношение между наружным диаметром “е” первой линии 122 передачи микроволн и внутренним диаметром “f” суженной части 116.
Предпочтительным является вариант осуществления, согласно которому заданы разными: соотношение между наружным диаметром “а” антенны 101а и внутренним диаметром “d” расширенной части 115, через которую проходит антенна 101а; и соотношение между наружным диаметром “е” первой линия 122 передачи и внутренним диаметром “d” расширенной части 115, через которую проходит первая линия 122 передачи.
Согласно этому варианту осуществления возможно эффективное согласование полных сопротивлений безэлектродной осветительной системы и эффективное регулирование резонансной частоты в соответствии с данным изобретением.
Для более эффективного согласования полных сопротивлений и регулирования резонанса во второй резонирующей части 112 установлено средство 107 регулирования резонансной частоты – Фиг.2 и 3.
Средство 107 регулирования резонансной частоты установлено на стороне, противоположной установочной стороне колбы 104, то есть на поверхности стенки задней стороны цилиндрической второй резонирующей части 112.
Средство 107 регулирования резонансной частоты имеет вставочное отверстие в его центре, в которое вставляется один конец второй линии 123 передачи, и оно выполнено в форме диска, который изменяет объем резонансного пространства второй резонирующей части 112, перемещаясь назад и вперед вдоль второй линии 123 передачи.
Средство 107 регулирования резонансной частоты, выполнено в виде диска, фиксируется в положении, которое обеспечивает оптимальное согласование полных сопротивлений и оптимальную резонансную частоту.
Положение средства 107 регулирования резонансной частоты определяется вручную или с помощью внешнего устройство перед упаковкой резонатора 102 и поэтому не требуется какое-либо дополнительное устройство для регулирования положения средства 107 регулирования резонансной частоты в безэлектродной осветительной системе согласно настоящему изобретению.
Средство 107 регулирования резонансной частоты можно выполнить в нескольких формах для более эффективного согласования полных сопротивлений и регулирования резонансной частоты.
Фиг.5 и 6 представляют продольные сечения средства регулирования резонансной частоты.
Согласно Фиг.5 дисковый элемент сформирован из проводника в виде множества камер в виде ступенек, имеющих разные наружные диаметры. Диаметр более крупного диска согласован с внутренним диаметром второй резонирующей части 112 и поэтому объем резонансного пространства второй резонирующей части 112 можно регулировать за счет перемещения назад и вперед средства 107 регулирования резонансной частоты.
Согласно Фиг.6 наружная круговая поверхность “ступенек” дискового элемента может иметь наклон под определенным углом.
В безэлектродной осветительной системе с низким выходным уровнем согласно настоящему изобретению по меньшей мере один шлейф 125 можно установить дополнительно внутри второй резонирующей части 112 для более эффективного согласования полных сопротивлений и регулирования резонансной частоты, и для оптимальной передачи диапазона сверхвысоких частот в колбу.
Согласно Фиг.7 по меньшей мере один шлейф 125 установлен на внутренней круговой поверхности стенки второй резонирующей части 112. Шлейф 125 направлен в сторону второй линии передачи 123, проходящей по центру второй резонирующей части 112.
Согласно Фиг.7 шлейф 125 предпочтительно сформирован на одной оси с первой линией передачи 122.
Согласно Фиг.8 шлейф 125 выступает на одной стороне второй линии передачи 123 на определенную величину высоты, и предпочтительно размещен на одной оси с первой линией передачи 122.
Согласно Фиг.9 шлейф 125 соединяет внутреннюю поверхность стенки второй линии передачи 123 и внутреннюю поверхность стенки второй резонирующей части 112. Здесь шлейф 125 расположен на одной оси с первой линией 122 передачи.
Шлейф 125, устанавливаемый в том или ином местоположении внутри второй резонирующей части 112, имеет форму многоугольника или цилиндра.
Способ установки шлейфа 125 внутри второй резонирующей части 112 предусматривает составной способ указанных выше примеров вариантов осуществления изобретения.
Как указано выше, путем регулирования положения, формы и размера шлейфа 125, расположенного внутри второй резонирующей части 112, микроволны можно более эффективным образом передавать на сторону колбы.
Колба 104 состоит из светоизлучающей части 131 сферической формы, имеющей предварительный определенный внутренний объем, в котором заключен светоизлучающий материал; опорную часть 132, выходящую, как выполненная заодно с ней, из светоизлучающей части 131 и соединенную с одним концом второй линии передачи 123; и из пары электродов 133, расположенных напротив друг друга в светоизлучающей части 131.
Светоизлучающая часть 131 предпочтительно сформирована из материала с высоким значением коэффициента пропускания и с низким уровнем диэлектрических потерь, из такого как кварц. Светоизлучающий материал, заключенный в светоизлучающей части 131, включает: металл, соединение галогеновой группы, сера и пр., которые индуцируют световое излучение при образовании плазмы; такие инертные газы, как аргон, криптон и пр., для образования плазмы в светоизлучающей части 131 в первоначальном состоянии испускания светового излучения; и такой катализатор разряда, как Hg, для содействия освещению путем катализирования исходного разряда или для регулирования спектра формируемого светового излучения.
Опорная часть 132, выполненная из того же материала, что и светоизлучающая часть 131, проходит из светоизлучающей части 131 и расположена на одной оси со второй линией 123 передачи линии передачи 103 микроволн. Одна, фокусирующаяся в дуге, опора 133 частично выступает в наружном направлении на внутренней стороне опорной части 132, и концевая часть фокусирующейся в дуге выступающей опоры 133 вставлена в концевую часть второй линии 123 передачи.
Отражатель 105 имеет овальную форму с определенной кривизной, или форму, аналогичную овальной, и установлен между второй линией 123 передачи и колбой 104, закрывая одну сторону колбы 104, при этом отражая вперед исходящее от колбы 104 световое излучение.
Окно 106 расположено в отверстии отражателя 105 и выполнено в виде решетки для пропускания светового излучения, генерируемого колбой 104 и для предотвращения утечки микроволн.
Окно 106 может быть выполнено в виде прозрачной пластины для пропускания светового излучения и для предотвращения утечки вредного материала, запаянного в колбе 104, в случае ее поломки. Окно 106 может иметь любую форму, такую как сетка и пр., и может быть выполнено из любого материала, пропускающего световое излучение и экранирующее микроволны.
Далее следует пояснение функционирования безэлектродной осветительной системы с низким выходным уровнем.
Микроволны генерируется магнетроном 101 и выводятся через антенну 101в. Микроволны проходят через первую резонирующую часть 111 резонатора 102; причем соотношения между внутренними диаметрами имеющего уступы резонирующего пространства и наружными диаметрами волновода микроволн, т.е. антенны 101а, соединительной части 121 линии передачи 103 микроволн и первой линии 123 передачи заданы разными. После прохождения через первую резонирующую часть 111 микроволны направляются в колбу 104 через первую линию 122 передачи и вторую линию 123 передачи, резонируя во второй резонирующей части 112, где установлено в определенном положении средство 107 регулирования резонансной частоты и по меньшей мере один шлейф 125 выполнен с возможностью оптимального согласования полных сопротивлений и регулирования резонансной частоты.
Поступившие в колбу 104 микроволны создают сильное электрическое поле между фокусирующимися в дуге опорами 133, установленными в светоизлучающей части 141 колбы; и инертный газ, заключенный внутри светоизлучающей части 141, возбуждается электрическим полем. Выделяемое во время разряда тепло испаряет светоизлучающий материал, и при этом образуется плазма; причем плазма постоянно поддерживает разряд, вызываемый микроволнами, в результате чего происходит световое излучение высокой световой эффективности. Световое излучение отражается вперед отражателем 105 и может использоваться в качестве требуемого оптического источника.
Как указано выше, в безэлектродной осветительной системе согласно настоящему изобретению антенна магнетрона установлена в резонансном пространстве первой резонирующей части, выполненной внутри резонатора; и соединенная с антенной линия передачи микроволн установлена внутри первой и второй резонирующих частей резонатора. Согласно этому осуществлению: генерируемые магнетроном микроволны направляются в колбу по линии передачи микроволн и обусловливает световое излучение. Поэтому такое дополнительное устройство, как волновод, генератор высокого напряжения, электродвигатель и пр. не требуется; причем эту безэлектродную осветительную систему можно изготовить с очень небольшими размерами, чтобы использовать ее в качестве миниатюрного оптического источника, как оптический источник проекционного телевизора.
Поскольку соотношения между внутренними диаметрами имеющего ступеньки резонансного пространства первой резонирующей части и наружными диаметрами средства передачи микроволн, т.е. антенны, соединительной части линии передачи микроволн и первой линии передачи, заданы разными, поэтому обеспечивается оптимальное согласование полных сопротивлений и регулирование резонансной частоты. Тем самым возможно оптимизирование микроволновой энергии, передаваемой в колбу.
Благодаря установке средства регулирования резонансной частоты внутри второй резонирующей части и также за счет наличия по меньшей мере одного шлейфа можно повысить эффективность согласования полных сопротивлений и регулирования резонансной частоты.
Поскольку данное изобретение можно осуществить в нескольких видах в рамках его концепции и его существенных характеристик, поэтому нужно отметить, что описываемые выше варианты осуществления не ограничиваются подробностями приводимого выше описания, если это прямо не оговаривается; и данное изобретение следует истолковывать широко в рамках его концепции и объема, определяемых в прилагаемой формуле изобретения; и поэтому все изменения и варианты, не выходящие за пределы формулы изобретения или их эквивалентов, считаются включенными в прилагаемую формулу изобретения.
Формула изобретения
1. Безэлектродная осветительная система, содержащая магнетрон для формирования микроволн, имеющий антенну, по которой выводятся микроволны; резонатор, имеющий резонансное пространство, в котором резонируются микроволны, и внутренний диаметр которого, частично разный вдоль траектории прохождения микроволн; колбу, установленную внутри резонатора и заключающую в себе материал, испускающий световое излучение под воздействием микроволновой энергии; и линию передачи микроволн, одна сторона которой соединена с антенной и другая сторона которой соединена с колбой для направления микроволн в колбу, при этом соотношение наружного диаметра линии передачи микроволн и соотношение внутреннего диаметра резонатора, соответствующего наружному диаметру линии передачи микроволн, изменяются в направлении постепенного прохождения микроволн.
2. Осветительная система по п.1, отличающаяся тем, что резонатор состоит из первой резонирующей части, в которую установлена антенна и которая имеет резонансное пространство, выполненное в виде ступенек на общей оси, при этом резонансное пространство частично имеет разные внутренние диаметры, и второй резонирующей части, имеющей цилиндрическое резонансное пространство, перпендикулярное первой резонирующей части, и соединенной с первой резонирующей частью; и имеющей колбу внутри нее.
3. Осветительная система по п.2, отличающаяся тем, что первая резонирующая часть содержит вводную часть, через которую проходит антенна; расширенную часть, проходящую от вводной части и соединенную с антенной и линией передачи микроволн, и по которой проходит линия передачи диапазона микроволн, суженную часть, сформированную в виде резонансного пространства внутри выступающей части, через которое проходит линия передачи микроволн, при этом выступающая часть выступает из внутренней круговой поверхности расширенной части с определенной шириной и длиной в направлении к центральной оси расширенной части.
4. Осветительная система по п.3, отличающаяся тем, что внутренние диаметры вводной части, расширенной части и суженной части отличаются друг от друга.
5. Осветительная система по п.1 или 3, отличающаяся тем, что линия передачи микроволн состоит из соединительной части, в которой выполнен вставляющий паз, с помощью которого можно установить антенну, чтобы соединить антенну с соединительной частью и установить антенну в резонансном пространстве расширенной части; первой линии передачи, сформированной на одной стороне соединительной части и проходящей от расширенной части во вторую резонирующую часть через суженную часть; второй линии передачи, вертикально соединенной с первой линией передачи во второй резонирующей части и один конец которой соединен с колбой.
6. Осветительная система по п.5, отличающаяся тем, что соединительная часть и первая линия передачи пересекают центр первой резонирующей части.
7. Осветительная система по п.5, отличающаяся тем, что соотношение между наружным диаметром антенны и внутренним диаметром вводной части, через которую проходит антенна, соотношение между наружным диаметром соединительной части и внутренним диаметром расширенной части, через которую проходит соединительная часть, соотношение между наружным диаметром первой линии передачи и внутренним диаметром суженной части, через которую проходит первая линия передачи, заданы разными, соответственно.
8. Осветительная система по п.5, отличающаяся тем, что средство регулирования резонансной частоты для регулирования резонансной частоты микроволн, направляемых во вторую резонирующую часть, установлено во второй резонирующей части.
9. Осветительная система по п.8, отличающаяся тем, что в своем центре средство регулирования резонансной частоты имеет вставочное отверстие, в которое вставляется один конец второй линии передачи, и оно сформировано в форме диска, который изменяет объем резонансного пространства второй резонирующей части при его перемещении назад и вперед вдоль второй линии передачи.
10. Осветительная система по п.9, отличающаяся тем, что указанный диск имеет несколько ступенек с разными наружными диаметрами.
11. Осветительная система по п.10, отличающаяся тем, что наружная круговая поверхность ступенек каждого диска имеет наклон под определенным углом.
12. Осветительная система по п.9, отличающаяся тем, что корпусом диска является проводник.
13. Осветительная система по п.2, отличающаяся тем, что внутренняя круговая поверхность резонансного пространства второй резонирующей части имеет по меньшей мере один шлейф, который выступает на определенную высоту для согласования полных сопротивлений и регулирования резонансной частоты.
14. Осветительная система по п.13, отличающаяся тем, что шлейф имеет цилиндрическую форму.
15. Осветительная система по п.13, отличающаяся тем, что шлейф имеет многоугольную форму.
16. Осветительная система по п.7, отличающаяся тем, что вторая линия передачи имеет шлейф, который выступает на определенную высоту для регулирования резонансной частоты и согласования полных сопротивлений на одной ее стороне.
17. Осветительная система по п.16, отличающаяся тем, что шлейф выполнен на одной оси с первой линией передачи.
18. Осветительная система по п.16, отличающаяся тем, что один конец шлейфа выступает и соединен с внутренней круговой поверхностью резонансного пространства второй резонирующей части.
19. Осветительная система по п.16, отличающаяся тем, что шлейф имеет цилиндрическую форму.
20. Осветительная система по п.16, отличающаяся тем, что шлейф имеет многоугольную форму.
РИСУНКИ
MM4A – Досрочное прекращение действия патента СССР или патента Российской Федерации на изобретение из-за неуплаты в установленный срок пошлины за поддержание патента в силе
Дата прекращения действия патента: 04.12.2009
Извещение опубликовано: 10.11.2010 БИ: 31/2010
|