|
|
(21), (22) Заявка: 2004104196/09, 13.02.2004
(24) Дата начала отсчета срока действия патента:
13.02.2004
(30) Конвенционный приоритет:
14.02.2003 KR 2003-9393
(43) Дата публикации заявки: 27.07.2005
(46) Опубликовано: 20.06.2006
(56) Список документов, цитированных в отчете о поиске:
ЕР 1049349 А1, 02.11.2000. RU 2198467 С2, 10.02.2003. WO 02/100125 A1, 12.12.2002. WO 03/019819 A1, 26.08.2002.
Адрес для переписки:
129010, Москва, ул. Б. Спасская, 25, стр.3, ООО “Юридическая фирма Городисский и Партнеры”, пат.пов. Ю.Д.Кузнецову, рег.№ 595
|
(72) Автор(ы):
ХЕО Йоун-Хиоунг (KR), ЛИ Дзу-Хо (KR), КВАК Йонг-Дзун (KR), ЧОЙ Сунг-Хо (KR), КИМ Янг-Бум (KR)
(73) Патентообладатель(и):
САМСУНГ ЭЛЕКТРОНИКС КО.,ЛТД (KR)
|
(54) СИСТЕМА И СПОСОБ ПОВТОРНОЙ ПЕРЕДАЧИ ДАННЫХ ОБРАТНОЙ ЛИНИИ СВЯЗИ В СИСТЕМЕ СВЯЗИ МНОГОСТАНЦИОННОГО ДОСТУПА С КОДОВЫМ РАЗДЕЛЕНИЕМ КАНАЛОВ
(57) Реферат:
Изобретение относится к системе связи многостанционного доступа с кодовым разделением каналов (МДКР). Достигаемым техническим результатом является обеспечение стабильной повторной передачи данных обратной линии связи. Для этого система связи МДКР содержит узел В, абонентское оборудование (АО), расположенное в зоне узла В, соседний узел В, расположенный рядом с узлом В и имеющий зону мягкой передачи обслуживания, в которой соседний узел В перекрывается с узлом В, и контроллер радиосети (КРС), подсоединенный к узлу В и соседнему узлу В. Когда АО расположено в зоне немягкой передачи обслуживания в зоне узла В, оно передает данные обратной линии связи на узел В в течение заранее определенного первого интервала времени передачи. Когда АО расположено в зоне мягкой передачи обслуживания, оно передает данные обратной линии связи на узел В и соседний узел В в течение заранее определенного второго интервала времени передачи. 3 н. и 12 з.п. ф-лы, 5 ил.
ПРЕДПОСЫЛКИ СОЗДАНИЯ ИЗОБРЕТЕНИЯ
1. Область техники, к которой относится изобретение
Настоящее изобретение относится, в целом, к системе связи многостанционного доступа с кодовым разделением каналов (МДКР) и, в частности, к системе и способу повторной передачи данных по линии “вверх” (обратной линии связи) в соответствии с режимом работы канала абонентского оборудования (АО).
2. Описание известного уровня техники
С развитием техники связи асинхронные системы связи МДКР эволюционируют в высокоскоростные системы связи с передачей пакетных данных, такие как система связи с высокоскоростным пакетным доступом линии “вниз” (ВПДЛВ). Система связи ВПДЛВ представляет систему связи, поддерживающую схему передачи данных, включающую в себя каналы управления, связанные с высокоскоростным совместно используемым каналом линии “вниз” (прямой линии связи) (ВСКЛВ) для поддержки высокоскоростной передачи пакетов по линии “вниз” в системе связи универсальной системы подвижной связи (УСПС), разрабатываемой, главным образом, в Европе. Для поддержки схемы ВПДЛВ были предложены схема адаптивной модуляции и кодирования (АМиК), схема гибридного автоматического запроса на повторную передачу (ГАЗПП) и схема секции быстрой соты (СБС). Ниже описывается с ссылкой на фиг.1 структура системы связи широкополосного многостанционного доступа с кодовым разделением каналов (ШМДКР), т.е. обычная система связи УСПС.
На фиг.1 представлена схема, схематически изображающая структуру обычной системы связи ШМДКР. Система связи ШМДКР содержит базовую сеть (БС) 100, множество подсистем 110 и 120 радиосети (ПРС) и абонентское оборудование (АО) 130. Каждая из ПРС 110 и 120 содержит контроллер радиосети (КРС) и множество узлов В (также называемых “сотами” в нижеследующем описании). Более конкретно, ПРС 110 содержит КРС 111 и множество узлов В 113 и 115, и ПРС 120 содержит КРС 112 и множество узлов В 114 и 116. КРС классифицируются на обслуживающий КРС (ОКРС), пассивный КРС (ПКРС) или управляющий КРС (УКРС) по их функциям. ОКРС и ПКРС классифицируются в соответствии с их функциями для каждого АО. КРС, который управляет информацией на АО и управляет обменом данными с базовой сетью, является ОКРС, и, когда данные АО передаются на ОКРС, не непосредственно, но через конкретный КРС, то конкретный КРС называется ПКРС АО.
УКРС представляет КРС, управляющий каждым узлом В. Например, на фиг.1, если КРС 111 управляет информацией на АО 130, то он служит в качестве ОКРС для АО 130, и, если данные АО 130 передаются через КРС 112, вследствие перемещения АО 130, то КРС 112 становится ПКРС для АО 130. КРС 111, управляющий узлом В 113, становится УКРС узла В 113.
Ниже приводится описание схемы ГАЗПП с ссылкой на фиг.1, в частности, схемы n-канального гибридного автоматического запроса на повторную передачу с остановкой и ожиданием (n-канальный ГАЗПП с ОИО). Схема n-канального ГАЗПП с ОИО представляет собой вновь введенную схему, которая использует схему мягкого объединения и схему ГАЗПП для повышения эффективности общей схемы автоматического запроса на повторную передачу с остановкой и ожиданием (АЗПП с ОИО). Ниже описываются схема мягкого объединения и схема ГАЗПП.
1. Мягкое объединение
В схеме мягкого объединения приемник временно хранит поврежденные данные в мягком буфере и затем объединяет их с повторно переданными данными соответствующих данных для уменьшения коэффициента ошибок. Схема мягкого объединения классифицируется на схему объединения Чейза (ОЧ) и схему с нарастающей избыточностью (НИ).
В схеме ОЧ передатчик передает данные, используя одинаковый формат как для начальной передачи, так и для повторной передачи. Если m символов были переданы в виде одного кодированного блока во время начальной передачи, то эти же m символов передаются в виде такого же одного кодированного блока во время повторной передачи. “Кодированный блок” относится к абонентским данным, которые передаются в течение одного интервала времени передачи (ИВП). Т.е. в схеме ОЧ эта же скорость кодирования также применяется для начальной передачи и повторной передачи. Затем приемник объединяет первоначально переданный кодированный блок с повторно переданным кодированным блоком и выполняет операцию проверки при помощи циклического избыточного кода (ЦИК), используя объединенный кодированный блок для обнаружения появления каких-либо возможных ошибок. В схеме с НИ передатчик использует различные форматы для начальной передачи и повторной передачи. Если n-битовые абонентские данные были сгенерированы в m символов в результате канального кодирования, то передатчик передает только некоторые из m символов при начальной передаче и последовательно передает оставшиеся символы при повторной передаче. Т.е. скорость кодирования для начальной передачи отличается от скорости кодирования для повторной передачи. Приемник затем формирует кодированный блок с высокой скоростью кодирования посредством добавления повторно переданных символов к задней части первоначально переданного кодированного блока и выполняет коррекцию ошибок над объединенным кодированным блоком. В схеме с НИ начальная передача и каждая из повторных передач идентифицируются номерами версий. Например, начальной передаче назначается номер № 1 версии, первой повторной передаче назначается номер № 2 версии, второй повторной передаче назначается номер № 3 версии и т.д., и приемник может правильно объединить первоначально переданный кодированный блок с повторно переданным кодированным блоком, используя информацию о версии.
Кроме того, схема с НИ классифицируется на частичную схему с НИ и полную схему с НИ. В частичной схеме с НИ частичная информация о формате, используемом для начальной передачи, используется одинаковым образом во время повторной передачи и в полной схеме с НИ, причем полностью различные форматы используются для начальной передачи и повторной передачи. Когда используется полная схема с НИ, то можно получить максимальный выигрыш от информации об избыточности, но в некоторых полных схемах с НИ нельзя декодировать принимаемые данные только с повторно переданными данными. Такая особенность называется “несамодекодируемой” особенностью. Когда канальное кодирование выполняется с использованием турбокодера, систематические биты не исключаются во время начальной передачи. Поэтому, если повторная передача выполняется с использованием полной схемы с НИ, то систематические биты повторно не передаются. В этом случае, если количество битов данных повторной передачи, состоящих только из битов четности, относительно не больше размера (количества) информационных битов перед канальным кодированием, то данные повторной передачи не являются самодекодируемыми. Поэтому, когда передаются несамодекодируемые данные повторной передачи, то приемник всегда должен мягко объединять первоначально переданные данные с повторно переданными данными для нормального приема данных.
2. ГАЗПП
В обычной схеме “АЗПП с ОИО” узел В не передает следующий пакет пока не примет информацию о подтверждении приема (ПП) для ранее переданного пакета. Так как узел В передает следующий пакет только после приема информации о ПП для предыдущего пакета, то узел В должен время от времени ожидать информацию о ПП, даже если он может в данный момент повторно передать пакет. Однако в схеме n-канального ГАЗПП с ОИО узел В может непрерывно передавать множество пакетов даже до приема информации о ПП для предыдущего пакета, тем самым повышая эффективность использования радиолинии. Т.е. в схеме n-канального ГАЗПП с ОИО n логических каналов устанавливаются между АО и узлом В и идентифицируются однозначно определяемыми канальными (временными) интервалами или номерами каналов, так что АО может определить, к какому каналу принадлежит пакет, принимаемый в конкретный момент времени. Поэтому АО может предпринять необходимые меры для повторного размещения пакетов в правильном порядке и мягкого объединения соответствующих пакетов.
Ниже приводится подробное описание принципа действия схемы n-канального ГАЗПП с ОИО с ссылкой на фиг.1. Сначала предполагается, что схема n-канального ГАЗПП с ОИО, в частности схема 4-канального ГАЗПП с ОИО, выполняется между АО 130 и конкретным узлом В, например узлом В 114, и 4 каналам однозначно назначаются логические идентификаторы № 1 – № 4 соответственно. Кроме того, АО 130 и узел В 114 включают в себя процессоры ГАЗПП, соответствующие соответствующим каналам. Узел В 114 назначает идентификатор № 1 канала кодированному блоку начальной передачи перед передачей кодированного блока начальной передачи на АО 130. Идентификатор канала может либо однозначно назначаться, либо подразумеваться в качестве однозначно определяемого канального интервала. Если произошла ошибка в кодированном блоке, передаваемом с идентификатором № 1 канала, то АО 130 подает поврежденный кодированный блок на процессор № 1 ГАЗПП, соответствующий идентификатору № 1 канала, и передает информацию об отрицательном подтверждении (неподтверждении) приема (ОПП) на узел В 114. Затем узел В 114 может передавать следующий кодированный блок по каналу № 2 независимо от того, была ли принята информация о ПП для кодированного блока канала № 1. Если произошла ошибка именно в следующем кодированном блоке, то узел В 114 посылает этот следующий кодированный блок на соответствующий процессор ГАЗПП. Если от АО 130 принимается информация об ОПП для кодированного блока канала № 1, то узел В 114 повторно передает соответствующий кодированный блок по каналу № 1. АО 130 затем воспринимает, что повторно переданный кодированный блок повторно передает данные кодированного блока, ранее переданного по каналу № 1, посредством идентификатора канала повторно переданного кодированного блока, и посылает повторно переданный кодированный блок на процессор № 1 ГАЗПП. После приема повторно переданного кодированного блока процессор № 1 ГАЗПП мягко объединяет повторно переданный кодированный блок с первоначально переданным кодированным блоком, уже хранимым в нем.
Как описано выше, в схеме n-канального ГАЗПП с ОИО идентификаторы каналов согласованы с процессорами ГАЗПП на однозначной основе, так что узел В может соответствующим образом выполнить начальную передачу и повторную передачу без задержки абонентских данных, пока не будет принята информация о ПП.
Для того чтобы эффективно использовать схему ГАЗПП вышеописанным образом, система связи ВПДЛВ разделяет стек протоколов ГАЗПП на два уровня. Т.е. в системе связи ВПДЛВ мягкий буфер, необходимый для функции мягкого объединения данных и коррекции ошибок, расположен на физическом уровне, и функциональный блок определения информации о ПП/ОПП и определения, следует ли выполнять мягкое объединение посредством приема информации о ПП/ОПП, расположена на уровне управления доступом к среде (УДС).
Наземная сеть радиодоступа УСПС (НСРДУ) содержит узел В и КРС, как показано на фиг.1. В этой структуре физический уровень расположен в узле В, и, в отличии от обычного уровня УДС, уровень УДС системы связи ВПДЛВ, т.е. уровень УДС-вс (УДС-высокоскоростной), расположен в узле В. Уровень УДС-вс представляет собой уровень, вновь предложенный для системы связи ВПДЛВ, и управляет функцией обработки информации о ПП/ОПП для поддержки схемы ГАЗПП. Система связи ВПДЛВ располагает функциональный блок обработки информации о ПП/ОПП в узле В для выполнения быстрой обработки ГАЗПП.
Альтернативно, операция управления может быть выполнена так, что функциональный блок обработки информации о ПП/ОПП располагается в КРС, и, в этом случае, информация о ПП/ОПП подается на КРС через узел В, и КРС определяет, следует ли выполнять повторную передачу в зависимости от информации о ПП/ОПП, представленной через узел В, и посылает результат определения обратно на узел В. Узел В затем фактически определяет, следует ли выполнять повторную передачу данных, основываясь на результате определения, представленным от КРС. В этом случае имеет место задержка, необходимая для сигнализации ГАЗПП (или сигнализации для выполнения схемы ГАЗПП) между узлом В и КРС. Время задержки для сигнализации ГАЗПП между узлом В и КРС учитывает один кадр, или 2 мс, что представляет собой относительно большое время задержки. Для того чтобы минимизировать время задержки для сигнализации ГАЗПП, система связи ВПДЛВ выполняет операцию управления так, что узел В выполняет функцию обработки информации о ПП/ОПП.
В настоящее время проводятся активные исследования системы связи по линии “вверх” (обратной линии связи) для повышения эффективности связи по линии “вверх” вместе с системой связи ВПДЛВ. Т.е. проводятся активные исследования системы связи по обратной линии связи, которая позволяет производить передачу данных по обратной линии, используя усовершенствованный выделенный канал обратной линии связи (УВКЛВ), который представляет собой канал передачи данных обратной линии связи. Система связи по обратной линии связи, использующая УВКЛВ, может применять схемы передачи данных, используемые в системе связи ВПДЛВ. Т.е. система связи по обратной линии связи, использующая УВКЛВ, может использовать схему АМиК и схему ГАЗПП, применяемые в системе связи ВПДЛВ, и может использовать относительно более короткое ИВП, чем в системе связи ВПДЛВ. ИВП, как описано выше, представляет собой единичный интервал времени, в течение которого передается один кодированный блок, и планирование (дисестемеризация) для каналов обратной линии связи выполняется узлом В, чтобы предотвратить задержку планирования.
Как описано выше, система связи по обратной линии связи, использующая УВКЛВ, передает данные необратной линии связи и должна поддерживать схему ГАЗПП для данных, передаваемых по обратной линии связи, как описано в связи с системой связи ВПДЛВ. Однако подробные предложения не были выполнены для системы связи по обратной линии связи, использующей УВКЛВ, и также не были выполнены подробные предложения для поддержки схемы ГАЗПП.
КРАТКОЕ ИЗЛОЖЕНИЕ СУЩНОСТИ ИЗОБРЕТЕНИЯ
Задачей настоящего изобретения поэтому является создание системы и способа повторной передачи данных по обратной линии связи в системе связи многостанционного доступа с кодовым разделением каналов (МДКР).
Еще одной задачей настоящего изобретения является создание системы и способа повторной передачи данных по обратной линии связи в соответствии с режимом работы радиоканала АО в системе связи МДКР.
В соответствии с одним аспектом настоящего изобретения создана система передачи данных по обратной линии связи посредством абонентского оборудования (АО) в системе связи многостанционного доступа с кодовым разделением каналов (МДКР), включающей в себя узел В, АО в зоне обслуживания узла В, причем соседний узел В расположен рядом с узлом В и имеет зону мягкой передачи обслуживания, где соседний узел В перекрывает узел В, и контроллер радиосети (КРС), подсоединенный к узлу В и соседнему узлу В. Система содержит: АО для определения, находится ли АО в зоне немягкой передачи обслуживания в зоне узла В или в зоне мягкой передачи обслуживания, передачи данных обратной линии связи на узел В в течение заранее определенного первого интервала времени передачи, если определяется, что АО находится в зоне немягкой передачи обслуживания, и передачи данных обратной линии связи на узлы В в течение заранее определенного второго интервала времени передачи, если определяется, что АО находится в зоне мягкой передачи обслуживания; узлы В для определения информации о подтверждении приема (ПП) или информации об отрицательном подтверждении (неподтверждении) приема (ОПП) для данных обратной линии связи и передачи определенной информации о ПП или информации об ОПП на АО, когда АО находится в зоне немягкой передачи обслуживания, определения информации о ПП или информации об ОПП для данных обратной линии связи и передачи определенной информации о ПП или информации об ОПП на КРС, если АО находится в зоне мягкой передачи обслуживания, и, после передачи информации о ПП или информации об ОПП, приема информации об окончательном ПП или информации об окончательном ОПП для данных обратной линии связи от КРС, и передачи принятой информации об окончательном ПП и информации об окончательном ОПП на АО; и КРС для информирования АО и узлов В, что АО находится в зоне мягкой передачи обслуживания при обнаружении того факта, что АО находится в зоне мягкой передачи обслуживания, приема информации о ПП или информации об ОПП для данных обратной линии связи от узлов В, определения информации об окончательном ПП или информации об окончательном ОПП для данных обратной линии связи в зависимости от информации о ПП или информации об ОПП, принимаемой от узлов В, и передачи определенной информации об окончательном ПП и информации об окончательном ОПП на узлы В.
В соответствии с другим аспектом настоящего изобретения создан способ передачи данных обратной линии связи посредством абонентского оборудования (АО) в системе связи многостанционного доступа с кодовым разделением каналов (МДКР), включающей в себя узел В, АО в зоне узла В, причем соседний узел В расположен рядом с узлом В и имеет зону мягкой передачи обслуживания, где соседний узел В перекрывает узел В, и контроллер радиосети (КРС), подсоединенный к узлу В и соседнему узлу В. Способ содержит этапы: определения, находится ли АО в зоне немягкой передачи обслуживания в зоне узла В или в зоне мягкой передачи обслуживания; передачи данных обратной линии связи на узел В в течение заранее определенного первого интервала времени передачи, если определено, что АО находится в зоне немягкой передачи обслуживания; и передачи данных обратной линии связи на узел В и соседний узел В в течение заранее определенного второго интервала времени передачи, если АО находится в зоне мягкой передачи обслуживания.
В соответствии с другим аспектом настоящего изобретения создан способ передачи информации подтверждения приема (ПП) или информации об отрицательном подтверждении (неподтверждении) приема (ОПП) для данных обратной линии связи, передаваемых от абонентского оборудования (АО) узлом В и соседним узлом В в системе связи многостанционного доступа с кодовым разделением каналов (МДКР), включающей в себя узел В, АО в зоне узла В, причем соседний узел В расположен рядом с узлом В и имеет зону мягкой передачи обслуживания, где соседний узел В перекрывает узел В, и контроллер радиосети (КРС), подсоединенный к узлу В и соседнему узлу В. Способ содержит этапы: определения, находится ли АО в зоне немягкой передачи обслуживания в зоне узла В или в зоне мягкой передачи обслуживания; определения информации о ПП или информации об ОПП для данных обратной линии связи и передачи определенной информации о ПП или информации об ОПП на АО, если определяется, что АО находится в зоне немягкой передачи обслуживания; определения информации о ПП или информации об ОПП для данных обратной линии связи и передачи определенной информации о ПП или информации об ОПП на КРС, если определяется, что АО находится в зоне мягкой передачи обслуживания; после передачи информации о ПП или информации об ОПП, приема информации об окончательном ПП или информации об окончательном ОПП для данных обратной линии связи от КРС; и передачи информации об окончательном ПП или информации об окончательном ОПП на АО.
В соответствии с еще одним аспектом настоящего изобретения создан способ передачи информации об окончательном подтверждении приема (ПП) или информации об окончательном отрицательном подтверждении приема (ОПП) для данных обратной линии связи, передаваемых от абонентского оборудования (АО) посредством контроллера радиосети (КРС) в системе связи многостанционного доступа с кодовым разделением каналов (МДКР), включающей в себя узел В, АО в зоне узла В, причем соседний узел В расположен рядом с узлом В и имеет зону мягкой передачи обслуживания, где соседний узел В перекрывает узел В, и КРС, подсоединенный к узлу В и соседнему узлу В. Способ содержит этапы: после обнаружения того факта, что АО находится в зоне мягкой передачи обслуживания, информирования узла В и соседнего узла В о том, что АО находится в зоне мягкой передачи обслуживания; после информирования о том, что АО находится в зоне мягкой передачи обслуживания, приема информации о ПП или информации об ОПП для данных обратной линии связи от узла В и соседнего узла В; и определения информации об окончательном ПП или информации об окончательном ОПП для данных обратной линии связи в зависимости от информации о ПП или информации об ОПП, принятой от узла В и соседнего узла В, и передачи определенной информации об окончательном ПП или информации об окончательном ОПП на узел В и соседний узел В.
КРАТКОЕ ОПИСАНИЕ ЧЕРТЕЖЕЙ
Вышеупомянутые и другие задачи, признаки и преимущества настоящего изобретения станут более очевидными из нижеследующего подробного описания, рассматриваемого совместно с прилагаемыми чертежами, на которых:
на фиг.1 представлена схема, схематически изображающая структуру обычной системы связи ШМДКР;
на фиг.2 представлена схема, схематически изображающая систему связи по обратной линии связи, использующую усовершенствованный выделенный канал обратной линии связи (УВКЛВ), в соответствии с вариантом выполнения настоящего изобретения;
на фиг.3 представлена блок-схема, схематически изображающая структуру стека протоколов ГАЗПП, когда АО расположено в зоне немягкой передачи обслуживания;
на фиг.4 представлена блок-схема, схематически изображающая структуру стека протоколов ГАЗПП, когда АО расположено в зоне мягкой передачи обслуживания; и
на фиг.5 представлена диаграмма передачи сигналов, схематически изображающая процедуру выполнения схемы ГАЗПП в системе связи по обратной линии связи, использующей УВКЛВ, в соответствии с вариантом выполнения настоящего изобретения.
ПОДРОБНОЕ ОПИСАНИЕ ПРЕДПОЧТИТЕЛЬНОГО ВАРИАНТА ВЫПОЛНЕНИЯ
Ниже в этой заявке подробно описываются несколько предпочтительных вариантов выполнения настоящего изобретения с ссылкой на прилагаемые чертежи. В нижеследующем описании для краткости пропущено подробное описание известных функций и конфигураций, включенных в эту заявку.
На фиг.2 представлена схема, схематически изображающая систему связи по линии “вверх” (обратной линии связи), использующую усовершенствованный выделенный канал обратной линии связи в соответствии с вариантом выполнения настоящего изобретения. Перед описанием фиг.2 необходимо заметить, что проводятся исследования системы связи по обратной линии связи, использующей усовершенствованный выделенный канал обратной линии связи (УВКЛВ), для того чтобы повысить эффективность связи совместно с системой связи с высокоскоростным пакетным доступом на обратной линии связи (ВПДЛВ), как описано в разделе о предшествующем уровне техники. Т.е. система связи по обратной линии связи позволяет производить передачу данных по обратной линии связи, используя УВКЛВ, которым является канал передачи данных по обратной линии связи, и система связи по обратной линии связи, использующая УВКЛВ, может применять схемы передачи данных, используемые в системе связи ВПДЛВ, как описано в разделе об известном уровне техники. Более конкретно, система связи по обратной линии связи, использующая УВКЛВ, может применять схему адаптивной модуляции и кодирования (АМиК) и схему гибридного автоматического запроса повторной передачи (ГАЗПП). Настоящее изобретение относится к системе связи по обратной линии связи, использующей УВКЛВ, в которой применяется схема ГАЗПП из числа схем передачи данных, используемых в системе связи ВПДЛВ. Когда система связи по обратной линии связи, использующая УВКЛВ, применяет схему ГАЗПП, то должно быть принято во внимание следующее. Абонентское оборудование (АО) передает данные в течение интервала времени передачи (ИВП). Затем наземная сеть радиодоступа УСПС (НСРДУ) определяет, произошла ли ошибка в данных, принятых от АО. Если в принятых данных нет ошибки, то НСРДУ передает информацию о подтверждении приема (ПП) на АО. Однако, если произошла ошибка в принятых данных, то НСРДУ передает информацию об отрицательном подтверждении (т.е. неподтверждении) приема (ОПП) на АО.
Если информация о ПП принимается от НСРДУ, то АО определяет, что в переданных данных нет ошибки. Однако, если информация об ОПП принимается от НСРДУ, то АО определяет, что произошла ошибка в передаваемых данных. После определения, что произошла ошибка в передаваемых данных, АО повторно передает передаваемые данные на НСРДУ, и НСРДУ мягко объединяет данные, повторно переданные от АО, с поврежденными данными (или ошибочными данными) для повышения коэффициента коррекции ошибок.
Система связи ВПДЛВ отличается от системы связи по обратной линии связи, использующей УВКЛВ, поддержкой мягкой передачи обслуживания в дополнение к тому факту, что первая является системой связи по линии “вниз” (по прямой линии связи), тогда как последняя представляет собой систему связи по линии “вверх” (обратной линии связи). Т.е. система связи ВПДЛВ не поддерживает мягкую передачу обслуживания, но система связи по обратной линии связи, использующая УВКЛВ, действительно поддерживает мягкую передачу обслуживания. Другими словами, система связи ВПДЛВ выполняет услугу ВПДЛВ только в соте, поддерживающей схему ВПДЛВ (упоминаемой как “сота ВПДЛВ”), и поддерживает схему ГАЗПП только для соответствующего канала, используемого для выполнения услуги ВПДЛВ, тогда как система связи по обратной линии связи, использующая УВКЛВ, поддерживает схему ГАЗПП для всех соответствующих каналов, когда услуга УВКЛВ одновременно выполняется во множестве сот. Система связи по обратной линии связи, использующая УВКЛВ, поддерживает мягкую передачу обслуживания, чтобы обеспечить стабильную передачу данных независимо от места, где находится АО в соте, помимо высокоскоростной передачи данных.
Ссылаясь на фиг.2, предполагается, что АО 204 расположено в перекрывающейся области или зоне мягкой передачи обслуживания (МПО) между зоной обслуживания (или покрытия) соты, или узла В 202, и зоной обслуживания узла В 203. Когда АО 204 расположено в зоне мягкой передачи обслуживания, то оно передает данные как на узел В 202, так и на узел В 203. Как показано на фиг.2, данные, передаваемые в направлении обратной линии связи посредством АО 204, включают в себя данные 212 УВКЛВ, передаваемые на узел В 202, и данные 222 УВКЛВ, передаваемые на узел В 203. “Данные УВКЛВ” относятся к данным, передаваемым по УВКЛВ. Однако, как описано выше, в системе связи ВПДЛВ функция определения информации о ПП/ОПП для данных линии “вниз” (прямой линии связи) расположена в АО, и функция обработки информации о ПП/ОПП, определяемой посредством АО, расположена в узле В. Поэтому предполагается, что в системе связи по обратной линии связи, использующей УВКЛВ, функция ГАЗПП, включающая в себя функцию обработки информации о ПП/ОПП, расположена в узле В аналогично системе связи ВПДЛВ.
Затем узел В 202 определяет, произошла ли ошибка в данных 212 УВКЛВ, принимаемых от АО 204. Если нет ошибки, то узел В 202 передает информацию о ПП на АО 204, и если произошла ошибка, то узел В 202 передает информацию об ОПП на АО 204 (см. ПП/ОПП 213). Предполагается на фиг.2, что нет ошибки в данных 212 УВКЛВ, которые узел В 202 принял от АО 204. Поэтому узел В 202 передает информацию о ПП на АО 204.
Аналогично, узел В 203 определяет, произошла ли ошибка в данных 222 УВКЛВ, принятых от АО 204. Если нет ошибки, то узел В 203 передает информацию о ПП на АО 204, и, если произошла ошибка, то узел В 203 передает информацию об ОПП на АО 204 (см. ПП/ОПП 223). На фиг.2 предполагается, что произошла ошибка в данных 222 УВКЛВ, которые узел В 203 принял от АО 204. Поэтому узел В 203 передает информацию об ОПП на АО 204.
Когда информация о ПП/ОПП, передаваемая узлом В 202, отличается от информации о ПП/ОПП, передаваемой узлом В 203, т.е. когда узел В 202 передает информацию о ПП, в то время как узел В 203 передает информацию об ОПП, то контроллер 201 радиосети (КРС) принимает только данные без ошибок, чтобы получить макроразнесение, так что различие информации о ПП/ОПП, передаваемой от узлов В, не приводит к какой-либо проблеме. Т.е. узел В 202 передает данные 212 УВКЛВ, принимаемые от АО 204, на КРС 201 посредством кадра 211 данных кадрового протокола, и узел В 203 не передает данные 222 УВКЛВ на КРС 201, так как произошла ошибка в принятых данных 222 УВКЛВ. Следовательно, КРС 201 принимает нормальные данные 212 УВКЛВ от узла В 202, и различие в информации о ПП/ОПП, передаваемой от узлов В, не приводит к какой-либо проблеме.
Однако для АО 204 существует проблема, когда оно принимает различную информацию о ПП/ОПП для одних и тех же данных, т.е. данных 212 УВКЛВ и данных 222 УВКЛВ. Т.е. АО 204 принимает информацию о ПП от узла В 202 и информацию об ОПП от узла В 203 для данных 212 УВКЛВ и данных 222 УВКЛВ, которые представляют собой одни и те же данные. Так как АО 204 принимает противоположную информацию о ПП/ОПП для одних и тех же данных, то оно не может определить, выполнять ли повторную передачу для применения схемы ГАЗПП.
И наоборот, когда АО 204 отвечает только на информацию о ПП из информации о ПП/ОПП для данных 212 УВКЛВ и данных 222 УВКЛВ, то может быть применена схема ГАЗПП. Однако, даже когда АО 204 отвечает только на информацию о ПП из информации о ПП/ОПП для данных 212 УВКЛВ и данных 222 УВКЛВ, нежелательно, что не являются идентичными данные, хранимые в мягких буферах узлов В 202 и 203. Более конкретно, так как АО 204 принимает информацию о ПП от узла В 202 и информацию об ОПП от узла В 203, то АО 204 будет передавать новые данные УВКЛВ. Так как узел В 203 передал информацию об ОПП для ранее принятых данных УВКЛВ, то ранее принятые ошибочные данные УВКЛВ хранятся в мягком буфере, включенном в узел В 203. Поэтому узел В 203 ожидает предполагаемую повторную передачу для поврежденных данных УВКЛВ.
Однако, так как АО 204 передает новые данные УВКЛВ, а не ранее переданные данные УВКЛВ, то АО 204 должно информировать узел В 203, которому оно передает новые данные УВКЛВ вместо ранее переданных данных УВКЛВ. Поэтому необходима управляющая сигнальная информация, указывающая передачу новых данных УВКЛВ. Однако, так как АО 204 расположено в зоне мягкой передачи обслуживания, то его канальные условия обычно очень плохи вследствие особенности зоны мягкой передачи обслуживания. Поэтому не может быть надежно передана управляющая сигнальная информация. Для того чтобы надежно передать управляющую сигнальную информацию, АО 204 должно передавать управляющую сигнальную информацию с относительно высокой мощностью передачи, но управляющая сигнальная информация, передаваемая с такой большой мощностью передачи, может служить в качестве составляющей помехи для других каналов. Поэтому схема ГАЗПП системы связи по обратной линии связи, использующей УВКЛВ, должна быть выполнена способом, отличающимся от схемы ГАЗПП существующей системы связи ВПДЛВ.
Поэтому в настоящем изобретении по-иному предлагается схема ГАЗПП, пригодная для системы связи по обратной линии связи, использующей УВКЛВ. Т.е. в настоящем изобретении предлагается схема ГАЗПП, для которой принимается во внимание как АО, находящееся в зоне мягкой передачи обслуживания, так и АО, находящееся в зоне немягкой передачи обслуживания (не-МПО). В настоящем изобретении предлагаются следующие три схемы для схемы ГАЗПП, пригодные для системы связи по обратной линии связи, использующей УВКЛВ.
В первой схеме, когда АО расположено в зоне мягкой передачи обслуживания, то применяется относительно короткий ИВП (ниже упоминаемый как “ИВПкор“), и, когда АО находится в зоне немягкой передачи обслуживания, то применяется относительно длительный ИВП (ниже упоминаемый как “ИВПдлит“).
Так как АО, расположенное в зоне немягкой передачи обслуживания, имеет относительно хорошие канальные условия, то оно может выполнять высокоскоростную передачу данных, используя относительно высокую мощность передачи. Поэтому аналогично системе связи ВПДЛВ, АО, расположенное в зоне немягкой передачи обслуживания, передает данные в периоды ИВПкор. Однако, так как АО, расположенное в зоне мягкой передачи обслуживания, имеет относительно плохие канальные условия, то, если оно использует относительно высокую мощность передачи, подобно АО, расположенному в зоне немягкой передачи обслуживания, его покрытие (зона обслуживания) весьма уменьшается нежелательным образом, так что оно передает данные в периоды ИВПдлит. Если схема ГАЗПП выполняется для ИВПкор, то может быть минимизировано время задержки, необходимое для передачи и приема данных, таким образом позволяя выполнять высокоскоростную работу ГАЗПП. Поэтому можно повысить эффективность связи системы связи по обратной линии связи, использующей УВКЛВ.
Альтернативно, если схема ГАЗПП выполняется для ИВПдлит, то время задержки передачи/приема данных становится больше, чем когда схема ГАЗПП выполняется для ИВПкор, но в достаточной степени обеспечивается необходимое время работы ГАЗПП, предоставляя достаточное время для согласования информации о ПП/ОПП между узлами В. В результате возможности изменения ИВП в соответствии с тем, расположено ли АО в зоне мягкой передачи обслуживания или в зоне немягкой передачи обслуживания, т.е. являются ли канальные условия АО хорошими или плохими, разрешается высокоскоростная передача данных, когда канальные условия являются хорошими для АО, и разрешается стабильная передача данных, когда канальные условия являются плохими для АО.
Во второй схеме, когда АО расположено в зоне мягкой передачи обслуживания, функция определения информации о ПП/ОПП располагается в КРС, и, когда АО расположено в зоне немягкой передачи обслуживания, функция определения информации о ПП/ОПП располагается в узле В.
Перед тем как будет дано описание второй схемы, необходимо отметить, что стек протоколов ГАЗПП системы связи ВПДЛВ делится на два уровня, как описано в разделе, относящегося к известному уровню техники. Снова описывая это вкратце, в системе связи ВПДЛВ мягкий буфер, необходимый для мягкого объединения данных, и функциональный блок коррекции ошибок расположены на физическом уровне, и функциональный блок определения информации о ПП/ОПП и определения, выполнять ли мягкое объединение посредством приема информации о ПП/ОПП, расположен на уровне управления доступом к среде (УДС). Наземная сеть радиодоступа УСПС (НСРДУ) содержит узел В и КРС, как показано на фиг.1. В этой структуре физический уровень расположен в узле В и, в отличие от обычного уровня УДС, уровень УДС системы связи ВПДЛВ, т.е. уровень УДС-вс (УДС-высокоскоростной), расположен в узле В. Уровень УДС-вс представляет собой уровень, вновь предложенный для системы связи ВПДЛВ, и он управляет функцией обработки информации о ПП/ОПП для поддержки схемы ГАЗПП. Система связи ВПДЛВ располагает функциональный блок обработки информации о ПП/ОПП в узле В, с тем чтобы выполнять быструю обработку ГАЗПП. Альтернативно, функциональный блок обработки информации о ПП/ОПП может быть расположен в КРС, и, в этом случае, информация о ПП/ОПП подается на КРС через узел В. КРС определяет, выполнять ли повторную передачу в зависимости от информации о ПП/ОПП, представленной через узел В, и посылает результат определения обратно на узел В. Узел В затем фактически определяет, выполнять ли повторную передачу данных, основываясь на результате определения, представленном от КРС. В этом случае имеет место время задержки, необходимое для сигнализации ГАЗПП (или сигнализации для выполнения схемы ГАЗПП) между узлом В и КРС. Время задержки для сигнализации ГАЗПП между узлом В и КРС учитывает один кадр, или 2 мс, которое является относительно большим временем задержки. Когда ИВП учитывается таким образом, то время задержки для сигнализации ГАЗПП становится относительно длительным. Поэтому для того чтобы минимизировать время задержки для сигнализации ГАЗПП по сравнению с ИВП, система связи ВПДЛВ располагает в узле В функцию обработки информации о ПП/ОПП, т.е. функцию обработки ГАЗПП, включающую операцию по обработке информации о ПП/ОПП.
Поэтому в варианте выполнения настоящего изобретения, когда АО расположено в зоне немягкой передачи обслуживания, то как функция мягкого объединения/декодирования, так и функция определения информации о ПП/ОПП располагаются в узле В, а, когда АО расположено в зоне мягкой передачи обслуживания, функция мягкого объединения/декодирования и функция определения информации о ПП/ОПП отдельно располагаются в узле В и КРС соответственно. Конечно, когда определение информации о ПП/ОПП выполняется посредством КРС, как описано в разделе относящегося известного уровня техники, то информация о ПП/ОПП передается на КРС через узел В. КРС определяет, выполнять ли повторную передачу в зависимости от информации о ПП/ОПП, представляемой через узел В, и посылает результат определения обратно на узел В. Узел В затем, по существу, определяет, выполнять ли повторную передачу данных, основываясь на результате определения, переданным от КРС, и в этом случае имеет место нежелательное время задержки, необходимое для сигнализации ГАЗПП (или сигнализации для выполнения схемы ГАЗПП) между узлом В и КРС. Однако в настоящем изобретении решается проблема обычного времени задержки, необходимого КРС при определении информации о ПП/ОПП, посредством применения ИВПдлит, как описано в связи с первой схемой.
На фиг.3 представлена блок-схема, схематически изображающая структуру стека протоколов ГАЗПП, когда АО расположено в зоне немягкой передачи обслуживания. Ссылаясь на фиг.3, так как АО расположено в зоне немягкой передачи обслуживания, как мягкое объединение/декодирование, так и определение информации о ПП/ОПП выполняются в узле В 310. Т.е. декодер 323 УВКЛВ и мягкий буфер 322 для функции мягкого объединения/декодирования, определитель 321 информации о ПП/ОПП для функции определения информации о ПП/ОПП и передатчик 311 информации о ПП/ОПП для передачи на АО информации о ПП/ОПП, обнаруженной определителем 321 информации о ПП/ОПП, все расположены в узле В 310. Если узел В 310 принимает данные УВКЛВ от АО, то определитель 321 информации ПП/ОПП обнаруживает, произошла ли ошибка в данных УВКЛВ, принятых от АО, тем самым определяя информацию о ПП/ОПП. В данном случае, произошла ли ошибка в данных УВКЛВ, принятых от АО, определяется определителем 321 информации о ПП/ОПП, основываясь на результате проверки циклическим избыточным кодом (ЦИК). Если нет ошибки, то определитель 321 информации о ПП/ОПП обнаруживает информацию о ПП, и, если произошла ошибка, то определитель 321 информации о ПП/ОПП обнаруживает информацию об ОПП.
После проверки ЦИК определитель 321 информации о ПП/ОПП подает данные УВКЛВ, принятые от АО, на мягкий буфер 322, так что они могут храниться в мягком буфере 322 (см. “кадр данных, результат проверки ЦИК”, представленный позицией 303). Кроме того, определитель 321 информации о ПП/ОПП посылает определенную информацию о ПП/ОПП на передатчик 311 информации о ПП/ОПП (см. “информация о ПП/ОПП”, представленная позицией 304).
Определитель 321 информации о ПП/ОПП передает нормальные данные УВКЛВ на КРС, подсоединенный к узлу В 310 через интерфейс Iub, т.е. кадр 302 данных кадрового протокола. Декодер 323 УВКЛВ декодирует данные УВКЛВ, принятые от АО, в соответствии с заранее определенной схемой декодирования.
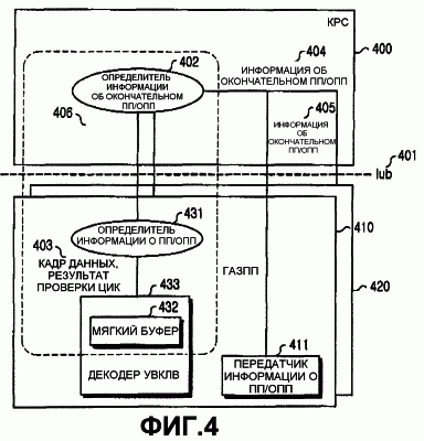
На фиг.4 представлена блок-схема, схематически изображающая структуру стека протоколов ГАЗПП, когда АО расположено в зоне мягкой передачи обслуживания. Перед описанием фиг.4 принимается, что, так как АО расположено в зоне мягкой передачи обслуживания между узлом В 410 и узлом В 420, то узел В 410 и узел 420 управляются одним и тем же КРС 400. Ссылаясь на фиг.4, так как АО расположено в зоне мягкой передачи обслуживания, то функция мягкого объединения/декодирования и функция ГАЗПП определения информации о ПП/ОПП по отдельности расположены в узлах В 410 и 420 и КРС 400 соответственно. Связанные с ГАЗПП функциональные блоки, независимо присутствующие в узлах 410 и 420, идентичны друг другу, так что их описание для простоты будет приведено только с ссылкой на узел В 410. Мягкий буфер 432 и декодер 433 УВКЛВ для выполнения функции мягкого объединения/декодирования, определитель 431 информации о ПП/ОПП для выполнения функции определения информации о ПП/ОПП и передатчик 411 информации о ПП/ОПП для передачи на АО информации о ПП/ОПП, определенной определителем 402 информации об окончательном ПП/ОПП, расположены в узле В 410, и определитель 402 информации об окончательном ПП/ОПП расположен в КРС 400. В данном случае узел В как раз включает в себя определитель 431 информации о ПП/ОПП. Определитель 431 информации о ПП/ОПП генерирует информацию о ПП/ОПП для данных УВКЛВ, переданных посредством АО, но информация о ПП/ОПП, генерируемая в определителе 431 информации о ПП/ОПП, не передается на АО.
Если узел В 410 принимает данные УВКЛВ от АО, то определитель 431 информации о ПП/ОПП определяет, произошла ли ошибка в данных УВКЛВ, принятых от АО, тем самым определяя информацию о ПП/ОПП. В данном случае, произошла ли ошибка в данных УВКЛВ, принятых от АО, определяется определителем 431 информации о ПП/ОПП, основываясь на результате проверки ЦИК принятых данных УВКЛВ. В качестве результата проверки ЦИК, если нет ошибки, определитель 431 информации о ПП/ОПП задает информацию о ПП. Если произошла ошибка, то определитель 431 информации о ПП/ОПП задают информацию об ОПП.
После проверки ЦИК определитель 431 информации о ПП/ОПП подает данные УВКЛВ, принятые от АО, на мягкий буфер 432, так что они могут храниться в мягком буфере 432 (см. “кадр данных, результат проверки ЦИК”, представленный позицией 403). Когда данные УВКЛВ, принятые от АО, являются нормальными, то определитель 431 информации о ПП/ОПП передает информацию о ПП и принятые данные УВКЛВ на КРС 400 через интерфейс Iub, т.е. кадр данных кадрового протокола. Однако, если данные УВКЛВ, принятые от АО, являются поврежденными, то определитель 431 информации о ПП/ОПП подает информацию о ПП на КРС 400 (см. “ПП + кадр данных/ОПП”, представленные позицией 406).
Затем определитель 402 информации об окончательном ПП/ОПП в КРС 400 генерирует информацию о ПП/ОПП для данных УВКЛВ, принятых от АО, в зависимости от информации о ПП/ОПП, переданной соответственно от узла В 410 и узла В 420. Определитель 402 информации об окончательном ПП/ОПП анализирует информацию о ПП/ОПП, переданную соответственно от узла В 410 и узла В 420. Если информация об ОПП принимается как от узла В 410, так и от узла В 420, то определитель 402 информации об окончательном ПП/ОПП определяет информацию об ОПП для данных УВКЛВ, принятых от АО. Однако, если информация о ПП принимается от любого одного из узлов В 410 и 420, то определитель 402 информации об окончательном ПП/ОПП определяет информацию о ПП для данных УВКЛВ, принятых от АО. Определитель 402 информации об окончательном ПП/ОПП передает информацию об окончательном ПП/ОПП, определенную для данных УВКЛВ, принятых от АО, на узел В 410 и узел В 420, используя кадр управления кадрового протокола (см. “информация об окончательном ПП/ОПП”, представленная позициями 404 и 405). Затем передатчики информации о ПП/ОПП узлов В 410 и 420 передают на АО информацию о ПП/ОПП, принятую от определителя 402 информации об окончательном ПП/ОПП. Например, передатчик 411 информации о ПП/ОПП узла В 410 передает на АО информацию о ПП/ОПП, принятую от определителя 402 информации об окончательном ПП/ОПП. Декодер 433 УВКЛВ декодирует данные УВКЛВ, принятые от АО, в соответствии с заранее определенной схемой декодирования.
На фиг.5 представлена диаграмма передачи сигналов, схематически изображающая процедуру выполнения схемы ГАЗПП в системе связи по обратной линии связи, использующей УВКЛВ, в соответствии с вариантом выполнения настоящего изобретения. Перед описанием фиг.5 необходимо заметить, что так как не была определена подробная структура канала и кадровый протокол для системы связи по обратной линии связи, использующей УВКЛВ, процедура будет описана с ссылкой на параметры, относящиеся к схеме ГАЗПП, предложенной в настоящем изобретении, а подробное описание других частей будет опущено.
Ссылаясь на фиг.5, АО 501 расположено в зоне немягкой передачи обслуживания (не-МПО), т.е. в соте, где узел В № 1 502 предоставляет услугу (шаг 510), и передает данные УВКЛВ на узел В № 1 502 (шаг 511). В этот момент, так как АО 501 расположено в зоне немягкой передачи обслуживания, то все функции ГАЗПП, т.е. функция мягкого объединения/декодирования и функция определения информации о ПП/ОПП, выполняются в узле В № 1 502, и, так как схема ГАЗПП непосредственно выполняется в узле В, то ИВП также устанавливается равным ИВПкор. Узел В № 1 502 выполняет проверку ЦИК данных УВКЛВ, принятых от АО 501, и определяет информацию о ПП/ОПП для данных УВКЛВ, принятых от АО 501, в зависимости от результата проверки ЦИК. Узел В № 1 502 передает определенную информацию о ПП/ОПП на АО 501 (шаг 512). В качестве результата проверки ЦИК, если данные УВКЛВ, принятые от АО 501, не содержат ошибок, т.е., если определена информация о ПП, узел В № 1 502 передает данные УВКЛВ, принятые от АО 501, на КРС 504 посредством кадра данных обратной линии связи (линии “вверх”) (ЛВ) (шаг 513).
АО 501 может переместиться из соты, где узел В № 1 502 предоставляет услугу, т.е. зоны немягкой передачи обслуживания, в зону мягкой передачи обслуживания (МПО), или в граничную зону другой соты, где узел В № 2 503 предоставляет услугу (шаг 520). Для того чтобы включить узел В № 2 503 в активный набор АО 501, КРС 504 АО 501 передает на АО 501 сообщение обновления активного набора, которое является сигнальным сообщением верхнего уровня. Сообщение обновления активного набора включает в себя команду на передачу обслуживания и момент времени активизации, когда АО 501 должно выполнить передачу обслуживания, или войти в зону мягкой передачи обслуживания. АО 501 затем одновременно выполняет передачу обслуживания, переустанавливает ИВП с ИВПкор в ИВПдлит в момент времени активизации и передает данные УВКЛВ (шаг 521).
Так как АО 501 теперь расположено в зоне мягкой передачи обслуживания, то функции ГАЗПП отдельно выполняются в узлах В 502 и 503 и КРС 504. Т.е. функция мягкого объединения/декодирования выполняется в узлах В 502 и 503, и функция определения информации о ПП/ОПП выполняется в КРС 504. Далее, так как схема ГАЗПП выполняется в КРС, то ИВП также устанавливается равным ИВПдлит, как описано выше. Кроме того, так как узлы В 502 и 503 не могут обнаружить тот факт, что АО 501 расположено в зоне мягкой передачи обслуживания, то КРС 504 информирует узлы В 502 и 503 о том, что АО 501 расположено в зоне мягкой передачи обслуживания.
При этом КРС 504 информирует узлы В 502 и 503 о том, что АО 501 расположено в зоне мягкой передачи обслуживания, используя кадр управления кадрового протокола. Кадр управления включает в себя информацию, указывающую, что АО 501 входит в зону мягкой передачи обслуживания, и информацию о моменте времени активизации, или моменте времени, при котором АО 501 входит в зону мягкой передачи обслуживания. Если кадр управления принимается от КРС 504, то узлы В 502 и 503 определяют, что АО 501 расположено в зоне мягкой передачи обслуживания с момента времени, соответствующего информации о моменте времени, т.е. момента времени активизации, устанавливают ИВП равным ИВПдлит, приостанавливают функции определения информации о ПП/ОПП, которые отдельно выполнялись в узлах В 502 и 503, и действуют в соответствии с информацией о ПП/ОПП, определенной КРС 504. Кроме того, так как АО 501 расположено в зоне мягкой передачи обслуживания, то оно передает данные УВКЛВ как на узел В № 1 502, так и на узел В № 2 503 (шаг 521).
Узел В № 1 502 выполняет проверку ЦИК данных УВКЛВ, принятых от АО 501, и определяет информацию о ПП/ОПП для данных УВКЛВ, принятых от АО 501, в зависимости от результата проверки ЦИК. Если данные УВКЛВ, принятые от АО 501, не имеют ошибок, то узел В № 1 502 передает принятые данные УВКЛВ вместе с информацией о ПП на КРС 504 посредством кадра данных обратной линии связи. Однако, если имеется ошибка в данных УВКЛВ, принятых от АО 501, то узел В № 1 502 передает только информацию об ОПП на КРС 504 (шаг 522). Аналогично, узел В № 2 503 выполняет проверку ЦИК данных УВКЛВ, принятых от АО 501, и принимает информацию о ПП/ОПП для данных УВКЛВ, принятых от АО 501, в зависимости от результата проверки ЦИК. Если данные УВКЛВ, принятые от АО 501, не имеют ошибок, то узел В № 2 503 передает принятые данные УВКЛВ вместе с информацией о ПП на КРС 504 посредством кадра данных обратной линии связи. Однако, если имеется ошибка в данных УВКЛВ, принятых от АО 501, то узел В № 2 503 передает только информацию об ОПП на КРС 504 (шаг 523).
При этом, когда АО 501 расположено в зоне немягкой передачи обслуживания, то узел В № 1 502 и узел В № 2 503 передают информацию о ПП/ОПП для данных УВКЛВ, принятых от АО 501, непосредственно на АО 501. Однако, когда АО 501 расположено в зоне мягкой передачи обслуживания, то узел В № 1 502 и узел В № 2 503 передают информацию о ПП/ОПП для данных УВКЛВ, принятых от АО 501, не непосредственно на АО 501, а на КРС 504.
КРС 504 отдельно принимает информацию о ПП/ОПП от узла В № 1 502 и узла В № 2 503, определяет информацию о ПП/ОПП в соответствии с принятой информацией о ПП/ОПП и передает определенную информацию о ПП/ОПП на узел В № 1 502 и узел В № 2 503 (шаг 524). Как описано со ссылкой на фиг.4, когда информация об ОПП принимается как от узла В № 1 502, так и от узла В № 2 503, то КРС 504 определяет информацию об ОПП для данных УВКЛВ, принятых от АО 501, и, когда информация о ПП принимается от любого одного из узла В № 1 502 и узла В № 2 503, то КРС 504 определяет информацию о ПП для данных УВКЛВ, принятых от АО 501. Узел В № 1 502 определяет информацию об окончательном ПП/ОПП, соответствующую информации о ПП/ОПП, принятой от КРС 504, и передает определенную информацию об окончательном ПП/ОПП на АО 501 (шаг 525). Аналогично, узел В № 2 503 определяет информацию об окончательном ПП/ОПП, соответствующую информации о ПП/ОПП, принятой от КРС 504, и передает определенную информацию об окончательном ПП/ОПП на АО 501 (шаг 526). Как описано выше, когда АО 501 расположено в зоне мягкой передачи обслуживания, то связанные с ГАЗПП функции распределяются по узлам В 502 и 503 и КРС 504, так что КРС 504 принимает данные УВКЛВ без ошибок от одного или обоих узлов В 502 и 503, тем самым получая макроразнесение. Далее, АО 501 принимает одну и ту же информацию о ПП/ОПП от узлов В 502 и 503, так что оно может выполнять нормальную схему ГАЗПП.
Как описано выше, АО принимает информацию о ПП/ОПП для данных УВКЛВ, которые передало АО. Затем АО не выполняет отдельную операцию, когда принимается информация о ПП, и выполняет повторную передачу переданных данных УВКЛВ, когда принимается информация об ОПП.
Ниже приводится описание третьей схемы, необходимой для схемы ГАЗПП, пригодной для системы связи по обратной линии связи, использующей УВКЛВ, в соответствии с вариантом выполнения настоящего изобретения.
В третьей схеме, когда АО расположено в зоне немягкой передачи обслуживания, то схема объединения по Чейзу (ОЧ) и схема с нарастающей избыточностью (НИ) используются в качестве схемы мягкого объединения. Когда АО расположено в зоне мягкой передачи обслуживания, то используются схема ОЧ и схема с НИ с ограниченным номером версии. “Ограниченный номер версии” относится к самодекодируемому номеру версии из числа номеров версии. Термин “самодекодируемый” означает то, что, когда принимаются данные, то возможно декодирование данных без ошибок с использованием только соответствующих данных, как описано в разделе, относящемуся к известному уровню техники. При фактической реализации, когда выполняется канальное кодирование, являются ли данные самодекодируемыми определяется в зависимости от скорости кодирования и номера версии НИ.
Когда АО расположено в зоне мягкой передачи обслуживания, то АО располагается в граничных зонах сот множества узлов В, повышая вероятность того, что канальные условия станут плохими. Поэтому, когда АО расположено в зоне мягкой передачи обслуживания, то узлы В могут принимать поврежденные данные или могут не принять данные, передаваемые от АО. Когда узлы В не могут принять данные, передаваемые от АО, то АО повторно передает данные, используя несамодекодируемый номер версии. В этот момент, так как узел В, который не смог принять данные, передаваемые от АО, не имеет данных, буферизованных для мягкого объединения соответствующих данных, то существует высокая вероятность, что снова произойдет ошибка. Для того чтобы предотвратить повторное появление ошибки, в варианте выполнения настоящего изобретения используется только самодекодируемый номер версии в качестве номера версии данных повторной передачи, когда АО расположено в зоне мягкой передачи обслуживания. Посредством повторной передачи данных, используя таким образом только самодекодируемый номер версии, узлы В могут нормально принимать данные, даже если нет данных, подвергаемых мягкому объединению.
Как можно понять из вышеприведенного описания, в системе связи по обратной линии связи, использующей УВКЛВ, настоящее изобретение распределяет относящиеся к ГАЗПП функции узлу В и КРС в соответствии с тем, расположено ли АО в зоне мягкой передачи обслуживания или в зоне немягкой передачи обслуживания, тем самым позволяя получить стабильную повторную передачу данных обратной линии связи. Кроме того, когда АО расположено в зоне мягкой передачи обслуживания, время, необходимое для определения информации о ПП/ОПП, в значительной степени обеспечивается посредством регулировки ИВП для временной задержки, которая может иметь место, потому что КРС определяет информацию о ПП/ОПП для данных обратной линии связи, тем самым способствуя стабильной повторной передаче данных обратной линии связи.
Хотя настоящее изобретение было проиллюстрировано и описано со ссылкой на его определенные предпочтительные варианты выполнения, для специалиста в этой области техники понятно, что в нем могут быть сделаны различные изменения в форме и деталях в пределах сущности и объема изобретения, определенного прилагаемой формулой изобретения.
Формула изобретения
1. Способ передачи данных обратной линии связи посредством абонентского оборудования (АО) в системе связи многостанционного доступа с кодовым разделением каналов (МДКР), включающей в себя узел В, причем АО расположено в зоне узла В, а соседний узел В расположен рядом с узлом В и имеет зону мягкой передачи обслуживания, в которой соседний узел В перекрывается узлом В, и контроллер радиосети (КРС), подсоединенный к узлу В и соседнему узлу В, заключающийся в том, что определяют, расположено ли АО в одной из зон: зоне немягкой передачи обслуживания узла В или зоне мягкой передачи обслуживания; передают данные обратной линии связи на узел В в течение заранее определенного первого интервала времени передачи, если определено, что АО расположено в зоне немягкой передачи обслуживания; и передают данные обратной линии связи на узел В и соседний узел В в течение заранее определенного второго интервала времени передачи, если определено, что АО расположено в зоне мягкой передачи обслуживания, причем заранее определенный второй интервал времени передачи продолжительнее, чем первый интервал времени передачи.
2. Способ по п.1, дополнительно содержащий этап повторной передачи данных обратной линии связи на узел В при приеме информации об отрицательном подтверждении приема (ОПП) для данных обратной линии связи от узла В, когда АО расположено в зоне немягкой передачи обслуживания.
3. Способ по п.2, в котором этап повторной передачи данных обратной линии связи содержит один из этапов: повторной передачи данных обратной линии связи в том виде, в каком они были первоначально переданы, или повторной передачи части первоначально переданных данных обратной линии связи.
4. Способ по п.1, в котором дополнительно повторно передают данные обратной линии связи на узел В и соседний узел В при приеме информации об ОПП для данных обратной линии связи от узла В и соседнего узла В, когда АО расположено в зоне мягкой передачи обслуживания.
5. Способ по п.4, в котором этап повторной передачи данных обратной линии связи содержит один из этапов: повторной передачи данных обратной линии связи в том виде, в каком они были первоначально переданы, или повторной передачи самодекодируемой части первоначально переданных данных обратной линии связи.
6. Способ по п.1, в котором этап определения, расположено ли АО в одной из зон: зоне немягкой передачи обслуживания или зоне мягкой передачи обслуживания, содержит этап определения, принимается ли от КРС информация, указывающая, что АО входит в зону мягкой передачи обслуживания.
7. Способ приема данных в системе связи, заключающийся в том, что принимают передаваемые данные обратной линии связи, имеющие интервал времени передачи первой продолжительности, если абонентское оборудование (АО) расположено в зоне немягкой передачи обслуживания, или интервал времени передачи второй продолжительности, если АО расположено в зоне мягкой передачи обслуживания, определяют информацию о подтверждении приема/отрицательном подтверждении приема (ПП/ОПП) для данных обратной линии связи, объединяют принятые данные обратной линии связи и первоначально переданные данные обратной линии связи, если принятые данные обратной линии связи являются повторно переданными данными обратной линии связи, и передают определенную информацию о ПП/ОПП на АО, причем второй интервал времени передачи продолжительнее, чем первый интервал времени передачи.
8. Способ по п.7, в котором информацию, указывающую, что АО входит в зону мягкой передачи обслуживания, принимают посредством кадра управления кадрового протокола.
9. Система для передачи данных в системе связи многостанционного доступа с кодовым разделением каналов (МДКР), в которой узел В включает в себя множество сот, содержащая абонентское оборудование (АО) для передачи данных в течение интервала времени передачи первой продолжительности, если абонентское оборудование (АО) расположено в зоне немягкой передачи обслуживания, и для передачи данных в течение интервала времени передачи второй продолжительности, если АО расположено в зоне мягкой передачи обслуживания, и узлы В, принимающие данные и передающие информацию о подтверждении приема/отрицательном подтверждении приема (ПП/ОПП) на АО для принятых данных, причем второй интервал времени передачи продолжительнее, чем первый интервал времени передачи.
10. Система по п.9, в которой АО повторно передает данные обратной линии связи на узел В после приема информации об ОПП для данных обратной линии связи от узла В, когда АО расположено в зоне немягкой передачи обслуживания.
11. Система по п.10, в которой АО повторно передает одно из: данные обратной линии связи в том виде, в каком они были первоначально переданы, или часть первоначально переданных данных обратной линии связи.
12. Система по п.9, в которой АО повторно передает данные обратной линии связи на узел В и соседний узел В после приема информации об окончательном ОПП для данных обратной линии связи от узла В и соседнего узла В, когда АО расположено в зоне мягкой передачи обслуживания.
13. Система по п.12, в которой АО повторно передает одно из: данные обратной линии связи в том виде, в каком они были первоначально переданы, или самодекодируемую часть первоначально переданных данных обратной линии связи.
14. Система по п.9, дополнительно содержащая контроллер радиосети (КРС), который информирует о том, что АО расположено в зоне мягкой передачи обслуживания, посредством кадра управления кадрового протокола.
15. Система по п.9, дополнительно содержащая КРС, который определяет информацию об окончательном ПП для данных обратной линии связи, когда информация о ПП принимается по меньшей мере от одного из узлов: узла В и соседнего узла В, и определяет информацию об окончательном ОПП для данных обратной линии связи, когда КРС не может принять информацию о ПП ни от узла В, ни от соседнего узла В.
РИСУНКИ
|
|