|
(21), (22) Заявка: 2004115389/09, 27.03.2002
(24) Дата начала отсчета срока действия патента:
27.03.2002
(30) Конвенционный приоритет:
15.10.2001 CN 01136295.2
(43) Дата публикации заявки: 01.01.2000
(46) Опубликовано: 20.06.2006
(56) Список документов, цитированных в отчете о поиске:
RU 2144278 C1, 10.01.2000. RU 2114518 C1, 27.06.1998. CN 1103526, 07.06.1995. US 5561471 A, 01.10.1996. WO 0182585 A2, 01.11.2001. CA 2269245, 14.10.2000.
(85) Дата перевода заявки PCT на национальную фазу:
17.05.2004
(86) Заявка PCT:
CN 02/00205 (27.03.2002)
(87) Публикация PCT:
WO 03/034734 (24.04.2003)
Адрес для переписки:
191002, Санкт-Петербург, а/я 5, ООО “Ляпунов и партнеры”, пат.пов. Ю.В.Кузнецовой
|
(72) Автор(ы):
ВАН Хунюань (CN), ЛУН Яньбо (CN), ВАН Цзин (CN)
(73) Патентообладатель(и):
Хювэй Текнолоджиз Ко., Лтд. (CN)
|
(54) ИНТЕРАКТИВНОЕ ВИДЕООБОРУДОВАНИЕ И СПОСОБ НАЛОЖЕНИЯ ТИТРОВ НА ИЗОБРАЖЕНИЕ С ПОМОЩЬЮ ЭТОГО ОБОРУДОВАНИЯ
(57) Реферат:
Изобретение относится к способу наложения титров для интерактивного видеооборудования, и конкретнее, к итерактивному видеооборудованию и программному способу наложения титров, используемому в данном видеооборудовании. Технический результат заключается в упрощении задействованных технических средств, снижении стоимости системы, а также упрощении генерации и нанесения титров. Технический результат достигается тем, что уровень управления интерактивного видеооборудования получает заданную пользователем информацию о титрах, которые необходимо сгенерировать, при этом выполняют в кодере интерактивного видеооборудования на передающем узле следующие этапы: получение информации о титрах от уровня управления и последующее генерирование изображения титров на прозрачном фоне в соответствии с указанной принятой информацией; наложение указанного изображения титров на цифровое сервисное изображение до кодирования, посланное от передающего узла, с получением цифрового изображения, смешанного с изображением титров, и кодирование этого смешанного цифрового изображения с последующей его передачей на удаленный узел. 2 н. и 10 з.п. ф-лы, 4 ил.
ОБЛАСТЬ ТЕХНИКИ
Изобретение имеет отношение к способу наложения титров для интерактивного видеооборудования, более точно к интерактивному видеооборудованию и программному способу наложения титров, используемому в данном видеооборудовании. Используя этот способ, можно легко сгенерировать титры для системы видеоконференции и смешать сигналы титров с сигналами изображения для передачи.
ПРЕДПОСЫЛКИ ИЗОБРЕТЕНИЯ
В системе видеоконференции, как правило, необходимо наложить несколько символов на изображение; такие символы, как название места встречи и т.п., называют титрами. Это обычно осуществляют с помощью специального оборудования, например генератора титров, как показано на Фиг.1. Устройство наложения титров подключают последовательно между оборудованием для видеоконференции и телевизором, и оно генерирует необходимые титры и наносит их на сигналы изображения для отображения в телевизоре.
Данный способ имеет следующие недостатки. Необходимо установить дополнительное специальное оборудование наложения титров, которое увеличивает сложность и стоимость системы; нанесенные титры могут быть отображены только на локальном телевизоре, их нельзя передать для отображения другим, удаленным телевизорам, задействованным в видеоконференции. Это, несомненно, вызывает неудобство.
СУЩНОСТЬ ИЗОБРЕТЕНИЯ
Целью изобретения является создание способа генерации и наложения титров в интерактивной видеосистеме. Способ позволяет упростить задействованные технические средства и снизить стоимость системы, а также упрощает генерацию и нанесение титров; при этом титры могут быть смешаны с сервисным изображением для удаленной передачи.
Основная концепция изобретения следующая. Программа наложения титров получает от уровня управления информацию о титрах, которые необходимо сгенерировать; используя эту информацию, программа наложения титров генерирует изображение титров на прозрачном фоне и затем накладывает изображение титров на сервисное изображение с целью получения изображения с титрами, предназначенного для отображения или передачи.
В изобретении предложен способ наложения титров, используемый в интерактивном видеооборудовании, в котором уровень управления интерактивного видеооборудования получает заданную пользователем информацию о титрах, которые необходимо сгенерировать, причем способ включает следующие этапы, выполняемые в кодере интерактивного видеооборудования на передающем узле:
А. получение информации о титрах от уровня управления и последующее генерирование изображения титров на прозрачном фоне в соответствии с указанной принятой информацией;
В. наложение указанного изображения титров на цифровое сервисное изображение до кодирования, посланное от передающего узла, с получением цифрового изображения, смешанного с изображением титров, и кодирование этого смешанного цифрового изображения с последующей его передачей на удаленный узел.
Кроме того, в изобретении предложен способ наложения титров, используемый в интерактивном видеооборудовании, в котором уровень управления интерактивного видеооборудования получает заданную пользователем информацию о титрах, которые необходимо сгенерировать, причем способ включает следующие этапы, выполняемые в декодере интерактивного видеооборудования на принимающем узле:
А. получение информации о титрах от уровня управления и последующее генерирование изображения титров на прозрачном фоне в соответствии с указанной принятой информацией;
В. декодирование цифрового сервисного изображения, полученного с удаленного узла, наложение указанного изображения титров на это декодированное цифровое сервисное изображение с получением цифрового изображения, смешанного с изображением титров, и последующее отображение на принимающем узле.
Предпочтительно, чтобы информация о титрах, которые необходимо сгенерировать, передаваемая уровнем управления модулю генерации титров, содержала внутренние коды всех символов титров, информацию о местоположении титров, информацию о размерах титров и информацию о цветовом решении титров.
Предпочтительно, чтобы информация о титрах, которые необходимо сгенерировать, передаваемая уровнем управления модулю генерации титров, содержала внутренние коды всех генерируемых символов вышеупомянутых титров, причем данные внутренние коды генерируют в следующей последовательности: используют программу, генерирующую базу данных символов: выбирают векторный шрифт; отображают с помощью программного обеспечения один за другим символы на экране ПК в соответствии с требуемым размером символов и затем записывают результат отображения в виде точечной матрицы и сохраняют это изображение в виде точечной матрицы в специальном формате как файл базы данных символов.
Предпочтительно, чтобы информация о титрах, которые необходимо сгенерировать, передаваемая уровнем управления модулю генерации титров, содержала информацию о цветовом решении титров; модуль генерации титров осуществляет установку или изменение цвета символов в соответствии с информацией о цветовом решении титров и поддерживает фон изображения титров прозрачным.
Предпочтительно, чтобы шаг А включал чтение точечных матриц изображений всех символов и комбинирование точечных матриц изображений с прозрачным фоном в соответствии местоположением размещения и содержанием титров, выбранных на уровне управления, после того как модуль генерации титров получит от уровня управления вышеупомянутую информацию о титрах.
Предпочтительно, чтобы на уровне управления можно было сделать выбор, будет ли наложение титров выполнено на местном или удаленном узле. При выборе местного узла изображение титров наносят на полученное на местном узле сервисное изображение после декодирования и затем выводят на местный узел для отображения. При выборе удаленного узла изображение титров наносят для передачи на местное сервисное изображение до кодирования, затем осуществляют кодирование и передают на удаленный узел после кодирования.
Изобретение также предлагает интерактивное видеооборудование, имеющее уровень управления, предназначенный для приема заданной пользователем информации о титрах, которые необходимо сгенерировать. Интерактивное видеооборудование включает модуль генерации титров и модуль наложения титров. Модуль генерации титров служит для получения от уровня управления информации о титрах, которые необходимо сгенерировать, и генерации изображения титров на прозрачном фоне в соответствии с указанной принятой информацией;
модуль наложения титров служит для наложения указанного изображения титров на цифровое сервисное изображение и создания изображения с титрами, предназначенного для отображения на локальном узле и/или для передачи удаленному узлу.
Предпочтительно, чтобы модуль генерации титров читал точечные матрицы изображения всех символов и комбинировал точечные матрицы изображения с прозрачным фоном в соответствии с местоположением отображения и содержанием титров, выбранных на уровне управления, после получения вышеупомянутой информации о титрах от уровня управления.
Предпочтительно, чтобы модуль наложения титров был расположен в узле кодера-декодера (coder-decoder, CODEC) перед модулем CODEC изображения; модуль генерации титров был расположен в узле CODEC и был соединен с модулем наложения титров.
Предпочтительно, чтобы модуль наложения титров содержал первый модуль наложения титров и второй модуль наложения титров, а модуль генерации титров содержал первый модуль генерации титров и второй модуль генерации титров; причем первый модуль наложения титров находился в кодере и был локализован в сервисном канале, который находится перед модулем кодирования изображения;
первый модуль генерации титров находился в кодере и был соединен с первым модулем наложения титров;
второй модуль наложения титров располагался в декодере и был локализован в сервисном канале, расположенном за модулем декодирования изображения;
второй модуль генерации титров располагался в декодере и был соединен со вторым модулем наложения титров. Второй модуль генерации титров расположен в декодере и соединен со вторым модулем добавления титров.
Преимущества настоящего изобретения:
1. Поскольку генератор титров заменен программой наложения титров, очевидно, что уменьшается количество задействованных технических средств и стоимость системы.
2. Изображения титров генерируют только во время показа на первом кадре; для всех других последующих кадров, имеющих одинаковые титры, необходимо выполнить только простую процедуру наложения титров; нет необходимости сканировать изображение каждого кадра, поэтому процесс обработки ускоряется, особенно в ситуации полноэкранного изображения титров.
3. Поскольку наложенные титры и сервисное изображение смешаны для передачи изображения с титрами, используя этот способ, даже зарубежные терминалы могут качественно показывать китайские титры.
4. Программа наложения титров установлена на платформе технических средств аппаратуры видеоконференции для того, чтобы можно было легко выбрать, следует ли производить наложение на локальном узле или на удаленном узле. Устраняется недостаток, при котором было нельзя транслировать титры для отображения на удаленном узле.
КРАТКОЕ ОПИСАНИЕ ЧЕРТЕЖЕЙ
На Фиг.1 представлено известное устройство наложения титров и соединение с системой видеоконференции.
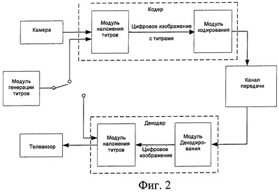
На Фиг.2 представлена принципиальная схема способа наложения титров согласно данному изобретению.
На Фиг.3 представлено воплощение настоящего изобретения, осуществленное на платформе единичного цифрового процессора сигналов (digital signal processor, DSP).
На Фиг.4 представлено воплощение настоящего изобретения, осуществленное на платформе двух цифровых процессоров сигналов (digital signal processor, DSP).
ВОПЛОЩЕНИЯ НАСТОЯЩЕГО ИЗОБРЕТЕНИЯ
Изобретение будет описано более подробно со ссылками на чертежи и примеры реализации.
В схеме, представленной на Фиг.2, изображения титров генерируют программным модулем генерации титров и с помощью переключателя передают соответственно на узел наложения титров кодера или на узел наложения титров декодера. При выборе локального узла переключатель соединяют с декодером, изображения титров через переключатель поступают на узел наложения титров декодера; затем изображения титров наносят на декодированные с помощью декодера сервисные изображения и полученные смешанные изображения посылают в телевизор для отображения. При выборе удаленного узла переключатель соединяют с кодером, изображения титров через переключатель посылают на узел наложения титров кодера; затем изображения титров наносят на поступающие от камеры изображения, далее полученные изображения с нанесенными на них титрами передают в кодер для кодирования, после чего посылают в передающий канал для трансляции удаленному узлу.
Для получения титров, выполненных красивым большим шрифтом, при генерации титров используют базу данных векторных символов, а не традиционную базу данных растровых символов. В соответствии с требованиями выбирают шрифт символов (может быть использован любой векторный шрифт операционной системы Windows, используемой уровнем управления) и размер символов, символы один за другим выводят на экран ПЭВМ с помощью программного обеспечения, затем полученные результирующие изображения записывают как точечные матрицы изображения и сохраняют в собственном формате, создавая файл базы данных символов. Используя этот способ, изменяя всего лишь несколько параметров, можно создать базу данных символов с символами различных шрифтов и размеров.
Цвета изображений титров могут быть непосредственно изменены в соответствии с цветами, выбранными на уровне управления, однако фон изображений титров остается прозрачным. Когда цвета титров определены на уровне управления, их можно выбрать из палитры цветов, имеющей богатый выбор тонов. Программное обеспечение, позволяющее изменять цвета титров, просто в использовании и легко настраивается.
Установив информацию о внутренних кодах и цветах титров, уровень управления посылает эту информацию в программный модуль наложения титров. В соответствии с номером и размером налагаемых титров программный модуль наложения титров вначале генерирует изображение в формате YUV420, размер которого точно соответствует размеру титров, и заполняет его прозрачным цветом. Затем в соответствии с точечными матрицами изображений содержимого титров и заданными цветами программный модуль наложения титров располагает точки на изображении в определенном порядке, создавая цветное изображение титров на прозрачном фоне. Полученные точечные матрицы изображения титров накладывают на входное или выходное цифровое изображение. Очевидно, что генерация изображений титров необходима только при отображении первого кадра; для последующих кадров требуется выполнить только простую процедуру наложения; нет необходимости сканировать точечные матрицы изображений титров для каждого кадра. Следовательно, обработка ускоряется; данный способ особенно важен при полноэкранных титрах. Учитывая совмещение сервисных изображений с нанесенными на них титрами, выполненное в настоящем изобретении, китайские титры (включая места для встреч в Китае) могут быть отображены на зарубежных терминалах.
Когда программный модуль наложения титров выполняет процедуру наложения титров, процедура наложения может быть выполнена либо на локальном узле, либо на удаленном узле. Когда выбирают локальный узел, то изображения титров посылают на декодер; декодер накладывает изображения титров на декодированные изображения и затем формирует на выходе смешанные изображения, предназначенные для отображения на телевизорах. При выборе удаленного узла изображения титров посылают на кодер; кодер наносит изображения титров на сервисные изображения, кодирует смешанные изображения с титрами и отсылает удаленному узлу для того, чтобы титры могли быть отражены на удаленном терминале.
На Фиг.3 изображена блок-схема терминала видеоконференции на платформе одиночного цифрового сигнального процессора (Digital Signal Processor, DSP), использующего программу наложения титров, а на Фиг.4 изображена блок-схема терминала видеоконференции на платформе двух блоков DSPs, использующих программу наложения титров. Основной принцип тот же самый. На Фиг.3 и Фиг.4 не показаны узлы обработки аудио и видеоданных, поскольку они не относятся к настоящему изобретению.
В случае платформы с единичным DSP кодирование и декодирование осуществляют одним DSP, а используя платформу на двух DSP, кодирование и декодирование осуществляют, соответственно, двумя DSPs.
Сказанное выше раскрывает только конкретные воплощения настоящего изобретения и не ограничивает объем изобретения. Любые модификации, замены и улучшения и т.д., соответствующие духу и принципам настоящего изобретения, включены в пункты нижеследующей формулы изобретения.
Формула изобретения
1. Способ наложения титров, используемый в интерактивном видеооборудовании, в котором уровень управления интерактивного видеооборудования получает заданную пользователем информацию о титрах, которые необходимо сгенерировать, причем способ включает следующие этапы, выполняемые в кодере интерактивного видеооборудования на передающем узле:
А. получение информации о титрах от уровня управления и последующее генерирование изображения титров на прозрачном фоне в соответствии с указанной принятой информацией;
В. наложение указанного изображения титров на цифровое сервисное изображение до кодирования, посланное от передающего узла, с получением цифрового изображения, смешанного с изображением титров, и кодирование этого смешанного цифрового изображения с последующей его передачей на удаленный узел.
2. Способ по п.1, в котором информация о титрах, которые необходимо сгенерировать, включает внутренние коды всех символов титров, информацию о местоположении титров, информацию о размерах титров и информацию о цветовом решении титров.
3. Способ по п.1, в котором информация о титрах, которые необходимо сгенерировать, включает внутренние коды всех символов титров, которые необходимо сгенерировать, причем внутренние коды генерируют в следующей последовательности:
используют программное обеспечение для генерации базы данных символов; выбирают векторный шрифт; в соответствии с требуемым размером символов отображают символы один за другим на экран ПЭВМ с помощью программного обеспечения, затем записывают результат отображения в виде точечной матрицы и сохраняют это изображение в виде точечной матрицы в характерном формате как файл базы данных символов.
4. Способ по п.1, в котором информация о титрах, которые необходимо сгенерировать, включает информацию о цветовом решении титров; при этом этап А дополнительно включает установку или изменение цвета символов в соответствии с информацией о цветовом решении титров и поддерживает фон изображения титров прозрачным.
5. Способ по п.1, в котором этап А включает чтение точечных матриц изображений всех символов и комбинирование точечных матриц изображений с прозрачным фоном в соответствии с местоположением и содержанием титров, выбранных на уровне управления, после того, как модуль генерации титров получит от уровня управления указанную информацию о титрах.
6. Способ по п.1, в котором на этапе В осуществляется наложение только первого кадра изображения титров на последующее цифровое сервисное изображение до кодирования, если новая информация о необходимости генерировать титры не поступает.
7. Способ наложения титров, используемый в интерактивном видеооборудовании, в котором уровень управления интерактивного видеооборудования получает заданную пользователем информацию о титрах, которые необходимо сгенерировать, причем способ включает следующие этапы, выполняемые в декодере интерактивного видеооборудования на принимающем узле:
А. получение информации о титрах от уровня управления и последующее генерирование изображения титров на прозрачном фоне в соответствии с указанной принятой информацией;
В. декодирование цифрового сервисного изображения, полученного с удаленного узла, наложение указанного изображения титров на это декодированное цифровое сервисное изображение с получением цифрового изображения, смешанного с изображением титров, и последующее отображение на принимающем узле.
8. Способ по п.7, в котором информация о титрах, которые необходимо сгенерировать, включает внутренние коды всех символов титров, информацию о местоположении титров, информацию о размерах титров и информацию о цветовом решении титров.
9. Способ по п.7, в котором информация о титрах, которые необходимо сгенерировать, включает внутренние коды всех символов титров, которые необходимо сгенерировать, причем внутренние коды генерируют в следующей последовательности:
используют программное обеспечение для генерации базы данных символов; выбирают векторный шрифт; в соответствии с требуемым размером символов отображают символы один за другим на экран ПЭВМ с помощью программного обеспечения, затем записывают результат отображения в виде точечной матрицы и сохраняют это изображение в виде точечной матрицы в характерном формате как файл базы данных символов.
10. Способ по п.7, в котором информация о титрах, которые необходимо сгенерировать, включает информацию о цветовом решении титров, при этом этап А дополнительно включает установку или изменение цвета символов в соответствии с информацией о цветовом решении титров и поддерживает фон изображения титров прозрачным.
11. Способ по п.7, в котором этап А включает чтение точечных матриц изображений всех символов и комбинирование точечных матриц изображений с прозрачным фоном в соответствии с местоположением и содержанием титров, выбранных на уровне управления, после того, как модуль генерации титров получит от уровня управления указанную информацию о титрах.
12. Способ по п.7, в котором на этапе В осуществляется наложение только первого кадра изображения титров на последующее цифровое сервисное изображение до кодирования, если новая информация о необходимости генерировать титры не поступает.
РИСУНКИ
|