|
|
(21), (22) Заявка: 2004126144/09, 28.02.2003
(24) Дата начала отсчета срока действия патента:
28.02.2003
(30) Конвенционный приоритет:
02.03.2002 US 10/087,437
(43) Дата публикации заявки: 20.01.2006
(46) Опубликовано: 20.06.2006
(56) Список документов, цитированных в отчете о поиске:
WO 96/10896 А, 11.11.1996. RU 2128884 C1, 10.04.1999. RU 2140707 C1, 27.10.1999. US 6335766 A, 01.01.2002.
(85) Дата перевода заявки PCT на национальную фазу:
26.08.2004
(86) Заявка PCT:
US 03/05049 (28.02.2003)
(87) Публикация PCT:
WO 03/075494 (12.09.2003)
Адрес для переписки:
129010, Москва, ул. Б. Спасская, 25, стр.3, ООО “Юридическая фирма Городисский и Партнеры”, пат.пов. Ю.Д.Кузнецову, рег.№ 595
|
(72) Автор(ы):
ЛАЙХО Киммо (FI), ПЕКОНЕН Харри (FI), ТОМБЕРГ Юха (FI)
(73) Патентообладатель(и):
НОКИА КОРПОРЕЙШН (FI)
|
(54) СИСТЕМА И СПОСОБ ШИРОКОПОЛОСНОЙ ЦИФРОВОЙ ШИРОКОВЕЩАТЕЛЬНОЙ ПЕРЕДАЧИ
(57) Реферат:
Раскрыты система и способ предоставления поточной информации в приемник. Система осуществляет доступ к одному или нескольким поставщикам информационных услуг для предоставления соответствующих информационных сигналов и содержит входные буферы, предназначенные для запоминания порций поточной информации, цифровой широковещательный передатчик, предназначенный для широковещательной передачи содержимого входных буферов в виде пачек передачи, приемник цифровой широковещательной передачи, предназначенный для приема пачек передачи для запоминания во входном буфере приемника, и процессор приложений, предназначенный для преобразования пачек передачи в информационный поток передачи. Приемник цифровой широковещательной передачи синхронизирован с широковещательными передачами передатчика таким образом, чтобы обеспечить возможность выключения питания между выбранными пачками передачи. Тезническим результатом является использование ресурсов широковещательной передачи данных для функций передачи и приема. 4 н. и 43 з.п.ф-лы, 11 ил.
Область техники, к которой относится изобретение
Это изобретение относится к передаче аудиоданных, видеоданных, управляющих данных или другой информации и, в частности, к способу эффективного использования ресурсов широковещательной передачи информации.
Уровень техники
Программирование поточной передачи видео, поточной передачи аудио и широкополосной цифровой широковещательной передачи увеличивается по популярности в сетевых приложениях. Одной системой, используемой в настоящее время в Европе и во всем мире, является широковещательная передача цифрового видео (DVB, ШПЦВ), которая обеспечивает функциональные возможности, предназначенные для доставки данных дополнительно к информации телевизионного изображения. Комитет по системам усовершенствованного телевидения (ATSC, КСУТ) также определил сеть цифровой широкополосной широковещательной передачи. Как КСУТ, так и ШПЦВ используют способ контейнерной передачи, в котором информацию, предназначенную для передачи, помещают в пакеты MPEG-2, служащие в качестве контейнеров данных, которые могут быть использованы для переноса подходящим образом преобразованных в цифровую форму данных, включая данные телевидения высокого разрешения, данные многоканального телевидения стандартного разрешения, такого как PAL/NTSC и SECAM, и широкополосные мультимедийные данные и интерактивные услуги. Передача и прием такого программирования обычно требуют, чтобы в используемую аппаратуру постоянно подавалось электропитание так, чтобы быть в состоянии посылать или принимать всю поточную информацию. Однако в современном состоянии уровня техники уровни потребления мощности, особенно во входном каскаде приемника цифровой широковещательной передачи или подвижного терминала, являются относительно высокими и должны быть уменьшены для улучшения эффективности работы аппаратуры широковещательной передачи.
Требуется система и способ более эффективного использования ресурсов широковещательной передачи данных для функций передачи и приема.
Сущность изобретения
В предпочтительном варианте осуществления настоящее изобретение представляет систему и способ предоставления поточной информации в виде сигнала данных в приемник подвижного терминала. Система широковещательной передачи включает в себя одного или нескольких поставщиков услуг для предоставления поточной информации, входные буферы, предназначенные для запоминания последовательных порций поточной информации, цифровой широковещательный передатчик, предназначенный для широковещательной передачи содержимого входных буферов в виде пачек передачи, приемник цифровой широковещательной передачи, предназначенный для приема и запоминания пачек передачи в буфере приемника, и процессор приложений в подвижном терминале, предназначенный для преобразования запомненных пачек передачи в информационный поток данных.
Краткое описание чертежей
При описание изобретения, приведенного ниже, дана ссылка на сопровождающие чертежи, на которых:
фиг. 1 изображает упрощенную схему традиционной системы поточной цифровой широковещательной передачи;
фиг. 2 изображает форму сигнала поточного сигнала, выведенного с помощью традиционной системы поточной цифровой широковещательной передачи фиг. 1;
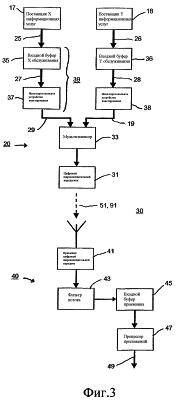
фиг. 3 изображает систему цифровой широковещательной передачи с квантованием времени в соответствии с одним вариантом осуществления настоящего изобретения;
фиг. 4 представляет график, изображающий изменения во времени содержимого входного буфера обслуживания в системе широковещательной передачи фиг. 3 в соответствии с одним вариантом осуществления настоящего изобретения;
фиг. 5 изображает форму сигнала передачи сигнала, выведенного с помощью цифрового широковещательного передатчика в системе фиг. 3 в соответствии с одним вариантом осуществления настоящего изобретения, причем сигнал включает в себя информацию, полученную от одного из поставщиков информационных услуг;
фиг. 6 представляет график, изображающий изменения во времени содержимого входного буфера приемника в системе широковещательной передачи фиг. 3 в соответствии с одним вариантом осуществления настоящего изобретения;
фиг. 7 изображает форму сигнала передачи мультиплексированного сигнала с временным уплотнением, выведенного с помощью цифрового широковещательного передатчика в системе фиг. 3 в соответствии с одним вариантом осуществления настоящего изобретения, причем мультиплексированный сигнал включает в себя информацию, полученную от обоих поставщиков информационных услуг;
фиг. 8 изображает альтернативный предпочтительный вариант осуществления системы цифровой широковещательной передачи с квантованием времени;
фиг. 9 представляет график, изображающий изменения во времени содержимого входного буфера обслуживания в системе широковещательной передачи фиг. 8 в соответствии с одним вариантом осуществления настоящего изобретения;
фиг. 10 представляет последовательность графиков, изображающих формы сигналов передачи сигналов, выведенных с помощью многопротокольных устройств пакетирования в системе широковещательной передачи фиг. 8 в соответствии с одним вариантом осуществления настоящего изобретения; и
фиг. 11 изображает форму сигнала передачи мультиплексированного сигнала с временным уплотнением, выведенного с помощью цифрового широковещательного передатчика в системе фиг. 8 в соответствии с одним вариантом осуществления настоящего изобретения.
Подробное описание изобретения
Фиг. 1 изображает упрощенную схему традиционной системы 10 поточной цифровой широковещательной передачи, в которой информационный сигнал 21, формулируемый у поставщика 11 информационных услуг, передают клиенту, осуществляющему доступ к приемнику 15 цифровой широковещательной передачи. Информационный сигнал 21 обычно посылают от поставщика 11 услуг в передатчик 13 через линию связи, которая может быть линией связи Интернет. Передатчик 13 осуществляет широковещательную передачу информационного сигнала в приемник 15 в виде поточного сигнала 23, обычно посредством широковещательной антенны (не изображена).
В традиционном применении передачи сигнала передатчик 13 обеспечивает непрерывный или медленно изменяющийся поток данных, имеющий скорость бит приблизительно 100 Кбит/с, такой как изображен на фиг. 2. Следовательно, поточный сигнал 23 проявляет ту же самую скорость передачи 100 Кбит/с, что и информационный сигнал 21, формируемый у поставщика 11 услуг. Приемник 15 цифровой широковещательной передачи обязательно работает в режиме постоянно включенного электропитания для приема всей информации, поданной с помощью поточного сигнала 23, который также может включать в себя один или несколько других потоков данных, предоставленных одним или несколькими другими поставщиками услуг (не изображены).
На фиг. 3 изображен первый предпочтительный вариант осуществления системы 30 цифровой широковещательной передачи с квантованием времени, включающей в себя систему 20 передатчика и подвижный терминал 40. Первый сигнал 25 данных, формируемый у первого поставщика 17 информационных услуг в системе передатчика, делают доступным через сетевую линию связи (не изображена) для передачи по направлению основного трафика клиенту с использованием приемника 41 цифровой широковещательной передачи в подвижном терминале 40. Заранее определенный интервал поточной информации в сигнале 25 данных сначала буферизируют в первом входном буфере 35 обслуживания в виде буферизированных данных 27. Первый входной буфер 35 обслуживания может быть, например, буфером типа “первым пришел, первым вышел” (FIFO, ПППВ), гибким буфером, кольцевым буфером или двойным буфером, имеющим отдельные входную и выходную секции.
В предпочтительном варианте осуществления буферизированные данные 27 затем форматируют, например, с помощью использования многопротокольного устройства 37 пакетирования в соответствии с разделом 7 европейского стандарта EN 301192 “Digital Video Broadcasting (DVB); DVB specification for data broadcasting”. В альтернативном варианте осуществления первый входной буфер 35 обслуживания объединен с многопротокольным устройством 37 пакетирования таким образом, что содержит одно входное устройство 39. Пакетированные данные 29 посылают с помощью многопротокольного устройства 37 пакетирования в цифровой широковещательный передатчик 31 для широковещательной передачи в приемник 41 широковещательной передачи в виде сигнала 51 с квантованием времени, описанного более подробно ниже.
Количество информации, сохраненной в первом входном буфере 35 обслуживания, в виде функции времени может быть представлено с помощью пилообразной формы 71 сигнала, изображенной на графике фиг. 4. Когда первый поставщик 17 услуг подает сигнал 25 данных, информация данных, присутствующая в первом входном буфере 35 обслуживания, увеличивается до максимального уровня буфера, на графике обозначенного с помощью величины 73 первого локального максимума. Величина 73 первого локального максимума является функцией величины памяти, назначенной в первом входном буфере 35 обслуживания, предназначенном для запоминания первого информационного сигнала.
Размер первого входного буфера 35 обслуживания обычно задают достаточно большим для запоминания данных, принятых из информационного потока в интервале времени между последовательными максимумами формы сигнала (например, данные, принятые в интервале времени между величиной первого локального максимума 73 и между величиной второго локального максимума 75). Буферизированные данные 27, запомненные в первом входном буфере 35 обслуживания, периодически посылают через многопротокольное устройство 37 пакетирования в цифровой широковещательный передатчик 31. Таким образом, поскольку содержимое первого входного буфера 35 обслуживания периодически передают, следующие входящие данные не будут вызывать превышение заданной емкости памяти. Когда буферизированные данные 27 посылают в цифровой широковещательный передатчик 31, количество буферизированной информации, остающейся в первом входном буфере 35 обслуживания, уменьшается до величины 74 локального минимума, который может быть равен нулю.
Первый входной буфер 35 обслуживания может включать в себя флаг “AF, ППолн”, который может быть установлен, когда достигают подсчета 79 байт “почти полный”, для указания, когда первый входной буфер 35 обслуживания близок к превышению назначенной емкости памяти. Предпочтительно процесс вывода буферизированных данных 27 начинается, когда установлен флаг ППолн. Это служит для обеспечения емкости памяти для следующего интервала поточной информации, посланной поставщиком 17 услуг (на чертеже обозначенной с помощью следующей части формы 71 сигнала). Когда введен следующий интервал информации поточных данных, буферизированная информация в первом входном буфере 35 обслуживания достигает величины 75 второго локального максимума, которую затем выводят, когда установлен флаг ППолн, получая в результате величину 76 второго локального минимума. Процесс повторяют, выдавая величину 77 третьего локального максимума и величину 78 третьего локального минимума.
Таким образом, каждую следующую порцию поточных данных в первом входном буфере 35 обслуживания последовательно выводят в цифровой широковещательный передатчик 31 для передачи в приемник 41 цифровой широковещательной передачи. Это действие создает сигнал 51 с квантованием времени, часть которого изображена на фиг. 5. Сигнал 51 с квантованием времени содержит непрерывную последовательность пачек передачи, представленных в качестве примера с помощью пачек 53, 55 и 57 передачи. В приведенном примере пачка 53 передачи соответствует передаче буферизированной информации, представленной с помощью перехода формы сигнала 71 из величины 73 локального максимума в величину 74 локального минимума. Подобным образом следующая пачка 55 передачи соответствует передаче буферизированной информации, представленной с помощью перехода формы сигнала 71 из величины локального максимума 75 в величину 76 локального минимума, и пачка 57 передачи соответствует передаче буферизированной информации, представленной с помощью перехода из величины локального максимума 77 в величину 78 локального минимума.
В предпочтительном варианте осуществления каждая из пачек 53, 55 и 57 передачи является импульсом со скоростью 4 Мбит/с, приблизительно длительностью, равной одной секунде, для обеспечения передачи четырех Мбит буферизированной информации на пачку передачи. Пачки 53, 55 и 57 разделены интервалами, приблизительно равными 40 секунд, таким образом, чтобы сигнал 51 с квантованием времени эффективно осуществлял широковещательную передачу со средней скоростью передачи информации сигнала 100 Кбит в секунду (т. е., той же скоростью передачи, что и скорость передачи входящего поточного сигнала 23). Сегмент сигнала, равный 40 секундам, запомненный в первом входном буфере 35 обслуживания, содержит информацию сигнала, передаваемую способом широкого вещания в приемник 41 цифровой широковещательной передачи, например, как любую из пачек 53, 55 и 57 передачи.
На фиг. 3 приемник 41 цифровой широковещательной передачи посылает сигнал 51 с квантованием времени в фильтр 43 потока для удаления пакетирования из информационного сигнала, которое было добавлено с помощью многопротокольного устройства 37 пакетирования. Пакетирование может соответствовать, например, стандартам Интернет протокола (IP). В предпочтительном варианте осуществления используют фильтрацию протокола Буля для минимизирования количества логических схем, необходимых для операций фильтрации, выполняемых с помощью фильтра 43 потока, и, следовательно, оптимизации пропускной способности приемника 41 цифровой широковещательной передачи.
Затем отфильтрованные данные посылают во входной буфер 45 приемника. Входной буфер 45 приемника работает таким образом, что временно запоминает отфильтрованные данные, которые могут содержать любую из пачек 53, 55 и 57 передачи, перед тем, как они будут посланы по направлению основного трафика в процессор 47 приложений для преобразования в информационный поток 49 данных. Этот процесс может быть проиллюстрирован со ссылкой на график фиг. 6, на которой пилообразная форма 81 сигнала схематично представлена в виде функции времени количества отфильтрованных данных, запомненных во входном буфере 45 приемника. Предпочтительно размер входного буфера 45 приемника в подвижном терминале 40, по существу, является таким же, как размер первого входного буфера 35 обслуживания в системе 20 передатчика.
В альтернативном предпочтительном варианте осуществления входной буфер 45 приемника приспособлен к конфигурации входного буфера 45 обслуживания, в котором часть входного буфера 45 обслуживания, предназначенная для запоминания входящего потока данных, может изменяться в соответствии с характеристиками поточной информации, выбранной от конкретного поставщика информационных услуг. То есть, выбранный поставщик информационных услуг может подавать поток данных, который может быть запомнен с использованием только части ресурсов памяти, имеющихся во входном буфере 35 обслуживания (т. е. ‘коэффициент использования’ меньше единицы). В одном альтернативном варианте осуществления информацию о коэффициенте использования подают в подвижный терминал 40 в виде части сигнала 51 с квантованием времени, чтобы дать возможность входному буферу 45 приемника предусматривать и адаптироваться к меньшему количеству переданных данных, обеспеченных в передатчике. В другом альтернативном варианте осуществления информацию о коэффициенте использования не подают в подвижный терминал 40 в виде части сигнала 51 с квантованием времени. Вместо этого подвижный терминал 40 продолжает принимать данные из системы 20 передатчика и через некоторый период времени получает коэффициент использования с помощью определения части ресурсов памяти, необходимых во входном буфере 45 приемника для данных, предоставленных выбранным поставщиком услуг.
При включении приемника 41 цифровой широковещательной передачи для первоначального приема услуги, которая имеет малую скорость бит, приемник 41 цифровой широковещательной передачи будет испытывать относительно длительный период между следующими пачками. Поскольку фактическая скорость бит первоначально не известна, приемник 41 цифровой широковещательной передачи может оставаться с включенным питанием в течение периода времени дольше периода, необходимого для приема первоначальной пачки сигнала услуги малой скорости бит. Затем потребителю может быть придется ждать, чтобы ‘запустить’ запрошенную услугу. Однако, когда меньшее количество данных предназначено для запоминания во входном буфере 45 приемника (т.е. когда коэффициент использования меньше единицы), приемник 41 цифровой широковещательной передачи может принять первую пачку раньше, то есть с минимальной задержкой, и время запуска услуги может быть уменьшено соответствующим образом с помощью использования информации о коэффициенте использования.
Когда пачка 53 передачи принята во входном буфере 45 приемника, форма 81 сигнала достигает первого локального максимума 83. Подсчет байт, запомненный во входном буфере 45 приемника, затем уменьшается из первого локального максимума 83 до первого локального минимума 47. Предпочтительно скорость, с которой содержимое входного буфера 45 приемника передают в процессор 47 приложений, по меньшей мере, равна скорости, с которой информацию данных помещают в первый входной буфер 35 обслуживания. Это служит для того, чтобы гарантировать, что входной буфер 45 приемника доступен для запоминания следующей пачки 55 передачи. Когда следующая пачка 55 передачи принята во входном буфере 45 приемника, форма 81 сигнала достигает второго локального максимума 85, который уменьшается до второго локального минимума 86, когда принятый интервал информации передают из входного буфера 45 приемника в процессор 47 приложений для преобразования в пакет данных.
Процесс продолжают со следующей пачкой 57 передачи, создающей третий локальный максимум 87, который уменьшается до третьего локального минимума 88. Предпочтительно входной буфер 45 приемника включает в себя флаг ‘АЕ, ППуст’ для указания, когда достигнут подсчет 82 байт “почти пустой”, а флаг ППолн для указания, когда достигнут подсчет 89 байт “почти полный”. Как объяснено более подробно ниже, флаги ППуст и ППолн могут быть преимущественно использованы для синхронизации включения и выключения питания соответственно приемника 41 цифровой широковещательной передачи, чтобы согласовать с синхронизацией входящих пачек передачи, таких как пачки 53, 55 и 57.
Процессор 57 приложений работает таким образом, что непрерывно вводит данные буфера из входного буфера 45 приемника и непрерывно переформатирует буферизированные данные в информационный поток 49 данных. Как может понять специалист в соответствующей области техники, пока цифровой широковещательный передатчик 31 остается с включенным питанием в режиме передачи в течение каждой пачки 53, 55 и 57 передачи, питание цифрового широковещательного передатчика 31 преимущественно может быть выключено в ‘свободные’ интервалы времени между пачками 53 и 55 передачи и между пачками 55 и 57 передачи для уменьшения требований рабочей мощности. Выключение питания может быть выполнено, например, с помощью управляемого выключателя, как хорошо известно в соответствующей области техники.
В частности, питание цифрового широковещательного передатчика 31 может быть выключено после момента 61 окончания пачки 53 передачи (изображенного в t=1 с), и он может оставаться с выключенным питанием точно до момента 63 начала пачки 55 передачи (изображенного в t=40 с). Аналогично питание цифрового широковещательного передатчика 31 может быть выключено после момента 65 окончания пачки 55 передачи (изображенного в t=41 с), и он может оставаться с выключенным питанием точно до момента 67 начала пачки 57 передачи (изображенного в t=80 с). При завершении пачки 57 передачи, указанном как момент 69 окончания (изображенный в t=81 c), питание цифрового широковещательного передатчика 31 опять может быть выключено, если необходимо.
В альтернативном предпочтительном варианте осуществления система 30 цифровой широковещательной передачи с квантованием времени включает в себя одного или нескольких дополнительных поставщиков услуг, в качестве примера представленных вторым поставщиком 18 услуг, изображенным на фиг. 3. Второй поставщик 18 услуг посылает второй сигнал 26 данных в цифровой широковещательный передатчик 31 через сетевую линию связи (не изображена). Второй сигнал 26 данных, принятый от второго поставщика 18 услуг, помещают во второй входной буфер 36 обслуживания и пакетируют, например, с использованием многопротокольного устройства 38 пакетирования, как описано выше. Мультиплексор 33 обрабатывает пакетированные сигналы 29 из первого входного буфера 35 обслуживания с пакетированным сигналом 19 из второго входного буфера 36 обслуживания в мультиплексированный сигнал 91 с временным уплотнением (TDM, МВУ), описанный более подробно ниже, причем широковещательная передача может включать в себя многоадресную передачу или одноадресную передачу.
Следует понимать, что, если только один поставщик услуг посылает информацию в цифровой широковещательный передатчик 31, например первый поставщик 17 услуг, мультиплексор 33 не требуется для работы системы 30 цифровой широковещательной передачи с квантованием времени. Таким образом, в первом предпочтительном варианте осуществления, приведенном выше, сигнал в первом входном буфере 35 обслуживания может быть непосредственно подан в цифровой широковещательный передатчик 31 через многопротокольное устройство 37 пакетирования.
Для альтернативного предпочтительного варианта осуществления, изображенного на фиг. 3, в котором два поставщика услуг подают информационные сигналы, сигнал 91 МВУ, изображенный на фиг.7, содержит непрерывную последовательность пачек передачи, включающих пачки 53, 55 и 57, получающиеся в результате из информационных сигналов, поданных с помощью первого входного буфера 35 обслуживания, чередующихся с пачками 93, 95 и 97 передачи, получающимися в результате из информационных сигналов, поданных с помощью второго входного буфера 36 обслуживания. В приведенном примере каждая из пачек 93, 95 и 97 передачи появляется приблизительно через десять секунд после соответствующих пачек 53, 55 и 57. Как может понять специалист в соответствующей технике, раскрытый способ не ограничен этим десятисекундным разделением, и могут быть использованы другие интервалы передачи, если необходимо. В частности, интервал передачи между пачками 93, 95 и 97 передачи может быть больше или меньше чем 10 секунд. Кроме того, если включены дополнительные поставщики услуг в систему 30 цифровой широковещательной передачи с квантованием времени, в сигнал 91 МВУ будет включено одно или несколько множеств чередующихся пачек передачи (не изображены).
В предпочтительном варианте осуществления режим приема с включенным питанием приемника 41 цифровой широковещательной передачи на фиг. 3 синхронизирован с окном передачи, в течение периода которого передает цифровой широковещательный передатчик 31. Следовательно, например, для приема сигнала 51 с квантованием времени приемник 41 цифровой широковещательной передачи остается с включенным питанием в режиме приема в течение каждой входящей пачки 53, 55 и 57 передачи, и его питание может быть выключено в интервалах времени между пачками 53 и 55 передачи и между пачками 55 и 57 передачи. В альтернативном варианте осуществления фильтр 43 потока также синхронизирован для поддержки режима включенного питания с окном передачи.
В качестве примера такая синхронизация может быть выполнена с помощью использования размеров пачек либо фиксированного, либо программируемого размера и с помощью использования флага Ппуст и подсчета 82 байт “почти пустой”, упомянутых выше, в качестве критерия для включения питания приемника 41 цифровой широковещательной передачи и подготовки приема следующей пачки передачи после постоянных или медленно изменяющихся интервалов времени. То есть, приемник 41 цифровой широковещательной передачи получает информацию о нерегулярной широковещательной передаче, как описано выше. Клиент также может конфигурировать приемник 41 цифровой широковещательной передачи таким образом, чтобы принимать во внимание любые задержки передачи, например, получающиеся в результате времени адаптации скорости бит, времени включения приемника, времени захвата приемника и/или интервала времени изменения скорости бит. Типичная величина для времени адаптации может быть приблизительно равна 10 мкс, а для времен включения и времен захвата типичная величина может быть приблизительно равна 200 мс. Следовательно, приемник 41 цифровой широковещательной передачи сконфигурирован таким образом, чтобы его питание включали достаточно заранее входящей пачки для адаптации факторов приемлемой задержки. Подобным образом флаг ППолн и подсчет 89 байт “почти полный”, упомянутые выше, могут быть использованы в качестве критерия для выключения питания приемника 41 цифровой широковещательной передачи.
В некоторых вариантах осуществления также, как приемник 41 цифровой широковещательной передачи может адаптировать размер буфера на основании входящих пачек передачи, приемник 41 цифровой широковещательной передачи альтернативно может автоматически адаптироваться к изменению размера и времени пачек передачи с помощью анализа входящих передач и соответствующим образом адаптирования времени включения питания/выключения питания. Например, приемник цифровой широковещательной передачи может запоминать информацию мета-данных входящей пачки передачи (например, информация, указывающая, что используется квантование времени, и информация, указывающая номер версии спецификации с квантованием времени, сообщает приемнику, какие реальные параметры времени используются, например информация о том, что пачки с квантованием времени являются периодическими) в базе данных информации пачек передачи. С помощью анализа мета-данных входящей пачки передачи приемник цифровой широковещательной передачи может более надежно предсказывать моменты времени, когда приемник цифровой широковещательной передачи будет принимать пачки передачи и адаптироваться к изменениям времени передачи, а также адаптироваться к разным размерам пачек передачи. То есть, если скорость бит любого принятого информационного сигнала обслуживания остается относительно постоянной, приемник цифровой широковещательной передачи может адаптироваться к изменениям с помощью мониторинга входящих шаблонов.
В другом дополнительном альтернативном варианте приемник может прослушивать поток обслуживания услуг (идентификация услуг) и стараться узнать на основании предсказуемых частей или шаблонов потока передачи, когда данные поступят или когда данные не поступят, т.е. когда приемник должен быть включен или когда приемник должен быть выключен. Кроме того, когда размер пачек определен в приемнике посредством контроля размера принятых пачек во время приема пачки, приемник может определять ожидаемый размер пачек, которые поступают. Следовательно, приемник может определять регулярный период времени, когда данные не поступают в приемник, и, если этот период является достаточно длительным, приемник может выключаться, по меньшей мере, частично в течение определенного периода.
Еще в одном альтернативном предпочтительном варианте осуществления система 100 цифровой широковещательной передачи с МВУ включает в себя систему 130 передатчика и подвижный терминал 40, изображенные на фиг. 8. Система 100 цифровой широковещательной передачи дополнительно включает в себя множество поставщиков 101-107 услуг, посылающих соответственные информационные потоки в соответствующие входные буферы 111-117 обслуживания. Выходные сигналы каждого из входных буферов 111-117 обслуживания форматируют посредством множества многопротокольных устройств 109 пакетирования, как описано выше. Пакетированные данные 121-127, выведенные из соответственных многопротокольных устройств 109 пакетирования, подают во входной буфер 131 оператора сети, как изображено. Объем данных, запомненных в любом из входных буферов 111-117 обслуживания, является функцией времени, как представлено с помощью пилообразной формы 121 сигнала на фиг. 9.
Входной буфер 131 оператора сети запоминает заранее определенное количество буферизированных данных из каждого из входных буферов 111-117 обслуживания. Данные подают в мультиплексор 133 и посылают в цифровой широковещательный передатчик 135 для широковещательной передачи в виде сигнала 137 с МВУ. Входной буфер 131 оператора сети работает таким образом, что принимает и запоминает множество входных сигналов из каждого из входных буферов 111-117 обслуживания перед выводом в мультиплексор 133. Например, фиг. 10 иллюстрирует ввод данных во входной буфер 131 оператора сети, в котором пакетированные данные 121 принимают из входного буфера 111 обслуживания, пакетированные данные 123 принимают из входного буфера 113 обслуживания, пакетированные данные 125 принимают из входного буфера 115 обслуживания и пакетированные данные 127 принимают из входного буфера 117 обслуживания. Следует понимать, что несмотря на то, что формы сигналов пакетированных данных 121-127 изображены как разделенные регулярными интервалами для простоты иллюстрации, изобретение не ограничено этим режимом передачи. Таким образом, могут быть использованы другие различные интервалы передачи, и скорости передачи форм сигналов пакетированных данных 121-127 могут отличаться друг от друга.
Один пример широковещательной передачи сигнала 137 с МВУ с помощью цифрового широковещательного передатчика 135 изображен на фиг. 11, на которой информационный поток, поданный поставщиком 101 услуг, появляется в виде пачки 141, 143 и 145 передачи (изображенные на фигуре сплошным заполнением для ясности). В варианте осуществления, имеющем ширину полосы частот мультиплексора, приблизительно равную 12 Мбит/с, пачки 141, 143 и 145 передачи могут быть сконфигурированы как пачки по 12 Мбит/с, длительности, приблизительно равной одной секунде. Например, пачка 141 передачи может содержать три пачки передачи по 4 Мбит/с, поданные во входной буфер 131 оператора сети с помощью входного буфера 111 обслуживания. Следующая пачка 151 передачи 12 Мбит/с может содержать четыре пачки передачи, поданные во входной буфер 131 оператора сети с помощью входного буфера 113 обслуживания. В альтернативном варианте осуществления, например, пачка 141 передачи может иметь длительность, большую или меньшую одной секунды, и может содержать больше или меньше, чем три входящие пачки передачи. Если необходима дополнительная ширина полосы частот, поскольку включены дополнительные поставщики услуг, или если количество данных, передаваемых поставщиками 101-107 услуг, существенно увеличивается, дополнительные каналы передачи (не изображены) могут быть предоставлены для использования в системе 100 цифровой широковещательной передачи с МВУ.
В предпочтительном варианте осуществления пачки передачи, инициируемые с помощью конкретного поставщика услуг, могут содержать уникальный поток данных. Например, пачки 141, 143 и 145 могут содержать первый поток данных, формируемый у поставщика 101 услуг, причем поток данных имеет время включения пачек, приблизительно равное 333 мс, а время выключения пачек приблизительно 39,667 с. Первый поток данных содержит следующие пачки передачи, появляющиеся точно каждые сорок секунд (не изображены), причем каждая пачка передачи включает в себя информацию, формируемую у поставщика 101 услуг. Аналогично пачка 151 передачи содержит второй поток данных вместе с пачками 153, 155 передачи, и следующие пачки передачи, появляющиеся каждые сорок секунд (не изображены), причем второй поток данных включает в себя информацию, формируемую у поставщика 103 услуг. В одном альтернативном варианте осуществления приемник 41 цифровой широковещательной передачи синхронизирован таким образом, что выборочно принимает, например, только первый поток данных. Таким образом, в этом варианте осуществления питание приемника 41 цифровой широковещательной передачи включают, по меньшей мере, на 333 мс каждые сорок секунд для приема пачек 141, 143 и 145 передачи и следующих пачек передачи первого потока данных, и питание выключают в периоды интервалов времени.
Несмотря на то, что изобретение описано со ссылкой на конкретные варианты осуществления, будет понятно, что настоящее изобретение ни в коей мере не ограничено конкретными конструкциями и способами, раскрытыми в настоящем описании и/или, изображенными на чертежах, но также содержит любые модификации или эквивалентные варианты, которые находятся в рамках объема формулы изобретения.
Формула изобретения
1. Способ предоставления поточной информации от поставщика (17) услуг в подвижный терминал (40), заключающийся в том, что до передачи буферизируют первую часть информационного потока (25) в первом входном буфере (35) обслуживания в виде буферизированных данных (27), передают буферизированные данные (27) в виде пачки (53) передачи в сигнале (51) с квантованием времени, причем пачка (53) передачи имеет длительность, меньшую, чем длительность части информационного потока (25), включают питание приемника (41) в подвижном терминале (40) синхронно с пачкой (53) передачи таким образом, что питание подвижного терминала (40) включено, когда передают пачку (53) передачи, и буферизируют принятую пачку (53) передачи во входном буфере (45) приемника в подвижном терминале.
2. Способ по п.1, отличающийся тем, что упомянутый первый входной буфер (35) обслуживания содержит, по меньшей мере, один элемент группы, состоящей из следующих элементов: буфер “первым пришел, первым вышел (ПППВ)”, гибкий буфер, кольцевой буфер и двойной буфер, имеющий отдельные входную и выходную секции.
3. Способ по п.1, отличающийся тем, что буферизированные данные (27) содержат, по меньшей мере, одно из следующего: заранее определенное количество информационного потока (25) и количество информационного потока (25), принятого в течение заранее определенного интервала времени.
4. Способ по п.1, отличающийся тем, что упомянутый этап, на котором включают питание приемника (41), имеет место в определенный интервал времени перед упомянутым этапом, на котором передают буферизированные данные (27).
5. Способ по п.4, отличающийся тем, что определенный интервал времени содержит элемент группы, состоящей из следующих элементов: время адаптации скорости бит, время включения приемника и время захвата приемника.
6. Способ по п.5, отличающийся тем, что дополнительно возвращают приемник (41) в режим выключенного питания в ответ на установку флага выключения питания во входном буфере (45) приемника.
7. Способ по п.6, отличающийся тем, что флаг выключения питания устанавливают в ответ на достижение входным буфером (45) приемника определенного подсчета максимума байт.
8. Способ по п.1, отличающийся тем, что дополнительно выключают питание приемника (41) на заранее определенный интервал времени после упомянутого этапа, на котором включают питание приемника (41).
9. Способ по п.8, отличающийся тем, что заранее определенный интервал времени содержит интервал времени, больший чем длительность пачки передачи.
10. Способ по п.8, отличающийся тем, что дополнительно возвращают приемник (41) в режим включенного питания в ответ на установку флага включения питания во входном буфере (45) приемника.
11. Способ по п.10, отличающийся тем, что флаг включения питания устанавливают в ответ на достижение входным буфером (45) приемника определенного подсчета байт.
12. Способ по п.1, отличающийся тем, что упомянутый этап, на котором передают упомянутые буферизированные данные (27), включает в себя этапы, на которых пакетируют буферизированные данные (27) с использованием многопротокольного устройства (37) пакетирования для формирования пакетированных данных (29) и передают пакетированные данные (29) в виде упомянутой пачки (53) передачи.
13. Способ по п.12, отличающийся тем, что многопротокольное устройство (37) пакетирования соответствует стандарту EN 301192.
14. Способ по п.12, отличающийся тем, что дополнительно получают пачку (53) передачи из входного буфера (45) приемника и удаляют пакетирование из пачки (53) передачи для формирования принятых данных.
15. Способ по п.14, отличающийся тем, что дополнительно посылают принятые данные в процессор (47) приложений для преобразования в информационный поток (49) данных.
16. Способ по п.1, отличающийся тем, что дополнительно буферизируют часть второго информационного потока (26) во втором входном буфере (36) обслуживания в виде вторых буферизированных данных (28), передают вторые буферизированные данные в виде второй пачки (93) передачи, причем вторая пачка (93) передачи имеет длительность, меньшую, чем длительность части второго информационного потока (26).
17. Способ по п.16, отличающийся тем, что мультиплексируют упомянутую пачку (53) передачи со второй пачкой (93) передачи для создания мультиплексированного сигнала (91) с временным уплотнением.
18. Подвижный терминал (40), подходящий для приема поточной информации (25), предоставленной поставщиком (17) услуг, содержащий приемник (41) цифровой широковещательной передачи, предназначенный для приема, по меньшей мере, первой части поточной информации (25) в виде пачки (53) передачи, управляемый выключатель для включения питания приемника (41) цифровой широковещательной передачи в заранее определенное время включенного питания и для выключения питания приемника (41) цифровой широковещательной передачи в заранее определенное время выключенного питания, входной буфер (45) приемника, предназначенный для запоминания пачки (53) передачи, процессор (47) приложений, предназначенный для преобразования пачки (53) передачи в информационный поток (49) данных, и фильтр (43) потока, предназначенный для удаления пакетирования из пачки (53) передачи.
19. Подвижный терминал по п.18, отличающийся тем, что заранее определенное время включенного питания имеет место определенный период времени после заранее определенного времени выключенного питания.
20. Подвижный терминал по п.18, отличающийся тем, что заранее определенное время включенного питания имеет место при установке флага, указывающего почти пустой подсчет байт во входном буфере приемника.
21. Подвижный терминал по п.18, отличающийся тем, что заранее определенное время включенного питания имеет место увеличивающийся период времени перед появлением упомянутой пачки передачи.
22. Подвижный терминал по п.21, отличающийся тем, что увеличивающийся период времени содержит элемент группы, состоящей из следующих элементов: время адаптации скорости бит, время включения приемника, время захвата приемника и интервал времени изменения скорости бит.
23. Подвижный терминал по п.18, отличающийся тем, что заранее определенное время выключенного питания имеет место определенный период времени после заранее определенного времени включенного питания.
24. Подвижный терминал по п.23, отличающийся тем, что определенный период, по меньшей мере, равен длительности упомянутой пачки передачи.
25. Подвижный терминал по п.18, отличающийся тем, что заранее определенное время выключенного питания имеет место при установке флага, указывающего почти полный подсчет байт во входном буфере (45) приемника.
26. Подвижный терминал по п.18, отличающийся тем, что заранее определенное время включенного питания имеет место увеличивающийся период времени после передачи пачки (53) передачи.
27. Подвижный терминал по п.29, отличающийся тем, что фильтр (43) потока содержит фильтр Интернет-протокола (IP).
28. Подвижный терминал по п.18, отличающийся тем, что заранее определенное время включенного питания и заранее определенное время выключенного питания автоматически определяют с помощью подвижного терминала на основании, по меньшей мере, части запомненной информации пачки передачи.
29. Система (100) для цифровой широковещательной передачи, содержащая поставщика (101) информационных услуг для предоставления поточной информации, систему (130) передатчика, предназначенную для широковещательной передачи, по меньшей мере, части поточной информации в виде пачки (141) передачи, причем система (130) передатчика включает в себя входной буфер (111) обслуживания и подвижный терминал (40), предназначенный для приема пачки (141) передачи, причем подвижный терминал (40) включает в себя приемник (41) цифровой широковещательной передачи и входной буфер (45) приемника, предназначенный для буферизации пачки (141) передачи, при этом подвижный терминал (40) дополнительно включает в себя управляемый выключатель для выключения питания приемника (41) цифровой широковещательной передачи в заранее определенное время выключенного питания и для включения питания приемника (41) цифровой широковещательной передачи в заранее определенное время включенного питания.
30. Система (100) цифровой широковещательной передачи по п.29, отличающаяся тем, что коэффициент использования для входного буфера (45) приемника является функцией коэффициента использования входного буфера (111) обслуживания.
31. Система (100) цифровой широковещательной передачи по п.29, отличающаяся тем, что при включении приемника (41) цифровой широковещательной передачи для первоначального приема первой пачки передачи временем включения управляют с помощью коэффициента использования таким образом, что приемник (41) цифровой широковещательной передачи принимает упомянутую первую пачку с минимальной задержкой.
32. Система (100) цифровой широковещательной передачи по п.29, отличающаяся тем, что поставщик (101) информационных услуг предоставляет, по меньшей мере, одну услугу, по меньшей мере, через один информационный поток.
33. Система (100) цифровой широковещательной передачи по п.29, отличающаяся тем, что заранее определенное время выключенного питания имеет место при установке флага, указывающего почти полный подсчет байт во входном буфере (45) приемника.
34. Система (100) цифровой широковещательной передачи по п.29, отличающаяся тем, что заранее определенное время включенного питания имеет место возрастающий период времени перед появлением упомянутой пачки передачи.
35. Система (100) цифровой широковещательной передачи по п.29, отличающаяся тем, что заранее определенное время включенного питания имеет место определенный период времени после заранее определенного времени выключенного питания.
36. Система (100) цифровой широковещательной передачи по п.29, отличающаяся тем, что заранее определенное время включенного питания имеет место при установке флага, указывающего почти пустой подсчет байт во входном буфере (45) приемника.
37. Система (100) цифровой широковещательной передачи по п.29, отличающаяся тем, что дополнительно содержит процессор (47) приложений, предназначенный для преобразования пачки (141) передачи в информационный поток (49) данных.
38. Система (100) цифровой широковещательной передачи по п.29, отличающаяся тем, что дополнительно содержит многопротокольное устройство (109) пакетирования, предназначенное для пакетирования, по меньшей мере, части упомянутой поточной информации.
39. Система (100) цифровой широковещательной передачи по п.38, отличающаяся тем, что дополнительно содержит фильтр Интернет-протокола (IP), предназначенный для удаления пакетирования из пакетированной поточной информации.
40. Система (100) цифровой широковещательной передачи по п.29, отличающаяся тем, что дополнительно содержит второго поставщика (103) информационных услуг для предоставления второй поточной информации и второй входной буфер (113) обслуживания, предназначенный для запоминания, по меньшей мере, интервала второй поточной информации, причем система (130) передатчика осуществляет широковещательную передачу содержимого второго входного буфера (113) обслуживания в виде второй пачки (151) передачи.
41. Система (100) цифровой широковещательной передачи по п.40, отличающаяся тем, что дополнительно содержит мультиплексор (133), предназначенный для мультиплексирования пачки (141) передачи и второй пачки (151) передачи таким образом, что система (130) передатчика осуществляет широковещательную передачу пачек (141, 151) передачи в виде мультиплексированного сигнала (137) с временным уплотнением.
42. Система (100) цифровой широковещательной передачи по п.40, отличающаяся тем, что дополнительно содержит входной буфер (131) оператора сети для запоминания данных от каждого поставщика услуг до передачи.
43. Система (130) передатчика, предназначенная для передачи поточной информации, содержащая входной буфер (111) обслуживания, предназначенный для приема первой поточной информации от поставщика (101) услуг, многопротокольное устройство (109) пакетирования, предназначенное для пакетирования первой поточной информации, и цифровой широковещательный передатчик (135), предназначенный для передачи пакетированной первой поточной информации в виде пачек с более высокой скоростью бит, чем скорость, с которой поточную информацию принимают от поставщика (101) услуг.
44. Система (130) передатчика по п.43, отличающаяся тем, что цифровой широковещательный передатчик (135) реагирует на входной буфер (111) обслуживания таким образом, что, если количество данных, запомненных во входном буфере (111) обслуживания удовлетворяет заранее определенной величине, цифровой широковещательный передатчик (135) передает упомянутые данные, запомненные во входном буфере (111) обслуживания в виде пачки (141) передачи.
45. Система (130) передатчика по п.44, отличающаяся тем, что дополнительно содержит второй входной буфер (113) обслуживания, предназначенный для приема второй поточной информации, поданной вторым поставщиком (103) услуг, и второе многопротокольное устройство (109) пакетирования, предназначенное для пакетирования второй поточной информации.
46. Система (130) передатчика по п.45, отличающаяся тем, что дополнительно содержит мультиплексор (133), предназначенный для мультиплексирования пакетированной первой и второй поточной информации.
47. Система (130) передатчика по п.45, отличающаяся тем, что дополнительно содержит входной буфер (131) оператора сети, предназначенный для запоминания упомянутых первой и второй поточной информации до мультиплексирования.
РИСУНКИ
|
|