|
|
(21), (22) Заявка: 2004137701/06, 23.12.2004
(24) Дата начала отсчета срока действия патента:
23.12.2004
(46) Опубликовано: 20.06.2006
(56) Список документов, цитированных в отчете о поиске:
RU 2100887 C1, 27.12.1997. RU 2118026 C1, 20.08.1998. RU 2059334 C1, 27.04.1996. US 3445710 A, 20.05.1969. US 4396855 A, 02.08.1983. JP 2000331771 А, 30.11.2000.
Адрес для переписки:
450015, г.Уфа, ул. Подвойского, 26, кв.11, А.Х. Брянцеву
|
(72) Автор(ы):
Брянцев Алексей Хрисанфович (RU)
(73) Патентообладатель(и):
Брянцев Алексей Хрисанфович (RU)
|
(54) СВЕЧА ЗАЖИГАНИЯ
(57) Реферат:
Изобретение относится к электрооборудованию двигателей внутреннего сгорания, а именно к устройствам для воспламенения топливовоздушных смесей. Технический результат заключается в повышении эффективности поджигающей способности свечи за счет многократного увеличения динамической и тепловой энергии начального очага воспламенения топливовоздушных смесей в районе электродов свечи. Согласно изобретению свеча зажигания содержит боковой кольцевой цилиндрический электрод-корпус, центральный электрод и расположенный между ними изолятор. При этом в торце изолятора выполнены две концентрично расположенные относительно оси свечи кольцевые проточки, образующие микрофоркамеры. Одна из проточек выполнена прилегающей к центральному электроду, а вторая – прилегающей к боковому электроду-корпусу. Таким образом, проточки образуют кольцевой выступ на торце изолятора, расположенный между ними. 18 з.п. ф-лы, 7 ил.
Изобретение относится к электрооборудованию двигателей внутреннего сгорания, а именно к устройствам для воспламенения топливовоздушных смесей (ТВС).
Затрудненный запуск двигателей при отрицательных температурах окружающей среды, высокая токсичность выхлопных газов, опасная для здоровья людей, представляют собой достаточно сложную техническую проблему. В ее решении весьма весомую роль играет эффективность поджигающей способности свечи зажигания, существенно влияющая на скорость и полноту сгорания топливовоздушной смеси.
Известна электродинамическая свеча зажигания, содержащая корпус, размещенный в корпусе изолятор с центральным электродом, нижняя часть которого обращена в сторону сопловой части свечи, массовый электрод корпуса с сопловой частью, а боковая поверхность нижней части центрального электрода и поверхность сопловой части имеют эрозионно стойкое покрытие, кроме того, внутренняя полость корпуса свечи выполнена цилиндрической или конической, переходящей в критическое сечение сопловой части свечи. При этом диаметр и длина критического сечения сопловой части свечи выбраны в пределах соответственно 0,22÷0,91 и 0,12÷0,49 максимального диаметра внутренней полости корпуса свечи, сопловая часть выполнена заодно с корпусом свечи, нижняя часть центрального электрода имеет цилиндрическую или грибовидную форму, при этом грибовидная форма выполнена с цилиндрической или конической закругленной шляпкой, размещенной своим основанием на срезе изолятора, а диаметр и высота цилиндрической формы, а также диаметр основания и высота грибовидной формы нижней части центрального электрода выполнены в зависимости от объема внутренней полости корпуса свечи, и соединение корпуса свечи с изолятором осуществлено через прокладки из пластичного металла.
Указанная свеча повышает эффективность поджига топливо-воздушной смеси за счет, в основном, “выдувания” плазменного сгустка через сопловую часть свечи, при этом ускорение плазменного сгустка происходит за счет возникновения электродинамической силы в сопловой части свечи в результате взаимодействия радиального тока, проходящего через образовавшуюся при пробое плазму, и кольцевого магнитного поля, созданного этим же током [1].
В современных системах зажигания импульс тока, протекающий в искровом канале после пробоя искрового промежутка, длится 8-10 микросекунд, а сила тока составляет несколько миллиампер, и поэтому электродинамический эффект, ускоряющий сгусток плазмы, мал и не может значительно улучшать эффективность поджигающей способности свечи.
Кроме того, в свече не принято никаких конструктивных мер по изменению тепловой характеристики, а все предложенные конструктивные варианты не могут обеспечить длительной надежной работы свечей из-за отложения на торце изолятора токопроводящих продуктов неполного сгорания топлива, что приведет к шунтированию искрового промежутка и перебоям в искрообразовании.
Известна свеча зажигания, наиболее близкая к заявленной, содержащая боковой цилиндрический электрод, центральный электрод и кольцевые электроды, установленные в изоляторе концентрично друг другу и боковому цилиндрическому электроду и образующие коаксиальные конденсаторы, причем диэлектрики конденсаторов имеют диэлектрическую постоянную и коэффициент теплоотдачи, присущие материалу изолятора, кроме того, диэлектрик конденсатора, размещенного между боковым цилиндрическим электродом и ближайшим к нему кольцевым электродом, выполнен с дополнительным диэлектрическим слоем, расположенным около бокового цилиндрического электрода [2].
Повышение эффективности поджигающей способности свечи достигается за счет увеличения длины искрового промежутка, состоящего из нескольких последовательно включенных искровых промежутков вдоль поверхности изолятора между кольцевыми электродами Т-образной и Г-образной формы, однако дополнительный диэлектрический слой, выполненный в виде воздушного зазора, прилегающего к внутренней поверхности корпуса свечи, достаточно быстро заполнится токопроводящими продуктами неполного сгорания топлива из-за низкой температуры корпуса свечи и как диэлектрик утратит свое качество, а далее процесс нагарообразования на торце свечи продолжится в сторону центрального электрода вплоть до полной потери искрообразования.
Кроме того, изготовление концентрично расположенных кольцевых щелей на торце изолятора и закрепление в них Т и Г-образных электродов крайне не технологично для массового производства.
Целью настоящего изобретения является повышение эффективности поджигающей способности свечи за счет многократного увеличения динамической и тепловой энергии начального очага воспламенения ТВС в районе электродов свечи.
Для реализации поставленной цели в известной свече зажигания, содержащей боковой кольцевой цилиндрический электрод-корпус, центральный электрод и расположенный между ними изолятор, в торце изолятора выполнены две концентрично расположенные относительно оси свечи кольцевые проточки, образующие микрофоркамеры, одна выполнена прилегающей к центральному электроду, а вторая – прилегающей к боковому электроду-корпусу, при этом проточки образуют кольцевой выступ на торце изолятора, расположенный между ними. Кроме того, в торце корпуса выполнена концентрично оси свечи кольцевая проточка, образующая микрофоркамеру, глубина всех кольцевых проточек на торце свечи одинакова. Кроме того, торцы корпуса и выступа изолятора расположены в одной плоскости, а торец центрального электрода выступает над ней. Кроме того, сечение всех проточек на торце свечи выполнено прямоугольным, а проточки на изоляторе образуют прямоугольно-кольцевой выступ на торце изолятора. Кроме того, прямоугольный кольцевой выступ на торце изолятора выполнен с заостренным торцем. Кроме того, прямоугольный кольцевой выступ выполнен с закругленным торцем. Кроме того, сечения кольцевых проточек изолятора выполнены в виде прямоугольных треугольников, причем один из катетов одного сечения прилегает к центральному электроду, а один из катетов второго сечения прилегает к боковому электроду-корпусу. Кроме того, кольцевые проточки на торце изолятора образуют кольцевой выступ с сечением в виде трапеции, причем ее меньшее основание выходит на торец свечи. Кроме того, кольцевые проточки на торце изолятора образуют кольцевой выступ с сечением в виде равнобедренного треугольника, вершина которого выходит на торец свечи. Кроме того, глубина кольцевых проточек изолятора различна. Кроме того, глубина кольцевой проточки на торце корпуса свечи отличается от глубины кольцевых проточек на изоляторе. Кроме того, в торце корпуса выполнены, по меньшей мере, три сквозных радиальных паза, выходящих на боковую поверхность корпуса на глубину кольцевой проточки в торце корпуса, расположенных симметрично относительно продольной оси свечи. Кроме того, в торце и на внутренней поверхности корпуса выполнены, по меньшей мере, три равномерно расположенных паза, притом пазы в продольном сечении представляют собой прямоугольные треугольники, гипотенуза каждого из которых соединяет внешнюю кромку торца корпуса свечи с внешней кромкой проточки на изоляторе, прилегающей к боковому электроду-корпусу 1. Кроме того, радиальные пазы и пазы в торце корпуса и на внутренней поверхности корпуса, имеющие треугольное сечение, выполнены в одной свече и чередуются между собой. Кроме того, на боковой поверхности конца выступающей над торцем изолятора части центрального электрода нанесено рифление размером не менее глубины кольцевой проточки на торце изолятора, прилегающей к центральному электроду. Кроме того, на внешней боковой поверхности корпуса ниже торца корпуса свечи выполнена кольцевая проточка, расположенная непосредственно перед резьбовой частью свечи. Кроме того, на торце корпуса свечи и боковой поверхности корпуса выполнена фаска под углом меньше 90°, в середине которой по всей окружности выполнены сквозные отверстия, соединяющиеся с кольцевой проточкой на изоляторе, прилегающей к боковому электроду-корпусу. Кроме того, на торце выступающей над торцем изолятора части центрального электрода выполнен, по меньшей мере, один прямоугольный паз, расположенный вдоль оси центрального электрода, глубиной, соответствующей глубине кольцевой проточки в изоляторе, прилегающей к центральному электроду, образующий микрофоркамеру.
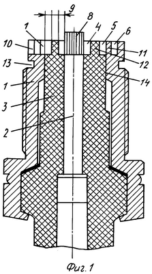
На фиг.1, 2 представлена структурная схема предлагаемой свечи с открытым торцем с двумя кольцевыми проточками на корпусе изолятора и прямоугольным выступом между ними с кольцевой проточкой на торце корпуса, с центральным рифленым электродом на боковой поверхности его конца, с комбинированным искровым промежутком, состоящим из двух воздушных промежутков, образованных кольцевыми проточками на изоляторе и поверхностью торца кольцевого выступа на изоляторе между проточками, шестью радиальными пазами на торце корпуса свечи, симметрично расположенными относительно ее оси, с кольцевой проточкой на боковой поверхности корпуса свечи, расположенной непосредственно перед резьбой, с пазом на торце центрального электрода.
На фиг.3 представлен вариант свечи с кольцевым выступом на торце изолятора сечением в виде трапеции.
На фиг.4 представлен вариант свечи с кольцевым выступом на торце изолятора сечением в виде равнобедренного треугольника.
На фиг.5 представлен вариант свечи с кольцевым прямоугольным выступом на торце изолятора, выполненным с заостренным торцем.
На фиг.6 представлен вариант свечи с кольцевым прямоугольным выступом на торце изолятора, выполненным с закругленным торцем.
На фиг.7 представлен вариант свечи на торце корпуса которой и боковой поверхности выполнена фаска, в середине которой по всей окружности выполнены сквозные отверстия, соединяющиеся с кольцевой проточкой на изоляторе, прилегающей к корпусу.
Свеча зажигания по фиг.1, 2 состоит из бокового электрода-корпуса 1, центрального электрода 2, изолятора 3, кольцевой проточки 4 на торце изолятора 3, прилегающей к центральному электроду 2; кольцевой проточки 5 на торце изолятора 3, прилегающей к боковому электроду-корпусу 1; кольцевой проточки 6 в торце корпуса свечи, прямоугольного паза 7 на торце центрального электрода, глубиной, соответствующей глубине кольцевой проточки 4 на торце изолятора 3, прилегающей к центральному электроду 2; рифления 8 на боковой поверхности конца центрального электрода 2, комбинированного искрового промежутка 9, трех сквозных радиальных пазов 10 на торце корпуса, выходящих на боковую поверхность корпуса 1, и трех пазов в торце и на внутренней поверхности корпуса, представляющих собой в продольном сечении прямоугольные треугольники, гипотенуза каждого из которых соединяет внешнюю кромку торца корпуса свечи с внешней кромкой проточки на изоляторе, прилегающей к боковому электроду-корпусу 1, пазы расположены равномерно и чередуются между собой; кольцевой проточки 13 на боковой поверхности корпуса 1 непосредственно перед резьбой, места теплового контакта 14 между цилиндрической верхней частью поверхности изолятора 1 и внутренней частью поверхности корпуса свечи.
Варианты конструкции свечей по фиг.3-6 содержат примеры реализации выполнения выступа 12 на торце изолятора 3: по фиг.3 сечение выступа имеет форму трапеции, причем меньшее основание расположено на торце свечи, по фиг.4 сечение выступа имеет форму равнобедренного треугольника, по фиг.5 сечение выступа имеет форму прямоугольника с заостренным торцем, по фиг.6 сечение выступа имеет форму прямоугольника с закругленным торцем.
Вариант свечи по фиг.6, 7 содержит пример реализации с фаской под углом 45° на торце корпуса 1 свечи и боковой поверхности корпуса, в середине которой расположены восемь сквозных отверстий, соединяющихся с кольцевой проточкой на изоляторе 3, прилегающей к боковому электроду-корпусу 1.
Изобретение основано на использовании эффекта возникновения скачка давления в момент воспламенения ТВС в ограниченном объеме микрофоркамеры и вызываемого им выброса факела горящей плазмы с многократно увеличенным энергетическим потенциалом, что приводит к существенному увеличению скорости и полноты сгорания топлива.
Задача, таким образом, сводится к созданию множества микрофоркамер непосредственно в зоне начального очага воспламенения, то есть в зоне искрового разряда.
Функцию микрофоркамер в предлагаемом изобретении выполняют две кольцевые проточки на торце изолятора, кольцевая проточка на торце корпуса свечи, паз (пазы) на торце центрального электрода и сквозные отверстия на фаске торца корпуса свечи и боковой поверхности корпуса, соединяющиеся с кольцевой проточкой на изоляторе.
Свеча зажигания по фиг.1-7 работает следующим образом. Импульс высокого напряжения подается на боковой электрод-корпус 1 и центральный электрод 2, электроды разделены изолятором 3. При такте сжатия топливовоздушная смесь заполняет все микрофоркамеры, образованные двумя кольцевыми проточками 4 и 5 на торце изолятора, кольцевой проточкой 6 на торце корпуса 1 и пазом 7 на торце центрального электрода 2. При подаче импульса высокого напряжения в результате высокого градиента напряженности электрического поля между острыми кромками рифления 8 на центральном электроде 2 и внутренней кромкой бокового электрода-корпуса 1 происходит пробой воздушного искрового промежутка 9 с образованием искрового канала, энергии которого достаточно для воспламенения элементарного объема ТВС. Практически мгновенно происходит воспламенение ТВС во всех микрофоркамерах, сопровождаемое скачком давления с выбросом изо всех микрофоркамер факелов горящей плазмы. В результате цепной реакции пламя распространяется по всему объему камеры сгорания со значительно большей скоростью за счет мощного возмущения среды бризантным воздействием скачка давления, возникающего по объемным границам волны, сформированной всеми факелами плазмы с образованием сплошного достаточно мощного теплового фронта, обеспечивая тем самым надежность воспламенения ТВС и высокую полноту сгорания топлива, снижающую токсичность выхлопных газов.
Описанный механизм особенно эффективен при запуске двигателя в зимних условиях, т.к. весьма активно интенсифицирует процесс образования тонкодисперсной ТВС и ее воспламенения. Особо полезную роль при запуске двигателя при низких температурах играет рифление 8 на внешней поверхности центрального электрода 2, так как, создавая высокий градиент электрического поля на острых выступах, снижает и стабилизирует пробивное напряжение искрового промежутка 9, что особенно важно для обеспечения бесперебойного искрообразования в связи с возникновением пленки из топлива на электродах свечи (мокрая свеча), которая является диэлектриком с достаточно высокой электропрочностью.
Радиальные пазы 10 и 11 по фиг.1, 2 и отверстия 15 по фиг.6, 7 служат дополнительными источниками выброса факелов горящей плазмы, одномоментно увеличивая своим воздействием значительный объем ТВС, находящийся в камере сгорания, пазы 10 и 11 также улучшают вентиляцию кольцевых проточек. Бризантное воздействие скачка давления достаточно эффективно очищает электроды 1, 2 и выступ 12 на торце изолятора 3 от нагара.
В свече по фиг.1 образуется комбинированный искровой промежуток, состоящий из искрового промежутка вдоль поверхности торца выступа 12 на изоляторе 3 и двух воздушных искровых промежутков, образованных проточками 4 и 5 на изоляторе 3. Наличие изолятора в искровом промежутке 9 вносит искажение (дефект) в электрическое поле, вызывая снижение пробивного напряжения, электрический разряд по поверхности изолятора способствует очищению последнего от нагара.
Варьируя размеры проточки 13 на боковой поверхности корпуса свечи, можно добиться оптимизации температуры торцевой части корпуса, обеспечивающей улучшение условий гомогенизации ТВС за счет увеличения парообразной составляющей в локальном объеме ТВС непосредственно в зоне, примыкающей к торцу свечи, что дополнительно стабилизирует процесс наиболее полного сгорания топлива и способствует очищению корпуса от нагара. На фиг.3-6 различная форма сечений кольцевого выступа 12 на торце изолятора 3 обусловлена, главным образом, способом изготовления изолятора: прессованием, литьем, обточкой либо шлифованием уже обожженного изолятора (черепка), при этом учитывается возможность выбранного способа оптимизировать форму и размеры проточек 4 и 5 по фиг.1, 3-6 в торце изолятора для получения максимальной эффективности поджигающей способности свечи.
Свеча по фиг.1, 2 малочувствительна к тепловому режиму работы двигателя и одно исполнение свечи может использоваться на целой гамме двигателей различной мощности.
Однако температуру торца изолятора, особенно выступа 12, весьма желательно поддерживать в оптимальном диапазоне, обеспечивающем улучшение условий гомогенизации ТВС в зоне непосредственного контакта с торцем свечи. Изменение тепловой характеристики свечи достигается за счет подбора площади теплового контакта верхней цилиндрической части изолятора с внутренней верхней частью поверхности корпуса свечи в месте 14. Оптимизация теплового поля всего торца свечи должна производиться взаимозависимо с подбором величины проточки 13 на боковой поверхности корпуса свечи.
Преимущества предлагаемой свечи зажигания в сравнении с аналогом и прототипом состоят в следующем:
– повышение эффективности поджигающей способности свечи за счет многократного увеличения энергетического потенциала начального очага воспламенения ТВС в зоне искрового разряда за счет выброса факелов горящей плазмы из введенных кольцевых микрофоркамер на торце изолятора, кольцевых микрофоркамер и радиальных пазов на торце корпуса свечи, паза в торце центрального электрода, также образующего микрофоркамеру;
– эффективная очистка от токопроводящего нагара торца кольцевого выступа изолятора, поверхности проточек на торце изолятора, бокового и центрального электродов за счет, в основном, бризантного воздействия скачка давления при выбросе факелов плазмы;
– оптимизация температуры конца корпуса свечи за счет введения проточки на его боковой поверхности непосредственно перед резьбой.
Источники информации
1. Патент Российской Федерации №2118026 С1, 6 Н 01 Т 13/20, 30.12.97.
2. Патент Российской Федерации №2100887 С1, 6 Н 01 Т 13/20, 12.05.94.
Формула изобретения
1. Свеча зажигания, содержащая боковой кольцевой цилиндрический электрод-корпус, центральный электрод и расположенный между ними изолятор, отличающаяся тем, что в торце изолятора выполнены две концентрично расположенные относительно оси свечи кольцевые проточки, образующие микрофоркамеры, одна выполнена прилегающей к центральному электроду, а вторая – прилегающей к боковому электроду-корпусу, при этом проточки образуют кольцевой выступ на торце изолятора, расположенный между ними.
2. Свеча зажигания по п.1, отличающаяся тем, что в торце корпуса выполнена концентрично оси свечи кольцевая проточка, образующая микрофоркамеру.
3. Свеча зажигания по п.1 или 2, отличающаяся тем, что глубина всех кольцевых проточек на торце свечи одинакова.
4. Свеча зажигания по п.1 или 2, отличающаяся тем, что торцы корпуса и выступа изолятора расположены в одной плоскости, а торец центрального электрода выступает над ней.
5. Свеча зажигания по п.1 или 2, отличающаяся тем, что сечение всех проточек на торце свечи выполнено прямоугольным, а проточки на изоляторе образуют прямоугольно-кольцевой выступ на торце изолятора.
6. Свеча зажигания по п.5, отличающаяся тем, что прямоугольный кольцевой выступ на торце изолятора выполнен с заостренным торцом.
7. Свеча зажигания по п.5, отличающаяся тем, что прямоугольный кольцевой выступ выполнен с закругленным торцом.
8. Свеча зажигания по п.1 или 2, отличающаяся тем, что сечения кольцевых проточек изолятора выполнены в виде прямоугольных треугольников, причем один из катетов одного сечения прилегает к центральному электроду, а один из катетов второго сечения прилегает к боковому электроду-корпусу.
9. Свеча зажигания по п.8, отличающаяся тем, что кольцевые проточки на торце изолятора образуют кольцевой выступ с сечением в виде трапеции, причем ее меньшее основание выходит на торец свечи.
10. Свеча зажигания по п.8, отличающаяся тем, что кольцевые проточки на торце изолятора образуют кольцевой выступ с сечением в виде равнобедренного треугольника, вершина которого выходит на торец свечи.
11. Свеча зажигания по п.3, отличающаяся тем, что глубина кольцевых проточек изолятора различна.
12. Свеча зажигания по п.3, отличающаяся тем, что глубина кольцевой проточки на торце корпуса свечи отличается от глубины кольцевых проточек на изоляторе.
13. Свеча зажигания по п.2, отличающаяся тем, что в торце корпуса выполнены, по меньшей мере, три сквозных радиальных паза, выходящих на боковую поверхность корпуса на глубину кольцевой проточки в торце корпуса, расположенных симметрично относительно продольной оси свечи.
14. Свеча зажигания по п.2, отличающаяся тем, что в торце и на внутренней поверхности корпуса выполнены, по меньшей мере, три равномерно расположенных паза, притом пазы в продольном сечении представляют собой прямоугольные треугольники, гипотенуза каждого из которых соединяет внешнюю кромку торца корпуса свечи с внешней кромкой проточки на изоляторе, прилегающей к боковому электроду-корпусу.
15. Свеча зажигания по п.13 или 14, отличающаяся тем, что радиальные пазы и пазы в торце корпуса и на внутренней поверхности корпуса, имеющие треугольное сечение, выполнены в одной свече и чередуются между собой.
16. Свеча зажигания по п.4, отличающаяся тем, что на боковой поверхности конца выступающей над торцем изолятора части центрального электрода нанесено рифление размером не менее глубины кольцевой проточки на торце изолятора, прилегающей к центральному электроду.
17. Свеча зажигания по п.1, отличающаяся тем, что на внешней боковой поверхности корпуса ниже торца корпуса свечи выполнена кольцевая проточка, расположенная непосредственно перед резьбовой частью свечи.
18. Свеча зажигания по п.1, отличающаяся тем, что на торце корпуса свечи и боковой поверхности корпуса выполнена фаска под углом меньше 90°, в середине которой по всей окружности выполнены сквозные отверстия, соединяющиеся с кольцевой проточкой на изоляторе, прилегающей к боковому электроду-корпусу.
19. Свеча зажигания по п.4, отличающаяся тем, что на торце выступающей над торцом изолятора части центрального электрода выполнен, по меньшей мере, один прямоугольный паз, расположенный вдоль оси центрального электрода, глубиной, соответствующей глубине кольцевой проточки в изоляторе, прилегающей к центральному электроду, образующий микрофоркамеру.
РИСУНКИ
Прежний патентообладатель:
Брянцев Алексей Хрисанфович
(73) Патентообладатель:
Брянцева Флера Мусеевна
Договор № РП0001070 зарегистрирован 20.10.2010
Извещение опубликовано: 27.11.2010 БИ: 33/2010
|
|