|
|
(21), (22) Заявка: 2003120774/28, 26.06.2003
(24) Дата начала отсчета срока действия патента:
26.06.2003
(43) Дата публикации заявки: 10.01.2005
(46) Опубликовано: 20.06.2006
(56) Список документов, цитированных в отчете о поиске:
RU 2139599 C1, 10.10.1999. SU 1099791 A1, 07.03.1993. US 6172400 B1, 09.01.2001. US 4042945 A, 16.08.1977.
Адрес для переписки:
630064, г.Новосибирск, ул. Новогодняя, 16, кв.16, В.М. Иоффе
|
(72) Автор(ы):
Иоффе Валерий Моисеевич (RU), Максутов Асхат Ибрагимович (RU)
(73) Патентообладатель(и):
Иоффе Валерий Моисеевич (RU), Максутов Асхат Ибрагимович (RU)
|
(54) ПОЛУПРОВОДНИКОВЫЙ ПРИБОР
(57) Реферат:
Изобретение относится к микроэлектронике. Прибор может быть выполнен в виде управляемых напряжением конденсатора переменной емкости, варикапа, транзистора. Сущность изобретения: полупроводниковый прибор содержит полупроводник, на поверхности которого сформированы две сильнолегированные области противоположного с полупроводником типа проводимости с омическими контактами к ним, слой изолятора, сформированный на части поверхности полупроводника, имеющий общую границу с упомянутыми сильнолегированными областями, проводящий слой, сформированный на внешней поверхности упомянутого слоя изолятора, изолирующий слой, проводящий участок, сформированный на внешней поверхности изолирующего слоя. Техническим результатом изобретения является создание полупроводникового прибора, позволяющего при изменении величины управляющего напряжения, поданного между проводящим слоем и омическим контактом, регулировать величину емкости конденсатора, образованного между омическим контактом и проводящим участком, выполненным на изолирующем слое. 7 з.п. ф-лы, 6 ил.
Изобретение относится к области полупроводниковых приборов. Прибор может быть выполнен в виде управляемого напряжением конденсатора переменной емкости, варикапа, транзистора. На приборе могут быть изготовлены преобразователи частоты.
Предшествующий уровень техники
Прибор наиболее близок по принципу работы варикапам (варакторам) полупроводниковым приборам, реактивностью которых можно управлять с помощью напряжения. Как известно (Зи С. Физика полупроводниковых приборов, т.1, М., Мир, 1984, с.80-91, 260-262, 381, 384), во всех трех базовых элементах полупроводниковой электроники (р-n-перехода, барьере Шоттки и структуре металл-диэлектрик-полупроводник) при определенной полярности приложенного напряжения формируется слой полупроводника, обедненный основными носителями заряда, являющийся аналогом диэлектрической прослойки в обычном конденсаторе. Толщина обедненного слоя зависит от напряжения смещения, вследствие чего дифференциальная емкость С полупроводникового прибора может управляться напряжением U.
Широко известен конденсатор переменной емкости (см., например, Э.Ред. Справочное пособие по высокочастотной схемотехнике, М., Мир, 1990 г., стр.219-220), представляющий из себя механическое устройство, позволяющее перемещать относительно друг друга обкладки конденсатора. Очевидный недостаток такого прибора – инерционность механической перестройки.
Под транзистором обычно понимают полупроводниковый прибор, имеющий три или более выводов для подачи управляющего напряжения, предназначенный для усиления генерирования и преобразования электрических колебаний (Энциклопедический словарь, М., Сов. Энциклопедия, 1991 г., стр.557). Существенным недостатком существующих транзисторов как полевых, так и биполярных является то, что выходная мощность обратно пропорциональна квадрату частоты, что является результатом ограничения налагаемого напряжением лавинного пробоя достаточно узкой области пространственного заряда р-n-перехода и предельной скоростью носителей заряда (Зи С. Физика полупроводниковых приборов, т.1, М., Мир, 1984, с.178-179). Этот недостаток присущ также для преобразователей частоты на варакторах.
Известен полупроводниковый прибор (см. Иоффе В.М., Максутов А.И., патент РФ №2139599, заявка №96124161 от 18.01.96), выбранный в качестве аналога, содержащий низкопроводящий или изолирующий слой, на одной поверхности которого сформирован проводящий участок, на другой поверхности которого сформирован полупроводниковый слой 1 электронного либо дырочного типа проводимости с омическим контактом, на поверхности которого выполнен слой 2, выполненный из металла или(и) полупроводника с противоположным со слоем 1 типом проводимости, образующий с 1 р-n-переход либо (и) барьер Шоттки с другим омическим контактом, выбор профиля легирования и толщины слоя 1 ограничен условием полного обеднения слоя 1 либо его части основными носителями заряда до пробоя р-n-перехода либо барьера Шоттки при подаче на него внешнего смещения:

где Ui – напряжение пробоя полупроводникового слоя 1, у – координата, отсчитываемая от металлургической границы р-n-перехода или барьера Шоттки в направлении вдоль толщины слоя 1, q -элементарный заряд, Ni(x,y,z) – профиль распределения примеси в слое 1, d(x,z) – толщина слоя 1; z, х – координаты на поверхности слоя 1; s – диэлектрическая проницаемость слоя 1, Uk – встроенный потенциал.
К недостаткам данного прибора относится то, что при изменении величины управляющего напряжения, поданного на омические контакты к полупроводниковому переходу (выполненному в виде р-n-перехода или барьера Шоттки), не удается регулировать в широких пределах величину емкости конденсатора, образованного между омическим контактом к первому полупроводниковому слою и проводящим участком, выполненным на изолирующем слое, а также регулировать в широких пределах величину сопротивления низкопроводящего (полупроводникового) слоя. Известен полупроводниковый прибор, выполненный в виде МОП транзистора, выбранный в качестве прототипа (Зи С. Физика полупроводниковых приборов, т.2, М., Мир, 1984, с.7, 8, 29-32), содержащий полупроводник, на поверхности которого сформированы две сильнолегированные области противоположного с полупроводником типа проводимости с омическими контактами к ним (сток и исток), слой изолятора, сформированный на части поверхности полупроводника, имеющий общую границу с упомянутыми сильнолегированными областями, проводящий слой (затвор), сформированный на внешней поверхности упомянутого слоя изолятора.
При подаче управляющего напряжения между одним из омических контактов и затвором под слоем изолятора в тонком полупроводниковом слое меняется тип проводимости и величина сопротивления между стоком и истоком.
В основу настоящего изобретения поставлена задача создания полупроводникового прибора, позволяющего при изменении величины управляющего напряжения, поданного между проводящим слоем и омическим контактом, регулировать х величину емкости конденсатора, образованного между омическим контактом и проводящим участком, выполненным на изолирующем слое.
Решение поставленной задачи обеспечивается тем, что полупроводниковый прибор, содержащий полупроводник 1, на поверхности которого сформированы две сильнолегированные области противоположного с полупроводником типа проводимости с омическими контактами к ним, слой изолятора 6, сформированный на части поверхности полупроводника, имеющий общую границу с упомянутыми сильнолегированными областями, проводящий слой 7, сформированный на внешней поверхности упомянутого слоя изолятора, изолирующий слой 8, проводящий участок 9, сформированный на внешней поверхности изолирующего слоя.
Кроме того, полупроводниковый прибор может отличаться тем, что между сильнолегированными полупроводниковыми областями 2 и 3 сформирована область 10 одного с ними типа проводимости и имеющая общую границу со слоем изолятора.
Кроме того, полупроводниковый прибор может отличаться тем, что сильнолегированные области омически соединены между собой.
Кроме того, полупроводниковый прибор может отличаться тем, что поверх свободной поверхности прибора сформирован другой изолирующий слой (защитный диэлектрический или/и высокоомный полупроводниковый слой) 11.
То есть суть изобретения заключается в использование возможности изменения величин емкости между омическими контактами и проводящим участком при помощи управляющего напряжения, поданного между одним из омических контактов и проводящим слоем.
Краткое описание чертежей и графиков
В последующем изобретение поясняется описанием примеров со ссылками на предлагаемые чертежи и графики на которых:
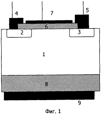
фиг.1 изображает один из вариантов полупроводникового прибора;
фиг.2 – один из вариантов полупроводникового прибора с n или р типа областью, сформированной в полупроводнике между двумя сильнолегированными областями;
фиг.3 изображает один из вариантов полупроводникового прибора, выполненного с контактными площадками;
фиг.4 изображает один из вариантов полупроводникового прибора, в котором изолирующий слой выполнен из полупроводника;
фиг.5 изображает один из вариантов полупроводникового прибора;
фиг.6 изображает схематичное устройство изготовленного полупроводникового прибора.
Для пояснения работы прибора (с нормально открытым МОП транзистором) обратимся к фиг.1, на которой изображен полупроводниковый прибор, содержащий полупроводник 1 для определенности выбранный с дырочным типом проводимости, на части поверхности которого сформирована первая полупроводниковая сильнолегированная (для определенности n типа) область 2 с омическим контактом к ней – 4 (стоком), на другой части верхней поверхности означенного полупроводника сформирована другая сильнолегированная область (n типа} 3 с омическим контактом к ней 5 (истоком), слой изолятора 6, сформированный на части поверхности полупроводника, имеющий общую границу с упомянутыми сильнолегированными областями, проводящий слой 7, сформированный на внешней поверхности упомянутого слоя изолятора, изолирующий слой 8, выполненный для определенности на другой части внешней поверхности полупроводника, проводящий участок 9, сформированный на внешней поверхности упомянутого изолирующего слоя. При подаче положительного управляющего напряжения между затвором и одним из омических контактов под слоем изолятора в тонком полупроводниковом слое меняется тип проводимости (с р типа в рассматриваемом случае на n тип). То есть под изолятором возникает проводящий слой, вследствие чего изменяется величина емкости между омическими контактами и проводящим участком. Очевидно, что полупроводник может быть выполнен также с электронным типом проводимости (в этом случае полярность управляющего напряжения следует заменить на противоположную).
Для пояснения работы прибора с нормально закрытым МОП транзистором обратимся к фиг.2, на которой изображен полупроводниковый прибор, содержащий полупроводник 1, для определенности выбранный с дырочным типом проводимости, на части поверхности которого сформирована первая полупроводниковая сильнолегированная (для определенности n типа) область 2 с омическим контактом к ней – 4 (стоком), на другой части верхней поверхности означенного полупроводника сформирована другая сильнолегированная область (n типа) 3 с омическим контактом к ней 5 (истоком), слой изолятора 6, сформированный на части поверхности полупроводника, имеющий общую границу с упомянутыми сильнолегированными областями, проводящий слой 7, сформированный на внешней поверхности упомянутого слоя изолятора, изолирующий слой 8, выполненный для определенности на другой части внешней поверхности полупроводника, проводящий участок 9, сформированный на внешней поверхности упомянутого изолирующего слоя между сильнолегированными полупроводниковыми областями 2 и 3, сформирована область 10 одного с ними типа проводимости и имеющая общую границу со слоем изолятора. При отсутствии управляющего напряжения между затвором и одним из омических контактов области 2 и 3 омически соединены между собой через область 10.
При подаче положительного управляющего напряжения между затворов и одним из омических контактов (плюс источника питания прикладывается к омическому контакту, минус источника питания к затвору) под слоем изолятора в тонком полупроводниковом слое меняется тип проводимости (с n типа в рассматриваемом случае на р или i тип). То есть под изолятором возникает запорный слой, вследствие чего изменяется в меньшую сторону величина емкости между омическими контактами и проводящим участком.
Работоспособность прибора не зависит от расположения проводящего участка и изолирующего слоя по отношению к другим частям прибора. То есть изолирующий слой с проводящим участком может быть выполнен над любой частью внешней поверхности прибора, содержащего полупроводник, на части поверхности которого сформирована одна или две сильнолегированные полупроводниковые области с омическим контактом, слой изолятора 6, сформированный на части поверхности полупроводника, имеющий общую границу с упомянутыми сильнолегированными областями, проводящий слой 7, сформированный на внешней поверхности упомянутого слоя изолятора. Однако в максимальных пределах управляемая емкость изменяется, проводящий участок и проводящий слой выполнены напротив друг друга.
Заметим также, что полупроводник между сильнолегированными областями 2 и 3 может быть выполнен неоднородно легированным вдоль поверхности. В рассмотренных примерах для определенности полупроводник сформирован с дырочным типом проводимости. Очевидно полупроводник может выполнен также с электронным типом проводимости, при этом слой 10 должен быть выполнен из полупроводника дырочного типа, а полярность источника управляющего напряжения заменена на противоположную.
Под свободной поверхностью прибора имеется внешняя поверхность прибора или ее часть. При выполнении прибора с контактными площадками последние не являются свободной поверхностью прибора. Контактные площадки – часть контактов проводящих слоев и проводящих участков – предназначенная для соединения прибора с объемными проводниками, которые соединяют прибор с внешними устройствами (источники питания, нагрузки, другие элементы схемы, в которую включен полупроводниковый прибор).
Если требуется изменение величины управляемой емкости прибора в больших пределах, то в том случае, когда размер контактной площадки к области 1 соизмерим с размерами прибора, контактная площадка может быть вынесена на сформированный диэлектрический слой.
В микроэлектронике контактные площадки, как правило, формируются на сформированном изолирующем слое.
Обратимся к фиг.3, на которой изображен полупроводниковый прибор, содержащий полупроводник 1 для определенности, выбранный с дырочным типом проводимости, на части поверхности которого сформирована первая полупроводниковая сильнолегированная (для определенности n типа) область 2 с омическим контактом к ней – 4 (стоком), на другой части верхней поверхности означенного полупроводника сформирована другая сильнолегированная область (n типа} 3 с омическим контактом к ней 5 (истоком), слой изолятора 6, сформированный на части поверхности полупроводника, имеющий общую границу с упомянутыми сильнолегированными областями, проводящий слой 7, сформированный на внешней поверхности упомянутого слоя изолятора, изолирующий слой 8, выполненный на другой части внешней поверхности полупроводника, проводящий участок 9, сформированный на внешней поверхности упомянутого изолирующего слоя, другой изолирующий слой 11, сформированный на части поверхности полупроводника и над проводящим слоем, на части поверхности которого выполнены контактные площадки. При подаче положительного управляющего напряжения между затвором и одним из омических контактов под слоем изолятора в тонком полупроводниковом слое меняется тип проводимости (с р типа в рассматриваемом случае на n тип). То есть под изолятором возникает проводящий слой, вследствие чего изменяется величина емкости между омическими контактами и проводящим участком. Очевидно, что полупроводник может быть выполнен также с электронным типом проводимости (в этом случае полярность управляющего напряжения следует заменить на противоположную).
При выполнении полупроводниковых приборов в дискретном исполнении обычно вся поверхность прибора, за исключением контактных площадок, покрывается защитным, как правило, изолирующим слоем 11 (наиболее часто из резиста или двуокиси кремния). Это относится и к описываемым приборам. При выполнении приборов в интегральном исполнении контактные площадки отсутствуют и вся поверхность прибора или ее часть (необходимая для защиты) покрывается защитным слоем. Изолирующий (защитный) слой 11 выполняет функцию защиты прибора от пыли и от пробоя по поверхности.
С целью уточнения используемой в настоящем изобретении терминологии заметим также, что изолирующий слой – слой, омическое сопротивление которого много меньше его емкостного сопротивления. Внутреннее устройство и форма изолирующего слоя могут быть произвольными. В частности, изолирующий слой может быть выполнен из полупроводникового материала с высоким омическим сопротивлением. Любой материал в том числе и диэлектрик имеет проводимость по постоянному току. То есть один и тот же материал может считаться как изолирующим; так и проводящим (низкопроводящим) в зависимости от частоты сигнала.
Обратимся к фиг.4, на которой изображен полупроводниковый прибор, содержащий полупроводник 1 для определенности выбранный с дырочным типом проводимости с высоким омическим сопротивлением и одновременно выполняющий роль изолирующего слоя 8, на части поверхности которого сформирована первая полупроводниковая сильнолегированная (для определенности n типа) область 2 с омическим контактом к ней – 4 (стоком), на другой части верхней поверхности означенного полупроводника сформирована другая сильнолегированная область (n типа) 3 с омическим контактом к ней 5 (истоком), слой изолятора 6, сформированный на части поверхности полупроводника, имеющий общую границу с упомянутыми сильнолегированными областями, проводящий слой 7, сформированный на внешней поверхности упомянутого слоя изолятора, проводящий участок 9, сформированный на противоположной части внешней поверхности упомянутого полупроводника, другой изолирующий слой 11, сформированный на части поверхности полупроводника и над изолятором. Причем полупроводник между сильнолегированными областями 2 и 3 выполнен неоднородно легированным вдоль поверхности. Доза легирования примесями р-типа возрастает по направлению от области 3 к области 2. При подаче положительного управляющего напряжения от источника питания 12 между затвором и одним из омических контактов под слоем изолятора в тонком полупроводниковом слое меняется тип проводимости (с р типа в рассматриваемом случае на n тип). То есть под изолятором возникает проводящий слой, вследствие чего изменяется величина емкости между омическими контактами и проводящим участком. Неоднородность легирования позволяет плавно с увеличением напряжения менять размер области, обогащенной подвижными носителями заряда, и как следствие величину управляемой емкости между омическим контактом и проводящим участком. Очевидно, что полупроводник может быть выполнен также с электронным типом проводимости (в этом случае полярность управляющего напряжения следует заменить на противоположную).
В описанных примерах никак не был задействован омический контакт 5 к сильнолегированной области 3. Это означает, что сильнолегированные области 2 и 3 могут быть омически соединены друг с другом (то есть выполнены в виде одной области либо иметь общий омический контакт). Либо область 3 и омический контакт к ней могут иметь бесконечно малые размеры, то есть отсутствовать. Однако наличие области 3 и омического контакта к ней 5 имеет свои плюсы. Поскольку при подаче постоянного напряжения между контактами 4 и 5 более эффективно идет рассасывание подвижных носителей заряда (они переходят под воздействием электрического поля от истока к стоку или от стока к истоку (в зависимости от направления поля). То есть в этом случае укорачивается время переходных процессов, что важно при работе прибора на больших частотах.
Заметим, что неоднородность легирования полупроводника по площади под изолятором позволяет плавно с увеличением напряжения менять размер области, обогащенной подвижными носителями заряда, и как следствие величину управляемой емкости между омическим контактом и проводящим участком, кроме того в этом случае выбор зависимости емкости от напряжения можно варьировать путем изменения формы проводящего слоя.
Работоспособность прибора не зависит от расположения проводящего участка и изолирующего слоя по отношению к другим частям прибора. То есть изолирующий слой с проводящим участком может быть выполнен над любой частью внешней поверхности прибора, содержащего полупроводник, на части поверхности которого сформирована одна или две сильнолегированные полупроводниковые области с омическим контактом, слой изолятора 6, сформированный на части поверхности полупроводника, имевший общую границу с упомянутыми сильнолегированными областями, проводящий слой 7, сформированный на внешней поверхности упомянутого слоя изолятора. Однако в максимальных пределах управляемая емкость изменяется, когда проводящий участок и проводящий слой выполнены напротив друг друга.
Обратимся к фиг.5, на которой изображен полупроводниковый прибор, содержащий полупроводник 1 для определенности выбранный с дырочным типом проводимости, на части поверхности которого сформирована первая полупроводниковая сильнолегированная (для определенности n типа) область 2 с омическим контактом к ней – 4 (стоком), на другой части верхней поверхности означенного полупроводника сформирована другая сильнолегированная область (n типа) 3 с омическим контактом к ней 5 (истоком), слой изолятора 6, сформированный на части поверхности полупроводника, имеющий общую границу с упомянутыми сильнолегированными областями, проводящий слой 7, сформированный на внешней поверхности упомянутого слоя изолятора, изолирующий слой 8, выполненный над проводящим слоем 7, проводящий участок 9, сформированный на внешней поверхности упомянутого изолирующего слоя 8, другой изолирующий слой 11, сформированный на части поверхности полупроводника, на части поверхности которого выполнены контактные площадки При подаче положительного управляющего напряжения между затвором и одним из омических контактов под слоем изолятора в тонком полупроводниковом слое меняется тип проводимости (с р типа в рассматриваемом случае на n тип). То есть под изолятором возникает проводящий слой, вследствие чего изменяется величина емкости между омическими контактами и проводящим участком. Очевидно, что полупроводник может быть выполнен также с электронным типом проводимости (в этом случае полярность управляющего напряжения следует заменить на противоположную).
Одним из преимуществ управляемой емкости является то, что в отличие от других полупроводниковых приборов снимается так называемое электронное ограничение, по мощности связанное с электрическим пробоем полупроводника и ограничениями, налагаемыми на размер рабочей области полупроводникового прибора величиной скорости перемещения подвижных носителей заряда (с управляемой емкости можно снимать большие мощности, в том числе и на больших частотах при параметрическом усилении генерации и преобразовании частоты). Однако чтобы на практике воспользоваться этим, следует для уменьшения напряжения, поступающего из выходной цепи (контакт 4 и проводящий участок 9) в входную (контакт 4 и проводящий слой 7), следует параллельно между 4 и 7 включать емкость большого наминала или (и) увеличивать толщину изолирующего слоя.
Примеры осуществления изобретения
В пластине кремния р-типа КДБ 20 были сформированы в прямоугольнике 2×0,5 мм 40 сильнолегированных областей 2 (n+) с концентрацией примеси фосфора 1020 см-3 в виде полосок шириной порядка 2 мкм и длиной 0,5 мм, расположенных друг от друга на расстоянии 50 мкм, полоски были снабжены общим омическим контактом 4, выполненным в виде гребенки из алюминия. На поверхности кремния был выращен изолятор – термический окисел 6 толщиной 0,1 мкм. На поверхности изолятора в виде гребенки был сформирован из алюминия проводящий слой 7. После чего наружная поверхность покрывалась изолирующим слоем двуокиси кремния 8 толщиной 1 мкм. На поверхности изолирующего слоя был сформирован проводящий алюминиевый участок 9.
Схематическое устройство полученного устройства приведено на фиг.6. На которой 1 – р-типа полупроводник, 2 – сильнолегированные области с донорной проводимостью, 4 – омический контакт к 2, 9 – проводящий участок на двуокиси кремния, 7 – проводящий слой на изоляторе 6. Было проведено измерение величины управляемой емкости. При отсутствии управляющего напряжения, подаваемого на 4 и 7, величина емкости между 4 и 7 составляла 6 пФ, величина управляемой емкости между контактами 4 и 9 составляла порядка 2 пФ. При подаче управляющего напряжения величиной 10 В, подаваемого на 4 и 7, величина емкости между 4 и 7 составляла 280 пФ, величина управляемой емкости между контактами 4 и 9 составляла порядка 31 пФ.
Изобретение позволяет создать безынерционные конденсаторы переменной емкости, варикапы, транзисторы и управляемые линии передачи.
Промышленная применимость.
Изобретение может быть использовано в электронной промышленности.
Формула изобретения
1. Полупроводниковый прибор, содержащий полупроводник, на поверхности которого сформированы две сильнолегированные области противоположного с полупроводником типа проводимости с омическими контактами к ним, слой изолятора, сформированный на части поверхности полупроводника, имеющий общую границу с упомянутыми сильнолегированными областями, проводящий слой, сформированный на внешней поверхности упомянутого слоя изолятора, отличающийся тем, что на части внешней поверхности полупроводникового прибора выполнен изолирующий слой, на внешней поверхности которого сформирован проводящий участок
2. Полупроводниковый прибор по п.1, отличающийся тем, что сильнолегированные области омически соединены между собой.
3. Полупроводниковый прибор по п.1, отличающийся тем, что между сильнолегированными полупроводниковыми областями сформирована область одного с ними типа проводимости и имеющая общую границу со слоем изолятора.
4. Полупроводниковый прибор по п.2, отличающийся тем, что между сильнолегированными полупроводниковыми областями сформирована область одного с ними типа проводимости и имеющая общую границу со слоем изолятора.
5. Полупроводниковый прибор по п.1, отличающийся тем, что на свободной поверхности прибора сформирован другой изолирующий слой.
6. Полупроводниковый прибор по п.2, отличающийся тем, что на свободной поверхности прибора сформирован другой изолирующий слой.
7. Полупроводниковый прибор по п.3, отличающийся тем, что на свободной поверхности прибора сформирован другой изолирующий слой.
8. Полупроводниковый прибор по п.4, отличающийся тем, что на свободной поверхности прибора сформирован другой изолирующий слой.
РИСУНКИ
|
|