|
|
(21), (22) Заявка: 2004136362/09, 15.12.2004
(24) Дата начала отсчета срока действия патента:
15.12.2004
(46) Опубликовано: 20.06.2006
(56) Список документов, цитированных в отчете о поиске:
ТАРАНЕНКО З.И. и др. Замедляющие системы. – Киев, 1965, с.242-243. RU 1718679 С, 30.10.1994. US 3387170 А, 04.06.1968. US 6094009 А, 25.07.2000. US 3979626 А, 07.09.1976.
Адрес для переписки:
141190, Московская обл., г. Фрязино, ул. Вокзальная, 33, кв.26, Т.Н. Юрьевой
|
(72) Автор(ы):
Щелкунов Геннадий Петрович (RU), Олихов Игорь Михайлович (RU), Петров Дмитрий Михайлович (RU)
(73) Патентообладатель(и):
Закрытое акционерное общество “Научно-производственное предприятие “Гамма” (ЗАО “НПП “Гамма”) (RU)
|
(54) КЛИСТРОН
(57) Реферат:
Изобретение относится к технике СВЧ, а именно к мощным и сверхмощным пролетным клистронам преимущественно для сверхэнергетичных линейных ускорителей. Клистрон с периодической электростатической фокусировкой электронного потока содержит вакуумную оболочку, в которой размещены расположенные вдоль оси клистрона электронная пушка, объемные резонаторы и коллектор, а также диафрагмы линз периодической электростатической фокусировки, расположенные между соседними объемными резонаторами и жестко закрепленные на проводящих стержнях. Проводящие стержни расположены параллельно оси клистрона между вакуумной оболочкой и объемными резонаторами, жестко закреплены на фокусирующем электроде электронной пушки, электрически соединены с ним и с катодом и электрически изолированы от вакуумной оболочки и объемных резонаторов. Выходной объемный резонатор окружен установленной вне вакуумной части клистрона магнитной фокусирующей системой, образующей длиннофокусную магнитную линзу. Торцевой участок коллектора снабжен оптическим окном для пропускания лазерного излучения на катод, являющийся фотокатодом. Техническим результатом является увеличение электрической прочности при небольших поперечных габаритах. 10 з.п. ф-лы, 5 ил.
Изобретение относится к технике СВЧ, а именно к мощным и сверхмощным пролетным клистронам преимущественно для сверхэнергетичных линейных ускорителей.
Задачей изобретения является создание простой, надежной, удобной и экономичной в эксплуатации конструкции мощного (сверхмощного) клистрона.
Известны мощные клистроны, в которых осуществляют магнитную фокусировку электронного потока с помощью соленоидов [1, 2]. Применение такой фокусировки целесообразно, если в одном ускорителе используют небольшое число (не более 50) клистронов.
При использовании в одном ускорителе большого числа (например, 250) клистронов электропитание соленоидов становится весьма энергоемким и дорогим. В этом случае предпринимались попытки заменить соленоиды постоянными магнитами. Однако стало очевидно, что такое решение мало приемлемо из-за громоздкости и дороговизны магнитов и сложной процедуры установки их на клистрон и съема с клистрона.
Известны попытки создать ускоритель, в котором должны работать до 5000 сверхмощных (75 МВт) клистронов [3]. Для создания подобных ускорителей исследовалась возможность применения для сверхмощных клистронов магнитной периодической фокусирующей системы (МПФС) с согласующими секциями соленоидов на входе в пролетный канал клистрона и на выходе из него [4]. Однако такая система сложна в настройке и требует применения в ней дорогих магнитных материалов.
Известны клистроны с периодической электростатической фокусировкой (ПЭФ) электронного потока [5, 6]. Схематическое изображение подобных клистронов с фокусировкой электронного потока с помощью электростатических линз, а также поперечное сечение электростатической линзы и распределение потенциала в ней приведены в обзоре [7]. Электростатическая линза состоит из средней и двух крайних диафрагм. Роль средней диафрагмы выполняет размещенный между стенками соседних резонаторов клистрона специальный кольцевой электрод, на который подается потенциал катода. Роль крайних диафрагм выполняют торцевые стенки резонаторов, которые имеют потенциал анода.
Клистрон с ПЭФ по сравнению с клистроном с магнитной фокусировкой имеет меньшие вес и габариты, удобен в эксплуатации и не требует дополнительных источников питания.
Наиболее близкой по технической сущности к предлагаемому изобретению (прототипом) является конструкция клистрона с ПЭФ электронного потока [8]. Клистрон содержит вакуумную оболочку, в которой размещены расположенные вдоль оси клистрона электронная пушка, четыре объемных резонатора и коллектор, а также диафрагмы линз ПЭФ, расположенные между соседними объемными резонаторами и жестко закрепленные на проводящих стержнях, которые электрически изолированы от вакуумной оболочки и объемных резонаторов и расположены перпендикулярно оси клистрона. Проводящие стержни выведены из вакуумной части клистрона через диэлектрические изоляторы сложной формы, которые выступают из вакуумной оболочки на заданную длину, обеспечивая требуемую электрическую прочность.
Такая конструкция клистрона пригодна для приборов малой и средней мощности с рабочим напряжением не более 50 кВ. При создании мощных и сверхмощных клистронов с рабочим напряжением порядка 500 кВ в подобных конструкциях клистронов, имеющих малые расстояния от диафрагм линз до вакуумной оболочки и до стенок резонаторов, могут возникать электрические пробои. Малая электрическая прочность диэлектрических изоляторов также ограничивает уровень допустимой мощности клистрона. Поэтому для обеспечения достаточной электрической прочности требуется увеличение в 10 и более раз расстояния между катодом и анодом (пролетной трубой первого резонатора), увеличение в несколько раз расстояний между диафрагмой линзы и резонаторами, между диафрагмой линзы и вакуумной оболочкой. При этом увеличивается также расстояние между резонаторами (что ведет к увеличению продольных габаритов клистрона) и длина диэлектрических изоляторов (что ведет к резкому увеличению поперечных габаритов клистрона).
Кроме того, в конструкциях мощных и сверхмощных клистронов используется не менее четырех резонаторов. Поэтому в области последних резонаторов эффективность действия ПЭФ на электронный поток уменьшается из-за сложных процессов взаимодействия электронов в сгустках. Кроме того, в мощных клистронах в динамическом режиме работы в результате процесса группирования электронов возрастает объемный заряд в электронном потоке перед выходным резонатором, что значительно ухудшает токопрохождение электронного потока через этот резонатор, особенно в случае использования протяженного по длине выходного резонатора. Эти факторы препятствуют хорошей фокусировке электронного потока в выходном резонаторе, с которого идет отбор СВЧ мощности, что снижает выходную мощность клистрона.
Предлагаемое изобретение позволяет создавать конструкции мощных и сверхмощных клистронов с высокой электрической прочностью и небольшими поперечными габаритами.
Предлагается клистрон с периодической электростатической фокусировкой электронного потока, содержащий вакуумную оболочку, в которой размещены расположенные вдоль оси клистрона электронная пушка, объемные резонаторы и коллектор, а также диафрагмы линз периодической электростатической фокусировки, расположенные между соседними объемными резонаторами и жестко закрепленные на проводящих стержнях, которые электрически изолированы от вакуумной оболочки и объемных резонаторов, причем проводящие стержни размещены параллельно оси клистрона в вакуумном промежутке между объемными резонаторами и вакуумной оболочкой, при этом проводящие стержни жестко закреплены на фокусирующем электроде электронной пушки и электрически соединены с ним и с катодом, а выходной объемный резонатор окружен установленной вне вакуумной части клистрона магнитной фокусирующей системой, образующей длиннофокусную магнитную линзу.
Размещение проводящих стержней в вакуумном промежутке между вакуумной оболочкой и объемными резонаторами позволяет обеспечить высокую электрическую прочность без применения изоляторов, что повышает надежность клистрона при сохранении его небольших поперечных размеров.
Размещение в области выходного резонатора длиннофокусной магнитной линзы позволяет улучшить фокусировку электронного потока, а следовательно, и токопрохождение в нем. Это дает возможность увеличить выходную мощность клистрона.
Торцевой участок коллектора клистрона может быть снабжен оптическим окном для пропускания лазерного излучения на катод, являющийся фотокатодом. При этом оптическое окно может быть выполнено в виде кварцевого диска, расположенного под углом Брюстера относительно оси клистрона. В качестве фотокатода может быть использован металлопористый катод, так как экспериментально установлено, что металлопористый катод может быть использован как сильнотоковый фотокатод, по крайней мере, для длин волн лазерного излучения с диной волны 1=337,1 нм и 2=532 нм. Получены токи с такого фотокатода на уровне 150 А. Такие конструктивные особенности клистрона позволяют применять в нем лазерное управление током катода.
В оптимальном варианте предлагаемой конструкции пролетные трубы клистрона размещены в расположенных со стороны электронной пушки торцевых стенках входного и промежуточных объемных резонаторов, при этом диаметр центрального сквозного отверстия каждой пролетной трубы увеличивается по направлению к электронной пушке. Такие особенности конструкции предотвращают оседание электронного потока на стенках резонатора и на пролетных трубах.
Входной объемный резонатор может быть снабжен анодной диафрагмой, расположенной с наружной стороны его боковой стенки. Для пропускания через нее проводящих стержней, предназначенных для крепления диафрагм линз ПЭФ, в анодной диафрагме выполнены отверстия.
Расстояние от диафрагмы линзы и от проводящих стержней до близлежащей проводящей поверхности, находящейся под анодным потенциалом (например, до вакуумной оболочки, до стенок соседних резонаторов), составляет величину не менее величины расстояния от фокусирующего электрода электронной пушки до анодной диафрагмы. Выполнение этого условия позволяет обеспечить высокую электрическую прочность при напряжении до 500 кВ без использования изоляторов.
Некоторые конструкции клистронов характеризуются увеличенным расстоянием от катода электронной пушки до кроссовера электронного потока. Поэтому для обеспечения эффективного взаимодействия электронного потока с СВЧ полем входного объемного резонатора необходимо разместить входной резонатор на более удаленном расстоянии от катода. В этом случае для формирования электронного потока необходимо ввести между входным резонатором и катодом дополнительный электрод с анодным потенциалом и дополнительную диафрагму линзы ПЭФ, обеспечивающую улучшенную фокусировку электронного потока в области между этим дополнительным электродом и входным резонатором.
В предлагаемом клистроне между электронной пушкой и входным объемным резонатором размещены последовательно расположенные вдоль оси клистрона анодная диафрагма с дополнительной пролетной трубой и дополнительная диафрагма линзы периодической электростатической фокусировки, жестко закрепленная на проводящих стержнях, при этом дополнительная пролетная труба расположена со стороны дополнительной диафрагмы линзы, а диаметр ее центрального сквозного отверстия увеличивается по направлению к электронной пушке.
В этом случае для обеспечения высокой электрической прочности расстояние от диафрагмы линзы и от проводящих стержней до близлежащей проводящей поверхности, находящейся под анодным потенциалом, составляет величину не менее величины расстояния от фокусирующего электрода электронной пушки до анодной диафрагмы.
Выходной объемный резонатор клистрона может быть выполнен в виде отрезка диафрагмированного волновода с увеличивающимися по направлению к коллектору диаметрами центральных отверстий диафрагм волновода. Это позволяет предотвращать оседание электронов на диафрагмах выходного резонатора.
В качестве магнитной фокусирующей системы может быть использован соленоид.
Для обеспечения жесткости конструкции число проводящих стержней может быть выбрано не менее трех.
Сочетание ПЭФ с магнитной фокусировкой, размещенной в области выходного резонатора, и особенности конфигурации пролетного пространства обеспечивают в совокупности требуемую фокусировку электронного потока.
Конструктивные особенности выполнения ПЭФ, обеспечивающие высокую электрическую прочность электродных систем клистрона, вместе с лазерным управлением позволяют создать надежные мощные (сверхмощные) клистроны для сверхэнергетичных линейных ускорителей.
На фиг.1-5 представлены два возможных варианта выполнения предлагаемого изобретения.
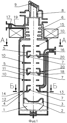
На фиг.1 показано продольное сечение клистрона, в котором входной объемный резонатор снабжен анодной диафрагмой (один из вариантов выполнения изобретения).
На фиг.2, 3 показаны поперечное сечение А-А и поперечное сечение Б-Б клистрона, приведенного на фиг.1.
На фиг.4 показано продольное сечение клистрона В-В (без коллектора), в котором введена анодная диафрагма с дополнительной пролетной трубой и дополнительная диафрагма линзы ПЭФ (другой вариант выполнения изобретения).
На фиг.5 показано поперечное сечение Г-Г клистрона, приведенного на фиг.4.
Клистрон, изображенный на фиг.1-3, содержит электронную пушку 1, снабженную катодом 2 (являющимся фотокатодом) и фокусирующим электродом 3, входной 4, промежуточные 5 и выходной 6 объемные резонаторы, пролетные трубы 7, коллектор 8 с кварцевым оптическим окном 9, расположенным под углом Брюстера относительно оси клистрона. Между соседними объемными резонаторами расположены диафрагмы 10 линз ПЭФ, жестко закрепленные на проводящих стержнях 11, которые размещены параллельно оси клистрона в вакуумном промежутке между объемными резонаторами 4, 5 и вакуумной оболочкой 12. Входной объемный резонатор 4 снабжен анодной диафрагмой 13. В анодной диафрагме 13 выполнены отверстия 14, предназначенные для пропускания через нее проводящих стержней 11. Выходной объемный резонатор 6 выполнен в виде отрезка диафрагмированного волновода с увеличивающимися по направлению к коллектору 8 диаметрами центральных отверстий диафрагм. Выходной объемный резонатор 6 окружен соленоидом 15, образующим длиннофокусную магнитную линзу. Клистрон содержит диэлектрические окна ввода и вывода СВЧ энергии 16, 17, при этом входная СВЧ мощность подводится к входному резонатору 4 по входному волноводу 18, а выходная СВЧ мощность отводится от выходного резонатора 6 по выходному волноводу 19. Промежуточные резонаторы 5 снабжены держателями 20. Держатели 20 и анодная диафрагма 13 могут быть жестко закреплены, например, на расположенных вдоль оси клистрона крепежных стержнях или на опорах. Клистрон содержит также трубки системы охлаждения (не показаны на фиг.1-3).
В клистроне, изображенном на фиг.4-5, между электронной пушкой 1 и входным резонатором 4 размещены анодная диафрагма 131 с дополнительной пролетной трубой 71 и дополнительная диафрагма 101 линзы ПЭФ. Дополнительная диафрагма 101 линзы ПЭФ жестко закреплена на проводящих стержнях 11. Клистрон содержит также трубки 21 системы охлаждения, которые могут быть использованы, например, и в качестве опор для крепления держателей 20 и анодной диафрагмы 131.
Предлагаемый клистрон может работать от источников как импульсного, так и постоянного напряжения.
При работе от источника импульсного напряжения на катод клистрона подают импульсное напряжение порядка 500 кВ. В этом случае требуется довольно сложный и громоздкий модулятор.
При работе от источника постоянного напряжения на катод клистрона требуется подавать постоянное напряжение порядка 500 кВ. Только в конструкциях клистронов с существенно меньшим постоянным напряжением на катоде применяют вспомогательный модулирующий электрод или сетку. Однако при больших уровнях токов при напряжениях порядка 500 кВ пока не удалось создать конструкцию клистрона с сеточным управлением. Поэтому в изобретении предлагается создать клистрон с лазерным управлением, в котором торцевой участок коллектора снабжен оптическим окном, а катод является сильнотоковым фотокатодом.
Клистрон, изображенный на фиг.1-3, работает следующим образом.
На катод (фотокатод) 2 и фокусирующий электрод 3 электронной пушки 1, а также на диафрагмы 10 линз ПЭФ подают постоянное отрицательное напряжение (например, от выпрямителя напряжения). Через оптическое окно 9 на катод 2 подают импульсы лазерного излучения. При этом катод 2 обеспечивает фотоэмиссию и ток, поступающий в вакуумный промежуток катод – анодная диафрагма 13, в котором электроны ускоряются, и сформированный электронный поток поступает в пролетный канал клистрона. Пролетный канал клистрона образован центральными отверстиями пролетных труб 7, объемных резонаторов 4, 5, 6 и диафрагм 10 линз ПЭФ. Линзы ПЭФ, образованные диафрагмами 10 и торцевыми стенками соседних объемных резонаторов, фокусируют электронный поток и не дают ему расходиться. При подаче входной СВЧ мощности через диэлектрическое окно ввода энергии 16 и входной волновод 18 во входной резонатор 4 электроны взаимодействуют в высокочастотных зазорах объемных резонаторов с СВЧ полями, модулируются по скоростям и группируются в сгустки. При группировании электронов перед выходным резонатором 6 существенно возрастает объемный заряд электронного потока. Чтобы избежать его расфокусировки требуется к фокусирующему действию ПЭФ добавить действие дополнительной магнитной фокусировки, для чего в области выходного резонатора 6 введена секция соленоида 15, образующая длиннофокусную магнитную линзу. Применение именно длиннофокусной магнитной линзы необходимо для того, чтобы действие магнитной фокусировки на электронный поток сказывалось не только в выходном резонаторе 6, но и распространялось бы на область перед выходным резонатором. В выходном резонаторе 6 электроны отдают свою энергию СВЧ полю. Выходная СВЧ мощность выводится из клистрона через выходной волновод 19 и диэлектрическое окно вывода энергии 17 и подается в нагрузку. При работе такого клистрона (с лазерным управлением) импульсы входной СВЧ мощности клистрона должны быть синхронизированы с импульсами лазерного излучения.
Клистрон, изображенный на фиг.4-5, работает аналогично клистрону, изображенному на фиг.1-3. При этом пролетный канал клистрона дополняется центральными отверстиями дополнительной пролетной трубы 71 и дополнительной диафрагмы 101 линзы ПЭФ.
Предлагаемая конструкция мощного (сверхмощного) клистрона обладает высокой электрической прочностью при небольших поперечных габаритах, проста, надежна, удобна и экономична в эксплуатации и может быть использована в сверхэнергетичных линейных ускорителях с большим числом (до 5000) клистронов.
Источники информации
1. Афонская М.Н., Габышев В.Г., Дунаев А.С., Зусмановский С.А., Любимов М.Л., Мишкин А.Г., Щелкунов Г.П. Клистронный усилитель 10-см диапазона мощностью 20 МВт в импульсе. Труды конференции по электронике СВЧ, М-Л, Госэнергоиздат, 1959, с.58-79.
2. Усилительные клистроны КИУ-12, КИУ-15, КИУ-17, КИУ-37. Электронная промышленность, 1979, вып.3 (75), с.69.
3. Ronald D. Ruth, Stanford, CA, USA. The next linear collide test accelerator: Status and results. EPAC-96.
4. Балакин В.Е, Казаков С.Ю., Лунин А.Е., Чашурин В.И. (филиал Института ядерной физики, Протвино). Мощные микроволновые компоненты электрон-позитронных супер-коллайдеров. Вакуумная СВЧ электроника (Сборник докладов. Издание РАН. Научный совет по физической электронике, Научный совет по релятивистской и сильнотоковой электронике). Институт прикладной физики, Нижний Новгород, 2002, с.13-20.
5. Hechtel J.R., Mizuhara A. A New Type of High Power Microwave Tube: the Elecrostatically Focused Klystron Amplifier. “Microwave Journal”, 1965, v.8, №9, pp.78-83.
6. Патент США №3436588, H 01 J 25/10, публ. 01.04.1969.
7. Невский П.В., Лебединская А.Д. Мощные клистроны с электростатической фокусировкой электронного пучка. Обзор №19 научно-технической литературы по электронной технике ЦНИИ технико-экономических исследований и научной информации. М., 1967, с.10-11, рис.6-7.
8. Патент США №3979626, H 01 J 1/53, публ. 07.09.1976.
Формула изобретения
1. Клистрон с периодической электростатической фокусировкой электронного потока, содержащий вакуумную оболочку, в которой размещены расположенные вдоль оси клистрона электронная пушка, объемные резонаторы и коллектор, а также диафрагмы линз периодической электростатической фокусировки, расположенные между соседними объемными резонаторами и жестко закрепленные на проводящих стержнях, которые электрически изолированы от вакуумной оболочки и объемных резонаторов, отличающийся тем, что проводящие стержни размещены параллельно оси клистрона в вакуумном промежутке между объемными резонаторами и вакуумной оболочкой, при этом проводящие стержни жестко закреплены на фокусирующем электроде электронной пушки и электрически соединены с ним и с катодом, а выходной объемный резонатор окружен установленной вне вакуумной части клистрона магнитной фокусирующей системой, образующей длиннофокусную магнитную линзу.
2. Клистрон по п.1, отличающийся тем, что торцевой участок коллектора снабжен оптическим окном для пропускания лазерного излучения на катод, являющийся фотокатодом.
3. Клистрон по п.2, отличающийся тем, что в качестве фотокатода использован металлопористый катод.
4. Клистрон по п.2, отличающийся тем, что оптическое окно выполнено в виде кварцевого диска, расположенного под углом Брюстера относительно оси клистрона.
5. Клистрон по п.1, отличающийся тем, что пролетные трубы клистрона размещены в расположенных со стороны электронной пушки торцевых стенках входного и промежуточных объемных резонаторов, при этом диаметр центрального сквозного отверстия каждой пролетной трубы увеличивается по направлению к электронной пушке.
6. Клистрон по п.1, отличающийся тем, что входной объемный резонатор снабжен анодной диафрагмой, расположенной с наружной стороны его боковой стенки.
7. Клистрон по п.1, отличающийся тем, что между электронной пушкой и входным объемным резонатором размещены последовательно расположенные вдоль оси клистрона анодная диафрагма с дополнительной пролетной трубой и дополнительная диафрагма линзы периодической электростатической фокусировки, жестко закрепленная на проводящих стержнях, при этом дополнительная пролетная труба расположена со стороны дополнительной диафрагмы линзы, а диаметр ее центрального сквозного отверстия увеличивается по направлению к электронной пушке.
8. Клистрон по п.6 или 7, отличающийся тем, что расстояние от диафрагмы линзы и от проводящих стержней до близлежащей проводящей поверхности, находящейся под анодным потенциалом, составляет величину не менее величины расстояния от фокусирующего электрода электронной пушки до анодной диафрагмы.
9. Клистрон по п.1, отличающийся тем, что выходной объемный резонатор выполнен в виде отрезка диафрагмированного волновода с увеличивающимися по направлению к коллектору диаметрами центральных отверстий диафрагм волновода.
10. Клистрон по п.1, отличающийся тем, что в качестве магнитной фокусирующей системы использован соленоид.
11. Клистрон по п.1, отличающийся тем, что число проводящих стержней составляет не менее трех.
РИСУНКИ
|
|