|
|
(21), (22) Заявка: 2004132366/12, 09.11.2004
(24) Дата начала отсчета срока действия патента:
09.11.2004
(46) Опубликовано: 20.06.2006
(56) Список документов, цитированных в отчете о поиске:
RU 2228417 C1, 10.05.2004. US 4353583 А, 12.10.1982. US 2809859 A, 31.01.1956. EP 861994 A2, 02.09.1998.
Адрес для переписки:
109004, Москва, Пестовский пер., д.16, стр.3, ООО “ТРАНС-ПЛОМБИР”, руководителю
|
(72) Автор(ы):
Акимов Владимир Ефимович (RU), Назаркин Сергей Владимирович (RU), Анненков Александр Васильевич (RU), Воронин Игорь Алексеевич (RU)
(73) Патентообладатель(и):
Общество с ограниченной ответственностью “ТРАНС-ПЛОМБИР” (RU)
|
(54) ЗАПИРАЮЩЕЕ УСТРОЙСТВО
(57) Реферат:
Изобретение относится к области скобяных изделий и касается запирающего устройства, содержащего корпус с двумя отверстиями и замыкатель в виде гибкого элемента. Замыкатель выполнен в виде троса с пассивным концом, закрепленным в одном из отверстий посредством нескольких местных опрессовок на каждой стороне корпуса в зоне отверстия, и свободным концом, пропускаемым при запирании через другое отверстие, выполненное сквозным. Имеется фиксатор замыкателя. Устройство снабжено указывающим на манипуляции защитным элементом, выполненным в виде выступа, расположенным внутри местной опрессовки. Данное устройство имеет повышенную информативность о попытках несанкционированного его вскрытия. 7 з.п. ф-лы, 10 ил.
Изобретение относится к скобяным изделиям, предназначенным для запирания и защиты дверей контейнеров, грузовых железнодорожных вагонов, кузовов автомобилей и других средств транспортировки различных грузов, а также магазинов, торговых палаток и других объектов от несанкционированного проникновения в них посторонних лиц или злоумышленников.
Более конкретно изобретение относится к устройствам, в которых замыкатель выполнен в виде гибкого элемента, например троса, один конец которого жестко закреплен в корпусе. Такие устройства называют моноблочными.
Известно запирающее устройство, содержащее корпус с двумя отверстиями, замыкатель в виде гибкого элемента, например троса с пассивным концом, закрепленным в одном из отверстий посредством нескольких местных опрессовок на каждой стороне корпуса в зоне отверстия, и свободным концом, пропускаемым при запирании через другое отверстие, выполненное сквозным, и фиксатор замыкателя, выполненный в виде роликов (патент РФ №2228417, кл. Е 05 В 39/02).
Опрессовки выполнены в количестве трех с каждой стороны корпуса. Причем выполнены они симметрично: напротив друг друга.
Известно также пломбирующее устройство, содержащее корпус с двумя отверстиями, замыкатель в виде гибкого элемента, например троса с пассивным концом, закрепленным в одном из отверстий посредством нескольких местных опрессовок на каждой стороне корпуса в зоне отверстия, и свободным концом, пропускаемым при запирании через другое отверстие, выполненное сквозным, и фиксатор замыкателя, выполненный в виде шарика (патент РФ №2141557, кл. Е 05 В 39/02).
Опрессовки выполнены в количестве двух с каждой стороны корпуса. Причем выполнены они симметрично: напротив друг друга.
К недостаткам обоих устройств относится то, что при выполнении опрессовок не исключается в зоне опрессовки появление трещин, вспучивание металла и т.п., которые могут ассоциироваться как попытка несанкционированного вскрытия.
Далее. Одним из требований стойкости защитных свойств и устойчивости запирающих устройств к несанкционированному «неразрушаемому» (криминальному) вскрытию является устойчивость запирающих устройств к размыканию воздействием специальными средствами и методами составляющих их элементов, а также с частичным разрушением конструкции, с возможностью последующей маскировки следов вскрытия и повторной установки запирающих устройств на объект.
Крепление пассивного конца троса посредством опрессовки (обжима) является, по нашему мнению, одним из составляющих элементов, который может быть подвергнут частичному разрушению с возможностью маскировки следов вскрытия вне заводских условий (в местах погрузки и выгрузки, в пути следования), поскольку в обоих устройствах опрессовка пассивного конца троса выполнена в виде углубления с ровной поверхностью.
Техническим результатом изобретения является устранение указанных недостатков.
Указанный технический результат достигается тем, что в запирающем устройстве, содержащем корпус с двумя отверстиями, замыкатель в виде гибкого элемента, например троса с пассивным концом, закрепленным в одном из отверстий посредством нескольких местных опрессовок на каждой стороне корпуса в зоне отверстия, и свободным концом, пропускаемым при запирании через другое отверстие, выполненное сквозным, и фиксатор замыкателя, устройство снабжено указывающим на манипуляции защитным элементом, выполненным в виде выступа, расположенным внутри местной опрессовки. При этом выступ по форме может быть выполнен в виде конуса, угловым, полукруглым, параллелепипеда, цилиндра либо, например, в виде конуса на одной стороне корпуса и цилиндра на другой стороне.
Ниже изобретение поясняется на примере выполнения.
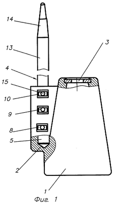
На фиг.1 и 2 изображены соответственно общий вид и вид сбоку устройства с выступом по форме в виде конуса;
на фиг.3 и 4 – фрагментарно соответственно общий вид и вид сбоку устройства с выступом по форме угловым;
на фиг.5 и 6 – фрагментарно соответственно общий вид и вид сбоку устройства с выступом по форме полукруглым;
на фиг.7 и 8 – фрагментарно соответственно общий вид и вид сбоку устройства с выступом по форме в виде параллелограмма;
на фиг.9 и 10 – фрагментарно соответственно общий вид и вид сбоку устройства с выступом по форме в виде цилиндра.
Запирающее устройство содержит корпус 1, закрытый крышками либо выполненный в виде стакана с дном, закрытого крышкой, с двумя отверстиями 2 и 3, замыкатель в виде гибкого элемента, например троса 4 с пассивным концом 5, закрепленным в отверстии 2 посредством местных опрессовок (обжатий) 6, 7, 8, 9, 10 на каждой стороне поверхностей 11 и 12 корпуса 1 в зоне отверстия 2. Последнее может быть выполнено глухим. Свободный конец 13 троса 4, снабженный наконечником 14, пропускается при запирании через другое отверстие 3, выполненное сквозным. Фиксатор замыкателя (на чертеже не показано) может быть выполнен в виде фиксирующих элементов, например роликов или шариков, взаимодействующих при запирании с замыкателем-тросом 4 и с внутренней поверхностью корпуса.
В качестве фиксатора замыкателя также может быть использован фиксатор, выполненный в виде изогнутого элемента «Г»-образной формы или винта, имеющего участок с уменьшенным поперечным сечением, выполненным в виде кольцевой проточки или канавки. При запирании конец фиксатора, вворачиваемого в резьбовое отверстие корпуса, взаимодействует с замыкателем-тросом, и при достижении заданного усилия фиксации фиксатор замыкателя обламывается в зоне проточки. Такие устройства известны как запирающие устройства типа «закрутка» (патент РФ №2134826, кл. F 16 G 11/10; патент РФ №2125531, кл. В 65 D 55/02).
Количество опрессовок выполняется не менее пяти, причем две опрессовки 6 и 7 на одной стороне поверхности 11 корпуса 1 расположены в межопрессованном пространстве трех опрессовок 8-10, выполненных на другой стороне поверхности 12 корпуса.
Благодаря такому выполнению опрессовок, глубина опрессовок уменьшилась с 2,8 мм до 2,5 мм. При этом усилие выдергивания пассивного конца 5 троса 4 осталось на нормированном для конкретного диаметра троса уровне.
Для предупреждения частичного разрушения конструкции запирающего устройства, в частности крепления, пассивного конца троса с возможностью последующей маскировки следов вскрытия и повторной установки на объект устройство снабжено указывающим на манипуляции защитным элементом, выполненным в виде выступа, расположенным внутри по меньшей мере одной местной опрессовки. Выступ может быть расположен симметрично внутри опрессовки, причем по форме выступ может быть любым, позволяющим его идентифицировать.
Предпочтительно, один или два выступа выполнять на одной стороне поверхности корпуса, при этом выступ по форме может быть выполнен в виде: конуса 15 (фиг.1 и 2), угловым 16 (фиг.3 и 4), полукруглым 17 (фиг.5 и 6), параллелепипеда 18 (фиг.7 и 8), цилиндра 19 (фиг.9 и 10).
Высота выступов должна быть соразмерной глубине опрессовки. Такие выступы практически невозможно подделать вне заводских условий. При этом возможна любая комбинация форм выступов на одном запирающем устройстве. На фиг.1 и 2 выступы показаны внутри каждой опрессовки, при этом, например, на одной стороне поверхности корпуса выступы могут быть выполнены по форме в виде конуса, а на другой – по форме в виде цилиндра и т.д. То есть они могут быть выполнены комбинированными.
Таким образом, заявляемое устройство в предложенной совокупности признаков, значительно повышает надежность крепления троса и обладает высокой степенью защиты, т.к. благодаря наличию выступов практически исключается возможность последующей маскировки следов вскрытия и повторной установки запирающего устройства на охраняемый объект.
Необходимая пломбировочная информация, например порядковый номер, код железной дороги и т.п., может быть нанесена на внешнюю поверхность корпуса.
Формула изобретения
1. Запирающее устройство, содержащее корпус с двумя отверстиями, замыкатель в виде гибкого элемента, например троса с пассивным концом, закрепленным в одном из отверстий посредством нескольких местных опрессовок на каждой стороне корпуса в зоне отверстия, и свободным концом, пропускаемым при запирании через другое отверстие, выполненное сквозным, и фиксатор замыкателя, отличающееся тем, что устройство снабжено указывающим на манипуляции защитным элементом, выполненным в виде выступа, расположенным внутри местной опрессовки.
2. Устройство по п.1, отличающееся тем, что выступ по форме выполнен в виде конуса.
3. Устройство по п.1, отличающееся тем, что выступ по форме выполнен угловым.
4. Устройство по п.1, отличающееся тем, что выступ по форме выполнен полукруглым.
5. Устройство по п.1, отличающееся тем, что выступ по форме выполнен в виде параллелепипеда.
6. Устройство по п.1, отличающееся тем, что выступ по форме выполнен в виде цилиндра.
7. Устройство по п.1, отличающееся тем, что выступ на запирающем устройстве выполнен на одной стороне корпуса и на другой его стороне.
8. Устройство по п.1, отличающееся тем, что пломбировочная информация нанесена на внешнюю поверхность корпуса.
РИСУНКИ
|
|