|
|
(21), (22) Заявка: 2003125185/28, 15.01.2002
(24) Дата начала отсчета срока действия патента:
15.01.2002
(30) Конвенционный приоритет:
15.01.2001 FI 20010085
(43) Дата публикации заявки: 20.02.2005
(46) Опубликовано: 20.06.2006
(56) Список документов, цитированных в отчете о поиске:
JP 07-056235 A, 03.03.1995. JP 02-204775 А, 14.08.1990. US 6092900 А, 25.07.2000. GB 2220278 А, 04.01.1990. RU 2145778 C1, 20.02.2000.
(85) Дата перевода заявки PCT на национальную фазу:
15.08.2003
(86) Заявка PCT:
FI 02/00026 (15.01.2002)
(87) Публикация PCT:
WO 02/056111 (18.07.2002)
Адрес для переписки:
129010, Москва, ул. Б. Спасская, 25, стр.3, ООО “Юридическая фирма Городисский и Партнеры”, пат.пов. Ю.Д.Кузнецову, рег.№ 595
|
(72) Автор(ы):
ПАЛОВУОРИ Карри (FI), РАККОЛАЙНЕН Исмо (FI)
(73) Патентообладатель(и):
ПАЛОВУОРИ Карри (FI), РАККОЛАЙНЕН Исмо (FI)
|
(54) СПОСОБ И УСТРОЙСТВО ДЛЯ ФОРМИРОВАНИЯ ПРОЕКЦИОННОГО ЭКРАНА ИЛИ ПРОЕКЦИОННОГО ОБЪЕМА
(57) Реферат:
Изобретение относится к способу создания нетвердотельного проекционного экрана, проекционного объема или тому подобного. Способ формирования проекционного экрана (3) или проекционного объема заключается в подаче и/или формировании рассеивающих (отражающих) свет центров (4) рассеяния в, по существу, ламинарном транспортирующем потоке (2), которые будут переноситься транспортирующим потоком. Согласно изобретению центры (4) рассеяния подаются и/или формируются в транспортирующем потоке (2), в его центральной (внутренней) части, который остается ламинарным в отдалении от непосредственной близости границ перехода между транспортирующим потоком (2) и окружающей его областью для того, чтобы поддерживать форму проекционного экрана. Согласно изобретению в качестве центров (4) рассеяния для упругого или неупругого рассеяния света можно использовать твердотельное, жидкое или газообразное вещество. 2 н. и 19 з.п.ф-лы, 6 ил.
Настоящее изобретение относится к способу формирования проекционного экрана или проекционного объема, как это раскрыто в пункте 1 формулы изобретения. Изобретение также относится к устройству для осуществления вышеупомянутого способа, как это раскрыто в пункте 12 формулы изобретения.
В этом контексте проекционный экран относится, в общем, к по существу двумерной поверхности, обладающей таким отражением света и/или свойствами рассеяния света, которые позволяют отражать от поверхности подвижное или неподвижное изображение, или осуществлять другие действия или эффекты, основанные на использовании света, посредством проектора, устройства на эффекте освещения, лазерного устройства или подобных устройств. В соответствующем способе проекционный объем относится к по существу трехмерному объекту, который можно освещать подходящим способом для получения трехмерных изображений.
Наиболее часто используемые проекционные экраны изготавливают из ткани, окрашенной древесины, металла, пластмассы или другого твердого материала. Известным примером такого твердого проекционного экрана является киноэкран.
Однако при использовании вышеупомянутых проекционных экранов имеются определенные ограничения. Например, для различных представлений вне или внутри помещения необходимы большие, временные проекционные экраны, которые должны быстро собираться и разбираться. В определенных ситуациях сборка и разборка проекционных экранов должна проводиться также во время действующего представления. Из предшествующего уровня техники известны различные немонолитные проекционные экраны, которые более универсальны в применении, чем традиционные монолитные проекционные экраны.
В опубликованных патентах США 5067653, 5270752, 5989128, 6092900, Германии 476372 и 3130638, Швейцарии СН 647605, Великобритании GB 2220278 и Франции FR 2773229 описаны различные проекционные экраны, формируемые обычно из тумана. В них в общем описано распыление тумана или конденсация пара в туман или газ планарным способом из сопел, в которых изображения или тому подобное можно проецировать на таким образом сформированную из тумана плоскую поверхность с передней стороны проекционного экрана или с задней стороны проекционного экрана относительно наблюдателя.
Недостатком таких проекционных экранов, состоящих из тумана или тому подобного, является то, что они имеют тенденцию к рассеиванию, то есть плоскостность проекционного экрана ухудшается в зависимости от увеличения расстояния от сопел, которые используются при формировании проекционного экрана. Это происходит из-за трения между потоком тумана и окружающим неподвижным воздухом и турбулентности, образующейся на поверхности потока, который в результате формирует проекционный экран. Очевидно, раз плоскостность проекционного экрана ухудшается, то соответственно ухудшается и качество изображения.
Эта проблема является предметом обсуждения, в частности, в вышеупомянутых патентах США 5067653 и 5270752. В этих патентах с обеих сторон проекционного экрана предусматривают воздушные завесы, то есть воздушные потоки, которые проходят параллельно потоку, который образует проекционный экран, при этом назначение этих воздушных завес заключается в том, чтобы удерживать по возможности плоским поток тумана между воздушными завесами.
В японском патенте JP 7056235 приводится другой вид решения для поддержания плоскостности проекционного экрана. В решении, приведенном в японском патенте, проекционный экран формируется путем выдувания тумана или дыма из сопел таким способом, при котором образующийся в результате поток является изначально ламинарным. Для более лучшего сохранения формы потока, на противоположной относительно сопел стороне размещают отдельное устройство для всасывания потока, формирующего проекционный экран. Цель такого размещения заключается в том, чтобы предотвратить рассеивание потока, образующего проекционный экран, на участке между выдувными устройствами и устройствами для всасывания.
Однако при формировании проекционного экрана в вышеупомянутых решениях предшествующего уровня техники необходимо иметь, среди прочего, гораздо более сложную структуру устройства, так как требуется формирование отдельных воздушных завес. Тем не менее, несмотря на воздушные завесы и/или отдельное устройство всасывания, на практике проекционный экран всегда рассеивается до некоторой степени, и таким образом ухудшается качество изображения. Проекционный экран имеет тенденцию к большему рассеиванию в зависимости от увеличения расстояния от сопел. Чем больше должен быть проекционный экран, тем сложнее становится техническая реализация плоского проекционного экрана.
Кроме того, способы, раскрытые в предшествующем уровне техники, плохо подходят для создания другого вида экранов, отличающихся от просто плоских проекционных экранов. Например, трудно сформировать цилиндрические проекционные экраны с большой кривизной. Решения предшествующего уровня техники до сих пор в основном ограничены использованием тумана (воды) или дыма при формировании проекционного экрана. Также из предшествующего уровня техники неизвестно функциональных решений, позволяющих создавать удовлетворительным способом проекционные объемы и проецируемые в них трехмерные изображения.
Главной задачей настоящего изобретения является выполнение нового способа формирования нетвердотельного проекционного экрана или проекционного объема, позволяющего уменьшить или полностью устранить недостатки описанных выше решений предшествующего уровня техники.
Эта задача решается за счет того, что способ согласно изобретению характеризуется прежде всего тем, что раскрыто в отличительной части независимого пункта 1 формулы изобретения.
Кроме того, задачей предлагаемого изобретения является создание устройства, реализующего вышеупомянутый способ. В свою очередь, устройство согласно изобретению характеризуется прежде всего тем, что раскрыто в отличительной части независимого пункта 12 формулы изобретения.
Сущность изобретения заключается в использовании нетурбулентного, то есть ламинарного транспортирующего потока, который состоит из газа или жидкости и по размеру больше реального проекционного экрана или проекционного объема для перемещения центров рассеяния (рассеивающих центров), из которых состоит проекционный объем или проекционный экран. Согласно изобретению рассеивающие центры подают внутрь ламинарного транспортирующего потока с тем, чтобы эти центры перемещались вместе с потоком в центральной или внутренней частях потока, который остается ламинарным при отсутствии дрейфа вблизи границы раздела между транспортирующим потоком и его окружающей областью, при этом всегда имеется некоторая турбулентность, рассеивающая поток, присутствующая на упомянутой границе раздела. Так как турбулентность, возникающая на границе раздела транспортирующего потока, не достигает значительной степени в центральной или внутренней частях упомянутого транспортирующего потока, то параметры потока в центральной или внутренней частях сохраняют свой ламинарный характер достаточно хорошо, при этом поток с центрами рассеяния, образующими проекционный экран или проекционный объем, остается хорошим по форме.
Так как транспортирующий поток в этом случае содержит рассеивающие центры, необходимые для образования проекционного экрана или проекционного объема, отдельные воздушные завесы или тому подобное, используемые в известных способах, не требуются вовсе. Вместо трех потоков (две воздушных завесы и реальный поток, который образует между ними проекционный экран), используемых обычно в известных решениях, в решении согласно предлагаемому изобретению требуется только один поток, содержащий в себе проекционный экран.
Так как транспортирующий поток состоит в основном из газа, преимущественно из воздуха, центры рассеяния могут быть, например, частицами аэрозоля, находящиеся в жидком или твердом виде, таком как дым или пар. Определенные молекулы или атомы газа могут также действовать как рассеивающие центры.
Так как транспортирующий поток в основном состоит из прозрачной жидкости, например воды, центры рассеяния могут быть, за исключением маленьких частиц твердого материала, также большими частицами, которые могут перемещаться вдоль потока жидкости, который переносит их. Жидкости или пузырьки газа, которые нерастворимы в жидкости транспортирующего потока, могут также действовать как центры рассеяния.
В одном варианте осуществления изобретения используемые рассеивающие центры являются центрами рассеяния с упругим светорассеянием, такими как частицы аэрозоля, которые содержатся в дыме или тумане, например, частицы твердого материала, содержащиеся в жидкости, или пузырьки газа. В этом случае длина волны света, рассеянного/отраженного центрами рассеяния, является такой же, как и длина волны света, который освещает их. Таким образом, процесс рассеяния может быть основан, например, на так называемом рассеивании Ми, которое относится к упругому рассеянию света, которое возникает из центров рассеяния, у которых размер больше длины волны света. Преимуществом этого варианта осуществления является то, что проецируемое изображение легче получить цветным с использованием известных кино- или видеопроекторов или им подобных.
В другом варианте осуществления изобретения используется материал, который рассеивает свет неупругим способом, такой как фосфоресцентные или флуоресцентные частицы, молекулы или атомы. Поэтому центры рассеяния выполняют с возможностью излучения света в видимом спектральном диапазоне посредством освещения и возбуждения их подходящим излучением, имеющим более высокий уровень энергии, то есть, излучением, которое имеет более короткую длину волны. Преимуществом этого варианта осуществления является то, что так как свет определенной длины волны, направленный на проекционный экран или проекционный объем, например, ультрафиолетовый свет, который невидим для человеческого глаза, возбуждает только видимые и одни определенные области в мишени, то этот способ можно использовать для формирования изображений или трехмерных картин, которые кажутся парящими в воздухе. Другие зоны проекционного экрана или проекционного объема можно разместить с использованием подходящих центров рассеяния, например, молекул газа, в качестве центров рассеяния, которые будут по существу полностью прозрачными в преобладающем вокруг нормальном свете, то есть невидимыми для наблюдателя.
Решение изобретения позволяет сформировать проекционные экраны или проекционные объемы из центров рассеяния, перемещающихся вдоль потока газа или жидкости, при этом преимуществом упомянутых проекционных экранов или проекционных объемов, среди прочего, является то, что они принимают тонкую и когезионную форму и поэтому демонстрируют изображение хорошего качества, что устройство, требуемое для их формирования является простым, легким и простым для перемещения и использования, что проекционный экран и проекционный объем можно очень быстро сформировать и демонтировать и что можно также сформировать другие типы проекционных экранов в отличие от плоских.
Решение, раскрытое в предлагаемом изобретении, позволяет, при использовании, например, воздуха, сформировать транспортирующий поток и так называемый сухой туман в качестве рассеивающих центров, при этом становится возможным создание также сквозных проекционных экранов и проекционных объемов, полезных, например, при формировании так называемых виртуальных пространств и комнат (виртуальная среда на основе проецирования, полостная автоматическая виртуальная среда). Конструкции проекционных экранов виртуальных пространств предшествующего уровня техники являются очень дорогими и трудными для формирования, сборки и корректировки. Способ согласно изобретению обеспечивает также создание различных трехмерных картин для трехмерной визуализации, для создания специальных эффектов и/или тонировки на различных сценах, расположенных снаружи и внутри помещения или тому подобного.
Подробное описание изобретения, представленное ниже посредством примеров, более ясно изображает преимущественные варианты осуществления изобретения, понятные специалистам, а также преимущества, которые имеет изобретение по сравнению с предшествующем уровнем техники.
Ниже следует более подробное описание изобретения со ссылкой на прилагаемые чертежи, на которых:
фиг.1 изображает основной принцип изобретения в перспективном виде при формировании по существу двумерного проекционного экрана;
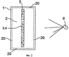
фиг.2 изображает вариант осуществления (фиг.1), показанный в направлении, противоположном направлению транспортирующего потока;
фиг.3 изображает согласно способу (фиг.2) основной вид варианта осуществления изобретения;
фиг.4 изображает согласно способу (фиг.2) основной вид второго варианта осуществления изобретения;
фиг.5 изображает согласно основному способу главный принцип изобретения в перспективном виде после создания трехмерного проекционного объема; и
фиг.6 изображает вариант осуществления согласно фиг.5, показанный в направлении, противоположном направлению транспортирующего потока.
На фиг.1 показано устройство согласно изобретению для формирования проекционного экрана. Для того, чтобы сформировать транспортирующий поток 2 газа или жидкости по существу ламинарным, то есть нетурбулентным потоком, можно использовать любое подходящее решение, очевидное специалистам в этой области. Принципы формирования ламинарного потока газа или жидкости хорошо известны из научной литературы, где описаны методы формирования потоков, и поэтому здесь они не обсуждаются более подробно.
Проекционный экран 3 формируется из центров 4 рассеяния, которые подаются из средства 5 подачи, и/или формируется из исходного материала(ов), который подается из упомянутого средства 5 подачи. Центры 4 рассеяния перемещаются внутри ламинарного транспортирующего потока 2 таким способом, при котором рассеивающие центры 4 перемещаются вдоль транспортирующего потока 2 во внутренней части транспортирующего потока 2, внутренняя часть которого остается ламинарной без наличия дрейфа вблизи границ разделов между транспортирующим потоком 2 и окружающей его областью, при этом границы разделов всегда содержат турбулентность, рассеивающую до некоторой степени транспортирующий поток 2. Однако внутренние части транспортирующего потока 2, находящиеся на достаточном расстоянии от вышеупомянутых границ разделов, легко сохраняют свой поток в ламинарном виде, где проекционный экран 3, состоящий из центров 4 рассеяния, остается, в свою очередь, хорошим по форме.
Для формирования изображения на проекционном экране 3 проектор 6 проецирует свет, который рассеивается из центров 4 рассеяния упругим или неупругим способом, образуя при этом желательное изображение на проекционном экране 3.
В вариантах осуществления изобретения, которые основаны на упругом рассеянии, таком как, например, рассеивание Ми, проектор 6 может быть кинопроектором, видео- или компьютерным проектором, устройством с эффектом свечения, лазерным устройством или любым другим устройством, с помощью которого неподвижное или подвижное изображение и/или световой эффект можно проецировать также на обычный твердый проекционный экран, такой как, например, киноэкран. В некоторых вариантах осуществления изобретения проектор 6 может быть также осветителем, прожектором или соответствующим источником света, не воспроизводящим изображение.
В способах, которые основаны на неупругом рассеянии, таком как, например, флюоресценция, проектор 6 может быть, например, так называемым лазерным проектором или некоторым другим лазерным или ультрафиолетовым источником света, где, при необходимости, подходящее устройство размещается для отклонения луча/лучей света, полученного из источника света для проецирования изображения на проекционном экране 3. Транспортирующий поток 2 преимущественно формируется, например, из воздуха или воды.
Кроме того, устройство можно снабдить устройством 7 всасывания, где транспортирующий поток 2 можно гораздо проще поддерживать ламинарным и/или частицы, капли или тому подобное, действующие как рассеивающие центры 4, можно собирать, предотвращая их рассеивание/накапливание в окружающей среде или дрейф, который блокирует траекторию луча света от проектора 6. Устройство 7 всасывания также позволяет повторно использовать центры 4 рассеяния.
В одном варианте осуществления изобретения устройство 1 для формирования потока и устройство 7 всасывания соединены друг с другом таким способом, чтобы транспортирующий поток 2 засасываемый устройством 7 всасывания направлялся вдоль системы труб или тому подобного назад в устройство 1 для формирования потока. Преимуществом этого варианта осуществления является то, что когда один и тот же поток рециркулирует в устройстве, возмущения, вызванные в окружающей области, такие как турбулентность в окружающей области, уменьшается по сравнению с ситуацией, где устройство 1 для формирования потока и/или устройство 7 всасывания выпускает поток непрерывно в окружающее пространство. Меньшее возмущение, направленное в сторону окружающей области, также благоприятствует сохранению транспортирующего потока ламинарным по форме. Центры 4 рассеяния, которые содержатся в транспортирующем потоке, можно возвращать обратно наряду с потоком из устройства 7 всасывания в устройство 1 для формирования потока, или их можно удалять из потока путем фильтрации перед возвращением потока обратно в устройство 1 для формирования потока.
На фиг.2 изображено устройство (фиг.1), показанное в направлении, противоположном направлению транспортирующего потока 2 (направление потока в сторону наблюдателя изображения). На фиг.2 показана более ясно, чем на фиг.1, основная идея изобретения, то есть даже при наличии некоторой турбулентности на границах 20 раздела между транспортирующим потоком 2 и его окружением, при этом турбулентность не приводит к эффекту возмущения в ламинарном потоке во внутренней и/или центральной частях транспортирующего потока 2, где подаваемые центры 4 рассеяния таким образом образуют устойчивый проекционный экран 3.
В соответствии с фиг.1 и 2 ламинарный транспортирующий поток 2 можно сформировать при использовании одного устройства 1 для формирования потока, или транспортирующий поток 2 можно сформировать также способом, показанным в принципе на фиг.3, при совместном использовании многочисленных устройств 1 для формирования потока совместно. После использования множества устройств 1 для формирования потока скорость, направление, состав и температура транспортирующих потоков 2, образованных таким образом, должны подбираться по возможности идентичными для того, чтобы предотвратить образование границ разделов, которое имеют тенденцию к образованию между упомянутыми транспортирующими потоками 2, вызывающими турбулентность. По существу однородный проекционный экран 3, который теперь уже формируется с использованием многочисленных устройств 1 для формирования потока, при необходимости, можно сформировать даже очень большим.
В противоположность тому, что показано на прилагаемых фиг.1-6, транспортирующий поток 2 и проекционный экран 3 или проекционный объем 8 можно, естественно, сформировать с расширением в любом направлении, например, снизу вверх или наоборот, от одной стороны в другую, по диагонали или подобным способом, при направлении устройства 1 для формирования потока подходящим способом.
На фиг.4 изображен дополнительный вариант осуществления изобретения, где ламинарный транспортирующий поток 2 располагается путем подходящего конструирования структур устройства 1 для формирования потока и средства 5 подачи криволинейных по форме для того, чтобы сформировать изогнутый проекционный экран 3. Очевидно, что при конструировании структур устройства 1 для формирования потока и/или средства 5 подачи, можно легко выполнить и другие формы непланарных потоков. Планарный транспортирующий поток 2, при необходимости, можно выполнить с использованием средства 5 подачи, которое изогнуто по диагонали относительно направления потока, с изогнутым проекционным экраном 3 (на фиг.4 поперечное сечение устройства 1 для формирования потока является вытянутым, а средство подачи изогнутым), и, кроме того, можно также выполнить изогнутый транспортирующий поток 2 с использованием подходящего средства 5 подачи с плоским проекционным экраном 3.
Специалистам будет ясно, что многочисленные устройства 1 для формирования потока (и возможные устройства 7 всасывания) могут быть размещены друг за другом в направлении потока, в котором можно сформировать проекционные экраны произвольной длины. Для того чтобы сформировать различные виртуальные места и пространства, множество устройств изобретения можно установить в подходящих местах демонстрационного пространства для формирования многочисленных проекционных экранов, расположенных отдельно друг от друга.
Частицы или тому подобное, которые действуют как центры 4 рассеяния, можно добавить в транспортирующий поток 2, например, используя транспортирующий газ или жидкость. Так как молекулы или атомы газа или жидкость действуют как центры 4 рассеяния, они могут подаваться соответствующим способом в транспортирующий поток 2, при необходимости, с помощью транспортирующего газа или жидкости.
Кроме того, центры 4 рассеяния не обязательно формировать заранее для фактического транспортирующего потока 2. Следовательно, исходный материал или материалы, необходимые при формировании центров рассеяния, подаются в транспортирующий поток 2, где исходный материал/материалы вступают в реакцию с образованием центров 4 рассеяния. Например, пар или смесь пара и воздуха могут конденсироваться в транспортирующем потоке 2 в водяной туман. Образование центров 4 рассеяния может также происходить путем применения какой-либо другой конденсации, сублимации или химической реакции.
Центры 4 рассеяния могут подаваться в транспортирующий поток 2 из сопел переменной формы, или, например, из перфорированной трубы или трубы с прорезями, или также из другого органа или структуры, выпускающей материал, применимой для этой цели. Средство 5 подачи, которое рассеивает центры 4 рассеяния, может составлять часть транспортирующего потока 1, который производит транспортирующий поток 2, или может составлять отдельное средство, расположенное в подходящем положении в направлении транспортирующего потока 2 еще дальше от устройства 1 для формирования потока и/или по диагонали относительно направления потока в подходящем положении транспортирующего потока 2.
При использовании неупругого светорассеивающего материала в качестве центров 4 рассеяния длина волны излучения, излучаемого рассеивающими центрами 4, отличается от длины волны излучения, используемого для их возбуждения, и имеет длину волны больше, чем у опорного излучения.
При использовании неупругого рассеяния изображение, сформированное на проекционном экране 3, является в принципе монохроматическим, при этом цвет зависит от свойств центров 4 рассеяния и длины волны света, переданного проектором 6, используемым для их возбуждения. Если целью является формирование цветных изображений, то необходимо использовать центры 4 рассеяния, которые состоят из многочисленных различных материалов и рассеивают свет другими неупругими способами, при этом отдельное частичное изображение проецируется для каждого центра 4 рассеяния с использованием соответствующим образом подобранного излучения на длине волны излучения возбуждения.
Центры 4 рассеяния с неупругим рассеянием света могут быть, например, фосфоресцентными или флуоресцентными частицами твердого материала, каплями жидкости, паром или газом, и их можно освещать подходящим лазерным проектором или другим проектором 6, который излучает ультрафиолетовый свет или видимый свет. Свет, излучаемый проектором 6, в этом случае активизирует только требуемые области на проекционном экране 3, где только эти области излучают свет и формируют изображение, воспринимаемое наблюдателем. Таким образом, становится возможным получение изображений произвольной формы, которые можно наблюдать в принципе под любым возможным углом, потому что в этом случае фактические изображения являются прозрачными помимо излучения света. Другими словами, свет, излучаемый центрами 4 рассеяния, которые возбуждаются проектором 6, не поглощается в значительной степени другими центрами 4 рассеяния, потому что длина волны излученного света отличается от света, который передается проектором 6, и поэтому не годится для возбуждения центров 4 рассеяния. Таким образом, при использовании способа, согласно изобретению, в этом варианте осуществления возможно формирование изображений, видеоизображений или подобных изображений объектов, людей и т.д., которые кажутся плывущими в воздухе.
В проекционных экранах 3, использующих упругое рассеяние и сформированных из тумана или подобного, реальный проекционный экран имеет тенденцию быть всегда видимым, по меньшей мере до некоторой степени, из-за естественного освещения окружающей среды или другого диффузного освещения, направленного на проекционный экран или рассеивающегося/отражающегося от него. В тех вариантах осуществления изобретения, которые основаны на неупругом рассеянии, использование подходящих центров 4 рассеяния, например, молекул газа, делает возможным размещение проекционного экрана 3 при естественном преобладании света окружающей области, которая будет по существу прозрачной, другими словами, невидимой для наблюдателя, потому что свет, возникающий из вышеупомянутых источников света, неприменим для возбуждения центров 4 рассеяния. Это делает возможным также формирование многочисленных проекционных экранов 3, расположенных рядом друг с другом в направлении потока таким способом, при котором изображение, сформированное в определенном проекционном экране 3, наблюдается через расположенные рядом проекционные экраны 3. Выбирая центры 4 рассеяния для каждого соседнего проекционного экрана 3 таким способом, при котором различные длины волн и различные проекторы/источники 6 света используются для их возбуждения, можно сформировать другое изображение для упомянутых различных проекционных экранов 3 и таким образом достигнуть трехмерного эффекта. При использовании в дальнейшем этого вышеупомянутого принципа можно, кроме того, формировать трехмерные проекционные объемы.
На фиг.5 и 6 изображен принцип изобретения после формирования проекционного объема вместо проекционного экрана. Трехмерный проекционный объем 8 сформирован из центров 4 рассеяния, которые подаются из средства 5 подачи, и/или сформирован из исходного материала/материалов, которые подаются из упомянутого средства 5 подачи. Центры 4 рассеяния выпускаются в ламинарный транспортирующий поток 2 в плоскости, которая является диагональной относительно направления упомянутого потока, только в необходимые местоположения (из определенного средства 5 подачи) и только в необходимые моменты времени. Таким образом получается трехмерная картина, проекционный объем 8, перемещающийся вдоль транспортирующего потока.
Разрешение проекционного объема 8 и трехмерной картины, полученной с помощью него, зависит от количества, размера центров 4 рассеяния и плотности размещения средств подачи и управления временем подачи транспортирующего потока 2 центров 4 рассеяния. Если цель состоит в том, чтобы получить протяженную цельную картину, которая является аксиальной к транспортирующем потоку, необязательно выполнять точное управление временем для средства 5 подачи (например, открытие и закрытие).
Проекционный объем 8 можно сформировать прозрачным или непрозрачным, в котором, особенно в последнем случае, можно при необходимости проецировать требуемое изображение или требуемые поверхностные картины на внешней поверхности проекционного объема 8. Однако не необязательно использовать поверхностные картины. Когда проекционный экран 8 является прозрачным и когда, например, при использовании центров 4 рассеяния, который применим к неупругому рассеянию, например, флюоресцентному, центры 4 рассеяния можно возбудить, при необходимости, на всей области проекционного объема 8, то есть, например, внутри трехмерной картины, сформированной с помощью проекционного объема 8. Следовательно, формируется осветительный объем.
Так как картина, сформированная посредством проекционного объема 8, перемещается вдоль транспортирующего потока 2, проектор 6, при необходимости, можно разместить так, чтобы он отклонял луч/лучи света, излучаемые из источника света, с возможностью перемещения вдоль картины. Таким образом, например, поверхностную картину, проецируемую на внешнюю поверхность упомянутой картины, можно получить с возможностью перемещения вдоль картины.
Центры 4 рассеяния подают в транспортирующий поток 2 предпочтительно посредством средства 5 подачи, такого как, например, сопла, размещенные в виде матрицы и управляемые с помощью устройства обработки данных, такого как процессор или компьютер.
Посредством проекционного объема 8 можно более четко выделять формы создаваемой трехмерной картины, используя при этом освещение с различных направлений, то есть, при необходимости, можно расположить больше проекторов 6 для освещения проекционного объема 8 с различных направлений.
Специалистам будет ясно, что проекционные экраны 3 или объемы 8 можно использовать внутри и вне помещений взамен традиционного экрана или, например, создавать, предпочтительно, большие или иные сложные проекционные мишени. Изображение или картину можно проецировать с различных сторон проекционного экрана или проекционного объема, и проектор/источник 6 света, который используется для получения изображения или картины, необязательно должен быть перпендикулярным относительно плоского проекционного экрана. Изображение, при необходимости, можно корректировать, например, с использованием оптических или цифровых методов предшествующего уровня техники.
При использовании воздуха или другого безопасного газа для формирования транспортирующего потока 2 и, например, сухой пыли или других безопасных материалов в качестве центров 4 рассеяния можно осуществить сквозные проекционные экраны 3 или проекционные объемы 8.
При использовании способа и устройства изобретения можно создавать проекционные мишени произвольной формы. Криволинейные поверхности, различные точки неоднородности и т.п. можно легко осуществить посредством настоящего изобретения.
Способ и устройство согласно изобретению можно использовать также для создания других поверхностей и объемов, которые отличаются от тех, которые необходимы для приложений по проецированию изображений. Изобретение можно применить, например, для создания завес или других визуальных преград или проекционных экранов, необходимых для различных светотехнических задач.
Специалистам будет ясно, что при объединении различными путями способов, режимов работы и структур устройства, представленных выше при рассмотрении различных вариантов осуществления изобретения, можно обеспечить различные варианты осуществления изобретения в соответствии с его сущностью.
Специалистам будет ясно, что прилагаемые чертежи служат только для иллюстрации изобретения, и, таким образом, структуры и компоненты, представленные на них, изображены не в масштабе.
Формула изобретения
1. Способ формирования нетвердотельного проекционного экрана (3), проекционного объема (8) или тому подобного, по которому рассеивающие/отражающие свет центры (4) рассеяния подают и/или создают в по существу ламинарном транспортирующем потоке (2), которые будут перемещаться с помощью транспортирующего потока (2), отличающийся тем, что центры (4) рассеяния подают и/или формируют в потоке (2) в его центральной/внутренней частях, которые остаются ламинарными, в отдалении от непосредственной близости от границы (20) раздела между транспортирующим потоком (2) и окружающей его областью.
2. Способ по п.1, отличающийся тем, что транспортирующий поток (2) формируют из газообразного вещества, предпочтительно из воздуха.
3. Способ по п.1, отличающийся тем, что транспортирующий поток (2) формируют из жидкого вещества, предпочтительно из воды.
4. Способ по любому из предыдущих пунктов, отличающийся тем, что в качестве центров (4) рассеяния используют упругое рассеяние/отражение света, твердотельное, жидкое или газообразное вещество.
5. Способ по любому из предыдущих пп.1-3, отличающийся тем, что в качестве центров (4) рассеяния используется неупругое рассеяние света, твердотельное, жидкое или газообразное вещество, предпочтительно, флуоресцентное или фосфоресцентное вещество, центры (4) рассеяния которого выполнены с возможностью излучения света посредством их возбуждения электромагнитным излучением, предпочтительно, ультрафиолетовым светом, который имеет более высокую энергию по сравнению с излучаемым светом.
6. Способ по любому из предыдущих пунктов, отличающийся тем, что в транспортирующем потоке (2) центры (4) рассеяния формируют из исходных материалов, подаваемых в транспортирующий поток (2) путем конденсации, сублимации и/или химической реакции.
7. Способ по любому из предыдущих пунктов, отличающийся тем, что центры (4) рассеяния подают и/или формируют в поперечной плоскости относительно направления транспортирующего потока (2) в многочисленных различных местоположениях транспортирующего потока.
8. Способ по любому из предыдущих пунктов, отличающийся тем, что центры (4) рассеяния подают и/или формируют в транспортирующем потоке (2) методом, изменяющимся во времени.
9. Способ по любому из предыдущих пунктов, отличающийся тем, что транспортирующий поток (2) и/или центры (4) рассеяния, входящие в него, собирают путем засасывания транспортирующего потока (2) и/или центров (4) рассеяния в отдельное устройство (7) всасывания.
10. Способ по п.9, отличающийся тем, что транспортирующий поток (2) и/или центры (4) рассеяния, собранные с помощью устройства (7) всасывания, используют при формировании транспортирующего потока (2), и/или проекционного экрана (3), и/или проекционного объема (8).
11. Способ по любому из предыдущих пунктов, отличающийся тем, что многочисленные проекционные экраны (3) и/или проекционные объемы (8) формируют один за другим, и/или рядом, и/или один сверху другого для осуществления более широкой проекционной мишени, и/или виртуального места/пространства, и/или виртуальной картины.
12. Устройство для выполнения нетвердотельного проекционного экрана (3), проекционного объема (8) или тому подобного, из рассеивающих/отражающих свет центров (4) рассеяния, протекающих вдоль транспортирующего потока (2), отличающееся тем, что устройство содержит по меньшей мере устройство (1) для формирования потока, предназначенное для формирования по существу ламинарного транспортирующего потока (2), и одно или множество средств (5) подачи для подачи центров (4) рассеяния и/или исходных материалов, необходимых при их формировании, в транспортирующий поток (2) в его центральную/внутреннюю части, которые остаются ламинарными, в отдалении от непосредственной близости к границам разделов между транспортирующим потоком (2) и окружающей их областью.
13. Устройство по п.12, отличающееся тем, что устройство (1) для формирования потока выполнено с возможностью формирования транспортирующего потока (2) из газообразного вещества, предпочтительно из воздуха.
14. Устройство по п.12, отличающееся тем, что устройство (1) для формирования потока выполнено с возможностью формирования транспортирующего потока (2) из жидкого вещества, предпочтительно из воды.
15. Устройство по любому из пп.12-14, отличающееся тем, что в качестве рассеивающих центров (4) используют упругое рассеяние/отражение света, твердотельное, жидкое или газообразное вещество.
16. Устройство по любому из пп.12-14, отличающееся тем, что в качестве рассеивающих центров (4) используют неупругое рассеяние света, твердотельное, жидкое или газообразное вещество, предпочтительно флуоресцентное или фосфоресцентное вещество, центры (4) рассеяния которого выполнены с возможностью излучения света при возбуждении их электромагнитным излучением, предпочтительно ультрафиолетовым светом, который имеет более высокую энергию по сравнению с излучаемым светом.
17. Устройство по любому из пп.12-16, отличающееся тем, что одно или множество средств (5) подачи выполнено с возможностью подачи в транспортирующий поток исходного материала/материалов для формирования центров (4) рассеяния в транспортирующем потоке (2) из исходного материала/материалов путем конденсации, сублимации и/или химической реакции.
18. Устройство по любому из пп.12-17, отличающееся тем, что средство (5) подачи выполнено с возможностью подачи и/или формирования центров (4) рассеяния в поперечной плоскости относительно направления транспортирующего потока (2) в многочисленных различных местоположениях транспортирующего потока.
19. Устройство по любому из пп.12-18, отличающееся тем, что средство (5) подачи выполнено с возможностью подачи и/или формирования центров (4) рассеяния в транспортирующем потоке (2) методом, изменяющимся во времени.
20. Устройство по любому из пп.12-19, отличающееся тем, что оно также содержит устройство (7) всасывания для сбора транспортирующего потока (2) и/или центров (4) рассеяния, содержащихся в нем.
21. Устройство по п.20, отличающееся тем, что оно также содержит средство для возврата транспортирующего потока (2), собранного устройством (7) всасывания, и/или центров рассеяния обратно в устройство (1) для формирования потока для повторного использования.
РИСУНКИ
|
|