|
|
(21), (22) Заявка: 2004137740/28, 24.12.2004
(24) Дата начала отсчета срока действия патента:
24.12.2004
(46) Опубликовано: 20.06.2006
(56) Список документов, цитированных в отчете о поиске:
JP 11084232 A, 26.03.1999. US 4163603 A, 07.08.1979. SU 1117570 A1, 07.10.1984. SU 1830506 A1, 30.07.1993.
Адрес для переписки:
140080, Московская обл., г. Лыткарино, ул. Парковая, 1, ОАО “ЛЗОС”
|
(72) Автор(ы):
Мельникова Нина Николаевна (RU), Грудзино Юрий Борисович (RU), Давиденко Владимир Прокофьевич (RU), Румянцев Виктор Васильевич (RU)
(73) Патентообладатель(и):
Открытое акционерное общество “Лыткаринский завод оптического стекла” (RU)
|
(54) ТЕЛЕЦЕНТРИЧЕСКИЙ ОБЪЕКТИВ
(57) Реферат:
Телецентрический объектив может быть использован для работы с ПЗС-матрицами. Объектив содержит 11 одиночных линз, сгруппированных в три группы из трех, одной и семи линз по ходу луча: из них линзы 1, 5, 8 и 11 – мениски, обращенные выпуклостью к предмету; 2 – двояковогнутая линза; 3, 6 и 9 – двояковыпуклые линзы, а 4, 7, 9 и 10 – мениски, обращенные вогнутостью к предмету. Фокусных расстояний некоторых групп и подгрупп линз соответствуют соотношениям, приведенным в формуле изобретения. Технический результат – расширение спектрального диапазона и получение высокого качества изображения в единой фокальной плоскости одновременно в трех спектральных диапазонах:  1=0,5-0,6;  2=0,6-0,7;  3=0,79-0,9 мкм. 1 з.п. ф-лы, 1 ил.
Предлагаемое изобретение относится к оптическим приборам и может быть использовано в качестве объектива с телецентрическим ходом лучей для работы в спектральном диапазоне 0,5…0,9 мкм, например с ПЗС-матрицами.
Известен широкоугольный (90°) телецентрический объектив (SU №1117570 А1, кл. G 02 B 13/22, опубл. 07.10.84 г.), содержащий девять одиночных линз и менисков, а именно, по ходу луча: положительный и два отрицательных мениска, обращенных выпуклостью к предмету, апертурную диафрагму, положительный и отрицательный мениски, обращенные вогнутостью к предмету, две двояковыпуклые линзы и положительный и отрицательный мениски, обращенные выпуклостью друг к другу. Относительное отверстие объектива 1:5, фокусное расстояние 10 мм, рассчитан на длину волны 546 Нм.
Наиболее близким по технической сущности к предлагаемому является широкоугольный телецентрический объектив (JP 11084232 А, кл. G 02 B 13/04, опубл.26.03.99 г.), содержащий три группы линз: в первой группе G1, по ходу луча, двояковыпуклая линза G1-1 и подгруппа G1-2 из отрицательного мениска, обращенного выпуклостью к предмету, и двояковогнутой линзы, во второй группе G2 – положительная линза, в третьей группе G3 – отрицательная линза, положительный мениск и двояковыпуклая линза образуют подгруппу G3-1, а склейка из двояковыпуклой и двояковогнутой линз и две двояковыпуклые линзы образуют подгруппу G3-2, при этом в объективе выполняются следующие соотношения:
(1) 0.2<|f1/f3|<0.8
(2) 0.01<|f/f2|<0.7
(3) 0.01<|f1/f1-1|<0.5
(4) 0.7<|f1-2/f1|<1.0
(5) |f3/f3-1|<0.6
(6) 0.5<|f3/f3-2|<0.95
где f… – фокусные расстояния соответствующих групп линз или объектива. У объектива большой задний отрезок (до 100 мм), светосила 1:4, он работает в видимой области спектра (0,486…0,656 нм).
Задачей настоящего изобретения является создание телецентрического объектива с расширенным спектральным диапазоном от 0,5 до 0,9 мкм, в частности для поддиапазонов: 0,5÷0,6; 0,6÷0,7; 0.79÷0,9 мкм в единой фокальной плоскости и высоким качеством изображения по всему полю.
Технический результат, обусловленный поставленной задачей, достигается тем, что в телецентрическом объективе, содержащем три группы линз из трех, одной и семи линз соответственно, первая группа Г1 включает вторую отрицательную линзу, вторая группа Г2 – четвертую положительную линзу, третья группа Г3 – пятую линзу – отрицательный мениск, обращенный выпуклостью к предмету, шестую положительную линзу, одиннадцатую положительную линзу, при этом, в отличие от известного, первая и восьмая линзы выполнены в виде отрицательных менисков, обращенных выпуклостью к предмету, вторая линза – двояковогнутая, третья, шестая и девятая – двояковыпуклые, четвертая – мениск, обращенный вогнутостью к предмету, седьмая и десятая – отрицательные мениски, обращенные выпуклостью к изображению, одиннадцатая – мениск, обращенный вогнутостью к изображению. Рекомендуется, чтобы в объективе выполнялись следующие соотношения фокусных расстояний (ф.р.) групп и подгрупп линз:
1.2<|f1/f3|<2.0
1.0<|f1/f1-1|<1.8
4.0<|f1-2/f1|<9.0
0.6<|f3/f3-1|<0.8
0.37<|f3/f3-2|<0.49, где
f1 – ф.р. группы Г1 (линзы 1, 2 и 3);
f3 – ф.р. группы Г3 (линзы 5-11);
f1-1 – ф.р. первой линзы;
f1-2 – ф.р. подгруппы из 2 и 3 линз;
f3-1 – ф.р. подгруппы из 5, 6 и 7 линз;
f3-2 – ф.р. подгруппы из 8, 9, 10 и 11 линз.
Предложенное выполнение объектива позволяет получить построение качественного изображения в единой фокальной плоскости одновременно в трех спектральных диапазонах:  1=0,5÷0,6;  2=0,6÷0,7;  3=0,79÷0,9 мкм.
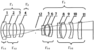
Оптическая схема поясняется чертежом.
Объектив состоит из 11 одиночных линз, сгруппированных в группы Г1 из трех линз, Г2 – одна линза, апертурной диафрагмы (АД) и группы Г3 из 7 линз. Эти линзы суть, по ходу луча: 1 – отрицательный мениск, обращенный выпуклостью к предмету Г1-1; 2 – двояковогнутая линза; 3 – двояковыпуклая линза; при этом линзы 2 и 3 образуют подгруппу Г1-2; 4 – положительный мениск, обращенный вогнутостью к предмету (Г2); 5 – отрицательный мениск, обращенный выпуклостью к предмету, 6 – двояковыпуклая линза, 7 – отрицательный мениск, обращенный выпуклостью к изображению, при этом линзы 5, 6 и 7 образуют подгруппу Г3-1; 8 – отрицательный мениск, аналогичный мениску 5; 9 – двояковыпуклая линза, 10 – отрицательный мениск, аналогичный мениску 7, 11 – положительный мениск, обращенный вогнутостью к изображению, при этом линзы 8, 9, 10 и 11 образуют подгруппу Г3-2. Между группами Г2 и Г3 расположена апертурная диафрагма 12.
Конструктивные параметры варианта исполнения объектива следующие:
| Радиусы |
Толщины |
Марка стекла |
Диаметры поверхн. |
| R1=45,08 |
|
|
38,5 |
| |
d1=5,0 |
TK21 |
|
| R2=22,18 |
|
|
31,4 |
| |
d2=8,0 |
|
|
| R3=-3311,0 |
|
|
30,8 |
| |
d3=5,0 |
ТФ2 |
|
| R4=27,29 |
|
|
28,4 |
| |
d4=8,7 |
|
|
| R5=159,96 |
|
|
30,4 |
| |
d5=8,0 |
ТФ2 |
|
| R6=-41,4 |
|
|
31,1 |
| |
d6=8,3 |
|
|
| R7=-35,4 |
|
|
28,6 |
| |
d7=8,0 |
OK4 |
|
| R8=25,59 |
|
|
29,1 |
| |
d8=25,0 |
|
|
| R9=0,0 |
|
|
11,9 |
| |
d9=13,7 |
|
|
| R10=113,18 |
|
|
19,3 |
| |
d10=5,0 |
К8 |
|
| R11=26,06 |
|
|
21,2 |
| |
d11=2,0 |
|
|
| R12=30,27 |
|
|
23,5 |
| |
d12=10,0 |
OK4 |
|
| R13=-24,77 |
|
|
25,0 |
| |
d13=1,9 |
|
|
| R14=-22,8 |
|
|
25,0 |
| |
d14=5,0 |
ТФ2 |
|
| R15=-35,08 |
|
|
28,0 |
| |
d15=10,0 |
|
|
| R16=218,3 |
|
|
31,7 |
| |
d16=5,0 |
К8 |
|
| R17=32,66 |
|
|
32,9 |
| |
d17=3,0 |
|
|
| R18=41,86 |
|
|
35,4 |
| |
d18=12,0 |
ОК4 |
|
| R19=-29,51 |
|
|
36,0 |
| |
d19=10,1 |
|
|
| R20=-32,06 |
|
|
32,9 |
| |
d20=5,0 |
ТК21 |
|
| R21=-73,62 |
|
|
35,3 |
| |
d21=10,0 |
|
|
| R22=137,72 |
|
|
37,8 |
| |
d22=8,0 |
К8 |
|
| R23=610,9 |
|
|
38,0 |
Фокусные расстояния групп линз и их соотношения у данного варианта исполнения следующие:
| f1=-115,9 |
|f1:f3|=1,53 |
| f3=75,07 |
|f1:f1-1|=1,56 |
| f1-1=-73,79 |
|f1-2:f1|=6,1 |
| f1-2=709,2 |
|f3:f3-1|=0,67 |
| f3-1=112,02 |
|f3:f3-2|=0,44 |
| f3-2=170,14 |
|
Параметры такого варианта исполнения объектива:
| – рабочий спектральный диапазон |
0,5÷0,9 мкм; |
| – фокусное расстояние |
40,0 мм; |
| – задний фокальный отрезок |
25,2 мм; |
| – угловое поля зрения |
54° |
| – линейное поле в пространстве изображений |
40 мм; |
| – относительное отверстие |
1:6,0. |
Объектив предназначен для работы с ПЗС-приемником. Он дает изображение объектов на приемник ПЗС-матрицы. Поэтому он рассчитан с учетом установки в промежуток SF’ рзащитного стекла оптико-электронного блока, стекла светофильтра и фотоприемника толщиной соответственно 5 мм, 3 мм и 0,4 мм.
Качество изображения объектива характеризуются его ЧКХ.
Так, для частоты N=70 лн/мм контраст изображения составляет порядка:
| |
Диапазон, мкм |
| 0,5÷0,6 |
0,6÷0,7 |
0,79÷0,9 |
| Мер. |
Саг. |
Мер. |
Саг. |
Мер. |
Саг. |
| Точка на оси |
0,67 |
0,6 |
0,5 |
| Середина поля зрения |
0,58 |
0,64 |
0,58 |
0,58 |
0,51 |
0,55 |
| Край поля зрения |
0,43 |
0,56 |
0,38 |
0,53 |
0,42 |
0,46 |
где мер. – меридианальное сечение;
саг. – сагиттальное сечение.
Формула изобретения
1. Телецентрический объектив, содержащий три группы линз: из трех, одной и семи линз по ходу луча, из них первая группа Г1 включает вторую отрицательную линзу, вторая группа Г2 – четвертую положительную линзу, третья группа Г3 – пятую линзу – отрицательный мениск, обращенный выпуклостью к предмету, шестую положительную линзу, одиннадцатую положительную линзу, отличающийся тем, что первая и восьмая линзы – отрицательные мениски, обращенные выпуклостью к предмету, вторая – двояковогнутая, третья, шестая и девятая – двояковыпуклые, четвертая – мениск, обращенный вогнутостью к предмету, седьмая и десятая – отрицательные мениски, обращенные выпуклостью к изображению, одиннадцатая – мениск, обращенный вогнутостью к изображению.
2. Телецентрический объектив по п.1, отличающийся тем, что в нем выполняются следующие соотношения:
1,2<|f1/f3|<1,8,
1,0<|f1/f1-1|<2,0,
4,0<|f1-2/f1|<8,0,
0,6<|f3/f3-1|<0,8,
0,2<|f3/f3-2|<0,49,
где f1 – фокусное расстояние (ф.р.) группы Г1 (линзы 1, 2 и 3);
f3 – ф.р. группы Г3 (линзы 5-11);
f1-1 – ф.р. первой линзы Г1-1;
f1-2 – ф.р. подгруппы Г1-2 из 2 и 3 линз;
f3-1 – ф.р. подгруппы Г3-1 из 5, 6 и 7 линз;
f3-2 – ф.р. подгруппы Г3-2 из 8, 9, 10 и 11 линз.
РИСУНКИ
|
|