|
|
(21), (22) Заявка: 2004132726/28, 09.11.2004
(24) Дата начала отсчета срока действия патента:
09.11.2004
(46) Опубликовано: 20.06.2006
(56) Список документов, цитированных в отчете о поиске:
RU 2210785 С2, 20.08.2003. US 4984254 А, 08.01.1991. GB 1565078 А, 16.04.1980.
Адрес для переписки:
630090, г.Новосибирск, пр. Ак. Лаврентьева, 13/3, Институт лазерной физики СО РАН, Патентный отдел, пат.пов. О.Н.Марьясовой, рег.№ 543
|
(72) Автор(ы):
Гончаренко Анатолий Михайлович (RU), Жмудь Вадим Аркадьевич (RU)
(73) Патентообладатель(и):
Институт лазерной физики Сибирского отделения Российской академии наук (RU)
|
(54) ЦИФРОВОЙ ЧАСТОТОМЕР
(57) Реферат:
Частотомер предназначен для измерения частоты сигналов, отклонений частоты от номинального значения, временных интервалов, а также для определения стабильности частоты сигналов за различные периоды времени. Цифровой частотомер содержит порт приема входного сигнала, порт приема импульса измерительного периода, образцовый генератор, две схемы синхронизации, три счетчика с регистрами на выходе каждого счетчика, соединенные со средством обработки и индикации, инвертор, формирователь импульса ошибки и схему растяжки импульса. Первый счетчик осуществляет подсчет целого числа периодов измеряемой частоты, попадающих в измерительный интервал. Второй счетчик осуществляет подсчет импульсов образцового генератора, что позволяет определить временную шкалу, к которой привязываются результаты считывания показаний первого счетчика. Третий счетчик подсчитывает количество импульсов образцового генератора от момента формирования последнего фронта сигнала измеряемой частоты до момента считывания кодов счетчиков в регистры. Изобретение решает задачу упрощения конструкции цифрового частотомера. 1 з.п. ф-лы, 7 ил.
Изобретение относится к измерительной технике и может использоваться в радиотехнике, электротехнике, метрологии и других отраслях промышленности для прецизионного измерения частоты сигналов, отклонений частоты от номинального значения, временных интервалов, а также для получения статистических параметров, характеризующих стабильность частоты за различные периоды времени.
Известны цифровые частотомеры различных конструкций. Например, известен частотомер (фиг.1), включающий порт приема входного сигнала 1, порт приема импульса измерительного периода 2, образцовый генератор 3, счетчики 4, 5, 6, регистры 7, 8, 9 на их выходах, схемы синхронизации 10, 11, инвертор 12, формирователь импульса ошибки 13, схему растяжки импульса 14, средство обработки и индикации 15 [Патент РФ №2210785].
Этот частотомер характеризуется недостаточно широким диапазоном измеряемых частот. Ограничение на этот диапазон связано с тем, что длительность растянутого импульса EL не должна превышать длительность измерительного интервала.
Известен другой частотомер (фиг.2), отличающийся тем, что с целью расширения диапазона измеряемых частот он снабжен вторым формирователем импульса ошибки 16, вторым каналом измерения длительности (последовательно соединенные счетчик 17 и регистр 18) и схемой селекции несовпадения 19 [Патент РФ №2210785]. Этот частотомер является ближайшим аналогом предлагаемого частотомера по наибольшему числу сходных признаков и принят за прототип изобретения. В этом частотомере введена сложная схема: второй формирователь импульса ошибки, второй канал измерения длительности и схема селекции несовпадения. В этом случае для измерения временного интервала между концом измерительного периода и очередным фронтом измеряемой частоты этот интервал разбивается на два интервала, один из которых содержит целое число периодов образцовой частоты, а другой содержит дробную часть этого периода. Только второй интервал измеряется с помощью схемы растяжки, а первый интервал измеряется в дополнительном канале измерения длительности на основе счетчика, подсчитывающего импульсы образцовой частоты.
Недостатком этого частотомера является сложность его конструкции.
Задачей, на решение которой направлено изобретение, является упрощение конструкции частотомера.
Поставленная задача решается тем, что предлагается цифровой частотомер, включающий порт приема входного сигнала, порт приема импульса измерительного периода, образцовый генератор, первую и вторую схемы синхронизации, первый, второй и третий счетчики с регистрами на выходе каждого счетчика, соединенные с входами средства обработки и индикации, инвертор, формирователь импульса ошибки и схему растяжки импульса, причем выход порта приема входного сигнала соединен через первую схему синхронизации с входом первого счетчика, образцовый генератор соединен с входами второго и третьего счетчиков, с тактовым входом первой схемы синхронизации и через инвертор с тактовым входом второй схемы синхронизации, формирователь импульса ошибки соединен через схему растяжки импульса с управляющим входом третьего счетчика, выход второй схемы синхронизации соединен с тактовыми входами первого и второго счетчика, который содержит также триггер, первый вход которого соединен с выходом порта приема импульса измерительного периода и тактовым входом регистра третьего счетчика, второй вход соединен с выходом порта приема входного сигнала, а выход соединен с входом второй схемы синхронизации.
На фиг.1 изображена схема частотомера – аналога, в соответствии с патентом РФ №2210785.
На фиг.2 изображена схема частотомера – прототипа, в соответствии с патентом РФ №2210785.
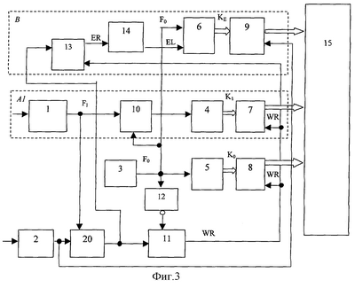
На фиг.3 изображена схема предлагаемого частотомера.
На фиг.4 изображена схема предлагаемого частотомера без регистра 9.
На фиг.5 изображена схема двухканального частотомера.
На фиг.6 изображен вариант выполнения схемы синхронизации.
На фиг.7 изображена предпочтительная схема предлагаемого частотомера.
Предлагаемый цифровой частотомер изображен на фиг.3 и работает следующим образом. Устройство содержит порт приема входного сигнала 1, порт приема импульса измерительного периода 2, образцовый генератор 3, три счетчика (4, 5 и 6) с регистрами (7, 8 и 9) на выходе, две схемы синхронизации 10 и 11, инвертор 12, формирователь импульса ошибки 13, схему растяжки импульса 14 и средство обработки и индикации 15 и триггер 20. Для наглядности выделим канал счета импульсов А1, содержащий элементы 1, 10, 4 и 7 и канал уточнения задержки фронта В, образуемый элементами 13, 14, 6 и 9. Канал счета импульсов А1 осуществляет прием входного сигнала портом 1, синхронизацию сформированных импульсов F1 схемой синхронизации 10, их непрерывный подсчет счетчиком 4 и считывание показаний этого счетчика К1 в регистр 7 с приходом сигналов чтения WR. Одновременно счетчик 5 считает импульсы F0 образцового генератора 3, а его показание Ко переписывается в регистр 8 с приходом того же сигнала WR. Для формирования сигналов WR служит порт приема измерительного периода 2 и схема синхронизации 11, соединенная с выходом образцового генератора через инвертор 12. Высокая точность измерений обеспечивается каналом уточнения задержки фронта 18, позволяющим уточнить длительность импульса, поступающего на его вход. Для точного измерения этой длительности сформированный сигнал поступает на схему растяжки длительности 14, которая вырабатывает импульс EL, длительность которого увеличена в заданное число М раз, например М=100. Этот импульс поступает на управляющий вход счетчика 6, а на его счетный вход поступает сигнал образцовой частоты F0 с выхода образцового генератора 3. Результат KE счета счетчика 6 в течение существования импульса на его управляющем входе, пропорциональный этой длительности, считывается в регистр 9, и из него – в средство обработки и индикации (компьютер) 15, что дает возможность уточнить время поступления фронта измеряемого сигнала, от которого был сформирован импульс ошибки. Таким образом, канал счета импульсов осуществляет подсчет целого числа периодов измеряемой частоты, попадающих в измерительный интервал , задаваемый импульсами WR. Одновременный подсчет за эти интервалы импульсов с выхода образцового генератора 3 счетчиком 5 дает возможность вычисления временной шкалы, к которой привязываются результаты считывания показаний счетчика 4. Канал В позволяет уточнить интервал времени от момента формирования последнего фронта сигнала F1 в пределах измерительного периода до момента считывания кодов счетчиков 4, 5, 24 в регистры 8, 7 и 25 соответственно. Управление считыванием осуществляется сигналом WR, который синхронизован инвертированным импульсом опорной частоты. Считывание кода KE из счетчика 6 в регистр 9 осуществляется раньше, для чего служит импульс с выхода порта приема импульса измерительного периода 2. Соединение выхода элемента 2 с управляющим обнулением входом счетчика 6 может отсутствовать, так как счетчик 6 может обнуляться программно либо не обнуляться. Во втором случае результат счета в цикле измерения вычисляется как разность между полученным кодом и предыдущим, так же как это делается с результатами считывания кодов счетчиков 4, 5 и 24.
В сравнении с прототипом аппаратная часть существенно упрощается: вместо сложного дополнительного формирователя импульса ошибки и многоразрядного счетчика с регистром на столько же разрядов применяется лишь один триггер. Программная часть также упрощается, поскольку вместо чтения кодов из регистров 7 и 18 и суммирования результатов остается только чтение регистра 7.
Таким образом, обеспечивается упрощение аппаратной части и программы обработки с сохранением всех характеристик частотомера.
Дополнительно устройство можно упростить, устранив регистр 9. Поскольку счетчик 6 считает не непрерывно, а лишь в течение существования импульса EL, который всегда заканчивается раньше, чем оканчивается измерительный интервал, то к моменту чтения его информации счетчик 6 всегда заканчивает счет, его код может быть считан непосредственно из него.
На фиг.4 показан частотомер, отличающийся отсутствием регистра 9, причем выход счетчика 6 соединен с входом средства обработки и индикации 15.
Дополнительно можно решить задачу увеличения числа одновременно измеряемых частот с сохранением высокой точности и без существенного увеличения аппаратной части.
Поставленная задача решается тем, что в устройство вводится коммутатор и дополнительные каналы счета импульсов по числу дополнительных измерительных входов, каждый из которых содержит последовательно соединенные порт приема входных сигналов, схему синхронизации, счетчик и регистр, при этом входы коммутатора соединены с выходами портов приема входных сигналов, его выход – с входом триггера, а тактовые входы схем синхронизации соединены с выходом образцового генератора.
Частотомер работает следующим образом (см. фиг.5, где показана схема частотомера для случая одного дополнительного измерительного входа, то есть для двухканального частотомера). Устройство содержит порт приема входного сигнала 1, порт приема импульса измерительного периода 2, образцовый генератор 3, три счетчика (4, 5 и 6) с регистрами (7 и 8) на выходе, регистр третьего счетчика может отсутствовать, две схемы синхронизации 10 и 11, инвертор 12, формирователь импульса ошибки 13, схему растяжки импульса 14 и средство обработки и индикации 15. В устройство вводится коммутатор 21 и один дополнительный канал счета импульсов А2, содержащий порт приема входных сигналов 22, схему синхронизации 23, счетчик 24 и регистр 25. Выделен первый канал счета импульсов А1, содержащий элементы 1, 10, 4 и 7 и канал уточнения задержки фронта В, образуемый элементами 13, 14, 6 и 9. Все элементы работают так же, как в предыдущем частотомере, фиг.3. Каждый из каналов счета импульсов А1 и А2 осуществляет прием входного сигнала портами 1 и 22, синхронизацию сформированных импульсов F1 и F2 схемами синхронизации 10 и 23, их непрерывный подсчет счетчиками 4 и 24 и считывание показаний этих счетчиков K1 и К2 в регистры 7 и 25 с приходом сигналов чтения WR. Одновременно счетчик 5 считает импульсы F0 образцового генератора 3, а его показание Ко переписывается в регистр 8 с приходом сигнала WR. Канал уточнения задержки фронта В служит для уточнения длительности временного интервала между фронтом сигнала чтения регистра WR и фронтом входного сигнала. В отличие от предыдущей схемы этот канал поочередно обслуживает все измерительные каналы. В показанном двухканальном частотомере на каждом нечетном цикле коммутатор 21 соединяет вход формирователя импульса ошибки с выходом первого порта приема входного сигнала 1, а в каждом четном цикле – с выходом второго порта приема входного сигнала 22. При нечетных изменениях формируется импульс ER, длительность которого равна длительности интервала между фронтом сигнала WR и фронтом сигнала F1 первого канала А1, а при четных измерениях формируется импульс ER, соответствующий длительности интервала между сигналом WR и фронтом сигнала F2 второго канала А2. Результат KE счета счетчика б используется для уточнения времени поступления фронта измеряемого сигнала, от которого был сформирован импульс ошибки. Канал В позволяет уточнить время поступления фронта на одном из поочередно коммутируемых входов F1 и F2. В N-канальном варианте информация об этом времени поступает от каждого канала в N раз реже, чем в одноканальном варианте. Поэтому она позволяет уточнить результат измерения для каждого канала только на интервале N между двумя очередными подключениями канала уточнения В к данному порту приема входного сигнала. В результате осуществляется одновременное непрерывное измерение частот, поступающих на заданное количество N входов. При этом на интервалах длительностью уточнения результата не происходит, а на интервалах длительностью N и кратных этой длительности осуществляется уточнение результата измерения в М раз. При этом аппаратная часть увеличивается только на один N-канальный коммутатор и на N-1 дополнительных канала счета импульсов. Неизменной остается общая часть: канал уточнения задержки фронта В, порт приема импульса измерительного периода 2 со схемой синхронизации 11, образцовый генератор 3, инвертор 12, счетчик 5, регистр 8 и компьютер 15.
Таким образом, обеспечивается увеличение числа одновременно измеряемых частот с сохранением высокой точности и без существенного увеличения аппаратной части.
Все элементы могут быть выполнены так же, как в прототипе.
Каждая из двух схем синхронизации может быть выполнена, например, как в прототипе или как показано на фиг.6. Она состоит из трех последовательно включенных триггеров и инвертора, причем тактовый вход схемы синхронизации соединен с тактовым входом второго триггера и через инвертор с тактовым входом третьего триггера, выход третьего триггера соединен с входом «сброс» первого триггера и является выходом схемы синхронизации, а ее входом является первый вход первого триггера.
Формирователь счетных импульсов может быть выполнен, например, как описано в прототипе.
Счетчики с регистрами могут быть выполнены, например, на программируемой логике.
Средством обработки и индикации служит компьютер.
Порт приема импульса измерительного периода может быть выполнен, например, как триггер Шмитта, а также может быть заменен формирователем импульса измерительного периода, например электронными часами, входящими в состав компьютера.
Образцовым генератором может быть любой стабильный генератор, например водородный стандарт частоты.
Простейший вариант формирователя импульса ошибки – это, например триггер с раздельным запуском. Фронт импульсов точных границ WR устанавливает выходной сигнал ER в активное состояние, а следующий за этим счетный импульс F1 возвращает его в исходное состояние, формируя таким образом длительность импульса ER.
Схема растяжки импульса преобразует короткий импульс в протяженный импульс с заданным коэффициентом преобразования длительности.
Схема растяжки может быть выполнена как в прототипе, например содержащей два источника тока противоположных знаков, включенные на вход интегратора, на выходе которого включено пороговое устройство. Один из источников тока коммутируемый, и его ток в заданное число М раз превышает ток некоммутируемого источника, а на его входе включена схема управления.
Предпочтительная схема цифрового частотомера показана на фиг.7. Вся аппаратная часть (кроме элементов 13 и 15) выполнена на программируемой логике. В трехканальном случае вводятся два дополнительных канала А2 и A3. Элементы 29-32 канала A3 полностью идентичны элементам 22-25 канала А2.
Формула изобретения
1. Цифровой частотомер, включающий порт приема входного сигнала, порт приема импульса измерительного периода, образцовый генератор, первую и вторую схемы синхронизации, первый, второй и третий счетчики с регистрами на выходе каждого счетчика, соединенные с входами средства обработки и индикации, инвертор, формирователь импульса ошибки и схему растяжки импульса, причем выход порта приема входного сигнала соединен через первую схему синхронизации с входом первого счетчика, образцовый генератор соединен с входами второго и третьего счетчиков, с тактовым входом первой схемы синхронизации и через инвертор – с тактовым входом второй схемы синхронизации, формирователь импульса ошибки соединен через схему растяжки импульса с управляющим входом третьего счетчика, выход второй схемы синхронизации соединен с тактовыми входами регистров первого и второго счетчиков, отличающийся тем, что он содержит триггер, первый вход которого соединен с выходом порта приема импульса измерительного периода и тактовым входом регистра третьего счетчика, второй вход которого соединен с выходом порта приема входного сигнала, а выход соединен с входом второй схемы синхронизации.
2. Частотомер по п.1, отличающийся тем, что он содержит коммутатор и дополнительные каналы счета импульсов по числу дополнительных измерительных входов, каждый из которых содержит последовательно соединенные порт приема входных сигналов, схему синхронизации, счетчик и регистр, при этом входы коммутатора соединены с выходами портов приема входных сигналов, его выход соединен со вторым входом триггера, а тактовые входы схем синхронизации соединены с выходом образцового генератора.
РИСУНКИ
MM4A – Досрочное прекращение действия патента СССР или патента Российской Федерации на изобретение из-за неуплаты в установленный срок пошлины за поддержание патента в силе
Дата прекращения действия патента: 10.11.2006
Извещение опубликовано: 20.06.2008 БИ: 17/2008
|
|