|
|
(21), (22) Заявка: 2005104181/28, 17.02.2005
(24) Дата начала отсчета срока действия патента:
17.02.2005
(46) Опубликовано: 20.06.2006
(56) Список документов, цитированных в отчете о поиске:
В.М.КАРПОВ и др. Высокотемпературный вихретоковый преобразователь перемещений. Машины. Приборы. Стенды. Каталог МВТУ им. Э.Н.Баумана, 1978, с.29. SU 1770887 А2, 23.10.1992. SU 1104406 А, 23.07.1984. SU 622001 A, 30.08.1978.
Адрес для переписки:
119048, Москва, ул. Усачева, 35, ЗАО НИИИН МНПО “Спектр”, стр.1, В.Г. Запускалову
|
(72) Автор(ы):
Запускалов Валерий Григорьевич (RU), Маслов Александр Иванович (RU), Резник Константин Николаевич (RU), Мирош Юрий Михайлович (RU), Бобров Александр Петрович (RU)
(73) Патентообладатель(и):
Закрытое Акционерное Общество “Научно-исследовательский институт интроскопии Московского научно-производственного объединения “Спектр” (ЗАО НИИИН МНПО “Спектр”) (RU)
|
(54) ВЫСОКОТЕМПЕРАТУРНЫЙ ВИХРЕТОКОВЫЙ ПРЕОБРАЗОВАТЕЛЬ
(57) Реферат:
Изобретение относится к области приборостроения, в частности к вихретоковым преобразователям перемещений, зазоров, биений контролируемых объектов, работающих в диапазоне температур от 20 до +500°С. Сущность: преобразователь содержит металлический экранирующий корпус, в котором размещен керамический каркас с двумя окружными проточками в поперечном сечении. Первая проточка размещена вблизи поверхности рабочего торца каркаса, вторая – на расстоянии от первой вдоль продольной оси вглубь каркаса не менее его диаметра. В проточки уложены измерительная и компенсационная катушки индуктивности, включенные дифференциально. На наружную торцевую поверхность стенки каркаса нанесено покрытие из газонепроницаемого термостойкого материала. В теле каркаса выполнены дренажные протоки в виде продольных и поперечных каналов. В дренажные протоки введен под давлением инертный газ через один из двух патрубков корпуса. Патрубки снабжены автоматическими клапанами, срабатывающими при достижении давления инертного газа в дренажных протоках заданной величины. Технический результат: расширение функциональных возможностей преобразователя. 1 ил.
Изобретение относится к области приборостроения, в частности к вихретоковым преобразователям перемещений, зазоров, биений контролируемых объектов в условиях окружающей среды в диапазоне температур от 20 до +500С, и может быть использовано на объектах техники машиностроения, авиастроения, ракетостроения и др.
Известны высокотемпературные вихретоковые преобразователи, содержащие электромагнитный экранирующий корпус, керамический каркас, измерительную и компенсационную катушки индуктивности, размещенные на каркасе и включенные дифференциально, два патрубка, присоединенные к корпусу преобразователя, и систему охлаждения, по которым пропускают охлаждающую жидкость [Агейкин Д.И., Костина Е.Н., Кузнецова Н.Н. Датчики контроля и регулирования. М.: Машиностроение, 1965].
Недостатком известных преобразователей является ограниченный температурный диапазон эксплуатации в окружающей воздушной среде. Поскольку воздушная среда содержит в себе кислород, являющийся сильным окислителем, то материалы конструктивных элементов при температуре выше 220°С окисляются, что приводит к выходу из строя преобразователя в целом.
Это техническое решение отличается тем, что все элементы его конструкции выполнены из термостойких материалов. Тем не менее преобразователь длительно может использоваться до температур не выше 260°С в среде воздуха, следовательно, его температурный диапазон эксплуатации в воздушной среде также ограничен.
Сущность разработанного изобретения заключается в том, что в высокотемпературном вихретоковом преобразователе перемещений, содержащем металлический экранирующий корпус с упорным буртом, выполненным на рабочем торце внутренней поверхности корпуса, керамический каркас с двумя окружными проточками в поперечном сечении, первая из которых размещена вблизи поверхности рабочего торца каркаса, образуя его торцевую стенку, упирающуюся в упорный бурт, вторая – на расстоянии от первой вдоль продольной оси вглубь каркаса не менее его диаметра, измерительную и компенсационную катушки индуктивности, уложенные в проточки каркаса соответственно и включенные дифференциально, и два патрубка, жестко присоединенные к корпусу преобразователя, при этом каркас снабжен дренажными протоками, на наружную торцевую поверхность стенки каркаса нанесено покрытие из газонепроницаемого термостойкого материала, а дренажные протоки в теле каркаса выполнены в виде продольных и поперечных каналов, при этом в них введен под давлением инертный газ через один из патрубков, а патрубки снабжены автоматическими клапанами, срабатывающими при достижении давления инертного газа в дренажных протоках заданной величины.
Техническим преимуществом является расширение функциональных возможностей преобразователя, выраженных в контроле объектов в среде атмосферного воздуха в диапазоне температур от 20 до 500°С, за счет введения новых конструктивных элементов и создания инертной среды в полости преобразователя.
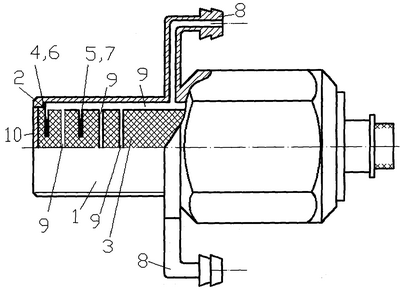
На чертеже приведена конструкция высокотемпературного вихретокового преобразователя.
Он содержит металлический экранирующий корпус 1, на рабочем торце которого выполнен упорный бурт 2, керамический каркас 3 с двумя окружными проточками 4 и 5 в поперечном сечении, первая из которых размещена вблизи поверхности рабочего торца каркаса 3, образуя торцевую стенку, упирающуюся в бурт 2 корпуса 1, вторая – на расстоянии от первой вдоль продольной оси каркаса 3 не менее его диаметра, измерительную и компенсационную катушки 6 и 7 индуктивности, уложенные в проточки 4, 5 и включенные дифференциально соответственно, два патрубка 8, жестко присоединенные к корпусу 1 преобразователя, и дренажные протоки, выполненные в теле каркаса 3 в виде продольных и поперечных каналов 9. На торцевую поверхность стенки каркаса 2 нанесено покрытие 10 из газонепроницаемого термостойкого материала. В дренажные протоки введен под давлением инертный газ через один из патрубков 8, а патрубки снабжены автоматическими клапанами (не показано), срабатывающими при достижении давления инертного газа в дренажных протоках заданной величины.
Бурт 2 предназначен для фиксации каркасного узла в полости корпуса 1. Дренажные протоки наполняются инертным газом, например аргоном, который при нагнетании в протоки вытесняет из их полостей воздух. Введенный инертный газ проникает в межвитковые зазоры катушек 6 и 7 индуктивности и, тем самым, предотвращает преждевременные окислительные процессы После достижения в дренажных протоках давления заданной величины клапаны автоматически перекрывают свои входы. Давление выбирается в пределах 0,5…0,8 атм. Измерительная и компенсационная катушки 6, 7 разнесены друг от друга по продольной оси каркаса, чтобы исключить электромагнитное взаимовлияние и включены они дифференциально для компенсации погрешности, вызванной температурным влиянием.
Покрытие стенки 10 предназначено для предотвращения попадания наружного воздуха внутрь полости преобразователя и, соответственно, выхода инертного газа из полости. Покрытие выполняют из глазурованной массы на основе каолина, которое после обжига принимает стекловидную структуру. Обжиг покрытия стенки 10 осуществляют на каркасе 3 перед намоткой на них катушек, но лучше после выполнения в каркасе 3 дренажных протоков. Инертный газ, введенный в дренажные каналы, предотвращает процесс окисления элементов конструкции преобразователя в заданном диапазоне температур.
Работа преобразователя основана на методе вихревых токов.
Измерительную и компенсационную катушки индуктивности возбуждают током высокой частоты, как правило (0,5…5,0) МГц, в результате чего в окрестности катушек генерирует электромагнитное поле в размерах, определяемых параметрами катушек. При приближении к рабочему торцу преобразователя контролируемого объекта из токопроводящего материала электромагнитное поле измерительной катушки создает в материале объекта вихревые токи, которые в свою очередь индуцирует вторичное электромагнитное поле. По изменению степени взаимодействия поля измерительной катушки и поля материала объекта судят о зазоре между преобразователем и объектом. Поскольку в окрестности компенсационной катушки объект отсутствует, то ее параметры изменяются только от изменения ее температуры, равно как и измерительной катушки. Их дифференциальное включение устраняет погрешность, возникающую от воздействия температуры.
Техническим результатом является расширение функциональных возможностей преобразователя, выраженных в контроле объектов в среде атмосферного воздуха в диапазоне температур от 20 до 500°С, за счет ведения конструктивных элементов и создания инертной среды в полости преобразователя.
Формула изобретения
Высокотемпературный вихретоковый преобразователь перемещений, содержащий металлический экранирующий корпус, упорный бурт, выполненный на рабочем торце внутри полости корпуса, керамический каркас с двумя окружными проточками в поперечном сечении, первая из которых размещена вблизи поверхности рабочего торца каркаса, образуя его торцевую стенку, упирающуюся в упорный бурт, вторая – на расстоянии от первой вдоль продольной оси вглубь каркаса не менее его диаметра, измерительную и компенсационную катушки индуктивности, уложенные в проточки каркаса соответственно и включенные дифференциально, и два патрубка, жестко присоединенные к корпусу преобразователя, при этом каркас снабжен дренажными протоками, отличающийся тем, что на наружную торцевую поверхность стенки каркаса нанесено покрытие из газонепроницаемого термостойкого материала, а дренажные протоки в теле каркаса выполнены в виде продольных и поперечных каналов, при этом в них введен под давлением инертный газ через один из патрубков, а патрубки снабжены автоматическими клапанами, срабатывающими при достижении давления инертного газа в дренажных протоках заданной величины.
РИСУНКИ
MM4A – Досрочное прекращение действия патента СССР или патента Российской Федерации на изобретение из-за неуплаты в установленный срок пошлины за поддержание патента в силе
Дата прекращения действия патента: 18.02.2007
Извещение опубликовано: 20.06.2008 БИ: 17/2008
|
|