|
|
(21), (22) Заявка: 2005104180/28, 17.02.2005
(24) Дата начала отсчета срока действия патента:
17.02.2005
(46) Опубликовано: 20.06.2006
(56) Список документов, цитированных в отчете о поиске:
В.М.КАРПОВ и др. Высокотемпературный вихретоковый преобразователь перемещений. Машины. Приборы. Стенды. Каталог МВТУ им. Э.Н.Баумана, 1978, с.29. SU 1770887 А2, 23.10.1992. SU 1104406 А, 23.07.1984. SU 622001 A, 30.08.1978.
Адрес для переписки:
119048, Москва, ул. Усачева, 35, ЗАО НИИИН МНПО “Спектр”, стр.1, В.Г. Запускалову
|
(72) Автор(ы):
Запускалов Валерий Григорьевич (RU), Маслов Александр Иванович (RU), Резник Константин Николаевич (RU), Мирош Юрий Михайлович (RU), Бобров Александр Петрович (RU)
(73) Патентообладатель(и):
Закрытое акционерное общество Научно-исследовательский институт интроскопии Московского научно-производственного объединения “Спектр” (ЗАО НИИИН МНПО “Спектр”) (RU)
|
(54) СПОСОБ ИЗГОТОВЛЕНИЯ ВИХРЕТОКОВОГО ПРЕОБРАЗОВАТЕЛЯ
(57) Реферат:
Изобретение относится к области технологии приборостроения, в частности к изготовлению вихретоковых преобразователей, работающих в среде воздуха при высоких температурах. Сущность: изготавливают керамический каркас. На нем нарезают в поперечном сечении две окружные проточки: первая вблизи рабочего торца каркаса, вторая на расстоянии от первой вдоль оси каркаса не менее его диаметра для размещения измерительной и компенсационной катушек индуктивности. Между первой и второй проточками выполняют, по крайней мере, две дополнительные окружные проточки. На наружные поверхности катушек наносят покрытия заподлицо с образующей поверхностью каркаса из материала, идентичного по свойствам материалу каркаса. Каркас и покрытия выполняют пористыми. На образующей поверхности каркаса и покрытий, исключая поверхность рабочего торца каркаса, выполняют продольные каналы. Для выполнения всех элементов конструкции преобразователя выбирают термостойкие материалы. Каркасный узел помещают в полость экранирующего корпуса. Микропоры каркаса и покрытий совместно с дополнительными проточками и каналами образуют дренажные протоки, которые постоянно прокачивают инертным газом в процессе эксплуатации преобразователя. Технический результат: расширение температурного диапазона эксплуатации преобразователя и повышение его эксплуатационного ресурса. 2 ил.
Изобретение относится к области технологии приборостроения, в частности к изготовлению вихретоковых преобразователей перемещения, зазора, работающих в среде воздуха при высоких температурах, которые могут быть использованы в авиастроении, ракетостроении, при стендовой отработке двигателей энерготехнических установок.
Известны вихретоковые преобразователи, при изготовлении которых на каркас наматывают измерительную и компенсационную катушки индуктивности с последующей сборкой конструкции (например, авторское свидетельство СССР №1104406, 23.07.1984). Для работы при высоких температурах элементы преобразователя выполняют из термостойких материалов, а в процессе эксплуатации внутренняя полость преобразователя обливается, например, холодной водой. Это обеспечивает длительную работу преобразователя в среде воздуха при температуре от 20 до +220°С. Однако при более высокой температуре элементы, например обмоточные провода катушек индуктивности, и узлы конструкции, начинают разрушаться из-за окислительных процессов, которые усиливаются при повышении температуры в среде воздуха, содержащего кислород, являющийся сильным окислителем, что вызывает резкое сокращение ресурса эксплуатации преобразователя. В этих случаях охлаждение холодной водой нагретых элементов и узлов преобразователя способствует образованию в его зазорах пара, который конденсируется на поверхности, например, провода и вызывает коробление (шелушение) его изоляционного покрытия и, как следствие, отслаивание покрытия от жилы провода, что приводит к замыканию оголенной токопроводящей жилы, а схемные решения температурной компенсации становятся неэффективными.
Это техническое решение позволяет обеспечить заданный эксплуатационный ресурс высокотемпературного преобразователя до температур +(220…260)°С на воздухе. Повышение температуры окружающей среды выше указанной, характерной для условий контроля параметров агрегатов современной техники, вызывает окисление изоляции и материала жилы обмоточного провода, тем самым нарушает их техническое состояние, а следовательно, сокращает эксплуатационный ресурс преобразователя.
Задача, не решение котрой направлено изобретение, состоит в создании способа изготовления вихретокового преобразователя, обеспечивающего возможность эксплуатации преобразователя в широком диапазоне температур (от 20 до 400-500°С) и повышение его эксплуатационного ресурса.
Сущность изобретения состоит в том, что в способе вихретокового преобразователя, заключающемся в изготовлении экранирующего металлического корпуса, керамического каркаса, на котором нарезают в поперечном сечении две окружные проточки: первая вблизи рабочего торца каркаса, вторая на расстоянии от первой вдоль оси каркаса не менее его диаметра, в намотке измерительной и компенсационной катушек индуктивности соответственно в первой и второй проточках каркаса, помещении каркасного узла в полость корпуса, причем для выполнения всех элементов конструкции преобразователя выбирают термостойкие материалы, в каркасе выполняют по крайней мере две дополнительные окружные проточки, расположенные между первой и второй проточками, наносят на наружные поверхности катушек покрытия заподлицо с образующей поверхностью каркаса из материала, идентичного по свойствам материалу каркаса, на образующей поверхности каркаса и покрытий, исключая поверхность рабочего торца каркаса, выполняют продольные каналы, каркас и покрытия выполняют пористыми, и их микропоры совместно с дополнительными проточками и каналами образуют дренажные протоки, которые постоянно прокачивают инертным газом в процессе эксплуатации преобразователя в среде воздуха при повышенной температуре.
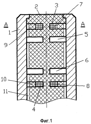
Изобретение поясняется чертежами, где на фиг.1 приведен фрагмент конструкции вихретокового преобразователя, для изготовления которого предназначен заявленный способ, на фиг.2 – каркасный узел преобразователя в сечении А-А.
Способ изготовления вихретокового преобразователя реализуется следующим образом.
Изготавливают экранирующий металлический корпус 1, керамический каркас 2, нарезают в каркасе 2 в его поперечном сечении две окружные проточки 3 и 4: первая проточка 3 вблизи рабочего торца каркаса 2, образуя тем самым рабочую стенку (на фигуре не обозначена) каркаса 2, вторая проточка 3 на расстоянии от первой вдоль продольной оси каркаса 2 не менее его диаметра, и как минимум еще две дополнительные окружные проточки 5 и 6 между первой и второй основными проточками 3, 4.
В первой и второй проточках 3 и 4 наматывают измерительную и компенсационную катушки 7, 8 индуктивности соответственно и наносят на их наружные образующие поверхности покрытия 9 и 10 заподлицо с образующей поверхностью каркаса 2. Материал покрытий выбирают идентичным по свойствам материалу каркаса 2. Далее осуществляют сборку конструкции преобразователя.
Керамические каркас 2 и покрытия 9, 10 изготавливают пористыми. Пористость структуры материала достигается использованием керамической крошки крупной грануляции (размером гранулы 150…250 мкм). На образующей поверхности каркаса 2 и покрытий 9, 10 выполняют вдоль продольной оси каркаса 2 продольные каналы 11, исключая образующую поверхность рабочей стенки каркаса 2. Цельность стенки препятствует проникновению воздуха внутрь конструкции преобразователя и, в свою очередь, выходу инертного газа наружу, который нагнетается в полость принудительно во время эксплуатации преобразователя.
В качестве термостойких материалов каркаса 2 и покрытий 9, 10 использовалась высокоглиноземистая керамика типа 22ХС (АЯО-027-002 ТУ), а в качестве обмоточного провода – термостойкий провод типа ПНЭТ-ИМИД (ТУМИ-047-68) с термостойкой полиимидной изоляцией и медной жилой, плакированной 6-ти мкм никелевым покрытием.
Керамические покрытия рекомендуется наносить на поверхность катушек методом плазменного или газопламенного напыления.
При эксплуатации преобразователя в среде повышенной температуры до +400…500°С его полость по каналам 11 и дополнительным проточкам 5, 6 и микропорам продувается инертным газом, заполняющим микропоры каркаса 2, проточки 5, 6 и каналы 11. Циркуляция газа по протокам преобразователя позволяет “вытолкнуть” воздух из микропор каркаса 2, его полых проточек 5, 6 и каналов 11 и заполнить их инертным газом.
Инертная среда до температур 500°С по существу устраняет процесс окисления материалов элементов преобразователя.
Формула изобретения
Способ изготовления вихретокового преобразователя, заключающийся в изготовлении экранирующего металлического корпуса, керамического каркаса, на котором нарезают в поперечном сечении две окружные проточки: первая вблизи рабочего торца каркаса, вторая на расстоянии от первой вдоль оси каркаса не менее его диаметра, в намотке измерительной и компенсационной катушек индуктивности соответственно в первой и второй проточках каркаса, помещении каркасного узла в полость корпуса, причем для выполнения всех элементов конструкции преобразователя выбирают термостойкие материалы, отличающийся тем, что в каркасе выполняют, по крайней мере, две дополнительные окружные проточки, расположенные между первой и второй проточками, наносят на наружные поверхности катушек покрытия заподлицо с образующей поверхностью каркаса из материала, идентичного по свойствам материалу каркаса, на образующей поверхности каркаса и покрытий, исключая поверхность рабочего торца каркаса, выполняют продольные каналы, каркас и покрытия выполняют пористыми и их микропоры совместно с дополнительными проточками и каналами образуют дренажные протоки, которые постоянно прокачивают инертным газом в процессе эксплуатации преобразователя в среде воздуха при повышенной температуре.
РИСУНКИ
MM4A – Досрочное прекращение действия патента СССР или патента Российской Федерации на изобретение из-за неуплаты в установленный срок пошлины за поддержание патента в силе
Дата прекращения действия патента: 18.02.2007
Извещение опубликовано: 10.07.2008 БИ: 19/2008
|
|