|
|
(21), (22) Заявка: 2005102162/28, 28.01.2005
(24) Дата начала отсчета срока действия патента:
28.01.2005
(46) Опубликовано: 20.06.2006
(56) Список документов, цитированных в отчете о поиске:
ХАЙРУЛЛИН Р.Г., ПОПОВ О.Г. Установка для коррозионных испытаний материалов, приборов и защитных покрытий. – М.: изд. ГОСИНТИ, 1965. RU 2093815 C1, 20.10.1997. SU 1370528 A1, 30.01.1988. SU 1415154 A1, 07.08.1988.
Адрес для переписки:
420080, Татарстан, г.Казань, ул. Волгоградская, 5, кв.41, О.Г. Попову
|
(72) Автор(ы):
Попов Олег Григорьевич (RU)
(73) Патентообладатель(и):
Попов Олег Григорьевич (RU)
|
(54) УСТРОЙСТВО ДЛЯ ОПРЕДЕЛЕНИЯ СКОРОСТИ АТМОСФЕРНОЙ КОРРОЗИИ ОБРАЗЦОВ
(57) Реферат:
Сущность: устройство содержит испытательную камеру с размещенными в ней источниками коррозионных факторов. В испытательной камере дополнительно размещена испытательная миникамера, которая соединена с электролизером и демпфирующей емкостью и снабжена герметизирующей крышкой, выполненной с возможностью ее перемещения для обеспечения воздействия коррозионных факторов на испытуемый образец. Технический результат изобретения заключается в повышении достоверности получаемых результатов. 1 ил., 2 табл.
Изобретение относится к испытательной технике и может быть использовано для определения скорости атмосферной коррозии металлов.
Для проведения испытаний на атмосферную коррозию используют специальные устройства, содержащие испытательные камеры с размещенными в них источниками коррозионных факторов. В этих случаях скорость коррозии обычно рассчитывают по потере массы образцов, которую определяют путем взвешивания после периодического извлечения из испытательного пространства части образцов и их последующей обработки, см. ГОСТ 9.908-85. Металлы и сплавы. Методы определения показателей коррозии и коррозионной стойкости.
Естественный ход коррозии при этом нарушается, следствием чего является снижение достоверности получаемых результатов, см. Мартынова Н.Г., Храмов А.В. Методы регулирования и поддержания заданных параметров в камерах искусственного климата. Материалы семинара «Натурные и ускоренные коррозионные испытания». Издательство МДНТП им. Ф.Э.Дзержинского, 1972, с.85.
Устройства для определения скорости коррозии образцов, обеспечивающие получение достоверных результатов, не предназначены для испытаний на атмосферную коррозию.
Известно устройство для определения скорости коррозии образцов, содержащее термостатируемую камеру, расположенную в ней испытательную камеру, выполненную со съемной герметизирующей крышкой и снабженную стеклянной перегородкой для размещения испытуемого образца, испытательная камера соединена с системой подачи и распыления агрессивного раствора, электролизером и демпфирующей емкостью. Принцип измерения заключается в том, что кислород, который поглощается образцами при коррозии, компенсируется кислородом, получаемым электролитически, и по количеству электричества, затраченному на выделение кислорода, рассчитывают скорость коррозии металлов, см. RU патент № 2093815, МПК G 01 N 17/02, 1997.
Известное устройство не позволяет определять скорость атмосферной коррозии образцов из-за отсутствия герметичности испытательной камеры после присоединения к ней источников коррозионных факторов.
Определение скорости коррозии образцов по количеству электричества позволяет получать достоверные результаты и в случаях, когда продукты коррозии остаются на поверхности металла в виде нерастворимых соединений, что характерно и для атмосферной коррозии. Для получения достоверных результатов требуется тщательная герметизация испытательного пространства, см. Киш Л., Молодов А.И., Варшани П.Н. и др., «Непрерывное определение скорости коррозии металлов с помощью меченых атомов и измерения количества поглощенного кислорода», журнал «Защита металлов», №2, 1980, с.100.
Однако известные устройства для определения скорости атмосферной коррозии образцов имеют испытательные камеры, которые, сообщаясь с наружной атмосферой через присоединенные к ним источники коррозионных факторов, не являются герметичными, см. Шувахина Л.А, Михайловский Ю.Н. и др. «Методы регулирования и поддержания заданных параметров в камерах искусственного климата». Материалы семинара «Натурные и ускоренные коррозионные испытания». Издательство МДНТП им. Ф.Э.Дзержинского, 1972, с 3-12.
Известные устройства не могут использоваться для определения скорости атмосферной коррозии по количеству электричества, затраченного на выделение кислорода.
Наиболее близким по технической сущности является устройство для определения скорости атмосферной коррозии образцов, содержащее испытательную камеру с размещенными в ней источниками коррозионных факторов: нагрева, соляного тумана, ультрафиолетового облучения, ветра и диска карусели для размещения на нем испытуемых образцов, см. брошюру Хайруллин Р.Г., Попов О.Г. Установка для коррозионных испытаний материалов, приборов и защитных покрытий, М.: Издательство ГОСИНТИ, 1965 г.
Известное устройство имеет испытательную камеру, не отвечающую требованиям герметичности, что не позволяет определять скорость атмосферной коррозии образцов по количеству электричества, затраченного на выделение кислорода.
Задачей изобретения является создание устройства, позволяющего получать достоверные результаты определения скорости атмосферной коррозии.
Техническая задача решается устройством для определения скорости атмосферной коррозии образцов, содержащим испытательную камеру с размещенными в ней источниками коррозионных факторов, в испытательной камере которого дополнительно размещена испытательная миникамера, которая соединена с электролизером и демпфирующей емкостью и снабжена герметизирующей крышкой, выполненной с возможностью ее перемещения для обеспечения воздействия коррозионных факторов на испытуемый образец.
Решение технической задачи позволяет получать достоверные результаты определения скорости атмосферной коррозии.
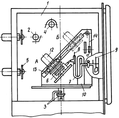
На чертеже представлено заявляемое устройство для определения скорости атмосферной коррозии образцов. Устройство содержит испытательную камеру 1, в которой размещены источники коррозионных факторов: нагрева 2, соляного тумана 3, ультрафиолетового облучения 4, ветра 5 и испытательная миникамера 6, которая соединена с электролизером 7 с анодом 8, катодом 9 и демпфирующей емкостью 10. Испытательная миникамера снабжена герметизирующей крышкой 11, которая выполнена с возможностью ее перемещения для обеспечения воздействия коррозионных факторов на испытуемый образец.
Устройство работает следующим образом.
Испытуемый образец помещают в испытательную миникамеру 6, которая жестко закреплена в испытательной камере 1 и закрывают герметизирующей крышкой 11 посредством электромагнита 12. В испытательной камере 1 с помощью источников коррозионных факторов 2-5 создают заданные условия испытаний. Для обеспечения воздействия коррозионных факторов на испытуемый образец миникамеру открывают посредством электромагнита 12 и герметизирующую крышку перемещают посредством тележки 13 и натяжного тросика 14 из положения А в положение Б.
В определенное время производят измерение скорости коррозии образца. Для этого электролизер 7 заполняют электролитом до уровня соприкосновения его с анодом 8 при погружении катода 9. Анод и катод присоединяют к источнику постоянного тока, соединенному с кулонометром (не показаны). Герметизирующую крышку перемещают из положения Б в положение А и закрывают испытательную камеру. После замыкания цепи на аноде начинается выделение кислорода. Через некоторое время давление в испытательной миникамере 6 повышается и уровень раствора в электролизере опускается, контакт между анодом и катодом прерывается, и выделение кислорода прекращается. В процессе коррозии образца в герметичной испытательной миникамере происходит поглощение кислорода, в результате электролитическое выделение кислорода возобновляется.
Количество электричества, затраченное на выделение кислорода, измеряют кулонометром.
После измерений цепь электролизера размыкают, герметизирующую крышку перемещают в положение Б. Образец продолжает подвергаться испытанию в заданных условиях.
Приводим примеры определения скорости атмосферной коррозии по заявляемому объекту и прототипу.
Определяют скорость коррозии стальных образцов с цинковыми покрытиями в условиях, имитирующих приморскую атмосферу субтропиков (г. Батуми): температура 50°С, периодическое воздействие соляного тумана, ультрафиолетового облучения, ветра.
Пример 1.
Определяют скорость коррозии образцов (j, А/см2) по количеству электричества после 5 суток серии испытаний с использованием заявляемого устройства. Расчет проводят по формуле

где Q – количество электричества, затраченное на выделение кислорода, Кл;
– время измерений, мин, =30; S – суммарная площадь испытуемых образцов, см2; S=90.
Как видно из таблицы 1, погрешность определения скорости коррозии не превышает 10%, что свидетельствует о хорошей воспроизводимости результатов.
Пример 2.
Определяют скорость коррозии образцов по потере массы после 5 и 20 суток испытаний с использованием известного устройства (прототипа). В соответствии с законом Фарадея потеря массы цинка, равная 1 г/(м2·сут) соответствует скорости коррозии, равной 0,0342 А/м2, см. книгу Улиг Г.Г., Реви Р.У., Коррозия и борьба с ней. Введение в коррозионную науку и технику, Л.: Химия, 1989, с.48. Тогда скорость коррозии (j, A/см2)
J=( m·0,0342·10-4)/ ,
где m – потеря массы цинка, г/м2; – продолжительность испытаний, сутки.
Результаты приведены в таблице 2.
Пример 3.
Определяют скорость коррозии образцов (j, A/см2) по количеству электричества после 5 и 20 суток испытаний с использованием заявляемого устройства. Расчет проводят по формуле (1). Результаты приведены в таблице 2. Из нее следует, что значение скорости атмосферной коррозии, полученные с использованием заявляемого устройства и прототипа, являются сопоставимыми. Наблюдаемые различия результатов связаны с ошибками определения потери массы образцов. Значения скорости в этих случаях являются либо заниженными, как для образцов с малостойким покрытием №1 после продолжительных испытаний (20 суток), когда полное удаление продуктов коррозии затруднительно, либо завышенными, например, для образцов с коррозионностойким покрытием №2, особенно после малых сроков испытаний (5 суток), когда небольшие потери цинка сравнимы с массой хроматной пленки, частично удаляемой при обработке.
Определение скорости коррозии образцов с использованием заявляемого устройства лишено этих недостатков, т.к. не требует периодического извлечения из камеры испытуемых образцов и их последующей обработки и позволяет получать более достоверные результаты. Ошибки при определении скорости коррозии с использованием устройства по прототипу достигают 29%, тогда как с использованием заявляемого устройства они не превышают 10%.
| Таблица 1 |
| Вид покрытия |
№ опыта |
Количество электричества Q·102, Кл |
Скорость коррозии J·106, А/см2 |
Средняя скорость коррозии J·106, А/см2 |
Отклонение от среднего,% |
| цинковое |
1 2 3 |
12,2 10,8 11,0 |
0,75 0,67 0,68 |
0,7 |
7,0 4,3 2,9 |
| цинковое хроматированное |
1 2 3 |
3,2 3,7 3,2 |
0,20 0,23 0,20 |
0,21 |
4,8 9,5 4,8 |
| Таблица 2 |
| № п/п |
Вид покрытия |
Продолжительность испытаний ( ), сутки |
Потеря массы ( m), г/м2 |
Скорость коррозии J·106, А/см2 |
Ошибка,% |
| по потере массы |
по количеству электричества |
| 1 |
цинковое |
5 |
0,90 |
0,61 |
0,70 |
13,0 |
| 20 |
2,351 |
0,80 |
0,97 |
17,5 |
| 2 |
цинковое хроматированное |
5 |
0,40 |
0,27 |
0,21 |
28,6 |
| 20 |
1,40 |
0,24 |
0,26 |
8,0 |
| Примечание. 1 – найденная за последние 10 суток испытаний |
Формула изобретения
Устройство для определения скорости атмосферной коррозии образцов, содержащее испытательную камеру с размещенными в ней источниками коррозионных факторов, отличающееся тем, что в испытательной камере дополнительно размещена испытательная миникамера, которая соединена с электролизером и демпфирующей емкостью и снабжена герметизирующей крышкой, выполненной с возможностью ее перемещения для обеспечения воздействия коррозионных факторов на испытуемый образец.
РИСУНКИ
|
|