|
|
(21), (22) Заявка: 2004118136/28, 15.06.2004
(24) Дата начала отсчета срока действия патента:
15.06.2004
(43) Дата публикации заявки: 10.12.2005
(46) Опубликовано: 20.06.2006
(56) Список документов, цитированных в отчете о поиске:
РЖ ДВС. 1986, N 8, реферат 8-39-35. SAE technical paper series 860229. PL 253740 A2, 25.03.1986. RU 2006811 C1, 30.01.1994. SU 1513383 A1, 07.10.1989. JP 57042836 A, 10.03.1982. US 4376389 A, 15.03.1983.
Адрес для переписки:
423808, Республика Татарстан, г. Набережные Челны, пр. Мусы Джалиля, 29, ОАО “КАМАЗ”-Дизель”, Гл. специалисту Т.Г. Сафиуллину
|
(72) Автор(ы):
Кулаков Александр Тихонович (RU), Светличный Николай Иванович (RU), Денисов Александр Сергеевич (RU), Тазеев Рафаэль Тазеевич (RU), Сафиуллин Тагир Габдуллович (RU)
(73) Патентообладатель(и):
ОАО “КАМАЗ-Дизель” (RU)
|
(54) СПОСОБ ОЦЕНКИ НАДЕЖНОСТИ РАБОТЫ ШАТУННЫХ И КОРЕННЫХ ПОДШИПНИКОВ КОЛЕНЧАТОГО ВАЛА ДВИГАТЕЛЯ ВНУТРЕННЕГО СГОРАНИЯ
(57) Реферат:
Изобретение относится к области испытательной техники и предназначено для использования в двигателестроснии, в частности для оптимизации работы системы смазки коленчатого вала двигателя внутреннего сгорания. Изобретение направлено на возможность оценки надежности работы шатунных и коренных подшипников коленчатого вала двигателя внутреннего сгорания с точностью, позволяющей так оптимизировать работу системы смазки, чтобы предотвратить неравномерный износ шатунных и коренных подшипников из-за обеднения смазки по номерам цилиндров на всех эксплуатационных режимах до полной выработки моторесурса двигателя. Этот результат обеспечивается за счет того, что способ оценки надежности работы шатунных и коренных подшипников коленчатого вала при критических режимах работы двигателей внутреннего сгорания включает измерение расхода масла через коренные и шатунные подшипники коленчатого вала, при этом, при измерении расхода масла через коренной подшипник, маслоканал шатунного подшипника закрыт пробкой, а при измерении расхода масла через шатунный подшипник закрыт пробкой маслоканал коренного подшипника и при этом количество масла прокачиваемого через коренной подшипник должно быть больше или равно количеству масла, прокачиваемого через шатунный подшипник коленчатого вала. 2 ил.
Изобретение относится к области двигателестроения, в частности может быть применено для оптимизации работы системы смазки коленчатого вала двигателя внутреннего сгорания (ДВС).
Известен способ оценки надежности работы шатунных и коренных подшипников коленчатого вала, с целью повышения их работоспособности, включающий определение расхода масла через шатунные и коренные подшипники коленчатого вала в мерные баки, измерение температуры вкладышей шатунных подшипников на работающем двигателе, анализ расчетных нагрузок на подшипники, оценку износостойкости подшипников в различных условиях эксплуатации при различной эффективности очистки масла и др. При этом предполагается, что через подшипники двигателя прокачивается смазка, достаточная для обеспечения гидродинамической смазки подшипников, при всех возможных режимах работы двигателя (см. автор Г.Д.Чернышов и др., М.: Машиностроение, 1974 г. Повышение надежности дизелей ЯМЗ и автомобилей КрАЗ, стр. 139-141).
Недостатки указанного способа в том, что количество смазки, подаваемого к подшипникам определяется усредненно и не учитывает импульсивность потока.
Наиболее близким к заявленному способу оценки надежности работы шатунных и коренных подшипников является исследование подачи смазки к подшипникам из предположения, что расход масла подаваемого к коленвалу зависит от совпадения траектории вращения подшипника и потока масла, от центробежных потерь, от потерь, связанных с ускорением масла до скорости вращения поверхности шейки, от потерь на внутреннее трение и потерь ускорения в перепуском канале вследствие импульсного характера потока. (РЖ ДВС 1986 г. №8 реф. 8-39-35 реферат SAE Technical Paper Series 860229).
Недостаток этого способа в том, что количественный анализ подачи масла к шатунным и коренным подшипникам производится при изменении скорости и давления, из-за импульсивности потока, по усредненным величинам по времени. В итоге результат является приблизительным, особенно при пониженных оборотах. Кроме этого визуальное восприятие прохождения потока смазки производится через стеклянные подшипники, которые требуют изготовления испытательного стенда, что связано с большими материальными затратами.
Оптимизация работы системы смазки при помощи этих способов оценки надежности шатунных и коренных подшипников не позволяет обеспечить подачу гарантированного избыточного количества смазки на все шатунные и коренные подшипники в многоцилиндровых дизельных двигателях, вследствие чего моторесурс остается недоиспользованным.
Была поставлена задача – оценить надежность работы шатунных и коренных подшипников коленчатого вала двигателя внутреннего сгорания с точностью, позволяющей так оптимизировать работу системы смазки, чтобы предотвратить неравномерный износ шатунных и коренных подшипников из-за обеднения смазки по номерам цилиндров на всех эксплуатационных режимах до полной выработки моторесурса двигателя.
Поставленная задача решается за счет того, что параметры системы смазки определяются при критических режимах работы ДВС, при этом измерение расхода масла через коренной подшипник производится при полностью закрытом маслоканале шатунного подшипника, а измерение расхода масла через шатунный подшипник производится при полностью закрытом маслоканале коренного подшипника, причем количество масла прокачиваемого через коренной подшипник должно быть больше или равно количеству масла, прокачиваемого через шатунный подшипник коленчатого вала.
Количество масла поступающего на смазку подшипников измеряется при помощи расходомера на текущий момент времени и корректируется подбором производительности и давления маслонасоса, изменением размеров маслоканалов, параметров коренных подшипников, маслоканалов блока цилиндров, подбором оптимальных пространственных положений и размеров маслоканалов коленчатого вала и др.
В результате поиска, по патентной и другой научно-технической литературе, аналога, совпадающего с заявляемым способом по всей совокупности существенных признаков обнаружено не было. Кроме этого в результате сравнения с прототипом в заявляемом способе были выявлены существенные признаки, которые позволяют оптимизировать работу системы смазки ДВС более качественно и с меньшими затратами. Следовательно – заявляемый способ соответствует условиям патентоспособности.
Изобретение поясняется чертежами, где:
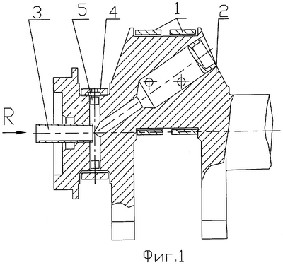
Фиг.1 – изображен (схематично) фрагмент коленчатого вала с коренной и шатунной шейкой, пробкой заглушен маслоканал коренного подшипника;
Фиг.2 – изображен (схематично) фрагмент коленчатого вала с коренной и шатунной шейкой, пробкой заглушен маслоканал шатунного подшипника;
Для реализации способа по изобретению применяется стандартный коленчатый вал. Масло подается на шатунные подшипники 1, через запрессованное в отверстие на оси вращения коленчатого вала 2 трубчатый маслоканал 3. При этом маслоканал на коренной шейке 4 заглушен пробкой 5. На фиг.2 показана пробка 6, которой заглушен маслоканал шатунного подшипника при определении расхода масла через коренной подшипник. Количество прокачиваемого масла определяется расходомером (который на чертеже не показан) при критических и всевозможных режимах работы двигателя, при различных температурах, оборотах коленчатого вала и максимально возможных зазорах (величина зазора предполагает износ). Предлагаемый способ был применен для оценки надежности работы шатунного подшипника на пятом цилиндре двигателя КамАЗ, который расположен на передней части двигателя. В результате проведенных работ выяснилась необходимость увеличения давления масла и изменение геометрии коренных подшипников. От внедрения в производство мероприятий по предлагаемому изобретению ожидается увеличение моторесурса и снижение рекламаций на серийных двигателях КамАЗ.
Предлагаемый способ соответствует условию промышленной применимости и может быть использован в условиях существующего производства.
Формула изобретения
Способ оценки надежности работы шатунных и коренных подшипников коленчатого вала при критических режимах работы двигателей внутреннего сгорания, включающий измерение расхода масла через коренные и шатунные подшипники коленчатого вала, отличающийся тем, что при измерении расхода масла через коренной подшипник маслоканал шатунного подшипника закрыт пробкой, а при измерении расхода масла через шатунный подшипник закрыт пробкой маслоканал коренного подшипника и при этом количество масла, прокачиваемого через коренной подшипник, должно быть больше или равно количеству масла, прокачиваемого через шатунный подшипник коленчатого вала.
РИСУНКИ
MM4A – Досрочное прекращение действия патента СССР или патента Российской Федерации на изобретение из-за неуплаты в установленный срок пошлины за поддержание патента в силе
Дата прекращения действия патента: 16.06.2007
Извещение опубликовано: 10.10.2008 БИ: 28/2008
|
|