|
| На основании пункта 3 статьи 13 Патентного закона Российской Федерации от 23 сентября 1992 г. № 3517-I патентообладатель обязуется передать исключительное право на изобретение (уступить патент) на условиях, соответствующих установившейся практике, лицу, первому изъявившему такое желание и уведомившему об этом патентообладателя и федеральный орган исполнительной власти по интеллектуальной собственности, – гражданину РФ или российскому юридическому лицу. |
|
(21), (22) Заявка: 2005101540/28, 24.01.2005
(24) Дата начала отсчета срока действия патента:
24.01.2005
(43) Дата публикации заявки: 10.07.2005
(46) Опубликовано: 20.06.2006
(56) Список документов, цитированных в отчете о поиске:
SU 1719938 А1, 15.03.1992. SU 241766 А, 18.04.1969. SU 463881 А, 15.03.1975. US 3657923 А, 25.04.1972. US 4509374 А, 09.04.1985. US 4785674 А, 22.11.1988. SU 898030 А, 15.01.1982.
Адрес для переписки:
614001, г.Пермь, ул. Осинская, 2а, кв.12, Т.М. Зиньковской
|
(72) Автор(ы):
Зиньковская Татьяна Михайловна (RU)
(73) Патентообладатель(и):
Зиньковская Татьяна Михайловна (RU)
|
(54) МОМЕНТОМЕР
(57) Реферат:
Изобретение относится к приборостроению, в частности к измерительной технике, и может быть использовано для измерения крутящего момента. Устройство содержит основание с кронштейном, в подшипниках которого установлен вал, а также измерительный блок со шкалой, маятниковым и дополнительным противовесами, связанными с указательной стрелкой, и ограничитель движения с возможностью регулирования дополнительного противовеса по высоте. В качестве ограничителя движения дополнительного противовеса применено основание. Дополнительный противовес содержит сквозное резьбовое отверстие, внутри которого установлен стержень с резьбой. Технический результат заключается в упрощении конструкции устройства. 4 з.п. ф-лы, 2 ил.
Изобретение относится к приборостроительной промышленности и может быть использовано для измерения крутящего момента на непрерывно вращающихся валах, например, электродвигателей.
Наиболее распространенными являются тормозные моментомеры, которые совмещают в себе установленные на основании тормозное устройство, нагружающее испытываемый двигатель тормозным моментом, и измерительный блок, необходимый для измерения этого момента (Потапов Л.А., Юферов Ф.М. “Измерение вращающих моментов и скоростей вращения микроэлектродвигателей”, М., Энергия, 1974).
Однако они обладают низкой точностью.
Наиболее близкими к предлагаемому являются тормозные электромагнитные моментомеры с дополнительным противовесом и ограничителем его движения, расположенным на основании (заявка на изобретение “Моментомер”, G 01 L 3/22, рег. №2003136298, опубл. 10.06.2004, бюл.№16).
Однако его конструкция достаточно сложна.
Цель изобретения – упрощение конструкции.
Указанная цель достигается тем, что в качестве ограничителя движения дополнительного противовеса применено основание, а дополнительный противовес содержит, как минимум, одно сквозное резьбовое отверстие, внутри которого находится стержень с резьбой.
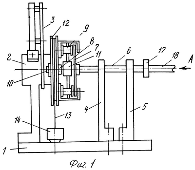
На фиг.1 изображен моментомер, общий вид; на фиг.2 – вид А на фи.1.
На основании 1 моментомера неподвижно закреплен кронштейн 2 со шкалой 3 и кронштейны 4 и 5 со свободно вращающейся осью 6 немагнитного металлического диска 7. В шарикоподшипниках кронштейна 2 установлен фланец 8 с системой электромагнитов 9, указателем 10, эксцентрично расположенным маятниковым противовесом 11 и кулачком 12.
В диаметральной канавке кулачка 12 располагается дополнительный противовес – гибкая нить 13 с грузом 14, который имеет, как минимум, одно сквозное резьбовое отверстие 15 со стержнем 16, имеющим резьбу.
Другой конец гибкой нити 13 неподвижно закреплен на кулачке 12 в точке, диаметрально противоположной точке крепления противовеса 11. Груз 14 отклоняет подвижную электромагнитную систему 9 с указательной стрелкой 10 в исходное крайнее левое (правое) положение. К оси 6 посредством муфты 17 присоединяется вал 18, на котором необходимо измерить крутящий момент.
Наиболее часто употребляемой резьбой в измерительных приборах для точных винтовых пар является метрическая (В. Законников, А. Н. Малов, А Б. Пакнис и др. Общетехнический справочник, Москва, Машиностроение, 1982, 415 с., ил.).
В качестве стержней с резьбой в конкретных случаях могут применяться в том числе
– болты, удобные при использовании для калибровки гаечных ключей;
– винты, удобные при работе отверткой;
– шпильки, надежное закрепление с помощью гаек с обоих концов
стержня.
Моментомер работает следующим образом.
При возникновении на валу 18 крутящего момента диск 7 приходит во вращение в магнитном поле электромагнитов 9, индуктируемые в немагнитном металлическом диске 7 токи взаимодействуют с магнитным полем системы электромагнитов 9, вследствие чего последняя вместе с фланцем 8, кулачком 12 и указательной стрелкой 10 увлекается в направлении вращения немагнитного металлического диска 7 и останавливается под некоторым углом к первоначальному. При вращении электромагнитной системы 9, жестко скрепленной с помощью фланца 8 с кулачком 12, происходит накручивание гибкой связи 13 с противовесом 14 на профильную поверхность кулачка 12.
Тормозной момент, создаваемый дополнительным противовесом 14, остается постоянным. Меняется в зависимости от угла поворота лишь тормозной момент, создаваемый маятниковым противовесом 11.
Основание 1 в роли ограничителя движения дополнительного противовеса 14 нейтрализует его действие при прохождении указательной стрелкой 10 нулевой точки отсчета и исключает “опрокидывание” моментомера. При нейтрализации дополнительного противовеса маятниковый противовес действует против “опрокидывания” моментомера.
Калибровка моментомера происходит ввертыванием (вывертыванием) стержня 16 в резьбовое отверстие 15 с фиксацией в положении, соответствующем нулевой точке шкалы 3.
В предлагаемом техническом решении упрощается конструкция, снижается себестоимость за счет сокращения количества применяемых деталей, а именно ограничителя движения дополнительного противовеса как такового.
В заявленном техническом решении применение в качестве ограничителя движения дополнительного противовеса основания моментомера является новым признаком.
Новым признаком является и применение для калибровки моментомера стержней с резьбой путем их ввертывания (вывертывания) в резьбовые отверстия на дополнительном противовесе.
Указанные отличительные признаки дают основание считать заявленное техническое решение соответствующим критерию “новизна”, оно не следует явным образом из достигнутого уровня техники и промышленно применимо.
Формула изобретения
1. Моментомер, содержащий основание с, как минимум, одним кронштейном, в подшипниках которого установлен вал, связанный с контролируемым крутящим моментом, а также измерительный блок со шкалой, маятниковым и дополнительным противовесами, связанными с указательной стрелкой, ограничитель движения с возможностью регулирования дополнительного противовеса по высоте с фиксацией в рабочем положении, отличающийся тем, что в качестве ограничителя движения дополнительного противовеса применено основание, а дополнительный противовес содержит, как минимум, одно сквозное резьбовое отверстие, внутри которого установлен стержень с резьбой.
2. Моментомер по п.1, отличающийся тем, что в качестве стержня с резьбой применен болт.
3. Моментомер по п.1, отличающийся тем, что в качестве стержня с резьбой применен винт.
4. Моментомер по п.1, отличающийся тем, что в качестве стержня с резьбой применена шпилька.
5. Моментомер по п.1, отличающийся тем, что в сквозном отверстии и на стержне применена метрическая резьба.
РИСУНКИ
|
|