|
(21), (22) Заявка: 2004123942/02, 06.08.2004
(24) Дата начала отсчета срока действия патента:
06.08.2004
(43) Дата публикации заявки: 10.02.2006
(46) Опубликовано: 20.06.2006
(56) Список документов, цитированных в отчете о поиске:
ТРЕТЬЯКОВ Г.М. Боеприпасы артиллерии.- М.: Военное издательство МВС СССР, 1947, с.202-206, 196, 197. RU 2202759 С2, 20.04.2003. RU 2203475 С2, 27.04.2003. RU 2121646 C1, 10.11.1998. FR 2697328 A, 29.04.1994. GB 2241310 A, 28.08.1991.
Адрес для переписки:
142080, Московская обл., г.Климовск, ул.Заводская, 2, ООО “НТЦ “Версия”, директору Я.Я.Хаджиевой
|
(72) Автор(ы):
Шахворостов Николай Гавриилович (RU), Хаджиева Яха Яхъяевна (RU), Гольцман Евгений Владимирович (RU), Здравило Юрий Иванович (RU), Прокофьев Игорь Евгеньевич (RU), Сарафанова Ольга Константиновна (RU), Исаева Елена Васильевна (RU)
(73) Патентообладатель(и):
ООО “Научно-технический центр “Версия” (RU)
|
(54) СПОСОБ ЗАЩИТЫ ЛИЧНОГО СОСТАВА, ВООРУЖЕНИЯ И ВОЕННОЙ ТЕХНИКИ ПЕРЕД ПЕРЕДНИМ КРАЕМ ПРОТИВНИКА И БОЕПРИПАС ДЛЯ ЕГО ОСУЩЕСТВЛЕНИЯ
(57) Реферат:
Изобретение относится к области защиты личного состава, вооружения и военной техники, преодолевающих (форсирующих) открытое пространство и/или расположенных перед передним краем противника, а более конкретно к техническим решениям, обеспечивающим скрытие личного состава и подвижных объектов перед передним краем противника и срыв наведения боеприпасов на цель. Сущность способа защиты заключается в постановке в районе расположения противника тепловой завесы, в том числе совместно с пыледипольной завесой. Сущность технического решения боеприпаса заключается в том, что в герметичном корпусе боеприпаса размещается исходный раствор, а его корпус или дно оснащено отверстиями для снаряжения и элементами для обеспечения дистанционного выплеска исходного пенообразующего раствора с последующей конденсацией пены. Использование заявляемого технического решения обеспечит повышение эффективности защиты личного состава, вооружения и военной техники перед передним краем противника и боеприпаса для его осуществления путем постановки тепловой завесы, снижающей эффективность или блокирующей работу тепловизионных средств разведки и систем наведения боеприпасов на цель. 2 н. и 5 з.п. ф-лы, 2 ил.
Изобретение относится к области защиты личного состава, вооружения и военной техники, преодолевающих (форсирующих) открытое пространство и/или расположенных перед передним краем противника, а более конкретно к техническим решениям, обеспечивающим скрытие личного состава и подвижных объектов перед передним краем противника и срыв наведения боеприпасов на цель.
Известно маскировочное окрашивание, применяемое для изменения цвета, объекта, маски или фона в целях маскировки [1].
Изменение цвета объекта может обеспечить уменьшение заметности, искажение внешнего вида, а в некоторых случаях и скрытие объекта маскировки от оптической разведки противника. При маскировочном окрашивании, например, сооружения, возвышающегося над поверхностью земли, или автомашины, расположенной вне укрытия, можно снижением цветового и яркостного контрастов между фоном и поверхностями объекта добиться значительного уменьшения заметности его. Маскировочным окрашиванием можно решить и другую задачу – исказить внешний вид объекта, затруднив узнаваемость его. Но этот объект, если он возвышается над поверхностью земли, нельзя скрыть только маскирующими окрасками, так как различная освещенность поверхностей объекта, а также наличие падающей тени от него дают возможность выявить объект, даже если он удачно окрашен и заметность его уменьшена, а узнаваемость затруднена. Такие объекты могут быть скрыты лишь с одновременным применением и других приемов маскировки [1]. К сожалению, применение современных технологий окрашивания вооружения и военной техники красками с введенными в них специальными добавками [2] также не обеспечивает скрытность подвижных объектов от оптико-электронных и тем более радиолокационных средств разведки и систем наведения боеприпасов на цель. Табельные маскировочные покрытия и накидки (чехлы) маски [3] не обеспечивают скрытность личного состава, вооружения и военной техники перед передним краем противника, особенно если они находятся в движении, например, на фоне форсируемой водной преграды.
Известен способ защиты целей, выбранный в качестве прототипа изобретения, при котором в районе расположения объектов поражения (вооружения противника) осуществляется постановка облаков дыма посредством дымовых снарядов ударного действия [4]. Облако дыма при разрыве снаряда имеет следующий размер по перпендикуляру к направлению для: 76 мм снаряда – 20…25 м; 107 мм – 25…30 м; 122 мм – 30…40 м. Дымовой снаряд ударного действия, выбранный в качестве прототипа заявляемого боеприпаса, по устройству аналогичен химическому снаряду и состоит из корпуса, запального стакана, ввинченного в головное очко, и ударной трубки. В запальном стакане помещаются разрывной заряд из нескольких шашек пикриновой кислоты или тэна и запальный стакан с детонатором. Заполнение корпуса дымообразующим веществом производится через отверстие в цилиндрической части корпуса, закрываемое ввинтной или запрессованной пробкой [4].
Как показывают опытные данные американской военно-химической школы, число поражений при стрельбе из винтовок на дальность 270 м понижается в 4…5 раз при задымлении цели и в 10…15 раз при задымлении самих стреляющих [4]. Таким образом, при умелой и правильной реализации известного способа защиты целей посредством дымового облака может снизиться эффективность системы обнаружения и поражения целей (личного состава, вооружения и военной техники), использующих для обнаружения видимый и ближний инфракрасный ( <1,5 мкм) диапазоны длин волн. Однако при использовании средствами разведки и системами наведения инфракрасных ( =3…5 мкм и  =8…14 мкм) и радиолокационных диапазонов электромагнитных волн дымовые завесы прозрачны.
Задача изобретения заключается в повышении эффективности защиты личного состава, вооружения и военной техники перед передним краем противника путем постановки тепловой завесы, образуемой горением материалов, доставляемых в район расположения позиций противника артиллерийскими боеприпасами.
Указанная задача достигается тем, что в способе защиты личного состава, вооружения и военной техники перед передним краем противника, при котором в районе расположения противника осуществляется постановка облаков дыма, согласно изобретению:
во-первых, в нем посредством горючих материалов дополнительно осуществляется постановка тепловой завесы, снижающей эффективность или блокирующей работу тепловизионной аппаратуры средств разведки и систем наведения боеприпасов на цель;
во-вторых, в качестве горючего материала используется пенообразующий раствор, содержащий углеводороды, пенообразователь и сжиженный газ в следующем соотношении компонентов, мас.%:
| углеводороды |
45…90 |
| пенообразователь |
5…30 |
| сжиженный газ |
5…50 |
в-третьих, в качестве пенообразователя используются поверхностно-активные вещества типа: алкилсульфатов первичных жирных спиртов; сульфоэтаксилатов первичных жирных спиртов, этаксилированных с различным содержанием окиси этилена, фторированных ПАВ различного строения;
в-четвертых, в качестве углеводородов используется бензин, пентан, гексан или дизельное топливо;
в-пятых, в качестве сжиженного газа используется пропан;
в-шестых, в районе расположения противника дополнительно рассеиваются полуволновые вибраторы и/или порошки, в частности из углеродно-волокнистого материала или графита.
Поставленная задача достигается также тем, что боеприпас для осуществления способа защиты личного состава, вооружения и военной техники перед передним краем противника, содержащий корпус с вложенными в его камеру диафрагмой и вышибным зарядом из дымного или бездымного пороха с воспламеняющим устройством, согласно изобретению:
во-первых, снаряжение выполнено в виде быстрорасширяющегося пенообразующего состава, а корпус снабжен двумя резьбовыми отверстиями, одно из которых выполнено сужающимся посередине и снабжено каналом в виде подпружиненного шарика, размещенного с внутренней стороны дна, при этом в другом отверстии размещена подвижная ввинтная заглушка, причем полость второго отверстия в месте размещения заглушки сообщена с внешней средой;
во-вторых, отверстиями оснащен корпус или дно боеприпаса;
в-третьих, дно и/или диафрагма оснащены уплотнителями.
Именно повышение эффективности защиты личного состава, вооружения и военной техники перед передним краем противника путем постановки тепловой завесы, образуемой горением материалов, доставляемых в район расположения позиций противника артиллерийскими боеприпасами, позволяет сделать вывод о решении задачи изобретения и о том, что заявляемые изобретения связаны между собой единым изобретательским замыслом.
Заявляемый способ защиты личного состава, вооружения и военной техники перед передним краем противника отличается от прототипа тем, что:
во-первых, в нем посредством горючих материалов дополнительно осуществляется постановка тепловой завесы, снижающей эффективность или блокирующей работу тепловизионной аппаратуры средств разведки и систем наведения боеприпасов на цель;
во-вторых, в качестве горючего материала используется пенообра-зующий раствор, содержащий углеводороды, пенообразователь и сжиженный газ в следующем соотношении компонентов, мас.%:
| углеводороды |
45…90 |
| пенообразователь |
5…30 |
| сжиженный газ |
5…50 |
в-третьих, в качестве пенообразователя используются поверхностно-активные вещества типа: алкилсульфатов первичных жирных спиртов; сульфоэтаксилатов первичных жирных спиртов, этаксилированных с различным содержанием окиси этилена, фторированных ПАВ различного строения;
в-четвертых, в качестве углеводородов используется бензин, пентан, гексан или дизельное топливо;
в-пятых, в качестве сжиженного газа используется пропан;
в-шестых, в районе расположения противника дополнительно рассеиваются полуволновые вибраторы и/или порошки, в частности, из углеродно-волокнистого материала или графита.
Заявляемый боеприпас для осуществления способа борьбы с объектом, оснащенным системой обнаружения и поражения атакующих элементов, отличается от прототипа тем, что:
во-первых, снаряжение выполнено в виде быстрорасширяющегося пенообразующего состава. Корпус снабжен двумя резьбовыми отверстиями; одно из отверстий выполнено сужающимся посередине и снабжено каналом в виде подпружиненного шарика, размещенного с внутренней стороны дна; в другом отверстии размещена подвижная ввинтная заглушка; полость второго отверстия в месте размещения заглушки сообщена с внешней средой;
во-вторых, отверстиями оснащен корпус или отверстиями оснащено дно боеприпаса;
в-третьих, диафрагма или дно оснащены уплотнителями.
Эти отличия позволяют сделать вывод о соответствии заявляемых технических решений способа и боеприпаса критерию “новизна”.
Признаки, отличающие заявляемое техническое решение от прототипа, не выявлены в других технических решениях при изучении данной и смежной областей техники и, следовательно, обеспечивают заявляемым решениям соответствие критерию “существенные отличия”.
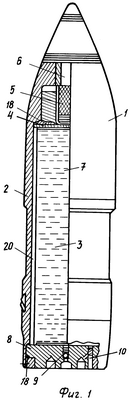
Сущность заявляемых технических решений поясняется чертежами, на которых представлено:
на фиг.1 – боеприпас;
на фиг.2 – размещение ниппельного отверстия с заглушкой в ввинтном дне боеприпаса.
Представлена спецификация чертежей
Позиция Наименование
1 – боеприпас
2 – корпус боеприпаса
3 – камера
4 – диафрагма
5 – вышибной заряд
6 – воспламеняющее устройство
7 – быстрорасширяющийся пенообразующий состав (исходный пенообразующий раствор)
8 – дно боеприпаса
9 – отверстие
10 – отверстие с заглушкой
11 – канал
12 – шарик
13 – пружина
14 – сужение отверстия 9
15 – заглушка
16 – полость отверстия 10
17 – канал сбросной, сопряженный с отверстием 10 и внешней средой
18 – уплотнитель
19 – резьба
20 – трубка, разрезанная по образующим на две или более частей
Заявляемый способ защиты личного состава, вооружения и военной техники перед передним краем противника реализован посредством макета боеприпаса на экспериментальной площадке с использованием тепловизора ( =3…5, 8…14 мкм) и привлечением в качестве объектов маскировки людей, колесной и гусеничной техники. При этом макет боеприпаса не разрушался, а вскрывался вручную. После механического вскрытия дна макета боеприпаса поток быстрорасширяющегося пенообразующего раствора наносился на поверхность грунта на расстоянии 2…2,5 м от тепловизора, установленного на высоте 2 м от поверхности грунта и направленного в сторону объектов маскировки, расположенных на открытом пространстве. Снижение эффективности тепловизора оценивалось по результатам видимости объектов маскировки на мониторе разведсредства до воспламенения пены и после ее воспламенения. В процессе эксперимента тепловизор последовательно опускался до уровня грунта и поднимался на указанную высоту.
Экспертная и инструментальная оценка результатов экспериментальных исследований показала, что в результате постановки тепловой завесы эффективность тепловизионной аппаратуры средств разведки и систем наведения боеприпасов на цель понижается. При высокой температуре тепловой завесы, образуемой продуктами горения, тепловизионный прибор неэффективен. При приближении тепловизионного прибора к источнику горения и при приближении линии визирования, направленной сквозь завесу к источнику горения, эффективность прибора снижается.
Устойчивость заявляемой в качестве горючего материала пены зависит от условий окружающей среды и соотношения используемых в пенообразующем растворе компонентов согласно п.2 формулы изобретения. По крайней мере, устойчивость пены достаточна до ее полного сгорания. Время сгорания пены зависит от ее объемов и размеров свободной поверхности (поверхности горения). Пена хорошо возгорается и горит без остатка на любой поверхности, в том числе на поверхности воды. Процесс горения не прекращается при ветре и моросящем дожде. Слой пены до 2…3 см хорошо прилипает и удерживается в процессе горения на вертикальных и наклонных поверхностях.
Таким образом, экспериментальные исследования и экспертная оценка их результатов показали, что реализация способа защиты личного состава, вооружения и военной техники перед передним краем противника и боеприпаса для его осуществления путем постановки тепловой завесы в районе расположения противника обеспечит снижение эффективности или блокирование работы тепловизионной аппаратуры, а совместное применение дымовой завесы и завесы из полуволновых вибраторов и/или графитовых порошков обеспечит снижение эффективности средств разведки и систем наведения боеприпасов на цель в видимом, инфракрасном и радиолокационном диапазонах длин волн.
Боеприпас 1 для осуществления защиты личного состава, вооружения и военной техники, содержащий корпус 2 с вложенными в его камеру 3 диафрагмой 4 и вышибным зарядом 5 из дымного или бездымного пороха с воспламеняющим устройством 6, снаряжен быстрорасширяющимся пенообразующим составом (исходный пенообразующий раствор) 7. Корпус 2 или ввинтное дно 8 боеприпаса 1 снабжено двумя резьбовыми отверстиями 9 и 10. Отверстие 9 выполнено сужающимся посередине и, в частности, снабжено каналом 11 с шариком 12 c пружиной 13 (см. фиг.2). Причем шарик 12 размещен с внутренней стороны дна 8 относительно сужения 14. В другом отверстии 10 размещена заглушка 15. При этом полость 16 второго отверстия 10 в месте размещения заглушки 15 сообщена с внешней средой каналом 17.
Диафрагма 4 и дно 8 при этом могут быть оснащены герметичным уплотнителем 18, а канал 11 резьбой 19.
Боеприпас 1 может быть выполнен в виде снаряда (см. фиг.1) или в виде гранаты, или в виде мины, или подствольного выстрела или выстрела гранатомета, или реактивного снаряда и т.д. (не показано).
Заявляемый способ осуществляется следующим образом.
Пример 1. Боеприпас 1 выстреливается из штатной артиллерийской системы или метается рукой в район расположения противника, предполагая размещение горючего материала – пены меду средством разведки и/или системы наведения боеприпасов на цель.
Срабатывание боеприпаса 1 осуществляется посредством трубки дистанционного или контактного действия воспламеняющего устройства 6, в частности, снаряда (трубки дистанционного и контактного действия в данной заявке не рассматриваются, см., например, [4]). Воспламеняется вышибной заряд 5 и под давлением образовавшихся газов на диафрагму 4 и дно 8, в частности посредством трубки 20, исходный пенообразующий раствор 7 выплескивается за пределы корпуса 2 (см. фиг.1). Под действием расширившихся газов образуется пена, которая, падая на поверхность, воспламеняется за счет свободного газа и остаточного действия продуктов горения воспламеняющего устройства 6. Продукты горения пены образуют тепловую завесу, снижающую эффективность или блокирующую тепловизионные средства разведки и систем наведения боеприпасов на цель.
Одновременно с боеприпасом 1, образующим тепловую завесу, могут выстреливаться боеприпасы, образующие дымовую и пыледипольную завесы.
Периодичность выстреливания (метания) боеприпасов определяется сроком действия соответствующей завесы, образованной в результате действия предыдущего боеприпаса.
Для создания протяженных завес используется несколько боеприпасов, создающих из цепочки очаговых завес соответствующих замыслу маскировки протяженную завесу.
Пример 2. Горючий материал, например, напалм распределяется перед позицией противника посредством метательного аппарата или огнемета.
Боеприпас 1 заправляется следующим образом.
Патрубок заправочного устройства (в данной заявке не рассматривается) посредством резьбы 19 подсоединяется к каналу 11 (см. фиг.2). Заглушка 15 сдвигается путем ее вращения посредством резьбовой пары в отверстии 10 до освобождения канала 17. Подается раствор 7 в камеру 3 боеприпаса 1 (см. фиг.1). После вытеснения воздуха из камеры 3 в начальный момент выброса из канала 17 пены заглушка 16 путем ее вращения смещается, перекрывая канал 17. Заправка продолжается до соответствующего технической характеристике боеприпаса 1 избыточного давления.
Отсоединяется патрубок заправочного устройства (не показано). Канал 11 при этом перекрыт. Возможно исполнение дополнительных заглушек (не показано), ввинчивающихся в каналы 10 и 17 посредством резьбы 19.
Использование заявляемого технического решения обеспечит повышение эффективности защиты личного состава, вооружения и военной техники перед передним краем противника и боеприпаса для его осуществления путем постановки тепловой завесы, снижающей эффективность или блокирующей работу тепловизионных средств разведки и систем наведения боеприпасов на цель. Тепловая завеса может быть использована одновременно с пыледипольной завесами, что обеспечит маскировку в видимом, инфракрасном и радиолокационном диапазонах длин волн. Преимущество способа заключается в том, что для его реализации могут использоваться заявляемый боеприпас, а также состоящие на вооружении химический снаряд, снаряженный заявленными и другими горючими материалами, обеспечивающими постановку тепловой завесы и, кроме того, напалм и оборудование для его распределения.
Источники информации
1. К.Ф.Киселев, Е.З.Ясин. Военная маскировка. Часть II. Техника маскировки. – М.: ВИА, 1957. – C.5.
2. С.А.Филин, Л.А.Молохина. Средства снижения заметности. – М: ИНИЦ Роспатента, 2003. – C.11…71.
3. Наставление по войсковой маскировке. Часть II. Техника маскировки и маскировка войсковых объектов. – М.: Военное издательство МО СССР, 1956 – C.68…71.
4. Третьяков Г.М. (инженер-полковник). Боеприпасы артиллерии. – М.: Военное издательство МВС СССР, 1947 – С.202…206, 196 и 197.
Формула изобретения
1. Способ защиты личного состава, вооружения и военной техники перед передним краем противника, при котором в районе расположения противника осуществляется постановка облаков дыма, отличающийся тем, что посредством горючих материалов дополнительно осуществляют постановку тепловой завесы, снижающей эффективность или блокирующей работу тепловизионной аппаратуры средств разведки и систем наведения боеприпасов на цель.
2. Способ защиты по п.1, отличающийся тем, что в качестве горючего материала используют пенообразующий раствор, содержащий углеводороды, пенообразователь и сжиженный газ в следующем соотношении компонентов, мас.%: углеводороды 45-90, пенообразователь 5-30, сжиженный газ 5-50.
3. Способ защиты по п.2, отличающийся тем, что в качестве пенообразователя используют поверхностно-активные вещества типа алкилсульфатов первичных жирных спиртов; сульфоэтаксилатов первичных жирных спиртов, этаксилированных с различным содержанием окиси этилена; фторированных поверхностно-активных веществ различного строения.
4. Способ защиты по п.2, отличающийся тем, что в качестве углеводородов используют бензин, пентан, гексан или дизельное топливо.
5. Способ защиты по п.2, отличающийся тем, что в качестве сжиженного газа используют пропан.
6. Способ защиты по п.1, отличающийся тем, что в районе расположения противника дополнительно рассеивают полуволновые вибраторы и/или порошки, в частности, из углеродно-волокнистого материала или графита.
7. Боеприпас, содержащий корпус с дном, в котором расположено снаряжение, вышибной заряд из дымного или бездымного пороха с воспламеняющим устройством, отличающийся тем, что снаряжение выполнено в виде быстрорасширяющегося пенообразующего состава, в корпусе или дне выполнено два резьбовых отверстия, одно из которых выполнено сужающимся и соединено с каналом, в котором размещен подпружиненный шарик, а во втором отверстии размещена подвижная ввинтная заглушка, причем полость второго отверстия в месте размещения заглушки сообщена через дополнительный канал с внешней средой.
РИСУНКИ
MM4A – Досрочное прекращение действия патента СССР или патента Российской Федерации на изобретение из-за неуплаты в установленный срок пошлины за поддержание патента в силе
Дата прекращения действия патента: 07.08.2007
Извещение опубликовано: 10.03.2009 БИ: 07/2009
|