|
|
(21), (22) Заявка: 2005104666/12, 21.02.2005
(24) Дата начала отсчета срока действия патента:
21.02.2005
(46) Опубликовано: 20.06.2006
(56) Список документов, цитированных в отчете о поиске:
Бензиновый ледобур «Strike Master Mag2000». Фирма «Апрефиш», каталог товаров. 2004 г. [найдено 09.12.2005 из Интернет: ;. SU 1330422 А1, 15.08.1987. RU 2236546 С1, 20.09.2004. US 6321861 B1, 27.11.2001. US 6827157 B1, 07.12.2004.
Адрес для переписки:
302020, г.Орел, Наугорское ш., 29, ОрелГТУ
|
(72) Автор(ы):
Земляков Николай Васильевич (RU), Земляков Олег Васильевич (RU)
(73) Патентообладатель(и):
Государственное образовательное учреждение высшего профессионального образования “Орловский государственный технический университет” (ОрелГТУ) (RU)
|
(54) ЛЕДОБУР ЗЕМЛЯКОВА С МОБИЛЬНЫМ ЭЛЕКТРОПРИВОДОМ
(57) Реферат:
Изобретение относится к рыболовному инвентарю, предназначенному для бурения лунок в толще льда. Устройство выполнено из шнеково-ножевой части, состоящей из полого вала, к одному из торцов которого приварена перекладина со съемными ножами. К поверхности вала со стороны перекладины приварена одна винтовая лопасть, при этом к второму торцу вала разъемно присоединен удлинительный вал и редуктор с двигателем и двумя рукоятками. Корпус редуктора снабжен трубчатой насадкой, в которой коаксиально расположен входной вал редуктора, в концевой части вала выполнено поперечное к валу отверстие. Со стороны торца вала до поперечного отверстия выполнено коническое отверстие, через которое своим хвостовиком разъемно присоединена бытовая аккумуляторная электродрель, ось вала которой размещена под углом 90° по отношению к оси вала шнеково-ножевой части, соединенной с выходным валом редуктора. Рукоятки, одна в виде разъемной трубки с ручкой, установлена относительно второй, выполненной в виде дрели, под углом от 90 до 120° от оси вала дрели, кроме того, стенка трубчатой насадки со стороны торца снабжена продольными пазами, а по наружной поверхности снабжена разрезным кольцом со стяжным болтом. Удлинительный вал снабжен дополнительной откидной рукояткой, расположенной на высоте L от вершин ножей. Лопасть шнека со стороны рабочей поверхности снабжена бортом, который приварен к периферии рабочей поверхности лопасти в отдельных точках, в промежутках между которыми борт снабжен сквозными канавками, расположенными с определенным шагом друг от друга. Обеспечивается исключение газового загрязнения, снижение шумового загрязнения, повышение эффективности выброса ледяной крошки из лунки при ее бурении, снижение веса конструкции, снижение физической усталости рыбака. 3 з.п. ф-лы, 6 ил.
Изобретение относится к технике рыболовного инвентаря, предназначенного для бурения лунок в толще льда, а более конкретно к устройствам с механизированным приводом шнеково-ножевой части.
Известны конструкции шнековых ледобуров, выполненные с ручным приводом шнеково-ножевой части. Такие ледобуры выполнены из шнеково-ножевой части и воротка, которые соединены между собой петлевым шарниром, необходимым для удобства транспортировки ледобура, который для этой цели складывается, откидывая шнеково-ножевую часть с помощью петлевого шарнира на 180° от воротка. А перед работой ледобура вороток на петлевом шарнире поворачивается на 180° в обратную сторону и жестко фиксируются, например, болтом и гайкой. После сборки вал шнеково-ножевой части образует с валом воротка конструктивно единый сборный вал с единой осью вращения. Шнеково-ножевая часть выполнена из полого облегченного вала, к поверхности которого со стороны одного торца жестко прикреплена с помощью сварки однозаходная винтовая лопасть, при этом торцевая часть вала и лопасти снабжены перекладиной, к которой под определенным углом прикреплены, как правило, два врезных ножа [1] и [2].
Недостатком такого известного устройства ледобура является то, что его лопасть шнека выполнена в виде ленты, с которой во время бурения льда ледяная крошка за счет центробежной силы отжимается к периферии лопасти и далее может проваливаться в зазор между стенкой лунки и шнеком. При вытаскивании такой шнеково-ножевой части из лунки ледяная крошка также легко сваливается с лопасти шнека снова в лунку. Поэтому и особенно в сильный мороз и при большой толщине льда происходит многократная и непроизводительная работа по удалению сухой ледяной крошки из лунки, что снижает производительность бурения лунки и повышает физическую утомляемость рыболова.
Наиболее близким техническим решением, выбранным в качестве прототипа, является «Бензиновый ледобур» [3], который выполнен из шнеково-ножевой части, удлинительного вала, двух рукояток и бензодвигателя с редуктором. Шнеково-ножевая часть выполнена из вала, к которому приварена одна типовая винтовая лопасть и два ножа.
Недостатком прототипа является то, что бензодвигатель при бурении льда создает значительный шум и засоряет окружающую атмосферу продуктами сгорания. Бензодвигателю для работы необходимо горючее, которое вместе с двигателем создает значительный вес всего устройства. Кроме того, во время бурения льда ледяная крошка за счет центробежной силы отжимается к периферии лопасти и далее может проваливаться в зазор между стенкой лунки и шнеком, а при вытаскивании такой шнеково-ножевой части из лунки ледяная крошка также легко сваливается с лопасти шнека снова в лунку.
Задача, на решение которой направлено изобретение, состоит в полном исключении газового загрязнения и в снижении шумового загрязнения окружающей среды, а также в повышении эффективности выброса ледяной крошки из лунки при ее бурении и, кроме того, в снижении веса всей конструкции ледобура, в снижении физической усталости рыбака.
Это достигается тем, что ледобур с мобильным электроприводом, выполненный из шнеково-ножевой части, состоящей из полого вала, к одному из торцов которого приварена перекладина со съемными ножами, а к поверхности вала со стороны перекладины приварена одна винтовая лопасть, при этом к второму торцу вала разъемно присоединен удлинительный вал и редуктор с двигателем и двумя рукоятками, а корпус редуктора снабжен трубчатой насадкой, в которой коаксиально расположен входной вал редуктора, в концевой части вала выполнено поперечное к валу отверстие, а со стороны торца вала до поперечного отверстия выполнено коническое отверстие, через которое своим хвостовиком разъемно присоединена бытовая аккумуляторная электродрель, ось вала которой размещена под углом 90° по отношению к оси вала шнековоножевой части, соединенной с выходным валом редуктора рукоятки, одна в виде разъемной трубки с ручкой установлена относительно второй, выполненной в виде дрели, под углом от 90 до 120° от оси вала дрели разъемно установлена трубка с ручкой, кроме того, стенка трубчатой насадки со стороны торца снабжена продольными пазами, а по наружной поверхности снабжена разрезным кольцом со стяжным болтом, кроме того, удлинительный вал снабжен дополнительной откидной рукояткой, расположенной на высоте L от вершин ножей, при этом лопасть шнека со стороны рабочей поверхности снабжена бортом, который приварен к периферии рабочей поверхности лопасти в отдельных точках, в промежутках между которыми борт снабжен сквозными канавками, расположенными с определенным шагом друг от друга. Трубка с ручкой и вал шнеково-ножевой части снабжены накидными гайками с резьбой. Редуктор выполнен из многозаходного червяка и многозаходного зубчатого колеса, соединенных в винтовое соединение с перекрещивающимися осями. Червяк выполнен стальным, а зубчатое колесо из полиамида.
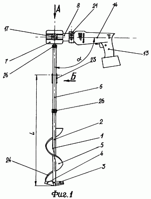
Сущность изобретения поясняется чертежами, где на фиг.1 изображен общий вид ледобура. На фиг.2 изображен вид ледобура по стрелке А. На фиг.3 изображен выров вала шнеково-ножевой части с откидной рукояткой в сомкнутом положении. На фиг.4 – та же рукоятка в открытом положении. На фиг.5 изображен увеличено выров, поясняющий механическое соединение электродрели с редуктором через трубчатую насадку. На фиг.6 изображен выров шнеково-ножевой части, поясняющий размещение канавок борта.
Устройство ледобура включает шнеково-ножевую часть 1, состоящую из полого вала 2, к одному из двух торцов которого приварена перекладина 3, к которой прикреплены съемные ножи 4. К поверхности вала 2 со стороны перекладины 3 приварена одна винтовая лопасть 5. Ко второму концу вала 2 разъемно и последовательно присоединены удлинительный вал 6 и редуктор 7. Корпус редуктора 7 снабжен трубчатой насадкой 8, в которой коаксиально расположен входной вал 9 редуктора 7. В концевой части вала 9 выполнено поперечное отверстие 10, а со стороны торца вала 9 до отверстия 10 выполнено коническое отверстие 11. В коническое отверстие 11 вставлен конический хвостовик 12, принадлежащий аккумуляторной электродрели 13. Ось 14 вала электродрели 13 размещена по отношению к оси вала 6 под углом . Вал 2 через удлинительный вал 6 соединен разъемно с выходным валом 15 редуктора 7. Между осью 14 вала электродрели 13 и осью вала трубки 16, имеющей рукоятку 17, может по желанию рыболова выстанавливаться угол . Дискретное изменение угла выполняется шарниром 18 и фиксирующей скобой 19. Стенка трубчатой насадки 8 со стороны торца снабжена продольными пазами 20, а по наружной поверхности насадка 8 снабжена разрезным кольцом 21, имеющим стяжной болт 22. Удлинительный вал 6 снабжен на высоте L от вершин ножей 4 откидной рукояткой 23. Лопасть 5 со стороны рабочей поверхности снабжена бортом 24. Борт 24 имеет сквозные канавки 25, которые выполнены с шагом S. Трубка 16 присоединяется к шарниру 18 так же, как и вал 2 к валу 6 и вал 6 к выходному валу 15 с помощью накидных резьбовых гаек 26. Редуктор 7 выполнен из многозаходного червяка 27 и многозаходного зубчатого колеса 28. Длина h трубки 16 с рукояткой 17 по желанию рыболова может быть заменена на более длинную или короткую.
Ледобур работает следующим образом.
Предварительно все разъемные узлы устройства соединяют в конструкцию ледобура. Затем левой рукой берутся за рукоятку 17, а правой рукой за рукоятку электродрели и устанавливают ледобур на предполагаемую точку бурения льда. Далее указательным пальцем правой руки нажимают пусковой контакт и при необходимости фиксируют его кнопкой (имеется на ручке электродрели) и, удерживая ледобур в вертикальном положении, без особого физического напряжения следят лишь за заглублением шнеково-ножевой части 1 в лед. После прохода толщи льда перехватывают правой рукой за рукоятку 23 и легко вынимают шнеково-ножевую часть 1 вместе с ледяной шугой из пробуренной лунки, при этом значительная часть воды, которой пропитана ледяная крошка, протекает через сквозные канавки 25, а оставшуюся ледяную крошку быстро стряхивают, освобождая от нее шнек. После чего ледобур готов к очередному бурению.
Полезность заявляемого устройства заключается в том, что в сравнении с прототипом исключается задымленность экологической среды; снижается уровень шума, а это уменьшает отпугивание рыбы и, таким образом, повышает уловистость места. Кроме того, в сравнении с прототипом снижается вес всего устройства ледобура, облегчается запуск работы ледобура, а именно вращение шнеково-ножевой части. Отсутствие в составе конструкции ледобура легко воспламеняемых и взрывоопасных жидкостей, что имеет значение при транспортировке ледобура. Отсутствие в конструкции электропривода ледобура специфически пахнущих жидкостей, таких как горючие бензодвигателя, запах которых может попасть на руки и далее на приманку, что отпугнет рыбу. Наличие борта на периферии рабочей поверхности лопасти шнеково-ножевой части позволит более качественно удалять из лунки ледяную шугу. Наличие канавок в борту лопасти способствует быстрому стеканию воды и облегчению шнеково-ножевой части, а это значит снижению физической усталости рыболова.
Источники информации
1. Журнал “Рыбоводство и рыболовство” 1980 г., №12, стр. 21, рис.1.
2. Журнал “Рыбоводство и рыболовство” 1984 г., №2, титульная страница обложки.
3. Бензиновый ледобур. Интернет, сайт: www.aprefish.ru.
Формула изобретения
1. Ледобур с мобильным электроприводом, содержащий шнеково-ножевую часть, состоящую из полого вала, к одному из торцов которого приварена перекладина со съемными ножами, а к поверхности вала со стороны перекладины приварена одна винтовая лопасть, при этом ко второму торцу вала разъемно присоединен удлинительный вал и редуктор с двигателем и двумя рукоятками, отличающийся тем, что корпус редуктора снабжен трубчатой насадкой, в которой коаксиально расположен входной вал редуктора, в концевой части вала выполнено поперечное к валу отверстие, а со стороны торца вала до поперечного отверстия выполнено коническое отверстие, через которое своим хвостовиком разъемно присоединена бытовая аккумуляторная электродрель, ось вала которой размещена под углом 90° по отношению к оси вала шнеково-ножевой части, соединенной с выходным валом редуктора, а рукоятки, одна в виде разъемной трубки с ручкой, установлена относительно второй, выполненной в виде дрели, под углом от 90 до 120° от оси вала дрели, кроме того, стенка трубчатой насадки со стороны торца снабжена продольными пазами, а по наружной поверхности снабжена разрезным кольцом со стяжным болтом, кроме того, удлинительный вал снабжен дополнительной откидной рукояткой, расположенной на высоте L от вершин ножей, при этом лопасть шнека со стороны рабочей поверхности снабжена бортом, который приварен к периферии рабочей поверхности лопасти в отдельных точках, в промежутках между которыми борт снабжен сквозными канавками, расположенными с определенным шагом друг от друга.
2. Ледобур с мобильным электроприводом по п.1, отличающийся тем, что трубка с ручкой и вал шнеково-ножевой части снабжены накидными гайками с резьбой.
3. Ледобур с мобильным электроприводом по п.1, отличающийся тем, что редуктор выполнен из многозаходного червяка и многозаходного зубчатого колеса, соединенных в винтовое соединение с перекрещивающимися осями.
4. Ледобур с мобильным электроприводом по п.3, отличающийся тем, что червяк выполнен стальным, а зубчатое колесо из полиамида.
РИСУНКИ
MM4A – Досрочное прекращение действия патента СССР или патента Российской Федерации на изобретение из-за неуплаты в установленный срок пошлины за поддержание патента в силе
Дата прекращения действия патента: 22.02.2007
Извещение опубликовано: 27.09.2008 БИ: 27/2008
|
|