|
|
(21), (22) Заявка: 2004128358/06, 23.09.2004
(24) Дата начала отсчета срока действия патента:
23.09.2004
(43) Дата публикации заявки: 10.03.2006
(46) Опубликовано: 20.06.2006
(56) Список документов, цитированных в отчете о поиске:
RU 2080516 C1, 27.05.1997. RU 2149318 C1, 20.05.2000. SU 1824507 A1, 30.06.1993. SU 1124669 A, 30.05.1985. FR 2654200 A1, 10.05.1991.
Адрес для переписки:
630090, г.Новосибирск, пр. акад. Лаврентьева, 1, ООО “ОКБ Теплосибмаш”, А.И. Богданову
|
(72) Автор(ы):
Попов Александр Васильевич (RU), Богданов Анатолий Иванович (RU), Петриков Сергей Анатольевич (RU)
(73) Патентообладатель(и):
ООО “ОКБ Теплосибмаш” (RU), Богданов Анатолий Иванович (RU), Петриков Сергей Анатольевич (RU), Попов Александр Васильевич (RU)
|
(54) ПАРОВОДЯНОЙ ВОДОГРЕЙНЫЙ КОТЕЛ
(57) Реферат:
Изобретение предназначено для нагрева воды и может быть использовано в энергетике. Пароводяной водогрейный котел содержит герметичный корпус, частично заполненный водой, с размещенными ниже уровня воды цилиндрической топочной камерой с конвективным пучком и размещенными над топочной камерой распределителем парожидкостной фазы и пароводяным трубчатым подогревателем, разделенным на две секции по нагреваемым теплоносителям. Корпус котла выполнен составным из цилиндрической обечайки с топочной камерой и установленной на обечайке паровой камеры с упомянутым подогревателем, при этом конвективный пучок выполнен из вертикальных труб, в которых циркулирует вода, установленных в хвостовой части корпуса топочной камеры. Распределителем парожидкостной фазы является верхняя перфорированная часть обечайки между топочной камерой и пароводяным подогревателем, а одна секция подогревателя размещена в отдельном отсеке паровой камеры и соединена с другой секцией паровой линией с регулирующим клапаном, подключенным к датчику температуры воды, нагретой в отдельном отсеке паровой камеры. Изобретение позволяет повысить эффективность котла, улучшить условия его эксплуатации и ремонта, снизить массогабаритные размеры. 3 ил.
Изобретение относится к котельной технике и может использоваться в системах отопления и горячего водоснабжения зданий и помещений.
Известны водогрейные котлы (например, патент РФ №2133925, 1999 г., F 24 Н 1/22), содержащие топочную камеру для нагрева жидкого теплоносителя (каким в большинстве применений является вода) и встроенный пароводяной трубчатый подогреватель, обогреваемый от топочной камеры.
Недостатками данного котла являются невысокая надежность и слабая эффективность, обусловленные низкой скоростью воды в котле и, как следствие, низкой теплопередачей и повышенной склонностью к накипеобразованию на топочной камере.
Известны также водогрейные котлы (патент РФ №2188982, 2002 г., F 22 В 27/16; патенты Японии № JP 5173155, 1992 г., B 01 D 003/10, №JP 6049467 и № JP 6049468, 1994 г., C 10 L 3/06), содержащие парогенератор с топкой и пароводяной подогреватель, соединенные паровой и конденсатной линиями, обеспечивающие безнакипный режим работы топочных поверхностей и высокую интенсивность теплообмена.
Недостатками данных котлов являются сложность и громоздкость конструкции.
Наиболее близким по технической сущности предлагаемому изобретению является пароводяной конденсационный котел низкого давления, содержащий цилиндрический герметичный корпус, частично заполненный жидким теплоносителем, погруженные в жидкий теплоноситель топочную камеру и дымогарные трубы, соединенные между собой поворотной камерой, и теплообменник, расположенный над поверхностью жидкого теплоносителя, под углом к поверхности жидкого теплоносителя установлена пластина для организации направленного движения паровой фазы теплоносителя к подогревателю (патент РФ №2080516, 1997 г., F 22 В 7/00). Для обеспечения двухцелевой работы котла одновременно для теплоснабжения и горячего водоснабжения подогреватель разделен на две секции с заданным соотношением мощностей.
Недостатком данного котла является низкая эффективность теплообмена в дымогарных трубах, сложность регулирования температуры нагреваемых теплоносителей при двухцелевой работе, например на отопление и горячее водоснабжение. Наличие поворотной камеры, соединяющей топочную камеру и дымогарные трубы, усложняет конструкцию и ремонтопригодность котла, увеличивает его габариты и массу.
Задачей заявляемого изобретения является повышение тепловой эффективности и надежности водогрейного котла, совершенствование эффективности управления им, снижение металлоемкости и габаритов, а также улучшение ремонтопригодности.
Поставленная задача решается тем, что водогрейный котел, содержащий герметичный корпус, частично заполненный водой, ниже уровня которой размещены цилиндрическая топочная камера с конвективным пучком, над топочной камерой размещен распределитель парожидкостной фазы и двухсекционный подогреватель, в соответствии с изобретением корпус котла выполнен составным из цилиндрической обечайки с топочной камерой и установленной на обечайке паровой камеры с двухсекционным пароводяным подогревателем. Распределителем парожидкостной фазы является верхняя перфорированная часть обечайки между топочной камерой и пароводяным подогревателем. Одна секция подогревателя размещена в отдельном отсеке паровой камеры и соединена с другой секцией паровой линией. На паровой линии установлен регулирующий клапан, подключенный к датчику температуры воды, нагретой в секции, находящейся в отдельном отсеке паровой камеры. Конвективный пучок выполнен из вертикальных труб, размещенных в хвостовой части корпуса топочной камеры. Цилиндрическая часть корпуса котла под подогревателем перфорирована для прохода и распределения парожидкостной фазы.
Повышение тепловой эффективности котла достигается за счет более интенсивной, чем в дымогарных трубах, теплоотдачи при поперечном обтекании вертикальных труб конвективного пучка дымовыми газами и высокой теплоотдачи при кипении теплоносителя, циркулирующего с высокой скоростью, без застойных зон, в трубах конвективного пучка и кольцевом зазоре между топочной камерой и цилиндрической обечайкой корпуса котла.
Отсутствие застойных зон кипящего теплоносителя исключает опасность накипеобразования на стенках топочной камеры и ее пережога, повышая надежность котла.
Улучшение эффективности управления котлом при двухцелевой работе обеспечивается раздельным, независимым регулированием режимов работы секций подогревателя за счет изменения как расхода топлива, так и греющего пара.
Уменьшение габаритов котла и металлоемкости достигается за счет снижения его удельной теплообменной поверхности и компактного размещения топочной камеры и конвективного пучка в одном корпусе, без поворотной камеры дымовых газов.
Ремонтопригодность котла повышается за счет обеспечения возможности извлечения топочной камеры с конвективным пучком через вырез в торцевых стенках.
Использование составного корпуса котла из цилиндрической перфорированной обечайки с топочной камерой и соединенной с ней паровой камерой с водонагревателем обеспечивает жесткость корпуса котла и равномерное распределение пара по паровой камере.
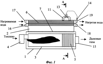
На фиг.1 представлен общий вид котла. На фиг.2 – разрез по А-А. На фиг.3 – разрез по Б-Б.
Котел содержит корпус, частично заполненный водой, состоящий из цилиндрической обечайки 1 и паровой камеры 2, топочную камеру 3 с горелочным устройством 4 и вертикальным конвективным пучком теплообменных труб 5, вваренных в хвостовую часть корпуса камеры 3. В камере 2 размещен трубчатый подогреватель 6. В цилиндрической обечайке 1 под камерой 2 вырезаны перфорационные отверстия 7 для прохода пара к подогревателю и возврата конденсата в зону кипения. Подогреватель 6 разделен на две секции 8 и 9 по нагреваемым теплоносителям. Секция 9 помещена в отдельный отсек 10, соединенный паровой линией 11 с паровым пространством секции 8, и конденсатной линией 12 с корпусом котла, ниже уровня воды. На паровой линии 11 установлен регулирующий клапан 13, соединенный по исполнительному механизму с датчиком 14 температуры нагретой воды в секции 9. Котел снабжен патрубками отвода дымовых газов 15, подвода и отвода нагреваемых теплоносителей 16, 17, 18 и 19, патрубком вакуумирования и отвода неконденсирующихся газов 20.
Котел работает следующим образом.
Перед пуском котел заполняется водой выше уровня топочной камеры 3 и вакуумируется через патрубок 20. Топливо подается в топочное устройство 4. Нагреваемая до более высокой температуры вода, например на отопление, подается через патрубок 16 в секцию 8 подогревателя 6. Нагреваемая до более низкой температуры вода, например на горячее водоснабжение, подается через патрубок 17 в секцию 9 подогревателя 6. Продукты сгорания топлива из горелочного устройства 4 проходят через топочную камеру 3, омывают конвективный пучок 5 и выводятся из котла через патрубок 15. Теплота от горячих дымовых газов передается через стенку топочной камеры и теплообменные трубы конвективного пучка к кипящей воде, циркулирующей в трубах и кольцевом зазоре между топочной камерой и цилиндрической обечайкой 1 корпуса котла. Водяные пары проходят через отверстия 7 перфорированной части обечайки 1, равномерно распределяясь по поверхности кипения, и поступают в секцию 8 трубчатого водонагревателя для конденсации и нагрева воды отопления. Нагретая вода из секции 8 через патрубок 18 отводится потребителю. Регулирование температуры нагретой в секции 8 воды осуществляется изменением расхода топлива через горелочное устройство 4. Часть пара из секции 8 по паровой линии 11 через регулирующий клапан 13 поступает в секцию 9 для нагрева воды, например горячего водоснабжения. Нагретая вода из секции 9 через патрубок 19 отводится потребителю. Регулирование температуры нагретой в секции 9 воды осуществляется изменением расхода пара через регулирующий клапан 13 по сигналу от датчика температуры 14. При натекании воздуха в котел, работающий под вакуумом, через неплотности в корпусе, для исключения негативного влияния воздуха на процесс теплообмена при конденсации и коррозионных процессов, периодически включается отсос неконденсирующихся газов через патрубок 20.
Процессы кипения и конденсации теплоносителя осуществляются в герметичном корпусе котла без потерь теплоносителя на продувку, поэтому котел не требует постоянной подпитки водой и, соответственно, дополнительных средств для подготовки питательной воды. Котел работает под низким давлением, равным давлению насыщенного пара с температурой конденсации, близкой к температуре нагретой в подогревателе воды. Давление изменяется и поддерживается автоматически, в зависимости от температуры нагрева и снимаемой нагрузки, и не требует специальных средств для его поддержания, кроме первоначального вакуумирования котла и периодической откачки воздуха, проникающего через неплотности котла при работе под вакуумом.
Использование заявляемого изобретения позволяет повысить тепловую эффективность котла, снизить массогабаритные характеристики, оптимизировать процесс управления им, улучшить условия эксплуатации и ремонта.
Формула изобретения
Пароводяной водогрейный котел, содержащий герметичный корпус, частично заполненный водой, с размещенными ниже уровня воды цилиндрической топочной камерой с конвективным пучком и размещенными над топочной камерой распределителем парожидкостной фазы и пароводяным трубчатым подогревателем, разделенным на две секции по нагреваемым теплоносителям, отличающийся тем, что корпус котла выполнен составным из цилиндрической обечайки с топочной камерой и установленной на обечайке паровой камеры с упомянутым подогревателем, при этом конвективный пучок выполнен из вертикальных труб, в которых циркулирует вода, установленных в хвостовой части корпуса топочной камеры, распределителем парожидкостной фазы является верхняя перфорированная часть обечайки между топочной камерой и пароводяным подогревателем, а одна секция подогревателя размещена в отдельном отсеке паровой камеры и соединена с другой секцией паровой линией с регулирующим клапаном, подключенным к датчику температуры воды, нагретой в отдельном отсеке паровой камеры.
РИСУНКИ
|
|