|
|
(21), (22) Заявка: 2004134857/03, 29.11.2004
(24) Дата начала отсчета срока действия патента:
29.11.2004
(30) Конвенционный приоритет:
30.06.2004 KR 2004-18475
(46) Опубликовано: 20.06.2006
(56) Список документов, цитированных в отчете о поиске:
US 5080166 А, 14.01.1992. US 4524757 А, 25.06.1985. US 5660229 A, 26.08.1997. SU 133134 A1, 01.01.1960.
Адрес для переписки:
103735, Москва, ул. Ильинка, 5/2, ООО “Союзпатент”, пат.пов. Л.С.Кишкиной
|
(72) Автор(ы):
КАНГ Се-Чанг (KR), ПАК Дзанг-Сеок (KR), ЧЭ Куонг-Муонг (KR), ХАН Мин-Со (KR), ПАК Сеонг-Чан (KR), ХВАНГ Сюнг-Сеок (KR)
(73) Патентообладатель(и):
ЭЛ ДЖИ КЕМ. ЛТД (KR)
|
(54) ПЛИТООБРАЗНАЯ НАГРЕВАТЕЛЬНАЯ ПАНЕЛЬ, В КОТОРОЙ СОЕДИНИТЕЛЬНЫЕ ЭЛЕМЕНТЫ СКРЕПЛЕНЫ С ПОМОЩЬЮ БОЛТОВ И ГАЕК
(57) Реферат:
Изобретение относится к плитообразной нагревательной панели, содержащей образованный в ней внутренний проход для текучей среды, и, в частности, к нагревательной панели, которая имеет соединительные элементы, скрепленные друг с другом с помощью болтов и гаек, что повышает сопротивление давлению. Технический результат: создание плитообразной нагревательной панели, в которой элементы скреплены друг с другом для повышения сопротивления давлению. Нагревательная панель содержит верхнюю и нижнюю плиты, сформированные как единое целое напротив друг друга с образованием внутреннего прохода для текучей среды, по которому протекает горячая вода, множество соединительных элементов, каждый из которых проходит симметрично от верхней и нижней плиты в направлении нижней и верхней плиты соответственно и соединяет верхнюю и нижнюю плиты друг с другом, внутренний проход для текучей среды, образованный внутри плиты с помощью множества соединительных элементов и две соединительных части для текучей среды для подачи и отвода горячей воды, при этом один или более соединительных элементов вблизи соединительных частей пробиты с образованием отверстий для скрепления пробитых частей соединительных элементов друг с другом с помощью болтов и гаек. 6 ил.
Область техники, к которой относится изобретение
Данное изобретение относится к плитообразной нагревательной панели, содержащей образованный в ней внутренний проход для текучей среды, и, в частности, к нагревательной панели, которая имеет соединительные элементы, скрепленные друг с другом с помощью болтов и гаек, что повышает сопротивление давлению.
Уровень техники
Обычно в нагревательных системах, применяемых в жилых зданиях, таких как дома, виллы, и в квартирах, используются конструкции, использующие процесс нагревания с помощью жидкой среды, в которых под материалом пола помещения в здании прокладывается труба, в которую подается нагревательная среда, такая как горячая вода, за счет чего осуществляется нагревание помещения здания. Однако такая влажная система нагревания с использованием жидкости имеет низкую эффективность нагревания, что приводит к большим потерям тепла и требует длительного твердения бетона, что приводит к продолжительному времени строительства. Кроме того, при утечке воды из трубы слой раствора нагревательной системы необходимо разрушать для ремонта, что затрудняет капитальный ремонт и увеличивает стоимость капитального ремонта.
Для решения проблем указанных выше обычных нагревательных систем с использованием жидкости была разработана сухая нагревательная панель, выполненная из бетона, синтетической смолы или желтой глины. В сухую нагревательную панель заделывается труба для пропускания через нее горячей воды или же она снабжается канавками или фиксирующими элементами для вставления трубы для пропускания горячей воды. Сухая нагревательная панель является сборной нагревательной панелью и имеет то преимущество, что нагревательную систему можно выполнять посредством простой сборки заранее изготовленных кусков сухой нагревательной панели, что уменьшает время строительства и упрощает операции обслуживания и капитального ремонта. Однако сухая нагревательная панель имеет тот недостаток, что поскольку в ней используется линейная нагревательная конструкция, в которой излучение тепла концентрируется в основном в местах расположения трубы для прохождения горячей воды, что приводит к значительным изменениям температуры в нагревательной системе, то сухая нагревательная панель является не эффективной при нагревании, и что поскольку сама труба выполнена из металла или синтетической смолы, то она является дорогой, что приводит к увеличению стоимости строительства. Кроме того, могут возникать потери тепла вследствие прокладки труб, а на поверхности трубы может происходить конденсация влаги, что приводит к увлажнению панели.
Для решения проблем указанной обычной сухой нагревательной панели, как раскрыто в патенте США №5080166 и в выложенной заявке на патент Кореи №2002-95733, была разработана плитообразная нагревательная панель, снабженная внутренним проходом для среды с целью обеспечения прохождения через нее горячей воды. По сравнению с нагревательной системой сухого типа, использующей линейную конструкцию нагревания, плитообразная нагревательная панель, имеющая внутренний проход для среды, использует плоскостную конструкцию, в которой горячая вода протекает не в локальной площади, а во всей площади панелей, так что она обеспечивает очень высокую эффективность нагревания, что приводит к уменьшению расхода топлива, и не требуется труба для структуры плитообразной нагревательной панели, что устраняет сложную работу по прокладке труб и уменьшает затраты на прокладку труб. Дополнительно к этому плитообразная нагревательная панель не имеет тепловых потерь и не подвержена явлению конденсации, которая обычно происходит на поверхности трубы в конструкции сухой нагревательной панели, и позволяет снизить вес панели. Кроме того, плитообразная нагревательная панель очень проста в изготовлении и в ремонте.
Обычно плитообразную нагревательную панель с образованным в ней внутренним проходом для среды формируют с помощью формования раздувом, известного также как полое формование. Формование раздувом является способом формования, в котором формируют полое изделие путем вдувания воздуха в разделительную форму, в которую вводится термопластичный формовочный материал, а затем размягчается с помощью нагревания.
Обычно после изготовления плитообразной нагревательной панели с помощью формования раздувом, когда термопластичная смола сжимается формовочной плитой после вдавливания смолы в экструзионную головку, в смолу вдувают горячий воздух с приданием ей цилиндрической формы. Затем смолу сжимают с помощью форм с обеих сторон, образуя тем самым нагревательную панель с внутренним проходом для среды.
Внутренний проход для среды вблизи входа и выхода изготовленной указанным выше образом нагревательной панели утоньшается вследствие сильного давления горячего воздуха, и угол углубления (каждое из которых является кромкой, утопленной под небольшим углом между симметричными линиями) дополнительно уменьшается, вызывая концентрацию напряжений в углублении, что приводит к уменьшению сопротивления давлению нагревательной панели.
В соответствии с этим в случае, когда нагревательная среда под большим давлением протекает через внутренний проход для среды нагревательной панели, то такая концентрация напряжений вокруг входа и выхода может приводить к образованию трещины вокруг входа и выхода, вызывая повреждение входа и выхода нагревательной панели и разделение соединительных элементов нагревательной панели. Если повреждается любая часть нагревательной панели, то разделение соединительного элемента отрицательно влияет на всю нагревательную панель, приводя к разделению нагревательной панели.
Углубление соединительных частей образуется неизбежно во время формования раздувом независимо от используемых условий или процессов и можно ожидать, что трещина будет образовываться в углублении в условиях высокой температуры и большого давления из-за концентрации напряжений в углублении.
В соответствии с этим необходимо предусмотреть средство для фиксирования соединительных элементов с помощью дополнительной большой силы снаружи независимо от типа смолы, из которой изготовлена нагревательная панель, и формы соединительных элементов.
Сущность изобретения
Поэтому данное изобретение выполнено с учетом этой проблемы и задачей данного изобретения является создание плитообразной нагревательной панели, в которой части соединительных средств, уязвимые для напряжений, скрепляются друг с другом с помощью сильной силы снаружи, улучшая тем самым сопротивление давлению нагревательной панели.
Согласно одному аспекту данного изобретения указанная выше и другие задачи можно реализовать путем создания нагревательной панели, содержащей верхнюю и нижнюю плиты, сформированные как единое целое напротив друг друга с образованием внутреннего прохода для среды, по которому протекает горячая вода; множество соединительных элементов, каждый из которых проходит симметрично от верхней и нижней плиты в направлении нижней и верхней плиты соответственно и соединяет верхнюю и нижнюю плиты друг с другом; внутренний проход для среды, образованный внутри плиты с помощью множества соединительных элементов; и две соединительные части для среды для подачи и отвода горячей воды, при этом один или более соединительных элементов вблизи соединительных частей пробиты, так что пробитые части соединительных элементов скрепляются друг с другом с помощью болтов и гаек.
Краткое описание чертежей
Эти и другие цели, признаки и другие преимущества данного изобретения следуют из приведенного ниже подробного описания со ссылками на прилагаемые чертежи, на которых изображено:
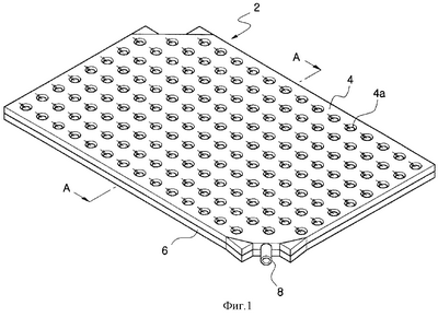
фиг.1 – плитообразная нагревательная панель, имеющая сформированный в ней внутренний проход для среды, согласно данному изобретению в изометрической проекции;
фиг.2 – панель согласно фиг.1 в изометрической проекции с частичным вырезом и в увеличенном масштабе;
фиг.3 – вид в разрезе по линии А-А на фиг.1;
фиг.4 – часть плитообразной нагревательной панели, имеющей соединительные элементы, скрепленные с помощью болтов и гаек, согласно данному изобретению на виде сверху;
фиг.5 – часть плитообразной нагревательной панели, имеющей соединительные элементы, скрепленные с помощью болтов и гаек, согласно данному изобретению на виде снизу; и
фиг.6 – плитообразная нагревательная панель, имеющая скрепленные с помощью болтов и гаек соединительные элементы вблизи входа и выхода панели, согласно данному изобретению.
Описание предпочтительных вариантов выполнения
Ниже приводится описание предпочтительных вариантов выполнения данного изобретения со ссылками на прилагаемые чертежи.
На фиг.1 показана в изометрической проекции плитообразная нагревательная панель согласно одному варианту выполнения данного изобретения, а на фиг.2 – часть панели согласно фиг.1 с частичным вырезом и в увеличенном масштабе. Нагревательная панель 2 согласно данному изобретению содержит верхнюю и нижнюю плиты 4 и 6, сформированные как единое целое напротив друг друга с образованием внутреннего прохода 12 для среды, по которому протекает нагревательная среда. С целью обеспечения простого изготовления и формования нагревательная панель 2 выполнена из термопластичного материала и имеет форму плоской плиты для максимизации поверхности контакта с полом (ее можно применять также для стен или потолка) помещения, так что нагревательная среда может контактировать с полом помещения на большой площади.
Как показано на фиг.1, нагревательная панель 2 имеет прямоугольную структуру с парой длинных сторон и парой коротких сторон. Однако для более простого непрерывного расположения нагревательных панелей при выполнении нагревательной системы нагревательные панели могут иметь другие многоугольные структуры, такие как шестиугольная форма или восьмиугольная форма.
Нагревательная панель 2 сформирована как единое целое с двумя соединительными частями 8 для среды для подачи и отвода горячей воды на двух противоположных углах нагревательной панели 2 в диагональном направлении. Соединительные части 8 прикрепляются к соединительным частям других нагревательных панелей с помощью дополнительных соединительных элементов соответственно.
Скрепление между нагревательными панелями можно выполнять посредством соединения соединяющих панели частей 10, сформированных на соответствующих сторонах каждой из нагревательных панелей 2, с использованием дополнительных крепежных элементов.
На фиг.3 показан разрез по линии А-А на фиг.1, в котором верхняя и нижняя плиты 4 и 6 снабжены множеством соединительных элементов 4а и 6а и внутренним проходом 12 для среды. Среди соединительных элементов 4а и 6а, состоящих из верхних соединительных элементов 4а и нижних соединительных элементов 6а, каждый из верхних соединительных элементов 4а проходит от верхней плиты 4 к нижней плите 6, а каждый из нижних соединительных элементов 6а проходит от нижней плиты 6 к верхней плите 4, так что верхний и нижний соединительные элементы 4а и 6а проходят симметрично, соединяя верхнюю и нижнюю плиты.
Соединительные элементы 4а и 6а служат не только для предотвращения деформации верхней и нижней плит 4 и 6 под действием внешней силы за счет опоры верхней и нижней плит 4 и 6, но также задают внутренний проход для среды, обеспечивающий протекание через него горячей воды при одновременном создании сопротивления протеканию горячей воды с целью равномерного распределения горячей воды в панели без концентрации или задержки в специфических местах нагревательной панели 2.
Как показано на фиг.3, верхние и нижние соединительные элементы 4а и 6а предпочтительно имеют круговое поперечное сечение. В качестве альтернативного решения верхние и нижние соединительные элементы 4а и 6а могут иметь другое многоугольное поперечное сечение, такое как прямоугольное поперечное сечение, шестиугольное поперечное сечение и т.п. Верхние и нижние соединительные элементы 4а и 6а, имеющие заданный диаметр, расположены по заданной схеме и размещены на заданном расстоянии от смежных верхних и нижних соединительных элементов 4а и 6а соответственно. Верхние и нижние соединительные элементы 4а и 6а имеют цилиндрические структуры с отрицательным углом, проходящие от верхней и нижней плиты 4 и 6 и имеющие диаметр, постепенно уменьшающийся от верхней и нижней плиты 4 и 6 к нижней плоскости, расположенной у центра соединительных элементов 4а и 6а.
Хотя нагревательная панель 2 согласно данному изобретению сформирована как единое целое с верхней и нижней плитами 4 и 6, для удобства описания нагревательная панель 2 разделена на верхнюю и нижнюю плиты 4 и 6 и верхние и нижние соединительные элементы 4а и 6а встречаются на центральной оси в горизонтальном направлении. Кроме того, поскольку соединительные элементы 4а и 6а проходят от верхней и нижней плит 4 и 6 соответственно, то граница между верхними и нижними соединительными элементами 4а и 6а задается от нижней и верхней частей d и d’ (не изображены на фигурах), где верхние и нижние соединительные элементы 4а и 6а начинают проходить от верхней и нижней плит 4 и 6 до нижней плоскости b верхних и нижних соединительных элементов 4а и 6а, где верхние и нижние соединительные элементы 4а и 6а контактируют друг с другом, соединяя верхнюю и нижнюю плиты 4 и 6.
Согласно одному варианту выполнения данного изобретения с целью придания верхней и нижней частям внутреннего прохода 12 для среды цилиндрической или эллиптической формы верхняя и нижняя части d и d’, где верхние и нижние соединительные элементы 4а и 6а начинают проходить от верхней и нижней плит 4 и 6, могут быть округленными. Кроме того, верхние и нижние соединительные элементы 4а и 6а могут быть сформированы в виде конструкции с канавкой, при которой верхние и нижние соединительные элементы 4а и 6а вдавлены по круговой периферии а нижней плоскости b соединительных элементов 4а и 6а соответственно. Дополнительно к этому нагревательная панель 2 может быть сформирована с выступающими соединяющими панели элементами 10 на четырех сторонах нагревательной панели 2 и каждый из выступающих соединяющих панели элементов 10 может быть сформирован с прямой канавкой с, в которой часть, смежная с внутренним проходом 12 для среды, углублена. Таким образом, при поперечном сечении внутреннего прохода для среды, сформированном с круговой или эллиптической формой, значительно улучшается сопротивление давлению нагревательной панели 2 в центральной отопительной системе высокого давления.
На фиг.4 и 5 частично показана на виде сверху и на виде снизу нагревательная панель с соединительными элементами, скрепленными с помощью болтов и гаек, согласно данному изобретению. Для увеличения прочности соединения нагревательной панели 2 после формирования отверстий заданного размера, пробитых через соединительные элементы 4а и 6а в частях, смежных с соединительными частями нагревательной панели 2, с использованием цилиндрического паяльника, имеющего высокую температуру, в пробитые отверстия соединительных элементов 4а и 6а вставляются болты 14 и затягиваются гайками 16, что обеспечивает фиксацию с большой силой соединительных элементов 4а и 6а друг с другом.
В результате пограничная плоскость в горизонтальном направлении между верхней и нижней плитами останавливается у болтов 14 и образуются новые пограничные плоскости между болтами 14 и верхней и нижней плитами 4 и 6 в вертикальном направлении. В соответствии с этим, даже хотя соединительные элементы 4а и 6а отделены друг от друга за счет первоначальной трещины, поскольку соединительные элементы 4а и 6а скреплены друг с другом с помощью болтов 14 и гаек 16, то напряжение не концентрируется или не передается в соседние соединительные элементы 4а и 6а и сопротивление давлению нагревательной панели повышается независимо от тепловых свойств смолы, из которой изготовлена нагревательная панель 2.
На фиг.6 показана нагревательная панель согласно данному изобретению, в которой в пробитых частях соединительных элементов 4а и 6а, смежных с соединительными частями для среды, соответствующими входам и выходам нагревательной панели 2, которые уязвимы по отношению к концентрирующимся в них напряжениям, предусмотрены болты 14 и гайки 16.
Таким образом, если распространение трещины сдерживается с помощью болтов 14 и гаек 16, то при возможном образовании трещины в соединительных элементах предотвращается ее быстрое распространение во все соединительные элементы, так что прочность соединения можно повысить независимо от типа смолы, применяемой для изготовления нагревательной панели, и формы соединительных элементов. Результаты испытаний показали, что сопротивление давлению нагревательной панели увеличивается примерно на 6 кгс/см2 по сравнению с обычной нагревательной панелью.
Как следует из приведенного выше описания, входы и выходы нагревательной панели, подвергаемые воздействию концентрированных напряжений, усиливаются с помощью болтов и гаек, что увеличивает прочность соединения нагревательной панели. Дополнительно к этому за счет такой конструкции, даже если создается трещина, то она вынуждена изменять направление своего распространения и останавливает распространение, улучшая тем самым сопротивление давлению нагревательной панели.
Следует понимать, что указанные выше варианты выполнения и прилагаемые чертежи приведены в целях иллюстрации и что данное изобретение ограничивается последующей формулой изобретения. Кроме того, для специалистов в данной области техники понятно, что возможны различные модификации, дополнения и замены без отхода от объема и идеи изобретения, изложенных в прилагаемой формуле изобретения.
Формула изобретения
Нагревательная панель, содержащая верхнюю и нижнюю плиты, сформированные как единое целое напротив друг друга с образованием внутреннего прохода для текучей среды, по которому протекает горячая вода; множество соединительных элементов, каждый из которых проходит симметрично от верхней и нижней плиты в направлении нижней и верхней плиты соответственно и соединяет верхнюю и нижнюю плиты друг с другом; внутренний проход для текучей среды, образованный внутри плиты с помощью множества соединительных элементов; две соединительных части для текучей среды для подачи и отвода горячей воды, при этом один или более соединительных элементов вблизи соединительных частей пробиты с образованием отверстий для скрепления пробитых частей соединительных элементов друг с другом с помощью болтов и гаек.
РИСУНКИ
|
|