|
|
(21), (22) Заявка: 2005106802/06, 09.03.2005
(24) Дата начала отсчета срока действия патента:
09.03.2005
(46) Опубликовано: 20.06.2006
(56) Список документов, цитированных в отчете о поиске:
SU 1025960 А, 30.06.1983. RU 2147102 A1, 27.03.2000. SU 1728578 A1, 23.04.1992. RU 2100693 C1, 27.12.1997. FR 2280861 A, 27.02.1976. DE 2458471 А, 12.02.1976.
Адрес для переписки:
191167, Санкт-Петербург, ул. Атаманская, 3/6, ОАО “НПО ЦКТИ”
|
(72) Автор(ы):
Белоусов Михаил Павлович (RU)
(73) Патентообладатель(и):
Открытое акционерное общество “Научно-производственное объединение по исследованию и проектированию энергетического оборудования им. И.И. Ползунова” (ОАО “НПО ЦКТИ”) (RU)
|
(54) ПОВЕРХНОСТНЫЙ ТЕПЛООБМЕННИК
(57) Реферат:
Изобретение относится к области энергетики и может быть использовано в теплообменных аппаратах регенеративных систем низкого и высокого давления паровых турбин или в теплообменных аппаратах систем теплоснабжения, предназначенных для подогрева воды за счет конденсации пара и охлаждения его конденсата. Предложен поверхностный теплообменник, включающий корпус с патрубками подвода пара и отвода его конденсата, водяную камеру с патрубками входа и выхода нагреваемой воды, трубную систему и встроенный охладитель конденсата с горизонтальными перегородками и вертикальными стенками, при этом перед патрубком отвода конденсата установлены трубы, нижний конец которых сообщен с отверстиями в вертикальных боковых стенках охладителя конденсата, расположенными ниже уровня конденсата в корпусе, а верхний конец присоединен к отверстиям в нижней горизонтальной перегородке первого хода конденсата в охладителе конденсата. Заявляемое решение позволяет предотвратить вскипание конденсата греющего пара и обеспечить противоточное движение теплообменивающихся сред, что приводит к интенсификации теплообмена в зоне охладителя конденсата и повышению экономичности теплообменника. 2 ил.
Изобретение относится к области энергетики и может быть использовано в теплообменных аппаратах регенеративных систем низкого и высокого давления паровых турбин или в теплообменных аппаратах систем теплоснабжения, предназначенных для подогрева воды за счет конденсации пара и охлаждения его конденсата.
Известен поверхностный подогреватель, содержащий корпус с патрубками подвода пара и отвода его конденсата, распределительную водяную камеру с патрубками подвода и отвода нагреваемой воды, трубную систему, расположенную под распределительной водяной камерой, часть труб поверхности теплообмена которой по всей высоте, установкой кожуха, выделена под охладитель конденсата (Отраслевой каталог «Теплообменное оборудование паротурбинных установок», часть I, 20-89-09, М.: ЦНИИТЭИТЯЖМАШ, 1989, с.52, рис.39).
Недостатком известного подогревателя является необходимость располагать распределительную камеру над трубами поверхности теплообмена, набранной, например, из U-образных труб, из которых в период вывода подогревателя из работы не представляется возможным слить (удалить) нагреваемую воду, а также использование под поверхность теплообмена охладителя конденсата всей длины труб первого хода, что уменьшает температурный напор и увеличивает поверхность теплообмена охладителя конденсата.
Известен теплообменник, включающий корпус с патрубками подвода пара и отвода его конденсата, распределительную водяную камеру с патрубками входа и выхода нагреваемой воды, трубную систему, расположенную над распределительной водяной камерой, при этом часть длины всех труб первого хода трубной системы установкой вертикальных и горизонтальных листов кожуха выделена под охладитель конденсата (SU №1025960, F 22 D 1/32; опубликовано 30.06.83).
По совокупности признаков этот известный теплообменник является наиболее близким к заявляемому и принимается за прототип.
Недостатком известного теплообменника является несовершенная конструкция охладителя конденсата, необходимость затопления части поверхности теплообмена зоны конденсации установкой короба для обеспечения поступления максимального количества конденсата греющего пара в охладитель конденсата, а также неопределенность в величине расхода конденсата пара через поверхность теплообмена, расположенную под охладителем конденсата, что требует увеличения расчетной поверхности теплообмена охладителя конденсата для гарантированного охлаждения конденсата.
Заявляемое решение позволяет предотвратить вскипание конденсата греющего пара и обеспечить противоточное движение теплообменивающихся сред, что приводит к интенсификации теплообмена в зоне охладителя конденсата и повышению экономичности теплообменника.
Предложен поверхностный теплообменник, включающий корпус с патрубками подвода пара и отвода его конденсата, водяную камеру с патрубками входа и выхода нагреваемой воды, трубную систему и встроенный охладитель конденсата с горизонтальными перегородками и вертикальными стенками, при этом перед патрубком отвода конденсата установлены трубы, нижний конец которых сообщен с отверстиями в вертикальных боковых стенках охладителя конденсата, расположенными ниже уровня конденсата в корпусе, а верхний конец присоединен к отверстиям в нижней горизонтальной перегородке первого хода конденсата в охладителе конденсата.
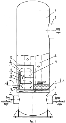
Изобретение иллюстрируется чертежами, где на фиг.1 изображен общий вид теплообменника, на фиг.2 – разрез по А-А.
Поверхностный теплообменник включает вертикальный корпус 1 с патрубками подвода греющего пара 2 и отвода его конденсата 3, водяную камеру 4 с патрубками входа 5 и выхода 6 нагреваемой воды, трубную доску 7, под которой расположена водяная камера 4, а над ней – трубная система 8. Охладитель конденсата 9 образован путем выделения части труб поверхности теплообмена в трубной системе 8 установкой боковых стенок 10, торцевой стенки 11 и промежуточной стенки 12. В охладителе конденсата 9 для организации направленного движения конденсата пара и повышения жесткости трубной системы установлены направляющие горизонтальные перегородки 13, 14, 15 и 16. Перед патрубком отвода конденсата 3 установлены трубы 17, располагаемые в канале, образованном боковыми стенками 10, промежуточной стенкой 12 и корпусом 1. Нижний конец труб 17 сообщен с отверстиями в вертикальных боковых стенках 10 охладителя конденсата 9, расположенными ниже уровня конденсата в корпусе 1, а верхний конец присоединен к отверстиям в нижней горизонтальной перегородке 14 первого хода конденсата в охладителе конденсата 9.
Теплообменник работает следующим образом
Нагреваемая вода через патрубок 5 поступает в водяную камеру 4, затем в трубы поверхности теплообмена первого хода, выделенные под охладитель конденсата 9. Далее нагреваемая вода проходит в трубах первого хода, затем второго, нагревается за счет конденсации пара на них и выводится через патрубок 6 на водяной камере 4. Поток греющего пара через патрубок 2 поступает в корпус 1, где конденсируется на трубах поверхности теплообмена трубной системы 8, конденсат греющего пара стекает в нижнюю часть корпуса 1 и накапливается на трубной доске 7 до величины нормального уровня. Через отверстия, расположенные в боковых стенках 10 ниже уровня конденсата на трубной доске 7, конденсат пара с температурой, равной или близкой к температуре насыщения при давлении пара в корпусе, по трубам 17 направляется в верхний отсек охладителя конденсата 9, расположенный между горизонтальными перегородками 13 и 14. Далее конденсат греющего пара при противотоке совершает при поперечном омывании труб поверхности теплообмена несколько (4 хода) ходов, охлаждается и выводится из теплообменника через патрубок 3. При поступлении конденсата с температурой насыщения в трубы 17, он в них охлаждается за счет омывания этих труб охлажденным конденсатом, прошедшим весь охладитель конденсата 9 и имеющим температуру значительно ниже температуры насыщения. Благодаря охлаждению конденсата в трубах 17 предотвращается его вскипание в них и обеспечивается работоспособность охладителя в целом.
Формула изобретения
Поверхностный теплообменник, включающий корпус с патрубками подвода пара и отвода его конденсата, водяную камеру с патрубками входа и выхода нагреваемой воды, трубную систему и встроенный охладитель конденсата с горизонтальными перегородками и вертикальными стенками, отличающийся тем, что перед патрубком отвода конденсата установлены трубы, нижний конец которых сообщен с отверстиями в вертикальных боковых стенках охладителя конденсата, расположенными ниже уровня конденсата в корпусе, а верхний конец присоединен к отверстиям в нижней горизонтальной перегородке первого хода конденсата в охладителе конденсата.
РИСУНКИ
|
|