|
|
(21), (22) Заявка: 2004120482/28, 06.07.2004
(24) Дата начала отсчета срока действия патента:
06.07.2004
(43) Дата публикации заявки: 20.12.2005
(46) Опубликовано: 20.06.2006
(56) Список документов, цитированных в отчете о поиске:
US 5063485 A, 05.11.1991. JP 2003-039898 A, 13.02.2003. JP 2002-289003 A, 04.10.2002. RU 2044950 C1, 27.09.1995.
Адрес для переписки:
121165, Москва, а/я 15, ООО “ППФ-ЮСТИС, пат.пов. А.Е.Груниной
|
(72) Автор(ы):
Рясной Дмитрий Вениаминович (RU)
(73) Патентообладатель(и):
Рясной Дмитрий Вениаминович (RU)
|
(54) УСТРОЙСТВО ДЛЯ ПОДСВЕТКИ ЦВЕТОВ И КОМНАТНЫХ РАСТЕНИЙ
(57) Реферат:
Изобретение относится к осветительным устройствам, предназначенным для подсветки цветов или растений. Устройство для подсветки содержит корпус с размещенной в нем частью электрической цепи и, по меньшей мере, одним выводом, расположенным на поверхности корпуса и выполненным с возможностью разъемного соединения с другой частью электрической цепи, являющейся средством подсветки, выполненным в виде отрезка провода, один конец которого имеет разъем, ответный разъему вывода, а другой конец соединен со светоизлучающим диодом. Технический результат – улучшение эксплуатационных свойств устройства, повышение безопасности в эксплуатации. 7 з.п. ф-лы, 5 ил.
Изобретение относится к декоративному искусству, а именно к стационарным или переносным осветительным устройствам, предназначенным для локальной подсветки цветов или комнатных растений с целью получения декоративного эффекта.
Широко известны электрические гирлянды для украшения елок. Также известно использование световодов для подсветки водяных струй в фонтанах (RU 2105238, кл. F 21 Р 7/00, 1998), в том числе в декоративном фонтане в виде елочки (RU 2117212, кл. F 21 S 10/00, опубл. 10.08.1998).
Других аналогов, более близких к предложенному решению, не обнаружено.
Задача изобретения состоит в получении декоративного эффекта, связанного с искусственной подсветкой букета цветов или комнатных растений, при этом холодный свет подсветки не оказывает отрицательного влияния на живые растения.
Технический результат изобретения связан с улучшением эксплуатационных свойств устройства путем обеспечения его автономности, повышения удобства и безопасности в эксплуатации, а также расширением ассортимента подобных устройств и предоставлением возможности для проявления потребителем творчества при составлении новых композиций световых букетов.
Кроме того, устройство характеризуется долговечностью, поскольку в качестве осветительных средств используются светодиоды, которые могут работать до 100 часов от одного элемента питания.
Поставленная задача и технический результат решены с помощью следующей совокупности признаков.
Предложенное устройство для подсветки преимущественно живых цветов и комнатных растений содержит корпус, внутри которого размещена часть электрической цепи, имеющая, по меньшей мере, один вывод, размещенный на поверхности корпуса и выполненный с возможностью разъемного соединения с другой частью электрической цепи, являющейся средством подсветки, выполненным в виде преимущественно гибкого, заключенного в оболочку отрезка провода, один конец которого имеет разъем, ответный разъему вывода, и предназначен для соединения с размещенным в технологическом отверстии корпуса выводом электрической цепи, а на другом конце размещен светоизлучающий диод.
По одному из вариантов изобретения, в электрическую цепь включены реостат, блок питания, таймер и выключатель, установленный на поверхности корпуса устройства.
Электрическая цепь может работать и от стационарного источника питания.
По другому варианту изобретения электрическая цепь включает автономную батарейку, соединенную с размещенным снаружи корпуса или непосредственно на нем выключателем.
Водонепроницаемый корпус устройства может быть выполнен в виде вазы или горшка, имеющего полость для непосредственного размещения цветов или размещения среды их содержания (воды, земли и др.), или в указанную полость может быть установлена специальная емкость для вышеназванного.
Как правило, устройство содержит ряд выводов, установленных в верхней части корпуса, например по периметру торца вазы или горшка.
По другому варианту корпус устройства выполнен в виде подставки, например, под горшок.
Также корпус устройства может иметь основание, соединенное с преимущественно телескопической стойкой, вдоль или в верхней части которой размещен ряд выводов, при этом стойка выполнена с возможностью установки внутри вазы или горшка или за ними, но может использоваться и самостоятельно.
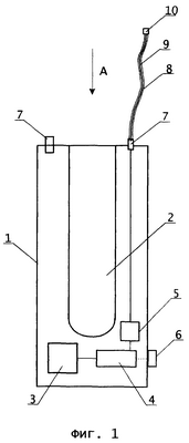
Изобретение поясняется чертежами, где на фиг.1 схематично изображено устройство для подсветки цветов в виде вазы (в разрезе); на фиг.2 – вид по стрелке А на фиг.1; на фиг.3 – вариант устройства со стойкой; на фиг.4 – вариант устройства в виде подставки под горшок; на фиг.5 – вариант переносного устройства.
Изображенный на фиг.1 один из преимущественных вариантов устройства для подсветки цветов, выполненного в виде вазы, состоит из корпуса 1, изготовленного из любого подходящего материала, внутри которого образована полость 2, предназначенная непосредственно для размещения стеблей цветов, и/или воды, и/или земли, песка и т.п., или для размещения емкости, внутрь которой помещают вышеназванное. В полости донной части корпуса 1 размещены элементы электрической цепи, такие как: автономный блок питания 3, реостат 4, таймер 5 (может не быть), размещенный снаружи корпуса выключатель 6. Электрическая цепь проводами соединена с выводами 7, каждый из которых представляет собой одну часть разъема, вмонтированного в корпус устройства заподлицо и размещенного в верхней части вазы, в случае выполнения ряда разъемов – преимущественно по периметру ее торца (фиг.2). Каждый вывод 7 выполнен с возможностью его соединения со средством подсветки 8, выполненным в виде гибкого тонкого, заключенного в оболочку провода 9, на одном конце которого образована вторая часть разъема, а на оппозитном первому конце размещен светоизлучающий диод (светодиод) 10.
Средства подсветки 8 могут быть различной длины и иметь светодиоды разного цвета, угла освещения, и других технических характеристик. Их количество может быть разным.
Корпус предложенного устройства может быть выполнен в виде подставки 11 под горшок 12 с комнатным растением (фиг.4). В этом варианте выполнения средства подсветки 8 размещают сзади горшка.
Устройство также может быть выполнено в виде световой стойки (фиг.3), состоящей из основания 13, соединенного с полой, преимущественно телескопической стойкой 14, вдоль которой на одинаковом расстоянии друг от друга размещены электрические выводы 15, предназначенные для соединения с необходимым количеством средств подсветки 8 и имеющие электрическую связь посредством проложенных в полости стойки 14 проводов с электрооборудованием, размещенным внутри основания 13, на поверхности которого размещен выключатель (не показан).
Изображенный на фиг.3 вариант устройства может использоваться как самостоятельно, так и совместно с вазой или горшком 16, внутрь которого помещают цветы или растения. В этом случае стойка располагается рядом с вазой или горшком, или за ними.
Средства подсветки могут располагаться на площадке, установленной в верхней части стойки 14 (не показаны). В этом варианте они проводятся под или над стойкой, или за цветы или растения.
Следующий вариант устройства, изображенный на фиг.5, включает полый водонепроницаемый корпус 17, внутрь которого вмонтирована электрическая батарейка 18, а соединенная с ней и закрепленная на длинном проводе кнопка-выключатель 19 размещена снаружи корпуса 17. На корпусе расположены выводы, соединенные со средствами световой подсветки 8. В этом варианте указанные средства вместе с корпусом могут располагаться внутри букета, который может «гореть» автономно, усиливая декоративный эффект последнего.
Вышеперечисленные варианты выполнения устройства не исчерпывают всего многообразия возможных вариантов его выполнения и использования, основанных на предложенном техническом решении.
Предложенное фитоустройство (живой свет), позволяет не только украсить быт и создать оригинальные композиции из цветов, в том числе букеты, но и развить творческие способности человека.
Формула изобретения
1. Устройство для подсветки живых цветов и комнатных растений, содержащее корпус с размещенной в нем частью электрической цепи и, по меньшей мере, одним выводом, расположенным на поверхности корпуса и выполненным с возможностью разъемного соединения с другой частью электрической цепи, являющейся средством подсветки, выполненным в виде отрезка провода, один конец которого имеет разъем, ответный разъему вывода, а другой конец соединен со светоизлучающим диодом.
2. Устройство по п.1, в котором отрезок провода заключен в оболочку и выполнен гибким.
3. Устройство по п.1, в котором электрическая цепь включает батарейку, соединенную с выключателем, размещенным снаружи корпуса.
4. Устройство по п.1, в котором электрическая цепь включает блок питания, реостат, таймер и выключатель.
5. Устройство по п.1, в котором корпус выполнен в виде вазы или горшка с полостью для размещения цветов или среды их содержания.
6. Устройство по п.5, которое содержит ряд выводов, установленных по периметру верхнего торца вазы или горшка.
7. Устройство по п.1, в котором корпус выполнен в виде подставки, например, под горшок.
8. Устройство по п.1, в котором корпус имеет основание, соединенное с полой стойкой, а ряд выводов размещен вдоль или в верхней части стойки, при этом стойка выполнена с возможностью установки рядом или внутри вазы или горшка.
РИСУНКИ
MM4A – Досрочное прекращение действия патента СССР или патента Российской Федерации на изобретение из-за неуплаты в установленный срок пошлины за поддержание патента в силе
Дата прекращения действия патента: 07.07.2007
Извещение опубликовано: 20.02.2009 БИ: 05/2009
|
|