|
| На основании пункта 3 статьи 13 Патентного закона Российской Федерации от 23 сентября 1992 г. № 3517-I патентообладатель обязуется передать исключительное право на изобретение (уступить патент) на условиях, соответствующих установившейся практике, лицу, первому изъявившему такое желание и уведомившему об этом патентообладателя и федеральный орган исполнительной власти по интеллектуальной собственности, – гражданину РФ или российскому юридическому лицу. |
|
(21), (22) Заявка: 2004126635/28, 30.08.2004
(24) Дата начала отсчета срока действия патента:
30.08.2004
(43) Дата публикации заявки: 27.02.2006
(46) Опубликовано: 20.06.2006
(56) Список документов, цитированных в отчете о поиске:
RU 2224173 C1, 20.02.2004. US 5246285 A1, 21.09.1993. SU 22782 A1, 30.09.1931. SU 1326830 A2, 30.07.1987.
Адрес для переписки:
603104, г.Нижний Новгород, ул. Медицинская, 16-84, П.В. Колпакову
|
(72) Автор(ы):
Колпаков Павел Валентинович (RU)
(73) Патентообладатель(и):
Колпаков Павел Валентинович (RU)
|
(54) ЭТАЖНЫЙ СВЕТИЛЬНИК
(57) Реферат:
Изобретение относится к осветительному оборудованию и предназначается для использования на этажных площадках жилых домов. Этажный светильник содержит корпуса светильника и электромеханического таймера, токоподвод, электролампы, патроны и фиксатор. В устройство также введены микропереключатели и флажки. Электромеханический таймер имеет возможность поворота вокруг продольной оси и фиксации в крайних положениях на фиксаторы положения, когда каждый флажок включает соответствующий микропереключатель и соответствующую лампу, количество которых, установленных последовательно, равно двум, причем благодаря токоподводу они взаимодействуют через микропереключатели с электромеханическим таймером посредством упомянутых флажков. Также в светильнике имеется общий выключатель и антивандальная защита, обеспечивающая неразборное применение корпусов, стекла и рефлектора. Технический результат – упрощение конструкции, повышение надежности устройства. 2 ил.
Изобретение относится к осветительному оборудованию и предназначается для коллективного использования на этажных площадках жилых домов.
Известен патент РФ “Светильник” F 21 V 14/04 № 2224173 от 2004.02.20, выбранный в качестве ближайшего аналога, содержащий наружный корпус и поворотный внутренний корпус, взаимодействующий с наружным по сфере, фиксатор поворота вокруг продольной оси, лампу, токоподводящее устройство, рефлектор и стекло, кроме того в устройстве имеются контакты, патрон лампы, а рефлектор навинчен на патрон лампы и стекло.
Недостатком устройства является ограниченная область применения для индивидуального использования в салонах транспортных средств и сложная компоновка.
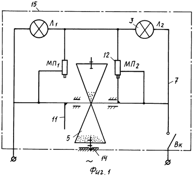
Сущность изобретения. Этажный светильник содержит корпуса 9 и 10, токоподвод 7, электролампы 3, патроны 6 и фиксаторы 14 положений электромеханического таймера 5 в соответствующем корпусе 9, а кроме того, флажки 11 и микропереключатели 12, при этом корпус светильника 10 и корпус электромеханического таймера 9 связаны токоподводом 7, а электромеханический таймер 5 имеет возможность поворота вокруг продольной оси и фиксации в крайних положениях, посредством фиксаторов 14, когда каждый флажок 11 на продольной оси электромеханического таймера 5 включает соответствующий микропереключатель 12 и соответствующую лампу 3, количество которых, установленных последовательно, равно двум, причем благодаря токоподводу 7 они взаимодействуют через микропереключатели 12 с электромеханическим таймером 5 посредством упомянутых флажков 11, кроме того, в устройстве имеется общий выключатель Вк и антивандальная защита 15, обеспечивающая неразборное применение корпусов 9 и 10, стекла 4 и рефлектора 1.
Устройство выполнено неразборным для повышения надежности и рассчитывается на одноразовое применение, т.к. в связи с длительным сроком службы электроламп, обусловленных работой устройства по описанию, не предусматривается замена последних или деталей, входящих в устройство, т.к. замене подлежит устройство в целом, если будет выработан его ресурс.
Устройство показано на фиг.1 и 2, где фиг.1 – схема, а фиг.2 – общий вид светильника соответственно.
Светильник содержит: 1 – рефлектор, 2 – цоколь светильника, 3 – электолампы /2 шт./, 4 – стекло, 5 – электромеханический таймер, содержащий элетропроводную крошку из цветных металлов, скользящую по внутренним контактам муфты, соединяющей две половины корпуса электромеханического таймера 5, 8 – контакты, 9 – корпус установки дет. поз.5, 11, 12, 14, 6 – патроны электроламп 3, 7 – токоподвод, обеспечивающий поворот вдоль продольной оси электромеханического таймера 5, 10 – корпус светильника, 11 – флажки, 12 – МП-микропереключатели, 14 – фиксатор крайних вертикальных положений электромеханического таймера 5, элементы устройства, а именно: 4 – стекло, 1 – рефлектор, корпуса 9 и 10 должные иметь антивандальную защиту одноразового использования 15, показанную условно.
Показанный на фиг.2 этажный светильник отрабатывает схему фиг.1 экономного освещения этажной площадки последовательно включенными электролампами 3 Л1 и Л2 при замкнутом общем выключателе Вк, при этом лампы светят вполнакала. В качестве дополнительного элемента полуавтоматики в схему введен электромеханический таймер 5, микроперключатели 12 и флажки 11, при этом для включения дежурного освещения необходимо перевернуть корпус электромеханического таймера 5 до установки на фиксатор положения 14, тогда согласно положению на фиг.1 правый флажок 11 включает соответствующий МП2-12 и правая лампа Л2 будет освещать этажную площадку дежурным светом, достаточным, например, для открывания ключом замка двери, уборки и т.п., затем электромеханический таймер 5 снова приводит схему в режим экономного освещения через лимитированный промежуток времени, обусловленный его работой, при перевертывании корпуса последнего теперь левый флажок 11 замыкает соответствующий МП1 на дежурное освещение левой лампой Л1, т.е. цикл повторяется многократно, а в его промежутках лампы Л1 и Л2 работают последовательно включенными вполнакала, что целесообразно продолжает срок их службы.
Таким образом устройство преимущественно работает вполнакала, а переключение на дежурное освещение осуществляется плавно и равномерно, что обеспечивает значительный срок службы электроламп, т.е. такой, что антивандальная защита 15 этажного светильника может делать его прибором одноразового использования неразборным и быть при этом очень надежной, что повышает эксплуатационные возможности устройства в целом.
Формула изобретения
Этажный светильник, содержащий корпуса, токоподвод, электролампы, патроны и фиксатор, отличающийся тем, что в устройство введен электромеханический таймер, микропереключатели и флажки, а кроме того, корпус светильника и корпус электромеханического таймера, при этом электромеханический таймер имеет возможность поворота вокруг продольной оси и фиксации в крайних положениях на фиксаторы положения, когда каждый флажок включает соответствующий микропереключатель и соответствующую лампу, количество которых, установленных последовательно, равно двум, причем благодаря токоподводу они взаимодействуют через микропереключатели с электромеханическим таймером посредством упомянутых флажков, кроме того, в устройстве имеется общий выключатель и антивандальная защита, обеспечивающая неразборное применение корпусов, стекла и рефлектора.
РИСУНКИ
|
|