|
|
(21), (22) Заявка: 2003125878/06, 07.01.2002
(24) Дата начала отсчета срока действия патента:
07.01.2002
(30) Конвенционный приоритет:
22.01.2001 US 09/765,446
(43) Дата публикации заявки: 10.01.2005
(46) Опубликовано: 20.06.2006
(56) Список документов, цитированных в отчете о поиске:
US 5983778 А, 16.11.1999. SU 176497 A, 02.11.1965. SU 1388591 A1, 15.04.1988. JP 56116905 A, 14.09.1981. DE 8514857 U, 27.06.1985. FR 2433121 A1, 07.03.1980. FR 2433121 A1, 07.03.1980. GB 831000 А, 23.03.1960. US 4008648 А, 22.02.1977.
(85) Дата перевода заявки PCT на национальную фазу:
22.08.2003
(86) Заявка PCT:
CA 02/00021 (07.01.2002)
(87) Публикация PCT:
WO 02/057636 (25.07.2002)
Адрес для переписки:
129010, Москва, ул. Б.Спасская, 25, стр.3, ООО “Юридическая фирма Городисский и Партнеры”, пат.пов. С.А.Дорофееву
|
(72) Автор(ы):
ДОСОН Стивен Клэр (CA)
(73) Патентообладатель(и):
ДОСОН ХАЙДРОЛИКС ИНК. (CA)
|
(54) ТЕЛЕСКОПИЧЕСКИЙ ГИДРАВЛИЧЕСКИЙ ПОДЪЕМНИК
(57) Реферат:
Изобретение относится к гидравлическим подъемникам, в частности к телескопическим гидравлическим подъемникам. Базовый элемент подъемника имеет углубление, в которое входят промежуточные и внутренняя трубчатые ступени, когда подъемник находится в полностью собранном положении, а стопорная манжета на сальниковых муфтовых подшипниках перекрывает выдвигаемый конец следующей более широкой трубчатой ступени, определяя предел втягивания для каждой промежуточной трубчатой ступени, так, что трубчатая ступень при полном втягивании соприкасается с выдвигаемым концом следующей более широкой ступени без использования стопорных колец. Улучшается устойчивость и жесткость в выдвинутом положении с максимальной длиной подъемника, продляется срок службы, упрощается сборка, снижается стоимость элементов. 4 н. и 13 з.п. ф-лы, 9 ил.
Область изобретения
Данное изобретение относится к гидравлическим подъемникам. В частности, данное изобретение относится к телескопическому гидравлическому подъемнику, имеющему множество выдвигающихся трубчатых ступеней.
Существующий уровень техники
Телескопические гидравлические подъемники используются во многих областях. Одним распространенным использованием для телескопических гидравлических подъемников является использование в грузовых тележках, например в опрокидывающихся тележках, для которых необходимо иметь сильный жесткий подъемный механизм, чтобы поднимать тележечный контейнер или поддон тележки для выгружаемых тяжелых материалов, таких как булыжники, земля, гравий и т.д.
В патенте США №5983778, выданном 16 ноября 1999 на имя Dawson, на «Телескопическое гидравлическое подъемное устройство», который включен сюда посредством ссылки, описан телескопический гидравлический подъемник, выполненный из нержавеющего материала, такого как алюминий. Этот подъемник снабжен подшипниками и гидравлическими сальниками, размещенными рядом с донной частью каждой подвижной ступени подъемника. Подшипники и сальники размещены внутри подъемника и тем самым не подвержены пыли или частицам, находящимся снаружи подъемника. Воздух входит в воздушные пространства между соседними ступенями подъемника и выходит из них через воздушные отдушины, которые предусмотрены в сальниковых муфтовых подшипниках, навинченных на выдвигаемый конец каждой трубчатой ступени.
Описанный в патенте США №5983778 подъемник также включает ударные ограничители переменной длины, которые ограничивают выдвижение трубчатых ступеней до переменных величин, и прокладочный элемент, который частично закрывает гидравлическое впускное отверстие, когда самая внутренняя ступень полностью вдвинута, чтобы замедлить движение подъемника в конечных стадиях втягивания. Однако для конструкций подъемников типично, что вдвигающее перемещение различных трубчатых ступеней в телескопическом подъемнике ограничивается использованием стопорного кольца, расположенного вблизи дна внутреннего диаметра каждой трубчатой ступени, что предотвращает дальнейшее втягивание каждой подвижной ступени, если она достигла полностью собранного положения.
Стопорное кольцо содержит шайбу, приваренную к внутренней стенке, или механически обработанную кольцевую вставку, которая вставляется в канавку, окружающую внутреннюю стенку трубчатой ступени. Это определяет точку потенциальной слабины в конструкции подъемника, поскольку в первом случае качество сварки будет влиять на характеристики и долговечность трубчатой ступени, а в последнем случае канавка создает слабое место вокруг трубчатой стенки. Кроме того, кольцо может смещаться из ступени или как-то иначе деформироваться, вызывая невозможность для трубчатой ступени пройти через следующую более широкую трубчатую ступень, когда подъемник вдвигается, и приводя к разрушению подъемника.
Кроме того, дифференциальные диаметры трубчатых ступеней влияют на жесткость или устойчивость подъемника в выдвинутом положении. При постоянной толщине стенок по мере уменьшения диаметра каждой трубчатой ступени длина трубчатой ступени, которая может безопасно выдвигаться за следующую более широкую трубчатую ступень, также уменьшается. Увеличение толщины стенок трубчатых ступеней усилило бы устойчивость подъемника, но это нежелательное решение, так как оно увеличит и вес подъемника.
Одним из способов увеличения устойчивости конструкции подъемника является увеличение перекрытия между смежными трубчатыми ступенями подъемника, когда он находится в полностью выдвинутом положении. Чем больше перекрытие между одной телескопической ступенью и следующей, тем более жесткой и устойчивой является конструкция выдвинутого подъемника. Однако увеличение перекрытия между смежными трубчатыми ступенями соответственно уменьшит полезную длину каждой трубчатой ступени и соответственно ограничит максимальную длину выдвижения подъемника.
Сущность изобретения
В настоящем изобретении эти недостатки устраняются за счет обеспечения телескопического гидравлического подъемника, который улучшает устойчивость и жесткость в выдвинутом положении с максимальной длиной подъемника. Подъемник согласно изобретению улучшает устойчивость за счет обеспечения большего перекрытия между трубчатыми ступенями. Изобретение исключает необходимость в стопорном кольце и тем самым обеспечивает телескопический гидравлический подъемник с меньшим числом частей с машинной обработкой, которые могут смещаться или ломаться при работе, чтобы благодаря этому продлить срок службы подъемника, упростить сборку подъемника, снизить стоимость элементов подъемника и исключить слабину, возникающую от выполнения канавки или использования сварки, необходимых для удержания на месте стопорного кольца в обычном подъемнике, за счет того, что стенка трубчатой ступени выполняется равномерной толщины.
Это достигается посредством базового элемента с углублением, в которое проходят промежуточная и внутренняя трубчатые ступени, когда подъемник находится в полностью собранном положении. Это также достигается посредством выполнения стопорной манжеты на сальниковых муфтовых подшипниках, которые обеспечивают предел втягивания для каждой промежуточной трубчатой ступени, причем эта манжета выступает за внутренний предел следующей более широкой трубчатой ступени так, что трубчатая ступень тем самым соприкасается при полном втягивании со следующей более широкой трубчатой ступенью без необходимости использования дополнительных элементов, таких как стопорные кольца.
Настоящее изобретение представляет собой телескопический многоступенчатый гидравлический подъемник, содержащий впускное отверстие гидравлической жидкости, связанное с внутренней частью подъемника, внутреннюю трубчатую ступень с вмещаемым концом и выдвигаемым концом, по меньшей мере, одну промежуточную трубчатую ступень, имеющую вмещаемый конец и открытый выдвигаемый конец и содержащую промежуточный сальниковый муфтовый подшипник, закрепленный на открытом конце, по меньшей мере, одной промежуточной трубчатой ступени, при этом внутренняя трубчатая ступень расположена телескопически в, по меньшей мере, одной промежуточной трубчатой ступени и выполнена с возможностью выдвигания через открытый конец, по меньшей мере, одной промежуточной трубчатой ступени в выдвинутое положение и с возможностью втягивания через открытый конец, по меньшей мере, одной промежуточной трубчатой ступени в собранное положение, причем промежуточный сальниковый муфтовый подшипник содержит грязесъемник, окружающий внутреннюю трубчатую ступень для предотвращения попадания загрязнений в пространство между внутренней трубчатой ступенью и промежуточной трубчатой ступенью, наружную трубчатую ступень, имеющую первый конец и второй открытый конец и содержащую наружный сальниковый муфтовый подшипник, закрепленный на открытом конце наружной трубчатой ступени, и базовый элемент, закрепленный с уплотнением на первом конце наружной трубчатой ступени, причем, по меньшей мере, одна промежуточная трубчатая ступень отделена от наружной трубчатой ступени наружным сальниковым муфтовым подшипником и выполнена с возможностью выдвигания через открытый конец наружной трубчатой ступени в выдвинутое положение и с возможностью втягивания через открытый конец наружной трубчатой ступени в собранное положение, при этом выдвигаемый конец, по меньшей мере, внутренней трубчатой ступени содержит стопорную манжету, которая выступает из сальникового муфтового подшипника и перекрывает выдвинутый конец, по меньшей мере, одной промежуточной трубчатой ступени так, что эта стопорная манжета соприкасается с сальниковым муфтовым подшипником, по меньшей мере, одной промежуточной трубчатой ступени, а часть стопорной манжеты, которая соприкасается с сальниковым муфтовым подшипником промежуточной трубчатой ступени, снабжена кольцевым углублением, в которое входит грязесъемник, когда внутренняя трубчатая ступень находится в полностью собранном положении.
Кроме того, базовый элемент содержит углубление, причем вмещаемый конец внутренней трубчатой ступени входит в это углубление в базовом элементе, когда подъемник находится в полностью собранном положении.
Кроме того, базовый элемент сцеплен с помощью резьбы с наружной трубчатой ступенью.
Кроме того, базовый элемент содержит шейку с резьбой для сцепления с наружной трубчатой ступенью.
Кроме того, по меньшей мере, одна промежуточная трубчатая ступень упирается в шейку базового элемента, когда находится в полностью собранном положении.
Настоящее изобретение также относится к телескопическому многоступенчатому гидравлическому подъемнику, содержащему впускное отверстие гидравлической жидкости, связанное с внутренней частью подъемника, внутреннюю трубчатую ступень с вмещаемым концом и выдвигаемым концом, по меньшей мере, одну промежуточную трубчатую ступень, имеющую вмещаемый конец и открытый выдвигаемый конец и содержащую промежуточный сальниковый муфтовый подшипник, закрепленный на открытом конце, по меньшей мере, одной промежуточной трубчатой ступени, причем, по меньшей мере, одна промежуточная трубчатая ступень телескопически расположена в следующей более широкой трубчатой ступени и выполнена с возможностью выдвигания через открытый конец следующей более широкой трубчатой ступени в выдвинутое положение и с возможностью втягивания через открытый конец следующей более широкой трубчатой ступени в собранное положение, при этом внутренняя трубчатая ступень расположена телескопически в, по меньшей мере, одной промежуточной трубчатой ступени и выполнена с возможностью выдвигания через открытый конец, по меньшей мере, одной промежуточной трубчатой ступени в выдвинутое положение и с возможностью втягивания через открытый конец, по меньшей мере, одной промежуточной трубчатой ступени в собранное положение, причем промежуточный сальниковый муфтовый подшипник содержит грязесъемник, окружающий внутреннюю трубчатую ступень для предотвращения попадания загрязнений в пространство между внутренней трубчатой ступенью и промежуточной трубчатой ступенью, наружную трубчатую ступень, имеющую первый конец и второй открытый конец и содержащую наружный сальниковый муфтовый подшипник, закрепленный на открытом конце наружной трубчатой ступени, и базовый элемент, закрепленный с уплотнением на первом конце наружной трубчатой ступени, причем, по меньшей мере, одна промежуточная трубчатая ступень отделена от наружной трубчатой ступени наружным сальниковым муфтовым подшипником и выполнена с возможностью выдвигания через открытый конец наружной трубчатой ступени в выдвинутое положение и с возможностью втягивания через открытый конец наружной трубчатой ступени в собранное положение, выдвигаемый конец, по меньшей мере, внутренней трубчатой ступени содержит стопорную манжету, которая выступает из сальникового муфтового подшипника и перекрывает выдвинутый конец следующей более широкой трубчатой ступени, а часть стопорной манжеты, которая соприкасается с сальниковым муфтовым подшипником следующей более широкой трубчатой ступени, снабжена кольцевым углублением, в которое входит грязесъемник следующей более широкой трубчатой ступени, когда одна трубчатая ступень находится в полностью собранном положении, при этом, когда внутренняя трубчатая ступень достигает полностью собранного положения, стопорная манжета внутренней трубчатой ступени соприкасается с сальниковым муфтовым подшипником следующей более широкой трубчатой ступени.
Кроме того, подъемник содержит множество промежуточных трубчатых ступеней.
Кроме того, базовый элемент содержит углубление, причем вмещаемый конец внутренней трубчатой ступени входит в это углубление в базовом элементе, когда подъемник находится в полностью собранном положении.
Кроме того, подъемник содержит множество промежуточных трубчатых ступеней, при этом, по меньшей мере, одна промежуточная трубчатая ступень входит в углубление в базовом элементе, когда подъемник находится в полностью собранном положении.
Кроме того, базовый элемент соединен с помощью резьбы с наружной трубчатой ступенью.
Кроме того, базовый элемент содержит шейку с резьбой для соединения с наружной трубчатой ступенью.
Кроме того, по меньшей мере, одна промежуточная трубчатая ступень упирается в шейку базового элемента, когда находится в полностью собранном положении.
Настоящее изобретение относится также к телескопическому многоступенчатому гидравлическому подъемнику, содержащему впускное отверстие гидравлической жидкости, связанное с внутренней частью подъемника, наружную трубчатую ступень, имеющую первый конец и второй открытый конец и содержащую наружный сальниковый муфтовый подшипник, закрепленный на открытом конце наружной трубчатой ступени, по меньшей мере, одну промежуточную трубчатую ступень, расположенную телескопически в наружной трубчатой ступени, причем, по меньшей мере, одна промежуточная трубчатая ступень имеет вмещаемый конец и выдвигаемый конец и содержит промежуточный сальниковый муфтовый подшипник, закрепленный на открытом конце, причем, по меньшей мере, одна промежуточная трубчатая ступень выполнена с возможностью выдвигания через открытый конец следующей более широкой трубчатой ступени или наружной трубчатой ступени в выдвинутое положение и с возможностью втягивания через открытый конец следующей более широкой трубчатой ступени или наружной трубчатой ступени в собранное положение, внутреннюю трубчатую ступень, расположенную телескопически в, по меньшей мере, одной промежуточной трубчатой ступени, причем внутренняя трубчатая ступень имеет вмещаемый конец и выдвигаемый конец и выполнена с возможностью втягивания через открытый конец, по меньшей мере, одной промежуточной трубчатой ступени в выдвинутом положении и с возможностью втягивания через открытый конец, по меньшей мере, одной промежуточной ступени в собранном положении, базовый элемент, закрепленный с уплотнением на первом конце наружной трубчатой ступени, причем базовый элемент содержит углубление и шейку, соединенную с помощью резьбы с наружной трубчатой ступенью, образуя стопорную конструкцию для самой широкой промежуточной трубчатой ступени и стопорную конструкцию для остановки втягивания внутренней трубчатой ступени, содержащей стопорную манжету, выступающую из сальникового муфтового подшипника, закрепленного на выдвигаемом конце внутренней трубчатой ступени, при этом вмещаемый конец, по меньшей мере, внутренней трубчатой ступени входит в углубление в базовом элементе, когда подъемник находится в полностью собранном положении.
Кроме того, подъемник содержит множество промежуточных трубчатых ступеней, причем, по меньшей мере, одна из множества промежуточных трубчатых ступеней содержит стопорную манжету.
Кроме того, стопорные манжеты соприкасаются с сальниковым муфтовым подшипником следующей более широкой трубчатой ступени.
Кроме того, каждый из сальниковых муфтовых подшипников содержит грязесъемник, а часть стопорной манжеты одной трубчатой ступени, которая соприкасается с сальниковым муфтовым подшипником следующей более широкой трубчатой ступени, снабжена кольцевым углублением, в которое выступает грязесъемник следующей более широкой трубчатой ступени, когда одна трубчатая ступень находится в полностью собранном положении.
Настоящее изобретение относится также к телескопическому многоступенчатому гидравлическому подъемнику, содержащему впускное отверстие гидравлической жидкости, связанное с внутренней частью подъемника, наружную трубчатую ступень, имеющую первый конец и второй открытый конец и содержащую наружный сальниковый муфтовый подшипник, закрепленный на открытом конце наружной трубчатой ступени, внутреннюю трубчатую ступень, расположенную телескопически в наружной трубчатой ступени, причем внутренняя трубчатая ступень имеет вмещаемый конец и выдвигаемый конец и выполнена с возможностью выдвигания через открытый конец наружной трубчатой ступени в выдвинутое положение и с возможностью втягивания через открытый конец наружной трубчатой ступени в собранное положение, базовый элемент, закрепленный с уплотнением на первом конце наружной трубчатой ступени, содержащий шейку с резьбой для соединения с наружной трубчатой ступенью, при этом вмещаемый конец внутренней трубчатой ступени упирается в шейку базового элемента, когда подъемник находится в полностью собранном положении.
Краткое описание чертежей
На чертежах, иллюстрирующих изобретение посредством примера только предпочтительного варианта выполнения:
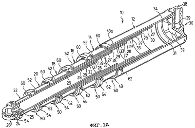
фиг.1А – частично вырезанный вид в перспективе телескопического гидравлического подъемника согласно изобретению;
фиг.1В – частично вырезанный вид в перспективе телескопического гидравлического подъемника на фиг.1А в полностью вложенном положении;
фиг.2 – сечение вида спереди телескопического гидравлического подъемника на фиг.1А в полностью выдвинутом положении;
фиг.3 – вид в перспективе сальникового муфтового подшипника в гидравлическом телескопическом подъемнике на фиг.1А со стопорной манжетой;
фиг.4 – вид спереди сальникового муфтового подшипника на фиг.3;
фиг.5 – сечение вида спереди проушины для внутренней трубчатой ступени;
фиг.6 – вид в перспективе базового элемента для гидравлического телескопического подъемника на фиг.1А;
фиг.7 – вид в перспективе базового элемента на фиг.6, показанной с обратной стороны;
фиг.8 – сечение вида спереди базового элемента на фиг.6;
фиг.9 – увеличенный вид спереди предпочтительной конфигурации резьбы для подъемника на фиг.1.
Подробное описание изобретения
На фиг.1А показан гидравлический подъемник 10 в частично выдвинутом положении с наружной трубчатой ступенью 12, промежуточными трубчатыми ступенями 14, 16, 18 и 20 и внутренней трубчатой ступенью 22. (Для ясности, на фиг.1А показана каждая трубчатая ступень частично выдвинутой; в действительности, трубчатые ступени выступают по одной до тех пор, пока подъемник не выдвинется полностью.) На фиг.1В показан гидравлический подъемник 10 на фиг.1А в полностью собранном положении.
Ударные ограничители 28, закрепленные вокруг вмещаемых концов каждой промежуточной трубчатой ступени 14, 16, 18 и 20 и внутренней трубчатой ступени 22, обеспечивают предел выдвижения каждой соответствующей трубчатой ступени. Трубчатые ступени имеют подшипники 27 (например, содержащие истираемые ленты) и уплотнители 33, размещенные между трубчатыми ступенями, предотвращая протекание гидравлической жидкости в воздушные пространства 29 между трубчатыми ступенями. Ударные ограничители 28 имеют переменные длины, как описано в патенте США №5983778, выданном 16 ноября 1999 на имя Dawson, который включен сюда посредством ссылки, чтобы обеспечить дифференциальные длины выдвигания, которые приспособлены к уменьшению прочности или устойчивости по мере уменьшения диаметра трубчатых ступеней.
Необходимо отметить, что число ступеней и их размеры являются предметом выбора для любого конкретно предназначенного использования. Подъемник согласно изобретению будет описан и показан здесь с четырьмя промежуточными трубчатыми ступенями 14, 16, 18 и 20 посредством примера, однако изобретение не предназначено для ограничения ими.
Проушина 26, показанная на фиг.5, соединена (предпочтительно, с помощью резьбы) с выступающим концом внутренней трубчатой ступени 22 для прикрепления гидравлического подъемника 10 к нагрузке, например к поддону или раме грузовой тележки (не показано), тем самым обеспечивая возможность поднимать поддон грузовой тележки. Смазочный патрубок 24 снабжен каналом для подачи смазки в проушину 26, а воздуховод 25 служит для связи с внутренней частью внутренней трубчатой ступени 22, обеспечивая выход воздуха из подъемника 10, когда этот подъемник 10 заполняется сначала гидравлической жидкостью.
Наружная ступень 12 содержит первый конец и второй открытый конец. Базовый элемент 30 прикреплен к первому концу наружной ступени 12, в предпочтительном варианте выполнения содержащему базовый элемент 30, показанный на фиг.6-8. Как показано, базовый элемент 30 имеет впускное отверстие 34 гидравлической жидкости для подачи гидравлической жидкости во внутреннюю часть подъемника 10, и предпочтительно имеет резьбовую часть 36 на шейке 31 для сцепления с помощью резьбы с первым концом наружной трубчатой ступени 12, с герметизацией уплотнительным кольцом (не показано). Резьбовое соединение между базовым элементом 30 и наружной трубчатой ступенью 12 является предпочтительным, так как оно прочнее, чем обычная сварка, снижает трудозатраты, необходимые для сборки подъемника 10, и делает подъемник 10 более удобным для обслуживания и ремонта. Как показано на фиг.9, предпочтительно резьба 31 имеет примерно 6 мм в глубину и пилообразную конфигурацию с наклоном 2 и 45 градусов, имеет шаг 9 витков на дюйм и скошенный наружный край для снижения воздействия песка и иных сыпучих веществ.
В шплинтовое отверстие 38 в базовом элементе 30 входит крепящий шплинт (не показано) для крепления наружной ступени 12 гидравлического подъемника 10 к раме тележки, а также выполнен смазочный патрубок 39. Подъемник 10 выполнен обратимым и, таким образом, любой конец может устанавливаться на раме или на нагрузке. Несмотря на то, что обычно предусматривают впускное отверстие 34 гидравлической жидкости в базовом элементе 30, можно также располагать гидравлическое впускное отверстие в другом месте, связанное с внутренней частью подъемника 10.
Базовый элемент 30 имеет также углубление 32. Как можно видеть на фиг.1, в полностью собранном положении часть, содержащая конец каждой промежуточной трубчатой ступени 16, 18 и 20 и внутренней трубчатой ступени 22, входит в углубление 32 в базовом элементе 30. Это позволяет выполнить промежуточные трубчатые ступени 16, 18 и 20 и внутреннюю трубчатую ступень 22 более длинными, чем первая промежуточная трубчатая ступень 14, без увеличения минимальной (полностью собранной) длины подъемника 10. Таким образом, когда подъемник 10 полностью выдвинут, обеспечивается большее перекрытие между соседними трубчатыми ступенями, что увеличивает жесткость и устойчивость подъемника 10 при работе.
В предпочтительном варианте выполнения наиболее широкая промежуточная ступень 14 в собранном положении упирается в кольцевую шейку 31 вокруг базового элемента 30. Шейка 31 образует стопор для промежуточной ступени 14, которая не входит в углубление 32 в базовом элементе 30.
Наружная трубчатая ступень 12 содержит сальниковый муфтовый подшипник 48, прикрепленный к открытому концу наружной трубчатой ступени 12. Промежуточные трубчатые ступени 14, 16, 18 и 20 содержат каждая промежуточный сальниковый муфтовый подшипник 50, соответственно прикрепленный к выдвигаемым концам промежуточных трубчатых ступеней 14, 16, 18 и 20. Сальниковые муфтовые подшипники 48 и 50 образуют несущую поверхность, которая поддерживает каждую соответствующую следующую более узкую трубчатую ступень концентрически разнесенной от открытого конца наружной трубчатой ступени 12 и выдвигаемых концов промежуточных трубчатых ступеней 14, 16, 18 и 20. Вмещаемые концы каждой трубчатой ступени 14, 16, 18 и 20 и внутренней трубчатой ступени 22 поддерживаются концентрически разнесенными от следующих более широких трубчатых ступеней 12, 14, 16, 18 или 20 подшипниками 27 и уплотнителями 33, причем подшипники содержат, например, обычные трущиеся обоймы, расположенные в мелких углублениях (не показано) вокруг наружной стенки каждой трубчатой ступени 14, 16, 18, 20 и 22. Каждая трубчатая ступень, таким образом, скользит через сальниковый муфтовый подшипник 48 или 50 следующей более широкой трубчатой ступени 12, 14, 16, 18 или 20, а подшипники 27 и уплотнители 33 скользят вдоль внутренней стенки следующей более широкой трубчатой ступени 12, 14, 16, 18 или 20, чтобы тем самым телескопически перемещать трубчатые ступени 14, 16, 18, 20 и 22.
Сальниковый муфтовый подшипник 48 имеет резьбовую шейку 48а для сцепления с резьбовой частью, расположенной на внутренней стенке открытого конца наружной трубчатой ступени 12. Как показано на фиг.3 и 4, каждый промежуточный сальниковый муфтовый подшипник 50 имеет резьбовую шейку 52 для сцепления с резьбовыми частями, соответственно расположенными на внутренних стенках трубчатых ступеней 14, 16, 18 и 20, и содержит стопорную манжету 54, которая выступает в радиальном направлении за внутренний предел следующей более широкой трубчатой ступени, так что в собранном положении, показанном на фиг.1В, эта стопорная манжета 54 соприкасается с выдвигаемым концом следующей более широкой трубчатой ступени и, в частности, упирается в выдвигаемый конец сальникового муфтового подшипника 50 (или 48) следующей более широкой трубчатой ступени. Проушина 26 также содержит стопорную манжету 54, которая служит в качестве стопора для внутренней трубчатой ступени 22, упираясь в выдвигаемый конец сальникового муфтового подшипника 50, прикрепленного к самой узкой промежуточной трубчатой ступени 20.
Наружный сальниковый муфтовый подшипник 48 прикреплен к наружной трубчатой ступени 12, которая является неподвижной, а потому не требует стопорной манжеты. Самая широкая промежуточная трубчатая ступень 14 также не требует стопорной манжеты, так как в показанном варианте выполнения шейка 31 образует стопор для трубчатой ступени 14; однако самая широкая промежуточная трубчатая ступень 14 может быть снабжена сальниковым муфтовым подшипником 50 со стопорной манжетой 54, как показано на чертежах, для косметических целей.
К верхним частям сальниковых муфтовых подшипников 48 и 50 прикреплены кольцевые грязесъемники 60, выполненные из плотной резины или другого подходящего материала для предотвращения попадания пыли и иных состоящих из частиц загрязнителей в пространства между соседними трубчатыми ступенями. Контрящие винты (не показано) удерживают каждый сальниковый муфтовый подшипник 48, 50, базовый элемент 30 и проушину 26 в их соответствующих трубчатых ступенях 12, 14, 16, 18, 20 и 22, а тем самым удерживают каждую из трубчатых ступеней по отношению к следующей более широкой трубчатой ступени. Каждая стопорная манжета 54 снабжена мелким кольцевым углублением 54а, к примеру, 1/16 дюйма глубиной, что позволяет в собранном положении манжете 54 упираться в выдвинутый конец следующей более широкой трубчатой ступени (т.е. выдвинутой лицевой поверхности сальниковой муфты 48 или 50) без разрушения удерживаемого в ней грязесъемника 60. Углубление 54а образует также резервуар для отложения любой грязи, снятой грязесъемником 60 следующей более широкой трубчатой ступени.
Как описано в патенте США №5983778, который включен сюда посредством ссылки, в предпочтительном варианте выполнения воздушные отдушины 62 предусмотрены для каждой из гидравлических трубчатых ступеней 12, 14, 16, 18 и 20, показанных на фиг.1 и 2, что позволяет воздуху входить в воздушные пространства 29 между трубчатыми ступенями, когда подъемник 10 соответственно выдвигается и собирается. Эти воздушные отдушины 62 предпочтительно связаны с соответствующими воздушными пространствами 29 через углубление, протравленное по внутренней стенке сальникового муфтового подшипника 50, как описано в патенте США №5983778.
В процессе работы, когда подъемник 10 расположен между рамой и нагрузкой, например поддоном и рамой грузовой тележки (не показано), и проушина 26 и шплинтовое отверстие 38 закреплены в ней, накачка гидравлической жидкости в подъемник 10 через впускное отверстие 34 жидкости обеспечивает выдвижение гидравлических ступеней 14, 16, 18, 20 и 22 из собранного положения, показанного на фиг.1В, в выдвинутое положение, показанное на фиг.2. Когда подъемник 10 выдвигается и ударные ограничители 28 достигают сальниковых муфтовых подшипников 48 или 50 следующей более широкой трубчатой ступени, воздух выталкивается из воздушных пространств 29 между трубчатыми ступенями и выходит через воздушные отдушины 62.
Когда каждая трубчатая ступень 14, 16, 18, 20 и 22 достигает полностью выдвинутого положения, показанного на фиг.2, его соответствующий ударный ограничитель 28 соприкасается с шейкой 52 сальникового муфтового подшипника 50 следующей более широкой трубчатой ступени. Например, когда внутренняя трубчатая ступень 22 достигает своего полностью выдвинутого положения, ударный ограничитель 28, закрепленный на трубчатой ступени 22, упирается в шейку 52 сальникового муфтового подшипника 50, закрепленного на промежуточной трубчатой ступени 20; когда промежуточная трубчатая ступень 20 достигает своего полностью выдвинутого положения, ударный ограничитель 28, закрепленный на трубчатой ступени 20, упирается в шейку 52 сальникового муфтового подшипника 50, закрепленного на промежуточной трубчатой ступени 18; и т.д. Таким образом, в выдвинутом положении перекрытие между соседними трубчатыми ступенями определяется осевыми пределами ударных ограничителей 28 и шеек 52 сальниковых муфтовых подшипников 48 и 50.
Когда гидравлическое давление снижается, подъемник 10 сжимается от выдвинутого положения в собранное положение, показанное на фиг.1В, что обеспечивает втягивание каждой промежуточной трубчатой ступени 14, 16, 18, 20 и внутренней трубчатой ступени 22 под весом поддона или иной нагрузки тележки. Объем воздушных пространств 29 увеличивается, когда ударные ограничители 28 выходят из своих соседних сальниковых муфтовых подшипников 50 и воздух входит через воздушные отдушины 62 в воздушные пространства 29. Это предотвращает прохождение воздуха через грязесъемники 62, которое приводило бы к всасыванию частиц материала в воздушное пространство 29 между трубчатыми ступенями, что могло бы повредить поршневой сальник или наружную поверхность следующей более широкой трубчатой ступени. Воздушные отдушины 62 предпочтительно снабжены фильтрами для очистки воздуха, когда он входит в воздушные пространства 29, и предотвращения попадания частиц материала между трубчатыми ступенями.
Из-за того, что каждая стопорная манжета 54 перекрывает сальниковый муфтовый подшипник 48 или 50 следующей более широкой трубчатой ступени, когда внутренняя трубчатая ступень 22 и промежуточные трубчатые ступени 16, 18 и 20 соответственно достигают полностью собранного положения, стопорная манжета 54 сальникового муфтового подшипника 50, установленного на вложенной трубчатой ступени, соприкасается с выдвигаемым концом следующей более широкой трубчатой ступени, который в показанном варианте выполнения является выдвигаемым концом сальникового муфтового подшипника 48 или 50, закрепленного на следующей более широкой трубчатой ступени. Таким образом, когда промежуточная трубчатая ступень 20 полностью вложена, стопорная манжета 54 сальникового муфтового подшипника 50, закрепленного на трубчатой ступени 20, соприкасается с поверхностью выдвигаемого конца сальникового муфтового подшипника 50, закрепленного на промежуточной трубчатой ступени 18; когда промежуточная трубчатая ступень 18 полностью вложена, стопорная манжета 54 сальникового муфтового подшипника 50, закрепленного на трубчатой ступени 18, соприкасается с поверхностью выдвигаемого конца сальникового муфтового подшипника 50, закрепленного на промежуточной трубчатой ступени 16; и т.д. Стопорная манжета 54 на проушине 26 подобным же образом выступает в радиальном направлении, чтобы перекрывать конец следующей более широкой трубчатой ступени 20 и останавливать втягивание внутренней трубчатой ступени 22 таким же образом. Когда манжеты 54 проушины 26 и всех сальниковых муфтовых подшипников 50 упираются в соответствующую следующую более широкую трубчатую ступень, а вмещаемый конец первой промежуточной трубчатой ступени 14 соприкасается с шейкой 31 базового элемента 30, подъемник 10 находится в полностью собранном положении.
Как показано на фиг.1В, в полностью собранном положении вмещаемые концы внутренней трубчатой ступени 22 и промежуточных трубчатых ступеней 16, 18 и 20 входят в углубление 32, образованное в базовом элементе 30. В противоположность известным подъемным устройствам, в которых трубчатые ступени остаются расположенными уступами на упорных стопорных кольцах, это позволяет сделать промежуточные трубчатые ступени 16, 18, 20 и внутреннюю трубчатую ступень 22 длиннее без увеличения длины наружной трубчатой ступени 12 и, таким образом, без увеличения длины подъемника 10 в полностью собранном положении. Увеличенные длины промежуточных и внутренней трубчатых ступеней 16, 18, 20 и 22 обеспечивают большее перекрытие между трубчатыми ступенями в полностью выдвинутом подъемнике 10, а тем самым обеспечивают большую жесткость и устойчивость. Кроме того, базовый элемент 30 с углублением весит значительно меньше, чем сплошная базовая отливка, показанная в патенте США №5983778.
Следует отметить, что хотя подъемник 10 согласно изобретению преимущественно содержит промежуточные трубчатые ступени, изобретение также может быть выполнено в виде двухступенчатого подъемника 10, в котором внутренняя трубчатая ступень 22 телескопически размещена в наружной трубчатой ступени 12 с возможностью выдвигания через открытый конец наружной трубчатой ступени 12 в выдвинутое положение и с возможностью втягивания в собранное положение. Базовый элемент 30, закрепленный на наружной трубчатой ступени 12, содержит шейку 31 с резьбой для сцепления с наружной трубчатой ступенью 12, и вмещаемый конец внутренней трубчатой ступени 22 упирается в шейку 31 базового элемента 30, когда подъемник 10 находится в полностью собранном положении.
Несмотря на то, что предпочтительный вариант выполнения согласно изобретению описан посредством примера, специалистам понятно, что можно выполнять различные модификации и адаптации без отхода от объема изобретения, как оно представлено в приложенной формуле изобретения. Кроме того, хотя изобретение описано для примера с грузовой тележкой, изобретение может быть использовано во многих иных применениях и не ограничивается конкретной средой, в которой оно так описано.
Формула изобретения
1. Телескопический многоступенчатый гидравлический подъемник, содержащий впускное отверстие гидравлической жидкости, связанное с внутренней частью подъемника, внутреннюю трубчатую ступень с вмещаемым концом и выдвигаемым концом, по меньшей мере, одну промежуточную трубчатую ступень, имеющую вмещаемый конец и открытый выдвигаемый конец и содержащую промежуточный сальниковый муфтовый подшипник, закрепленный на открытом конце, по меньшей мере, одной промежуточной трубчатой ступени, при этом внутренняя трубчатая ступень расположена телескопически в, по меньшей мере, одной промежуточной трубчатой ступени и выполнена с возможностью выдвигания через открытый конец, по меньшей мере, одной промежуточной трубчатой ступени в выдвинутое положение и с возможностью втягивания через открытый конец, по меньшей мере, одной промежуточной трубчатой ступени в собранное положение, причем промежуточный сальниковый муфтовый подшипник содержит грязесъемник, окружающий внутреннюю трубчатую ступень для предотвращения попадания загрязнений в пространство между внутренней трубчатой ступенью и промежуточной трубчатой ступенью, наружную трубчатую ступень, имеющую первый конец и второй открытый конец и содержащую наружный сальниковый муфтовый подшипник, закрепленный на открытом конце наружной трубчатой ступени, и базовый элемент, закрепленный с уплотнением на первом конце наружной трубчатой ступени, причем, по меньшей мере, одна промежуточная трубчатая ступень отделена от наружной трубчатой ступени наружным сальниковым муфтовым подшипником и выполнена с возможностью выдвигания через открытый конец наружной трубчатой ступени в выдвинутое положение и с возможностью втягивания через открытый конец наружной трубчатой ступени в собранное положение, при этом выдвигаемый конец, по меньшей мере, внутренней трубчатой ступени содержит стопорную манжету, которая выступает из сальникового муфтового подшипника и перекрывает выдвинутый конец, по меньшей мере, одной промежуточной трубчатой ступени так, что эта стопорная манжета соприкасается с сальниковым муфтовым подшипником, по меньшей мере, одной промежуточной трубчатой ступени, а часть стопорной манжеты, которая соприкасается с сальниковым муфтовым подшипником промежуточной трубчатой ступени, снабжена кольцевым углублением, в которое входит грязесъемник, когда внутренняя трубчатая ступень находится в полностью собранном положении.
2. Подъемник по п.1, в котором базовый элемент содержит углубление, причем вмещаемый конец внутренней трубчатой ступени входит в это углубление в базовом элементе, когда подъемник находится в полностью собранном положении.
3. Подъемник по п.2, в котором базовый элемент сцеплен с помощью резьбы с наружной трубчатой ступенью.
4. Подъемник по п.3, в котором базовый элемент содержит шейку с резьбой для сцепления с наружной трубчатой ступенью.
5. Подъемник по п.4, в котором, по меньшей мере, одна промежуточная трубчатая ступень упирается в шейку базового элемента, когда находится в полностью собранном положении.
6. Телескопический многоступенчатый гидравлический подъемник, содержащий впускное отверстие гидравлической жидкости, связанное с внутренней частью подъемника, внутреннюю трубчатую ступень с вмещаемым концом и выдвигаемым концом, по меньшей мере одну промежуточную трубчатую ступень, имеющую вмещаемый конец и открытый выдвигаемый конец и содержащую промежуточный сальниковый муфтовый подшипник, закрепленный на открытом конце, по меньшей мере, одной промежуточной трубчатой ступени, причем, по меньшей мере, одна промежуточная трубчатая ступень телескопически расположена в следующей более широкой трубчатой ступени и выполнена с возможностью выдвигания через открытый конец следующей более широкой трубчатой ступени в выдвинутое положение и с возможностью втягивания через открытый конец следующей более широкой трубчатой ступени в собранное положение, при этом внутренняя трубчатая ступень расположена телескопически в, по меньшей мере, одной промежуточной трубчатой ступени и выполнена с возможностью выдвигания через открытый конец, по меньшей мере, одной промежуточной трубчатой ступени в выдвинутое положение и с возможностью втягивания через открытый конец, по меньшей мере, одной промежуточной трубчатой ступени в собранное положение, причем промежуточный сальниковый муфтовый подшипник содержит грязесъемник, окружающий внутреннюю трубчатую ступень для предотвращения попадания загрязнений в пространство между внутренней трубчатой ступенью и промежуточной трубчатой ступенью, наружную трубчатую ступень, имеющую первый конец и второй открытый конец и содержащую наружный сальниковый муфтовый подшипник, закрепленный на открытом конце наружной трубчатой ступени, и базовый элемент, закрепленный с уплотнением на первом конце наружной трубчатой ступени, причем, по меньшей мере, одна промежуточная трубчатая ступень отделена от наружной трубчатой ступени наружным сальниковым муфтовым подшипником и выполнена с возможностью выдвигания через открытый конец наружной трубчатой ступени в выдвинутое положение и с возможностью втягивания через открытый конец наружной трубчатой ступени в собранное положение, выдвигаемый конец, по меньшей мере, внутренней трубчатой ступени содержит стопорную манжету, которая выступает из сальникового муфтового подшипника и перекрывает выдвинутый конец следующей более широкой трубчатой ступени, а часть стопорной манжеты, которая соприкасается с сальниковым муфтовым подшипником следующей более широкой трубчатой ступени, снабжена кольцевым углублением, в которое входит грязесъемник следующей более широкой трубчатой ступени, когда одна трубчатая ступень находится в полностью собранном положении, при этом, когда внутренняя трубчатая ступень достигает полностью собранного положения, стопорная манжета внутренней трубчатой ступени соприкасается с сальниковым муфтовым подшипником следующей более широкой трубчатой ступени.
7. Подъемник по п.6, который содержит множество промежуточных трубчатых ступеней.
8. Подъемник по п.6, в котором базовый элемент содержит углубление, причем вмещаемый конец внутренней трубчатой ступени входит в это углубление в базовом элементе, когда подъемник находится в полностью собранном положении.
9. Подъемник по п.8, который содержит множество промежуточных трубчатых ступеней, при этом, по меньшей мере, одна промежуточная трубчатая ступень входит в углубление в базовом элементе, когда подъемник находится в полностью собранном положении.
10. Подъемник по п.8, в котором базовый элемент соединен с помощью резьбы с наружной трубчатой ступенью.
11. Подъемник по п.10, в котором базовый элемент содержит шейку с резьбой для соединения с наружной трубчатой ступенью.
12. Подъемник по п.9, в котором, по меньшей мере, одна промежуточная трубчатая ступень упирается в шейку базового элемента, когда находится в полностью собранном положении.
13. Телескопический многоступенчатый гидравлический подъемник, содержащий впускное отверстие гидравлической жидкости, связанное с внутренней частью подъемника, наружную трубчатую ступень, имеющую первый конец и второй открытый конец и содержащую наружный сальниковый муфтовый подшипник, закрепленный на открытом конце наружной трубчатой ступени, по меньшей мере одну промежуточную трубчатую ступень, расположенную телескопически в наружной трубчатой ступени, причем, по меньшей мере, одна промежуточная трубчатая ступень имеет вмещаемый конец и выдвигаемый конец и содержит промежуточный сальниковый муфтовый подшипник, закрепленный на открытом конце, причем, по меньшей мере, одна промежуточная трубчатая ступень выполнена с возможностью выдвигания через открытый конец следующей более широкой трубчатой ступени или наружной трубчатой ступени в выдвинутое положение и с возможностью втягивания через открытый конец следующей более широкой трубчатой ступени или наружной трубчатой ступени в собранное положение, внутреннюю трубчатую ступень, расположенную телескопически в, по меньшей мере, одной промежуточной трубчатой ступени, причем внутренняя трубчатая ступень имеет вмещаемый конец и выдвигаемый конец и выполнена с возможностью втягивания через открытый конец, по меньшей мере, одной промежуточной трубчатой ступени в выдвинутом положении и с возможностью втягивания через открытый конец, по меньшей мере, одной промежуточной ступени в собранном положении, базовый элемент, закрепленный с уплотнением на первом конце наружной трубчатой ступени, причем базовый элемент содержит углубление и шейку, соединенную с помощью резьбы с наружной трубчатой ступенью, образуя стопорную конструкцию для самой широкой промежуточной трубчатой ступени, и стопорную конструкцию для остановки втягивания внутренней трубчатой ступени, содержащей стопорную манжету, выступающую из сальникового муфтового подшипника, закрепленного на выдвигаемом конце внутренней трубчатой ступени, при этом вмещаемый конец, по меньшей мере внутренней трубчатой ступени входит в углубление в базовом элементе, когда подъемник находится в полностью собранном положении.
14. Подъемник по п.13, который содержит множество промежуточных трубчатых ступеней, причем, по меньшей мере, одна из множества промежуточных трубчатых ступеней содержит стопорную манжету.
15. Подъемник по п.14, в котором стопорные манжеты соприкасаются с сальниковым муфтовым подшипником следующей более широкой трубчатой ступени.
16. Подъемник по п.15, в котором каждый из сальниковых муфтовых подшипников содержит грязесъемник, а часть стопорной манжеты одной трубчатой ступени, которая соприкасается с сальниковым муфтовым подшипником следующей более широкой трубчатой ступени, снабжена кольцевым углублением, в которое выступает грязесъемник следующей более широкой трубчатой ступени, когда одна трубчатая ступень находится в полностью собранном положении.
17. Телескопический многоступенчатый гидравлический подъемник, содержащий впускное отверстие гидравлической жидкости, связанное с внутренней частью подъемника, наружную трубчатую ступень, имеющую первый конец и второй открытый конец и содержащую наружный сальниковый муфтовый подшипник, закрепленный на открытом конце наружной трубчатой ступени, внутреннюю трубчатую ступень, расположенную телескопически в наружной трубчатой ступени, причем внутренняя трубчатая ступень имеет вмещаемый конец и выдвигаемый конец и выполнена с возможностью выдвигания через открытый конец наружной трубчатой ступени в выдвинутое положение и с возможностью втягивания через открытый конец наружной трубчатой ступени в собранное положение, базовый элемент, закрепленный с уплотнением на первом конце наружной трубчатой ступени, содержащий шейку с резьбой для соединения с наружной трубчатой ступенью, при этом вмещаемый конец внутренней трубчатой ступени упирается в шейку базового элемента, когда подъемник находится в полностью собранном положении.
РИСУНКИ
MM4A – Досрочное прекращение действия патента СССР или патента Российской Федерации на изобретение из-за неуплаты в установленный срок пошлины за поддержание патента в силе
Дата прекращения действия патента: 08.01.2007
Извещение опубликовано: 27.07.2010 БИ: 21/2010
|
|