|
|
(21), (22) Заявка: 2003129747/06, 06.10.2003
(24) Дата начала отсчета срока действия патента:
06.10.2003
(43) Дата публикации заявки: 27.03.2005
(46) Опубликовано: 20.06.2006
(56) Список документов, цитированных в отчете о поиске:
ЕР 1258637 А1, 20.11.2002. SU 1822469 A3, 15.06.1993. RU 2169295 C2, 20.06.2001. GB 2121111 A, 14.12.1983. CH 506715 A, 15.06.1971.
Адрес для переписки:
400002, г.Волгоград, ул. Институтская, 8, ВГСХА, патентный отдел
|
(72) Автор(ы):
Стрекалов Сергей Дмитриевич (RU), Овчинников Алексей Семенович (RU), Надворный Александр Иванович (RU)
(73) Патентообладатель(и):
Волгоградская государственная сельскохозяйственная академия (RU)
|
(54) УСТРОЙСТВО ДЛЯ ПЕРЕКАЧИВАНИЯ ЖИДКОСТИ
(57) Реферат:
Изобретение относится к насосам. Устройство включает жесткий трубопровод с закрепленным в нем с возможностью совершения волнообразного движения звеном. На обоих концах звена имеются ферромагнитные пластины, взаимодействующие с размещенными снаружи трубопровода электромагнитами электромагнитного генератора колебаний, обеспечивающего смещенные по фазе колебания звена. На звене, перпендикулярно ему, закреплена рабочая лопасть. Один из концов звена установлен в направляющей с возможностью совершения поперечных колебаний. Изобретение направлено на упрощение конструкции, обеспечение возможности работы в герметичных трубопроводах и перекачивания агрессивных сред. 1 ил.
Изобретение относится к устройствам для перекачивания жидкости.
Известно также устройство ЕР 1258637 A1 (RESCH LUDWIG), 20.11.2002, включающее жесткий трубопровод с закрепленным в нем с возможностью совершения волнообразного движения звеном, на обоих концах которого имеются ферромагнитные пластины, взаимодействующие с размещенными снаружи трубопровода электромагнитами электромагнитного генератора колебаний, обеспечивающего смещенные по фазе колебания звена (прототип).
Недостатком этого устройства является сложность конструкции, ограниченность диапазона использования.
Техническая задача изобретения состоит в упрощении конструкции, возможности работы в герметичных трубопроводах, перекачивания агрессивных сред.
Технический результат достигается тем, что в устройстве, включающем жесткий трубопровод с закрепленным в нем с возможностью совершения волнообразного движения звеном, на обоих концах которого имеются ферромагнитные пластины, взаимодействующие с размещенными снаружи трубопровода электромагнитами электромагнитного генератора колебаний, обеспечивающего смещенные по фазе колебания звена, согласно изобретению на звене перпендикулярно ему закреплена рабочая лопасть, а один из концов звена установлен в направляющей с возможностью совершения поперечных колебаний.
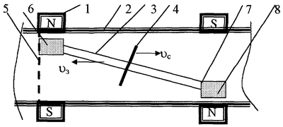
На чертеже изображена схема устройства для перекачивания жидкости.
Устройство включает жесткий трубопровод 2, звено 3 с закрепленной на нем рабочей лопастью 4, направляющую 5, базовый 6 и консольный 7 концы звена, ферромагнитные пластины 8, электромагниты 1.
Устройство работает следующим образом. Смещенные по фазе колебания электромагнитов 1 обеспечивают попеременное притягивание базового 6 и консольного 7 концов звена 3, что приводит к волнообразному движению звена и перпендикулярно закрепленной на нем рабочей лопасти 4. Создается направленное движение жидкости внутри трубопровода. Скорость перемещения жидкости увеличивается с возрастанием частоты колебаний. Такое устройство может быть установлено как в круглых, так и квадратных трубопроводах. Конструкция не имеет шарнирных соединений и уплотнений, что позволяет применять устройство такого типа для работы в труднодоступных местах и агрессивных средах.
Формула изобретения
Устройство для перекачивания жидкости, включающее жесткий трубопровод с закрепленной в нем с возможностью совершения волнообразного движения звеном, на обоих концах которого имеются ферромагнитные пластины, взаимодействующие с размещенными снаружи трубопровода электромагнитами электромагнитного генератора колебаний, обеспечивающего смещенные по фазе колебания звена, отличающееся тем, что на звене перпендикулярно ему закреплена рабочая лопасть, а один из концов звена установлен в направляющей с возможностью совершения поперечных колебаний.
РИСУНКИ
MM4A – Досрочное прекращение действия патента СССР или патента Российской Федерации на изобретение из-за неуплаты в установленный срок пошлины за поддержание патента в силе
Извещение опубликовано: 20.07.2007 БИ: 20/2007
|
|