|
|
(21), (22) Заявка: 2003137346/03, 24.12.2003
(24) Дата начала отсчета срока действия патента:
24.12.2003
(43) Дата публикации заявки: 10.06.2005
(46) Опубликовано: 20.06.2006
(56) Список документов, цитированных в отчете о поиске:
SU 1416617 A1, 15.08.1988. SU 1189950 А, 07.11.1985. SU 1204683 А, 15.01.1986. SU 1308716 А1, 07.05.1987. SU 1373767 А1, 15.02.1988. SU 1441029 А1, 30.11.1988. RU 2030514 С1, 10.03.1995.
Адрес для переписки:
445035, Самарская обл., г. Тольятти, ул. Мира, 120, кв.28, Г.З. Карандаеву
|
(72) Автор(ы):
Карандаев Геннадий Захарович (RU), Раздольный Владимир Александрович (RU), Степанов Геннадий Петрович (RU)
(73) Патентообладатель(и):
Открытое акционерное общество “Кварц” (RU)
|
(54) ГРУНТОЗАБОРНОЕ УСТРОЙСТВО ЗЕМЛЕСОСНОГО СНАРЯДА
(57) Реферат:
Изобретение относится к области гидромеханизации и предназначено для подводной разработки грунтов. Техническая задача – повышение производительности и снижение энергоемкости грунтозабора за счет улучшения процесса смешения потоков в смесительной камере. Грунтозаборное устройство включает всасывающий наконечник и эжектор с водоводом, размывающую и эжекторную насадки, приемную и смесительные камеры и диффузор. Приемная камера снабжена съемной гильзой, зажимаемой своим буртом в выемке меж фланцев на внешней образующей стационарной части приемной камеры с одной стороны и в передней оконечности коллектора рабочей воды с другой. Кольцевая насадка образована внешней цилиндрической поверхностью съемной гильзы и внутренней – смесительной камеры, установленных соосно посредством пластинчатых фиксаторов на внутренней образующей последней. Трубопровод на входе в коллектор рабочей воды снабжен регулирующим устройством. 1 ил.
Изобретение относится к области гидромеханизации и предназначено для подводной разработки грунтов.
Основные потери энергии в эжекторном грунтозаборном устройстве происходят при смешивании струи напорной воды из эжектирующей насадки с подсасываемым потоком пульпы из-за резко выраженной неравномерности эпюры скоростей в начале смесительной камеры, когда по оси напорной струи скорость максимальна, а на стенках смесительной камеры практически равна нулю. Это известное положение дает возможность оценивать качество конкретного эжекторного грунтозаборного устройства.
Известно грунтозаборное устройство землесосного снаряда по а.с. №1308716, кл. E 02 F 3/88, в котором с целью повышения эффективности работы земснаряда поток рабочей воды разделяется на две ступени эжектирования и на гидрорыхление. Недостатки этого решения заключаются в том, что напорная вода, выходящая из коллектора на первую ступень эжектирования, разворачивается в обтекателе на 180°, что связано с большими потерями энергии. Поступление грунта в первую ступень эжектора происходит через открытую приемную камеру вместе с большим количеством окружающей воды, что снижает консистенцию засасываемой пульпы и, в конечном счете, производительность земснаряда по твердому. Смесительная камера первой ступени эжектирования представляет собой кольцевую полость, образованную коллекторам и патрубком, а такое русло создает повышенные гидравлические сопротивления, что усугубляется тем, что поток пульпы пересекается водоподводящей трубой. Участок водоподводящей трубы, расположенный внутри патрубка, подвержен абразивному износу потоком гидросмеси, а доступ к этому участку чрезвычайно затруднен как при изготовлении, так и при ремонте. Главный же недостаток заключается в том, что выровненный в смесительной камере первой ступени поток пульпы вновь подвергается резкой деформации струей из эжектирующего насадка и вторичному выравниванию в смесительной камере второй ступени, что практически удваивает потери напора.
Известно также грунтозаборное устройство землесосного снаряда, в котором с целью повышения производительности грунтозабора за счет уменьшения гидравлических сопротивлений коллектор выполнен в виде камеры с торцовыми и внутренней кольцевой стенками, расположенными в эжекторе с образованием сквозной полости, сообщающей выпускное отверстие центральной эжекторной насадки со смесительной камерой, а эжекторная насадка коллектора выполнена в виде нескольких равномерно размещенных со стороны смесительной камеры на торцовой стенке коллектора сопл, продольные оси которых сфокусированы на продольной оси смесительной камеры, при этом отношение суммарной площади сопл эжекторной насадки коллектора к площади выпускного отверстия центральной эжекторной насадки равно 1,45÷1,53 (а.с. №1416617, кл. E 02 F 3/88, прототип).
Это устройство по сравнению с предыдущим позволяет уменьшить гидравлическое сопротивление при подводе напорной воды к соплам. Практическое применение этого устройства показало возможность получения некоторого положительного эффекта. Вместе с тем не устранен главный источник повышенных гидравлических сопротивлений. Струя из центральной эжекторной насадки смешивается полностью с подсасываемым потоком пульпы – с соответствующими гидравлическими потерями – в пределах сквозной полости коллектора, являющейся смесительной камерой для первой ступени, в конце которой эпюра скоростей имеет выравненный, близкий к прямоугольному характер. В этот выравненный поток струями из сопл коллектора вновь вносится возмущение, которое опять требуется с соответствующими потерями энергии выравнивать в смесительной камере второй ступени. Сохранен, как в предыдущем аналоге, забор грунта через открытую приемную камеру.
Кроме того, мощные струи из сопл второй ступени, продольные оси которых направлены вдоль стенки эжектора, под действием градиента давлений (где выше скорость, там ниже давление) втягивают в себя твердые частицы из потока гидросмеси и интенсивно изнашивают стенки эжектора. Наконец, вследствие того, что продольные оси насадок коллектора сфокусированы на продольной оси смесительной камеры, радиальные составляющие струй из этих сопл взаимно гасят друг друга, что дополнительно снижает эффективность грунтозаборного устройства.
Целью изобретения является повышение производительности и снижение энергоемкости грунтозабора за счет улучшения процесса смешения потоков в смесительной камере.
Поставленная цель достигается тем, что в грунтозаборном устройстве, включающем всасывающий наконечник и эжектор с водоводом, размывающую и эжекторную насадки, приемную камеру, смесительную камеру и диффузор, приемная камера снабжена съемной гильзой, зажимаемой своим буртом в выемке меж фланцев на внешней образующей стационарной части приемной камеры с одной стороны и в передней оконечности коллектора рабочей воды с другой, кольцевая насадка образована внешней цилиндрической поверхностью съемной гильзы и внутренней – смесительной камеры, установленных соосно посредством пластинчатых фиксаторов на внутренней образующей последней, а трубопровод на входе в коллектор рабочей воды снабжен регулирующим устройством.
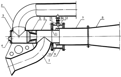
На чертеже изображено грунтозаборное устройство, продольный разрез.
Грунтозаборное устройство землесосного снаряда содержит всасывающий наконечник 1, водовод 2 с напорной камерой 3, снабженный размывающей 4 и эжекторной 5 насадками, приемную камеру эжектора 6, смесительную камеру 7 и диффузор 8. В концевой части приемная камера 6 снабжена съемной гильзой 10, зажимаемой своим буртом 11 в выемке меж фланцев на внешней образующей стационарной части приемной камеры 6 и в передней оконечности коллектора рабочей воды 9.
Роль насадка эжектора второй ступени выполняет кольцевая щель между цилиндрическими образующими внешней – съемной гильзы 10 и внутренней – смесительной камеры 7, установленными соосно посредством пластинчатых фиксаторов 12 на внутренней образующей последней. Трубопровод 13 на входе в коллектор 9 имеет регулирующее устройство 14 и соединен другим концом с водоводом 2. Местом расположения размывающей насадки 4 на переднем торце напорной камеры 3 можно варьировать.
Грунтозаборное устройство работает следующим образом. При опускании всасывающего наконечника 1 на забой по водоводу 2 в напорную камеру 3 и по трубопроводу 13 с регулирующим устройством 14 в коллектор 9 подают напорную воду. Из напорной камеры 3 часть воды поступает в размывающую насадку 4 для разрушения забоя, рыхления грунта, а другая – основная часть – в эжекторную насадку 5 и создает разрежение в приемной камере 6, вследствие чего происходит интенсивное всасывание концентрированной гидросмеси в приемную камеру 6 и подача ее далее в смесительную камеру 7.
Поступающая через кольцевую цепь напорная вода омывает стенки смесительной камеры 7 практически с той же скоростью, с какой движется по оси смесительной камеры 7 основная струя из эжекторной насадки 5 в пульповод. Количество напорной эжектирующей воды, подаваемой через кольцевую щель, не должно превышать 15÷20% от расхода основной струи из насадка 5, чтобы избежать активного втягивания в нее твердых частиц и износа стенок смесительной камеры 7. Для достижения максимального эффекта выход из кольцевой щели должен быть расположен вблизи того места, где расширяющаяся основная осевая струя из насадка 5 касается стенок приемной камеры 6. Выходящая из кольцевой щели струя воды образует как бы подвижную стенку смесительной камеры 7, благодаря чему исключается резкий перенос эпюры скоростей и связанные с ним повышенные потери напора на вихреобразование. Регулирующее устройство 14 позволяет изменять количество подаваемой через кольцевую щель воды в зависимости от конкретных условий. Полностью смешанная концентрированная пульпа с напорной водой с выровненными по сечению скоростями поступают из смесительной камеры 7 в диффузор 8 и далее в пульпопровод.
Введение через кольцевую щель дополнительной воды на начальном участке смесительной камеры перед местом соприкосновения расширяющейся осевой эжектирующей струи резко сокращает объем вихревой зоны, в которой теряется основная часть энергии, подводимой с напорной водой, сокращается путь, на котором происходит смешение потоков и выравнивание скоростей, что дает возможность сократить общую длину приемной камеры. Это улучшает процесс смешения потоков, что позволяет снизить его энергоемкость и повысить перепад давлений, используемый для грунтозабора, вследствие чего повышается производительность по твердому.
Таким образом, предлагаемое устройство устраняет следующие недостатки прототипа: исключается двукратная деформация потока с последующим двукратным же выравниванием его в двух смесительных камерах, резко сокращается объем вихревой зоны, с которой связаны основные потери энергии в эжекторе, что обусловливает повышение производительности и снижение энергоемкости процесса эжекторного грунтозабора. Всасывание грунта через всасывающий наконечник, а не через открытую приемную камеру повышает консистенцию засасываемой пульпы. Снижается абразивный износ эжектора.
Формула изобретения
Грунтозаборное устройство землесосного снаряда, включающее всасывающий наконечник и эжектор с водоводом, размывающую и эжекторную насадки, приемную и смесительные камеры, диффузор, отличающееся тем, что приемная камера снабжена съемной гильзой, зажимаемой своим буртом в выемке между фланцев на внешней образующей стационарной части приемной камеры с одной стороны и в передней оконечности коллектора рабочей воды – с другой, кольцевая насадка образована внешней цилиндрической поверхностью съемной гильзы и внутренней – смесительной камеры, установленных соосно посредством пластинчатых фиксаторов на внутренней образующей последней, а трубопровод на входе в коллектор рабочей воды снабжен регулирующим устройством.
РИСУНКИ
TZ4A – Поправки к описаниям изобретений
Часть описания, где обнаружена ошибка: Текст опис., стр.3, строка 18
Напечатано: … полость, образованную коллекторам и патрубком, …
Следует читать: … полость, образованную коллектором и патрубком, …
Номер и год публикации бюллетеня: 17-2006
Извещение опубликовано: 10.06.2007 БИ: 16/2007
MM4A – Досрочное прекращение действия патента СССР или патента Российской Федерации на изобретение из-за неуплаты в установленный срок пошлины за поддержание патента в силе
Дата прекращения действия патента: 25.12.2006
Извещение опубликовано: 20.06.2008 БИ: 17/2008
|
|