|
|
(21), (22) Заявка: 2005106797/03, 09.03.2005
(24) Дата начала отсчета срока действия патента:
09.03.2005
(46) Опубликовано: 20.06.2006
(56) Список документов, цитированных в отчете о поиске:
SU 1715993 A1, 28.02.1998. RU 2140490 C3, 05.05.1998. RU 32141 U1, 10.09.2003. SU 735707 А, 25.05.1980. US 4976568 A, 11.12.1990.
Адрес для переписки:
362021, РСО-Алания, г. Владикавказ, ул. Николаева, 44, СКГМИ (ГТУ), патентный отдел, Т.А. Мешковой
|
(72) Автор(ы):
Константиниди Дмитрий Гомерович (RU)
(73) Патентообладатель(и):
Константиниди Дмитрий Гомерович (RU)
|
(54) ЛЮК СМОТРОВОГО КОЛОДЦА
(57) Реферат:
Изобретение относится к конструкциям люков смотровых колодцев и может быть использовано при строительстве водопроводных, газовых, канализационных сетей, а также телефонных и кабельных линий. Люк смотрового колодца, включает корпус и крышку. Новым является то, что корпус выполнен из металлического каркаса с оребрением, покрыт полимерной композицией, а крышка выполнена в виде вертикального стержня и расположенных перпендикулярно ему лицевой плиты и плиты основания и снабжена металлическими листами, закрепленными на стержне, лицевой плите и плите основания, сужающимися в сторону плиты основания, образуя объемный каркас, заполненный полимерной композицией. Технический результат изобретения состоит в увеличении срока службы люка за счет повышения его прочностных характеристик, возможности работать как на истирание, так и на ударные нагрузки, повышении надежности, жесткости и коррозионной стойкости. 3 ил.
Изобретение относится к конструкциям люков смотровых колодцев и может быть использовано при строительстве водопроводных, газовых, канализационных сетей, а также телефонных и кабельных линий.
Известен люк для колодцев, в котором верхняя и нижняя крышки соединены герметизирующим слоем, а с корпусом прокладкой, выполненной из самоотвердевающегося герметика (см. свидетельство на полезную модель №2251, МПК7 Е 02 D, 29/14, 29/34, опубл. 30.02.1996 г.).
Недостатками данного люка являются сложность изготовления, небольшой срок эксплуатации и низкое сопротивление ударным нагрузкам.
Наиболее близким к заявляемому техническому решению является люк смотрового колодца, состоящего из корпуса и крышки с ребрами жесткости, причем нижняя часть крышки выполнена сужающейся книзу и изготовлена из армированного полимерного материала (см. а.с. СССР №1715993, МПК7 Е 02 D, 29/14, опубл.29.02.92 г.).
Недостатками прототипа являются низкий срок службы, т.к. все нагрузки (ударные, трения) воспринимаются непосредственно полимерным материалом, а сопротивление арматуры, залитой полимерным материалом, разновекторным нагрузкам весьма незначительно.
Задачей предлагаемого технического решения является повышение срока службы, увеличение жесткости конструкции, надежности и коррозионной стойкости люка смотрового колодца.
Решение технической задачи достигается тем, что в известном люке смотрового колодца, включающем корпус и крышку, согласно изобретению корпус выполнен из металлического каркаса с оребрением, покрытый полимерной композицией, а крышка выполнена в виде вертикального стержня и расположенных перпендикулярно ему лицевой плиты и плиты основания и снабжена металлическими листами, закрепленными на стержне, лицевой плите и плите основания, сужающимися в сторону плиты основания, образуя объемный каркас, заполненный полимерной композицией.
Данная конструкция позволит увеличить срок службы люка за счет повышения его прочностных характеристик, возможности работать как на истирание, так и на ударные нагрузки, повысить надежность, жесткость и коррозионную стойкость за счет полимерного покрытия.
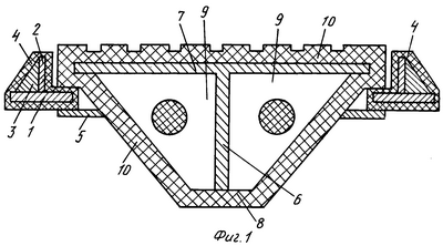
Сущность изобретения поясняется чертежами, где на фиг.1 изображен общий вид люка смотрового колодца в разрезе по А-А, на фиг.2 – вид крышки сверху круглой формы, на фиг.3 – вид крышки прямоугольной формы.
Люк смотрового колодца состоит из корпуса, выполненного в виде металлического каркаса, включающего опорный диск 1, соединенный с кольцом 2 посредством ребер 3, покрытого полимерной композицией 4, запорного замкового устройства 5 крышки люка смотрового колодца, выполненной из вертикального стержня 6, лицевой плиты 7 и плиты основания 8. Крышка люка снабжена металлическими листами 9, например, трапециевидной формы, закрепленными на стержне 6, лицевой плите 7 и плите основания 8, образуя объемный каркас, например, в виде усеченного конуса, сужающегося в сторону плиты основания 8, заполненный полимерной композицией 10.
Люк смотрового колодца устанавливают следующим образом.
Корпус люка устанавливают нижней поверхностью опорного диска 1 на оголовок смотрового колодца (не изображен), а между опорным диском 1 и кольцом 2 образуется седло, в которое устанавливается крышка люка, обеспечивая расположение лицевой плиты 7 на уровне дорожного покрытия.
Выполнение крышки люка из объемного металлического каркаса, снабженного металлическими листами, заполненного полимерной композицией 10, дает ей способность воспринимать значительные разновекторные нагрузки и жесткость конструкции.
Крышка люка может иметь различную конфигурацию, например круглую, прямоугольную, квадратную (см. фиг.1 и фиг.2) и др. При этом соответственно меняется форма корпуса люка. Верхняя поверхность крышки люка выполнена с рельефом, что увеличивает коэффициент трения и, следовательно, срок службы люка.
Использование предлагаемого люка смотрового колодца по сравнению с прототипом позволит повысить срок его службы, обеспечить надежность и жесткость в процессе эксплуатации, повысить его коррозионную стойкость.
Формула изобретения
Люк смотрового колодца, включающий корпус и крышку, отличающийся тем, что корпус выполнен из металлического каркаса с оребрением, покрыт полимерной композицией, а крышка выполнена в виде вертикального стержня и расположенных перпендикулярно ему лицевой плиты и плиты основания и снабжена металлическими листами, закрепленными на стержне, лицевой плите и плите основания, сужающимися в сторону плиты основания, образуя объемный каркас, заполненный полимерной композицией.
РИСУНКИ
MM4A – Досрочное прекращение действия патента СССР или патента Российской Федерации на изобретение из-за неуплаты в установленный срок пошлины за поддержание патента в силе
Дата прекращения действия патента: 10.03.2008
Извещение опубликовано: 10.07.2009 БИ: 19/2009
|
|