|
|
(21), (22) Заявка: 2004115420/11, 24.05.2004
(24) Дата начала отсчета срока действия патента:
24.05.2004
(46) Опубликовано: 20.06.2006
(56) Список документов, цитированных в отчете о поиске:
RU 2040622 C1, 25.07.1995. SU 997613, 15.02.1983. US 4360154 A, 23.11.1982. GB 796058, 04.06.1958.
Адрес для переписки:
141980, Московская обл., г. Дубна, ул. Жуковского, 2, ООО ПО “АпАТэК-Дубна”
|
(72) Автор(ы):
Инякин Валерий Михайлович (RU), Казакевич Дмитрий Сергеевич (RU), Кленин Юрий Георгиевич (RU), Козлов Анатолий Сергеевич (RU), Тимофеев Михаил Александрович (RU), Ушаков Андрей Евгеньевич (RU)
(73) Патентообладатель(и):
Общество с ограниченной ответственностью Научно-производственное предприятие “ПРИКЛАДНЫЕ ПЕРСПЕКТИВНЫЕ ТЕХНОЛОГИИ – АпАТэК” (RU)
|
(54) ВЫСОКОПРОЧНЫЙ ИЗОЛИРУЮЩИЙ СТЫК
(57) Реферат:
Изобретение относится к области железнодорожного транспорта, в частности верхнего строения железнодорожного пути, и может быть использовано в конструкции изолирующих рельсовых стыков с накладками из композитного материала. Изолирующее рельсовое стыковое соединение содержит расположенные по обе стороны рельсов стыковые накладки из композиционного материала, прижимные планки, болты с гайками. Болты имеют подголовок овальной формы и увеличенное в горизонтальной плоскости сечение участка от подголовка до резьбы. При этом отверстия в попарно установленных прижимных планках через одно и асимметрично относительно рельса выполнены овальными под подголовки болтов. Кроме того, соединение снабжено располагаемыми между прижимными планками и гайками тарельчатыми пружинами, установленными попарно одна в другую, а в стыковой зазор установлена торцевая изоляция. Технический результат заключается в уменьшении зазоров между телами болтов и отверстиями в рельсах и накладках, повышении прочности соединения на срез, отсутствии легко разрушаемых элементов соединения, улучшении электроизоляции и упрощении его сборки, а также обеспечении большего усилия предварительной затяжки болтов и постоянного их напряженного состояния. 5 ил.
Изобретение относится к области железнодорожного транспорта, в частности верхнего строения железнодорожного пути, и может быть использовано в конструкции изолирующих рельсовых стыков с накладками из композитного материала.
Известно электрически изолирующее рельсовое стыковое соединение – патент РФ №2040622, содержащее расположенные по обе стороны рельсов стыковые накладки из композиционного материала, прижимные планки, болты с гайками и пружинными шайбами, а также установленные на болтах в отверстиях накладок и рельсов эксцентриковые втулки, назначением которых является уменьшение зазоров между телами болтов и отверстиями, повышение срока службы стыкового соединения. Существенными признаками прототипа, совпадающими с существенными признаками предлагаемого технического решения, является наличие расположенных по обе стороны рельсов стыковых накладок из композиционного материала, прижимных планок, болтов с гайками.
Изолирующему стыку-прототипу свойственны следующие недостатки:
1. В процессе эксплуатации изолирующего стыка происходит разрушение эксцентриковой втулки под воздействием контактных напряжений, возникающих от динамического ударного воздействия колесной пары на головки рельсов в районе стыкового зазора и циклического знакопеременного изгиба, передающегося через опорные поверхности рельса на изолирующую накладку и далее на втулки и стыковые болты, а также от напряжений, возникающих от суточной и сезонной температурной деформации рельсов.
2. При разрушении втулок их осколки постепенно перемещаются в зазоре между шейкой рельса и изолирующей накладкой, при этом существует большая вероятность попадания этих осколков в стыковой зазор рельсов, закорачивания изолирующего стыка и, как следствие, нарушения автоматической сигнализации блок-участка, что приводит к остановке движения поездов на всей дистанции железнодорожного пути.
3. Пружинные шайбы, применяемые в конструкции прототипа, служат лишь для предотвращения отвинчивания гаек стыковых болтов, а в процессе эксплуатации происходит постепенный износ опорных поверхностей изолирующих накладок, затяжка стыковых болтов ослабевает и пружинные шайбы перестают работать. Как следствие – необходимо достаточно часто осуществлять подтяжку гаек стыковых болтов заданным крутящим моментом. При несоблюдении данного условия происходит ослабление болтового соединения, появляются зазоры между рельсами и накладкой по опорным (привалочным) поверхностям, в результате чего наблюдается повышенный износ изолирующих накладок и рельсов, снижение срока их службы и возрастают трудозатраты на восстановление и содержание железнодорожного пути в зоне стыка.
Предлагаемым изобретением решается техническая задача уменьшения зазоров между телами болтов и отверстиями в рельсах и накладках, повышения прочности соединения на срез, отсутствия легкоразрушаемых элементов соединения, улучшения электроизоляции и упрощения ее сборки, а также обеспечения большего усилия предварительной затяжки болтов и постоянного их напряженного состояния.
Для достижения указанного технического результата в изолирующем рельсовом стыковом соединении, содержащем расположенные по обе стороны рельсов стыковые накладки из композиционного материала, прижимные планки и болты с гайками, болты имеют подголовок овальной формы и увеличенное в горизонтальной плоскости сечение участка от подголовка до резьбы, то есть в районах контакта с рельсами и стыковыми накладками со стороны головок болтов. При этом отверстия в попарно установленных прижимных планках через одно и асимметрично относительно рельса выполнены овальными под подголовки болтов, кроме того, соединение снабжено располагаемыми между прижимными планками и гайками тарельчатыми пружинами, установленными попарно одна в другую, а в стыковой зазор установлена торцевая изоляция.
Размеры увеличенного сечения в горизонтальной плоскости выбираются, как правило, как максимально возможные и обеспечивающие собираемость изолирующего стыка. Эти параметры болта рассчитываются исходя из необходимой прочности болта на срез, максимально допустимого стыкового зазора, геометрических размеров рельса, диаметров и расположения отверстий под стыковые болты в рельсах и изолирующих накладках, а также допустимых предельных отклонений на эти размеры. Так для конкретного стыка при высоте болта в рабочем сечении 27 мм (равном диаметру стандартного болта) ширина его составляет 33 мм. Геометрические параметры, диаметр и толщина тарельчатых пружин определяются исходя из момента затяжки гаек стыковых болтов и необходимой жесткости пружины, а параметры вогнутости исходя из необходимого упругого хода тарельчатой пружины. Количество тарельчатых пружин на один болт определяется допустимой нагрузкой на каждую пружину в отдельности (как правило это две пружины на каждый болт).
Отличительными признаками предлагаемого рельсового стыкового соединения является то, что болты имеют подголовок овальной формы и увеличенное в горизонтальной плоскости сечение участка от подголовка до резьбы, при этом отверстия в попарно установленных прижимных планках через одно и асимметрично относительно рельса выполнены овальными под подголовки болтов, кроме того, соединение снабжено располагаемыми между прижимными планками и гайками тарельчатыми пружинами, установленными попарно одна в другую, а в стыковой зазор установлена торцевая изоляция.
Благодаря наличию данных отличительных признаков в совокупности с известными, указанными в ограничительной части формулы, достигаются следующие технические результаты:
– повышение прочности болтового соединения на срез от воздействия продольной перерезывающей силы по сравнению с конструкцией болт и эксцентриковая втулка, что подтверждено лабораторными, полигонными и эксплуатационными испытаниями;
– повышение прочности болта вследствие отсутствия контактных напряжений между телом болта и стенками отверстий в изолирующей накладке и перерезывающей силы, действующей на болт в вертикальной плоскости стыка, что обеспечено меньшим размером тела болта относительно диаметра отверстия в вертикальной плоскости;
– отсутствие в данной конструкции дополнительных низкопрочных крепежных элементов изолирующего стыка и наличие торцевой изоляции исключает возможность его электрического закорачивания частями и осколками этих элементов;
– существенное уменьшение максимально возможного зазора между стыкуемыми рельсами за счет увеличенного сечения тела болта в продольном направлении изолирующего стыка рельсов по сравнению с зазором, возникающим при применении стандартного стыкового болта по ГОСТ 11530-93;
– уменьшение количества крепежных элементов упрощает процедуру и сокращает время монтажа изолирующего стыка;
– большее усилие предварительной затяжки болтов по сравнению с усилием, обеспечиваемым пружинной шайбой при том же моменте затяжки гаек стыковых болтов, что приводит к повышению надежности и долговечности болтового соединения;
– постоянное напряженное состояние болтов в соединении и, как следствие, плотное прилегание композитных накладок к стыкуемым рельсам по опорным поверхностям, при этом уменьшаются прогибы изолирующего стыка под воздействием динамических знакопеременных изгибающих нагрузок от колесных пар подвижного состава, снижается износ накладок и рельсов, увеличивается срок службы всего изолирующего стыка;
– больший упругий ход по сравнению с пружинной шайбой, что приводит к увеличению периодов времени между обязательными подтяжками гаек стыковых болтов нормативным крутящим моментом, при этом снижаются затраты на содержание и обслуживание изолирующего стыка.
В результате поиска по источникам патентной и научно-технической информации совокупность признаков, характеризующая предлагаемое изолирующее рельсовое стыковое соединение, не была обнаружена. Таким образом, предлагаемое изобретение соответствуют критерию охраноспособности “новое”.
На основании сравнительного анализа предложенного технического решения с известным уровнем техники по источникам научно-технической и патентной литературы можно утверждать, что между совокупностью признаков, в том числе и отличительных, и выполняемых ими функций и достигаемых целей существует неочевидная причинно-следственная связь. На основании вышеизложенного можно сделать вывод о том, что техническое решение в предложенном устройстве не следует явным образом из уровня техники и, следовательно, соответствует критерию охраноспособности «изобретательский уровень».
Предложенное изобретение может найти применение в конструкциях изолирующих рельсовых стыковых соединений, особенно повышенной прочности, а также при наличии высоких требований к стыковым зазорам, и может быть использовано как при монтаже новых путей, так и для ремонта старых, а следовательно, данное решение соответствует критерию «промышленно применимо».
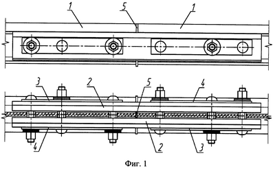
Изобретение поясняется чертежами фиг.1-5. На фиг.1 изображен изолированный рельсовый стык. На фиг.2 изображен вертикальный разрез стыка по болту. На фиг.3 изображен путевой стыковой болт. На фиг.4 изображены попарно устанавливаемые прижимные планки. На фиг.5 изображен комплект из двух тарельчатых пружин.
Изображенное на фиг.1-2 рельсовое стыковое соединение содержит расположенные по обе стороны рельсов 1 стыковые накладки 2 из композиционного материала, прижимные (стопорные) планки 3 и 4, торцевую изоляцию 5, болты 6 с гайками 7 и тарельчатыми пружинами 8. Болты 6 имеют подголовок 9 овальной формы и увеличенное в горизонтальной плоскости сечение участка от подголовка 9 до резьбы. При этом отверстия в попарно установленных прижимных планках 3 и 4 через одно и асимметрично относительно рельса 1 выполнены овальными под подголовки 9 болтов 6.
Предлагаемое изолирующее стыковое рельсовое соединение монтируется следующим образом.
– перед сборкой изолирующего стыка необходимо отрегулировать стыковой зазор между рельсами 1 в размер 8÷10 мм;
– в стыковой зазор устанавливают торцевую изоляцию 5;
– с обеих сторон стыкуемых рельсов 1 устанавливают композитные накладки 2; стыковые болты 6 устанавливают в овальные отверстия стопорных планок 3, а затем в отверстия накладок 2 и отверстия рельсов 1;
– на болты 6 устанавливают ответные стопорные планки 4, по две тарельчатые пружины 8 «одна в другую» и гайки 7, затем производится затяжка гаек 7 стыковых болтов 6 нормированным крутящим моментом;
– через 3÷5 дней необходимо выполнить повторную затяжку гаек 7 стыковых болтов 6 нормированным усилием, далее в процессе эксплуатации подтяжка болтов 6 осуществляется в соответствии с техническими указаниями по содержанию изолирующих стыков с композитными накладками;
– стопорные планки 3 и 4 предназначены для фиксации болтов 6 от проворота при затяжке гаек 7, так как имеют овальные отверстия, рассчитанные под подголовки 9 болтов 6, предохранения наружных поверхностей накладок 2 от случайного повреждения в процессе эксплуатации, а также для уменьшения контактных напряжений под головками болтов 6.
Формула изобретения
Изолирующее рельсовое стыковое соединение, содержащее расположенные по обе стороны рельсов стыковые накладки из композиционного материала, прижимные планки, болты с гайками, отличающееся тем, что болты имеют подголовок овальной формы и увеличенное в горизонтальной плоскости сечение участка от подголовка до резьбы, при этом отверстия в попарно установленных прижимных планках через одно и асимметрично относительно рельса выполнены овальными под подголовки болтов, кроме того, соединение снабжено располагаемыми между прижимными планками и гайками тарельчатыми пружинами, установленными попарно одна в другую, а в стыковой зазор установлена торцевая изоляция.
РИСУНКИ
|
|