|
|
(21), (22) Заявка: 2003100096/12, 04.06.2001
(24) Дата начала отсчета срока действия патента:
04.06.2001
(30) Конвенционный приоритет:
09.06.2000 US 09/591,576
(43) Дата публикации заявки: 20.06.2004
(46) Опубликовано: 20.06.2006
(56) Список документов, цитированных в отчете о поиске:
US 5381935 А, 17.01.1995. US 4735334 A, 05.04.1988. US 2851203 А, 09.09.1958. US 4795065 A, 03.01.1989. US 4666068 А, 19.05.1987. RU 2105707 C1, 27.02.1998.
(85) Дата перевода заявки PCT на национальную фазу:
09.01.2003
(86) Заявка PCT:
US 01/18029 (04.06.2001)
(87) Публикация PCT:
WO 01/96198 (20.12.2001)
Адрес для переписки:
129010, Москва, ул. Б.Спасская, 25, стр.3, ООО “Юридическая фирма Городисский и Партнеры”, пат.пов. С.А.Дорофееву
|
(72) Автор(ы):
ДЕГРУТ Сьюзн (US), БЛОМДАЛ Кори М. (US), ПОЗГАЙ Дэвид С. (US)
(73) Патентообладатель(и):
СИКВИСТ КЛОУЖЕРЗ ФОРИН, ИНК. (US)
|
(54) ВЫДАЧНАЯ УКУПОРОЧНАЯ СИСТЕМА ДЛЯ ВЫДАЧИ ЛЕНТЫ ПРОДУКТА ИЗ КОНТЕЙНЕРА (ВАРИАНТЫ)
(57) Реферат:
Усовершенствованная выдачная укупорочная система относится к пищевой промышленности и предназначена для выдачи продукта из контейнера, например желе, пасты и т.п. Система включает удлиненное, продолговатое выдачное отверстие для выдачи ленты продукта. Выдачная укупорочная система также включает выливной носик, имеющий указанное выдачное отверстие, которое ориентировано относительно площадки и относительно направления потока продукта из отверстия. Укупорочная система также включает поворотную крышку с уплотняющим элементом выдачного отверстия, способным зацепляться вблизи передней и задней стенок выливного носика при закрытой крышке. Изобретение обеспечивает плавный переход потока продукта из отверстия контейнера к выдачному отверстию, при этом сводя к минимуму объем, образованный выливным носиком, обеспечивая повышенное «обратное всасывание» и резкое «отсечение» продукта по сравнению с известными системами. 2 н. и 1 з.п. ф-лы, 26 ил.
Настоящее изобретение касается повторно уплотняемых выдачных укупорочных систем. Более конкретно, изобретение касается повторно уплотняемой выдачной укупорочной системы для выдачи ленты намазываемого продукта, такого как вязкий пищевой продукт, из контейнера, такого как сжимаемая бутылка, чистым, управляемым образом.
Хорошо известны выдачные укупорочные системы для вязких пищевых продуктов, таких как желе, пасты, и т.д. Они обычно включают корпус, снабженный выдачным отверстием подходящего размера, для обеспечения прохождения пищевых продуктов.
В патенте США 2851203 раскрыта укупорочная система молочной бутылки, содержащая корпус с площадкой и юбкой, проходящей от площадки для зацепления с контейнером, выливной носик, имеющий периферическую поверхность выдачного отверстия и заднюю и передние стенки, удлиненную крышку, прикрепленную к корпусу посредством гибкой ленты для поворота между открытым и закрытым положениями. Поворот крышки осуществляется вокруг оси, по существу параллельной коротким концевым стенкам выливного носика и перпендикулярно длинным боковым стенкам носика.
Известные выдачные укупорочные системы для вязких пищевых продуктов имеют несколько недостатков. Например, такие укупорочные системы не предназначены для выдачи ленты продукта таким образом, чтобы увеличить количество продукта и снизить усилия пользователя, требуемые для намазывания продукта после выдачи. Другой недостаток известных выдачных систем состоит в том, что они обычно не способны выполнить чистое «отсечение» продукта непосредственно после осуществления выдачи. Использование такой выдачной укупорочной системы часто сопровождается проливанием, потерей продукта и возможностью возникновения антисанитарных условий, когда продукт, оставшийся на укупорочной системе, может подвергаться воздействию окружающей среды и портиться.
Эта проблема частично возникает из-за геометрических ограничений, наложенных на многие выдачные укупорочные системы. Обычно переход от геометрии контейнера, которая обычно представляет собой круглое отверстие контейнера, к геометрии выдачного отверстия характеризуется неожиданными переходами во внутренних поверхностях укупорочной системы. Форма укупорочной системы также касается ее способности обеспечить чистое «отсечение» продукта. Поскольку «отсечение» продукта является результатом вакуума, созданного при преобразовании сжимаемого контейнера в его исходную форму, желательно свести к минимуму объем в укупорочной системе, чтобы повысить «обратное всасывание», которое возникает при образовании вакуума и, таким образом, повышает усилие втягивания, прикладываемого к выдавливаемому продукту, чтобы выполнить чистое «отсечение». Поэтому было бы желательно создать выдачную укупорочную систему, обеспечивающую подходящие переходы потока от геометрии контейнера к выдачному отверстию и достаточное «обратное всасывание» для выполнения чистого «отсечения» для различных продуктов с различными вязкостями и свойствами потока.
Также предпочтительно, чтобы такая улучшенная укупорочная система могла использоваться для бутылок, контейнеров или упаковок, имеющих различные формы и выполненных из различных материалов. Кроме того, было бы желательно, если бы такая улучшенная система могла обеспечивать эффективные производственные технологии высокого качества и большого объема, с пониженной потерей продукта для достижения соответствующих рабочих характеристик.
Согласно изобретению создана выдачная укупорочная система для выдачи ленты продукта из контейнера, содержащая корпус, имеющий площадку, проходящую по существу в плоскости, юбку, проходящую от площадки, для зацепления с контейнером, и кольцевой углубленный заплечик, проходящий вокруг площадки, выливной носик, проходящий от площадки и включающий периферическую поверхность выдачного отверстия, образующую продолговатое выдачное отверстие, длинную переднюю стенку и длинную заднюю стенку, по существу параллельные друг другу и перпендикулярные плоскости площадки, крышку, прикрепленную к корпусу для избирательного поворота вокруг оси, по существу параллельной плоскости площадки и передней и задней стенкам выливного носика, имеющую уплотняющий элемент выдачного отверстия, способный зацепляться вблизи передней и задней стенок выливного носика и имеющий удлиненную стенку, по существу перпендикулярную к плоскости площадки при зацеплении с передней и задней стенками выливного носика при закрытой крышке, при этом крышка имеет юбку, размещаемую на заплечике при закрытой крышке, и заплечик приспособлен взаимодействовать с юбкой для позиционирования крышки и уплотняющего элемента выдачного отверстия относительно корпуса и выливного носика при закрытой крышке.
Задняя и передняя стенки выливного носика, каждая, могут иметь внутреннюю переходную поверхность, проходящую от площадки, и удлиненная стенка уплотняющего элемента перекрывает переднюю и заднюю стенки выливного носика при закрытой крышке.
Согласно другому варианту выполнения выдачная укупорочная система для выдачи ленты продукта из контейнера содержит корпус, имеющий площадку, проходящую по существу в плоскости, юбку, проходящую от площадки, для зацепления с контейнером, выливной носик, проходящий от площадки и включающий периферическую поверхность выдачного отверстия, образующую продолговатое выдачное отверстие, длинную переднюю стенку и длинную заднюю стенку, по существу параллельные друг другу и перпендикулярные плоскости площадки, каждая из которых имеет наружную поверхность, образующую часть периферической поверхности выдачного отверстия, крышку, прикрепленную к корпусу для избирательного поворота вокруг оси, по существу параллельную плоскости площадки и передней и задней стенкам выливного носика, имеющую уплотняющий элемент выдачного отверстия, способный зацепляться вблизи наружной поверхности передней и задней стенок выливного носика и имеющий удлиненную стенку, по существу перпендикулярную к плоскости площадки при зацеплении с передней и задней стенками выливного носика при закрытой крышке.
Настоящее изобретение обеспечивает улучшенную выдачную укупорочную систему, которая направлена на устранение вышеупомянутых недостатков известных систем. В частности, настоящее изобретение создает систему для выдачи продукта из контейнера способом, которым может лучше управлять пользователь. Система особенно подходит для выдачи вязких жидкостей, кремов, паст, желе и т.д. Пользователь может легко обнаружить место, где будет помещен продукт, и затем наносить выдавливаемую ленту продукта. Пользователь может легко управлять направлением потока продукта. Кроме того, можно более точно управлять началом и остановкой потока продукта. Поток продукта «отсекается» или заканчивается чисто с небольшим загрязнением на внешней поверхности системы или без него.
Эта выдачная укупорочная система приспособлена для использования при выдаче продуктов из контейнера, имеющего отверстие. Выдачная система может быть выполнена в виде одной детали конца такого контейнера или система может быть отдельным устройством, которое постоянно или постоянным или повторно уплотняемым образом прикрепляют к контейнеру.
Вышеописанная система имеет улучшенные свойства потока и выдачи и улучшает эффект «обратного всасывания» для обеспечения чистого «отсечения» продукта по сравнению с известными системами. Заявители неожиданно обнаружили, что подходящие свойства потока и чистое «отсечение» обеспечиваются при использовании конической геометрии в переходных поверхностях, проходящих, по меньшей мере, часть пути, от отверстия контейнера к выдачному отверстию. Используемое здесь выражение «коническая геометрия» относится к поверхностям, которые, полностью или частично, следуют по коническому сечению. То есть такие поверхности, на виде в сечении, имеют профиль конических сечений, включающих параболическую или гиперболическую геометрию. Выдачная укупорочная система предусматривает плавный переход потока продукта от отверстия контейнера к выдачному отверстию, при этом сводя к минимуму объем, образованный выливным носиком, и обеспечивая повышенное «обратное всасывание» при использовании вместе с гибким контейнером, образующим вакуум, и резкое «отсечение» продукта по сравнению с известными системами.
Многие другие преимущества и признаки настоящего изобретения будут более понятны из последующего более подробного описания изобретения, формулы изобретения и сопровождающих чертежей, на которых изображено следующее:
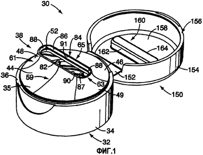
Фиг.1 изображает перспективный вид сверху выдачной укупорочной системы, выполненной в виде отдельного узла, согласно предпочтительному варианту выполнения изобретения, показанной в открытом положении;
Фиг.2 – перспективный вид снизу системы, показанной на фиг.1;
Фиг.3 – вид сверху системы, показанной на фиг.1;
Фиг.4 – вид в сечении вдоль линии 4-4 на фиг.3;
Фиг.5 – вид в сечении вдоль линии 5-5 на фиг.3;
Фиг.6 – вид в сечении вдоль линии 6-6 на фиг.3;
Фиг.7 – вид в сечении вдоль линии 7-7 на фиг.3;
Фиг.8 – вид в сечении вдоль линии 8-8 на фиг.3;
Фиг.9 – вид в сечении вдоль линии 9-9 на фиг.3;
Фиг.10 – вид в сечении вдоль линии 4-4 на фиг.3 с крышкой в закрытом положении;
Фиг.11 – вид сбоку системы, показанной на фиг.1;
Фиг.12 – увеличенный вид сверху системы, показанной на фиг.1;
Фиг.13 – вид в частичном сечении вдоль линии 13-13 на фиг.12;
Фиг.14 – вид в сечении вдоль линии 14-14 на фиг.13;
Фиг.14А – увеличенная часть системы, показанной на фиг.14;
Фиг.14В – увеличенная часть системы, показанной на фиг.14;
Фиг.15 – перспективный вид второго варианта выполнения настоящего изобретения, показывающий вторую конфигурацию выливного носика и отверстия;
Фиг.16 – вид в сечении вдоль линии 16-16 на фиг.15 с крышкой в закрытом положении;
Фиг.17 – перспективный вид третьего варианта выполнения настоящего изобретения, показывающий третью конфигурацию выливного носика и отверстия;
Фиг.18 – вид в сечении вдоль линии 18-18 на фиг.17 с крышкой в закрытом положении;
Фиг.19 – перспективный вид четвертого варианта выполнения настоящего изобретения, показывающий четвертую конфигурацию выливного носика и отверстия;
Фиг.20 – вид в сечении вдоль линии 20-20 на фиг.19 с крышкой в закрытом положении;
Фиг.21 – перспективный вид пятого варианта выполнения настоящего изобретения, показывающий пятую конфигурацию выливного носика и отверстия;
Фиг.22 – вид в сечении вдоль линии 22-22 на фиг.21 с крышкой в закрытом положении;
Фиг.23 – перспективный вид шестого варианта выполнения настоящего изобретения, показывающий пятую конфигурацию выливного носика и отверстия;
Фиг.24 – вид в сечении вдоль линии 24-24 на фиг.23 с крышкой в закрытом положении.
Хотя изобретение допускает варианты выполнения во многих различных формах, данное описание и сопровождающие чертежи описывает только некоторые конкретные формы в качестве вариантов выполнения изобретения. Однако изобретение не должно ограничиваться только такими описанными вариантами выполнения. Объем изобретения указан в прилагаемой формуле изобретения.
Для легкости описания большинство чертежей, иллюстрирующих изобретение, показывают выдачную систему в обычной ориентации, которую она имела бы на верху контейнера, когда контейнер хранится в вертикальном положении на его основании, и такие выражения как верхний, нижний, горизонтальный и т.д. используют со ссылкой на это положение. Будет понятно, однако, что выдачная система по изобретению может производиться, храниться, транспортироваться, использоваться и продаваться в другой ориентации, чем описанное положение.
Выдачная система по изобретению подходит для использования с различными традиционными или специальными контейнерами, имеющими различные конструкции, детали которых, хотя и не показаны или не описаны, будут понятны специалисту в данной области, понимающему устройство таких контейнеров. Контейнер, описанный здесь, не является частью настоящего изобретения и поэтому не предназначен для ограничения настоящего изобретения. Также специалисту в данной области будет понятно, что только новые и неочевидные объекты изобретения включены в описанные варианты выдачных систем.
Примерный вариант выполнения выдачной укупорочной системы 30 по изобретению показан на фиг.1-14. Выдачная укупорочная система 30 приспособлена для зацепления с контейнером (не показан). Как видно на фиг.1, укупорочная система 30 имеет корпус 32, который включает полое, в общем цилиндрическое основание или юбку 34 и кольцевой заплечик 36, проходящий радиально внутрь от верха юбки 34. Выдачная укупорочная система также включает выливной носик 38, проходящий вверх от внутреннего участка заплечика 36. Как лучше видно на фиг.2, внутренняя часть юбки 34 образует внутреннюю охватывающую резьбу 40. Юбка 34 приспособлена для приема верхнего конца выливного отверстия контейнера (не показано) и для резьбового зацепления с ним. Резьба 40 юбки приспособлена для соответствующего зацепления с резьбой на выливном отверстии или горловине контейнера. Нижний край юбки 34 включает несколько щелей или выемок 37, которые используют в автоматизированном оборудовании для поворачивания корпуса 32 и при этом отвинчивания корпуса 32 для удаления его из инжекционной формы.
Альтернативно, юбка 34 может быть снабжена некоторыми другими средствами для соединения с контейнером, такими как защелкиваемый буртик или канавка (не показаны) на месте резьбы 40, для взаимодействия с канавкой или буртиком контейнера (не показаны), соответственно, в горловине контейнера. Корпус 32 также может быть постоянно прикреплен к контейнеру посредством индукционной сварки, ультразвуковой сварки, склеивания или тому подобное, в зависимости от материалов, используемых для корпуса 32 и в контейнере. Корпус 32 также может быть образован в виде одной детали или в виде продолжения контейнера.
Юбка 34 корпуса может иметь любую подходящую конфигурацию. Контейнер может иметь выступающую вверх горловину или другую часть для размещения в корпусе 32, а основная часть контейнера может иметь форму в сечении, отличную от горловины контейнера и юбки 34 корпуса.
Укупорочная система 30 приспособлена для использования с контейнером, имеющим выливное отверстие или другое отверстие для обеспечения доступа внутрь контейнера к продукту, содержащемуся в нем. Продукт, например, может быть, например, съедобным продуктом, таким как пищевая паста, желе или джем. Укупорочная система 30 наиболее подходит для выдачи вязкого продукта в виде ленты экструдата. Однако укупорочную систему 30 также можно использовать со многими другими материалами, включающими жидкости относительно низкой вязкости, сыпучие вещества и т.д., но не ограничивающиеся ими, в качестве составляющих пищевых продуктов, продуктов личной гигиены, промышленных или бытовых чистящих продуктов или других химических композиций (например, композиции для использования в таких областях, которые включают производство, промышленное или бытовое обслуживание, строительство, сельское хозяйство и т.д.).
Контейнер, с которым можно использовать укупорочную систему, обычно является сжимаемым контейнером, имеющим гибкую стенку или стенки, которые могут захватываться пользователем и сжиматься или сдавливаться для повышения внутреннего давления внутри контейнера, так чтобы вытеснить продукт наружу из контейнера и через укупорочную систему 30. Стенка контейнера обычно имеет достаточную упругость, так чтобы при удалении сжимающих усилий стенка контейнера возвращалась в ее нормальную, ненапряженную форму. Такой контейнер с сжимаемыми стенками является предпочтительным для многих применений, но не является необходимым в других применениях. Например, в некоторых применениях может быть желательно использовать, по существу жесткий контейнер и обеспечивать давление внутри контейнера в течение выбранного времени с помощью поршня или другой сжимающей системы.
Как показано на фиг.1 и 2, крышка 150 предпочтительно шарнирно соединена с корпусом 32 посредством шарнира 152 защелкивающего действия. Такой шарнир описан в патенте США № 5642824, описание которого включено сюда путем ссылки. В альтернативном варианте выполнения крышку 150 не требуется соединять посредством шарнира защелкивающего действия. Вместо этого можно использовать гибкий шарнир. Кроме того, в другом варианте выполнения (не показан) шарнир 152 может отсутствовать и крышка 150 может быть полностью отдельной и полностью удаляемой с корпуса. В некоторых применениях крышка 150 может отсутствовать.
В варианте укупорочной системы 30 крышка 150 включает боковую стенку или юбку 154, от которой шарнир 152 проходит к корпусу 32. Юбка 154 крышки имеет установочную поверхность 156 крышки. Когда крышка 150 закрыта, установочная поверхность 156 зацепляется с кольцевым заплечиком 36, образованным на корпусе 32 на верху юбки 34 корпуса.
Согласно фиг.3, 11, 12, 14 и 14А в соответствии с основным признаком изобретения вариант укупорочной системы 30 включает продолговатое или удлиненное выдачное отверстие 52, образованное в выливном носике 38 для выдачи продукта в виде ленточного экструдата. Выдачное отверстие 52 образовано периферической поверхностью 86 выдачного отверстия. Как показано на фиг.1 и 2, периферическая поверхность 86 выдачного отверстия включает переднюю часть 90 и заднюю часть 92, которая по существу параллельна передней части 90. Периферическая поверхность 86 выдачного отверстия также включает пару скругленных боковых участков 88 (фиг.1). Эта уникальная форма выдачного отверстия 52 позволяет пользователю выдавать ленту продукта управляемым образом и уменьшать или исключать усилие, требуемое для намазывания продукта после его выдачи из контейнера.
Как лучше показано на фиг.1-10 и 12, наружная периферия выливного носика 38 включает площадку 35 (фиг.4-6), имеющую установочную поверхность 33, образованную на ней. Выливной носик 38 образован четырьмя стенками, проходящими вверх от площадки 35. Передняя стенка 44 выливного носика проходит вверх от площадки 35 к краевой поверхности 82 передней стенки выливного носика (фиг.4-6 и 14А). Задняя стенка 46 выливного носика проходит от площадки 35 вверх к краевой поверхности 84 задней стенки выливного носика (фиг.4-6 и 14А). Передняя стенка 44 и задняя стенка 46 расположены на противоположных сторонах корпуса 32. Выливной носик 38 также включает пару боковых стенок, проходящих вверх от площадки 35 к боковым краевым поверхностям. Правая стенка 49 выливного носика проходит вверх от площадки 35 к боковой краевой поверхности 87, а левая стенка 48 проходит вверх от площадки 35 к боковой краевой поверхности 87 (фиг.7). В показанном варианте выполнения краевая поверхность 82 передней стенки выливного носика, краевая поверхность 84 задней стенки выливного носика и боковые краевые поверхности образуют непрерывную поверхность. Однако ясно, что изобретение рассматривает другие конфигурации краевых поверхностей и что краевые поверхности 82, 84, 87 необязательно образуют одну непрерывную поверхность, но могут быть отдельными поверхностями с различными высотами или под различными углами относительно друг друга.
Крышка 150 включает элемент, уплотняющий отверстие, или «выступ» 160, который проходит от краевой стенки 158 крышки и приспособлен для уплотняющего зацепления с периферической поверхностью 86 выдачного отверстия, когда крышку 150 поворачивают из открытого положения (показанного на фиг.1) к закрытому положению (показанному на фиг.10). Элемент 160, уплотняющий отверстие, включает задний участок 162 и передний участок 164. Выражения «передний» и «задний», используемые здесь, указывают положение элемента 160, уплотняющего отверстие, когда крышка 150 находится в закрытом положении. Как будет понятно, элемент 160, уплотняющий отверстие, имеет комплементарную форму относительно формы выдачного отверстия 52.
Как показано на фиг.13, 14, 14А, выдачное отверстие 52 образовано периферической поверхностью 86, которая, в одном из вариантов выполнения, включает проходящую вверх поверхность 74 выливного носика, внутренний уплотняющий буртик 78 выливного носика и сужающуюся наружу поверхность 80 выливного носика. Как видно на фиг.14А, периферическая поверхность 86 выдачного отверстия проходит вверх от переднего внутреннего заплечика 72 выливного носика и от заднего внутреннего заплечика 70 выливного носика.
Как показано на фиг.14В, элемент 160, уплотняющий отверстие, включает сужающуюся поверхность 170, 174 по его периферии. Задний участок 162 элемента, уплотняющего отверстие, включает промежуточную поверхность 174, а передний участок 164 элемента, уплотняющего отверстие, включает промежуточную поверхность 170. Как будет понятно, промежуточные поверхности 170, 174 вместе с промежуточными поверхностями на боковых участках элемента 160, уплотняющего отверстие, образуют непрерывную поверхность, проходящую по периферии элемента 160, уплотняющего отверстие. Из-за сужения промежуточных поверхностей элемент 160, уплотняющий отверстие, может уплотняющим образом зацепляться с периферической поверхностью 86 выдачного отверстия, без нежелательного препятствия, когда крышку 150 поворачивают в ее закрытое положение. Краевые поверхности 166, 168 образуют плоскость элемента, уплотняющего отверстие, которая образует острый угол с центральной осью или плоскостью элемента 160, уплотняющего отверстие. Как показано на виде в сечении на фиг.14В, передний участок 164 элемента, уплотняющего отверстие, и задний участок 162 этого элемента проходят от краевой стенки 158 крышки под некоторым углом, который слегка превышает 90°, и, таким образом, наружу друг от друга. Это обеспечивает упругое смещение относительно элемента 160, уплотняющего отверстие, который используют для улучшения уплотняющего зацепления с периферической поверхностью 86 выдачного отверстия. Уплотняющий буртик 78 на внутренней поверхности выливного носика 38 корпуса улучшает уплотняющее зацепление с наружной поверхностью элемента 160, уплотняющего отверстие.
Как показано на фиг.14 и 14А, согласно другому признаку изобретения краевая поверхность 82 передней стенки выливного носика и краевая поверхность 84 задней стенки выливного носика образуют плоскость Р отверстия, которая проходит под острым углом относительно оси А корпуса 32 или которая не параллельна плоскости, образованной установочной поверхностью 33 корпуса. Ось А предпочтительно образована направлением потока продукта через отверстие 52. Благодаря проходящим вверх поверхностям 74 (фиг.14) периферической поверхности 86 выдачного отверстия выдаваемый продукт стремится проходить параллельно этим поверхностям через выдачное отверстие 52. Благодаря угловому отверстию задняя стенка 46 выливного носика проходит от площадки 35 выше, чем передняя стенка 44 выливного носика. Краевые поверхности 87 боковой стенки выливного носика соединяют краевую поверхность 82 передней стенки выливного носика и краевую поверхность 84 задней стенки выливного носика с образованием непрерывной поверхности в плоскости Р отверстия. Такое выполнение обеспечивает улучшенное «отсечение» продукта и, поэтому, снижает возможность утечки или потери продукта.
Согласно другому признаку изобретения коническую геометрию переходной поверхности используют на корпусе 32 для улучшения перехода потока продукта от отверстия контейнера к выдачному отверстию 52 и улучшения «отсечения» продукта посредством уменьшения объема под выливным носиком 38. Фиг.4, 5, 6 представляют соответствующие виды в сечении, вдоль линий 4-4, 5-5 и 6-6 на фиг.3, которая представляет собой вид сверху варианта укупорочной системы согласно изобретению. Как видно на фиг.4-6, кольцевое уплотнение 42 типа «зажима» выступает вниз от установочной поверхности 33 корпуса и приспособлено для уплотняющего зацепления с верхним кольцевым краем контейнера (не показан), на котором установлена укупорочная система 30. Согласно изобретению передняя стенка 44 выливного носика включает внутреннюю переходную поверхность 51, которая, в этом варианте выполнения, по меньшей мере, частично следует по параболе от площадки 35 к периферической поверхности 86 выдачного отверстия. Аналогично, задняя стенка 46 выливного носика включает внутреннюю переходную поверхность 57, которая, в этом варианте выполнения, по меньшей мере, частично следует по параболе от площадки 35 к периферической поверхности 86 выдачного отверстия. Как видно также на фиг.4-6, передняя стенка 44 выливного носика также включает наружную поверхность 59, которая следует по параболе от площадки 35 к краевой поверхности 82 передней стенки выливного носика. Аналогично, чтобы обеспечить по существу равномерную толщину стенок выливного носика, задняя стенка 46 выливного носика включает наружную поверхность 65, которая следует по параболе от площадки 35 к краевой поверхности 84 задней стенки выливного носика. Специалисту в данной области будет понятно, что наружные поверхности передней стенки 44 и задней стенки 46 выливного носика необязательно должны иметь коническую геометрию, а могут иметь другую геометрию, как необходимо для конкретных эстетических и/или функциональных требований конкретной укупорочной системы.
Фиг.7-9 представляют собой виды в сечении вдоль линий 7-7, 8-8 и 9-9 на фиг.3 соответственно. В этом варианте выполнения внутренние переходные поверхности боковых стенок выливного носика 38 не включают коническую геометрию. Предпочтительно левая стенка 48 и правая стенка 49 выливного носика включают внутренние поверхности, которые проходят, в общем, в вертикальном направлении и которые могут включать сужающийся участок, проходящий внутрь к периферической поверхности 86 выдачного отверстия. Однако специалисту в данной области будет понятно, что коническую геометрию можно использовать на внутренних поверхностях левой и правой стенок выливного носика в объеме данного изобретения. Левая стенка 48 выливного носика включает внутреннюю поверхность 68, которая включает, в общем, вертикальную поверхность и сужающуюся внутрь поверхность, проходящую по направлению к периферической поверхности 86 выдачного отверстия. Левая стенка 48 выливного носика также включает наружную поверхность 61, которая проходит в соответствии с конической геометрией от площадки 35 к краевой поверхности 87 левой стенки выливного носика. Аналогично, правая стенка 49 выливного носика включает внутреннюю поверхность 66, которая имеет, в общем, вертикальную поверхность и сужающуюся внутрь поверхность. Правая стенка 49 выливного носика также включает наружную поверхность 63, которая проходит от площадки 35 к краевой поверхности 87 правой стенки в соответствии с конической геометрией.
Фиг.15 и 16 показывают другой вариант укупорочной системы 230 согласно изобретению. В этом варианте выполнения передняя стенка 244 выливного носика проходит под плавным наклоном от площадки 235 к краевой поверхности 282 передней стенки, в соответствии с конической геометрией, но с более плавным наклоном, чем в варианте выполнения, показанном на фиг.1-14. Кроме того, краевая поверхность 282 передней стенки образует больший угол с наружной поверхностью 259 передней стенки выливного носика по сравнению с соответствующими поверхностями в варианте выполнения, показанном на фиг.1-14. Это обеспечивает более гладкую отделку, которую легко чистить. Передняя стенка 244 выливного носика включает внутреннюю переходную поверхность 251, которая проходит от площадки 235, по меньшей мере, частично, к периферической поверхности 286 выдачного отверстия, в соответствии с конической геометрией, предпочтительно параболой. Аналогично, задняя стенка 246 выливного носика включает любую внутреннюю переходную поверхность 257, которая проходит в соответствии с конической геометрией, которая является более крутой и поэтому отличается от конической геометрии внутренней переходной поверхности 251 передней стенки выливного носика. Как видно на фиг.16, элемент 260, уплотняющий отверстие, снабжен угловой краевой поверхностью 266, которая обеспечивает вход элемента 260, уплотняющего отверстие, в угловое выдачное отверстие 252, когда крышка 250 закрыта.
Фиг.17 и 18 – еще один вариант укупорочной системы 330 согласно изобретению. В этом варианте выполнения стенки выливного носика образованы по существу вертикальным участком и более резким переходом от площадки 335. Передняя стенка 344 выливного носика включает внутреннюю переходную поверхность 351, которая имеет по существу постоянный радиус, проходящий от площадки 335 к вертикальному участку 366 передней стенки 344 выливного носика. Аналогично, задняя стенка 346 выливного носика включает внутреннюю переходную поверхность 357, которая имеет по существу постоянный радиус, проходящий от площадки 335 к вертикальному участку 366. Наружные переходные поверхности 359 и 365 образованы в виде изогнутых поверхностей по существу постоянного радиуса. В отличие от вышеописанных вариантов выполнения элемент 360, уплотняющий отверстие, в этом варианте выполнения приспособлен для зацепления с наружной поверхностью выливного носика 338. Для этого выливной носик 338 снабжен сужающейся наружной поверхностью 371 (фиг.17), проходящей по его периферии. Аналогично, элемент 360, уплотняющий отверстие, снабжен внутренней сужающейся поверхностью 362. Также, в отличие от вышеописанных вариантов выполнения, отверстие расположено не под углом относительно площадки 335.
Фиг.19 и 20 показывают еще один вариант укупорочной системы 430 согласно изобретению. В этом варианте выполнения вертикальный участок 466 стенки выливного носика больше аналогичного участка по варианту выполнения, показанному на фиг.17 и 18. Внутренняя переходная поверхность 451 передней стенки 444 выливного носика следует по существу по постоянному радиусу от площадки 435 к вертикальному участку 466. Аналогично, внутренняя переходная поверхность 457 задней стенки 446 выливного носика следует по существу по постоянному радиусу от площадки 435 к вертикальному участку 466. Наружные переходные поверхности 459, 465 также имеют постоянные радиусы. Как ясно из чертежей, радиусы этих переходных поверхностей, как внутренние так и наружные, меньше радиусов переходных поверхностей варианта выполнения, показанного на фиг.17 и 18, при этом снижая стоимость производства данного варианта укупорочной системы 430. В этом варианте выполнения элемент 460, уплотняющий отверстие, приспособлен для зацепления с внутренней поверхностью выливного носика 438.
Фиг.21 и 22 показывают еще один вариант укупорочной системы 530 согласно изобретению. В этом варианте выполнения выдачное отверстие 552 расположено под другим углом по сравнению с вариантом выполнения, показанном на фиг.1-14. То есть передняя стенка 544 выливного носика проходит по существу на ту же высоту от площадки 535, как и задняя стенка 546 выливного носика. Как передняя стенка 544, так и задняя стенка 546 выливного носика включают внутренние переходные поверхности. Внутренние переходные поверхности 551 передней стенки выливного носика проходят в соответствии с конической геометрией от площадки 535 к периферической поверхности 586 выдачного отверстия. Внутренняя переходная поверхность 557 задней стенки выливного носика проходит в соответствии с конической геометрией от площадки 535 к периферической поверхности 586 выдачного отверстия. Наружные переходные поверхности 559, 565 также выполнены на передней стенке 544 выливного носика и задней стенке 546 выливного носика соответственно. Как более подробно видно на фиг.22, периферическая поверхность 586 выдачного отверстия включает сужающуюся внутрь поверхность 585, которая проходит внутрь от краевой поверхности 582 передней стенки выливного носика и краевой поверхности 584 задней стенки выливного носика с образованием посадки с натягом с элементом 560, уплотняющим отверстие, когда крышка находится в закрытом положении, показанном на фиг.22.
Фиг.23 и 24 показывают еще один вариант укупорочной системы 630 согласно изобретению. В этом варианте выполнения укупорочная система снабжена внутренними переходными поверхностями по существу постоянного радиуса и стенкой выливного носика с по существу вертикальным участком 666 и угловой плоскостью отверстия. Элемент 660, уплотняющий отверстие, приспособлен для зацепления с наружной поверхностью выливного носика 638 и не включает сужающегося конца. То есть периферическая стенка 662 элемента 660, уплотняющего отверстие, проходит по существу на ту же высоту относительно краевой стенки 658 крышки по всей периферии элемента 660, уплотняющего отверстие. Передняя стенка 644 выливного носика включает внутреннюю переходную поверхность 651, которая проходит от площадки 635 к вертикальному участку 666 вдоль по существу постоянного радиуса. Аналогично, задняя стенка 646 выливного носика включает внутреннюю переходную поверхность 657, которая проходит от площадки 635 к вертикальному участку вдоль по существу постоянного радиуса. Наружные переходные поверхности 659, 665 обеспечены для перехода от толщины площадки 635 к толщине вертикального участка 666.
Из вышеуказанного подробного описания изобретения и его чертежей ясно, что можно выполнить множество изменений и модификаций без отхода от объема настоящего изобретения. Например, хотя укупорочная система согласно изобретению показана на примере резьбового взаимодействия с контейнером, изобретение предусматривает другие технологии соединения и средства прикрепления укупорочной системы к контейнеру. Например, поскольку изобретение создает укупорочную систему, которая не требует приложения относительно больших уплотняющих усилий посредством резьбы на укупорочной системе и отделки контейнера, безрезьбовое прикрепление укупорочной системы к контейнеру обеспечивается данным изобретением. Такое прикрепление может включать установку с трением, облегченную укупорочным узлом, имеющим юбку с внутренним диаметром, выполненным такого размера, чтобы обеспечить скользящее или телескопическое взаимодействие с гладкой, нерезьбовой отделкой контейнера. В таком варианте выполнения укупорочная система может содержать выливной носик и корпус, которые снабжены упорными поверхностями, например взаимной фиксацией байонетного типа или прикрепляющим средством, которые позволят осуществить установку укупорочной системы на контейнер, но которые могут быть сформированы, например, посредством относительного вращения корпуса укупорочной системы и контейнера для ограничения перемещения вверх корпуса укупорочной системы относительно контейнера.
Формула изобретения
1. Выданная укупорочная система для выдачи ленты продукта из контейнера, содержащая корпус, имеющий площадку, проходящую по существу в плоскости, юбку, проходящую от площадки, для зацепления с контейнером и кольцевой углубленный заплечик, проходящий вокруг площадки, выливной носик, проходящий от площадки и включающий периферическую поверхность выдачного отверстия, образующую продолговатое выдачное отверстие, длинную переднюю стенку и длинную заднюю стенку, по существу параллельные друг другу и перпендикулярные плоскости площадки, крышку, прикрепленную к корпусу для избирательного поворота вокруг оси, по существу параллельной плоскости площадки и передней и задней стенкам выливного носика, имеющую уплотняющий элемент выдачного отверстия, способный зацепляться вблизи передней и задней стенок выливного носика и имеющий удлиненную стенку, по существу перпендикулярную к плоскости площадки при зацеплении с передней и задней стенками выливного носика при закрытой крышке, при этом крышка имеет юбку, размещаемую на заплечике при закрытой крышке, и заплечик приспособлен взаимодействовать с юбкой для позиционирования крышки и уплотняющего элемента выдачного отверстия относительно корпуса и выливного носика при закрытой крышке.
2. Выдачная укупорочная система по п.1, в которой задняя и передняя стенки выливного носика, каждая, имеет внутреннюю переходную поверхность, проходящую от площадки, и удлиненная стенка уплотняющего элемента перекрывает переднюю и заднюю стенки выливного носика при закрытой крышке.
3. Выдачная укупорочная система для выдачи ленты продукта из контейнера, содержащая корпус, имеющий площадку, проходящую по существу в плоскости, юбку, проходящую от площадки, для зацепления с контейнером, выливной носик, проходящий от площадки и включающий периферическую поверхность выдачного отверстия, образующую продолговатое выдачное отверстие, длинную переднюю стенку и длинную заднюю стенку, по существу параллельные друг другу и перпендикулярные плоскости площадки, каждая из которых имеет наружную поверхность, образующую часть периферической поверхности выдачного отверстия, крышку, прикрепленную к корпусу для избирательного поворота вокруг оси, по существу параллельной плоскости площадки и передней и задней стенкам выливного носика, имеющую уплотняющий элемент выдачного отверстия, способный зацепляться вблизи наружной поверхности передней и задней стенок выливного носика и имеющий удлиненную стенку, по существу перпендикулярную к плоскости площадки при зацеплении с передней и задней стенками выливного носика при закрытой крышке.
РИСУНКИ
|
|