|
|
(21), (22) Заявка: 2004131959/28, 03.11.2004
(24) Дата начала отсчета срока действия патента:
03.11.2004
(45) Опубликовано: 20.05.2006
(56) Список документов, цитированных в отчете о поиске:
RU 2082197 C1, 20.06.1997. RU 2190246 С2, 27.09.2002. JP 56074216 А, 19.06.1981. US 4911543 A, 27.03.1990.
Адрес для переписки:
125373, Москва, ул. Окружная, 15, кв.52, Е.С. Петренко
|
(72) Автор(ы):
Санников Петр Алексеевич (RU), Стрибук Петр Васильевич (RU), Лившиц Аркадий Гавриилович (RU), Петренко Евгений Сергеевич (RU)
(73) Патентообладатель(и):
Закрытое акционерное общество “АРЛИ СПЕЦТЕХНИКА” (RU)
|
(54) МИКРОСКОП СРАВНЕНИЯ
(57) Реферат:
Микроскоп сравнения может использоваться при сравнительном анализе объектов, в частности, для идентификационных исследований в области криминалистики. Микроскоп содержит две ветви 1 и 7 сравнения, каждая из которых включает первый 2 и второй 6 объективы устройство 3 изменения увеличения в виде по меньшей мере двух телескопических трубок Галилея, а также блок 10 наблюдения и регистрации, блок 22 совмещения полей изображений, расположенный между ветвями 1, 7 и блоком 10. В каждую ветвь сравнения введена диафрагма с изменяющимся размером отверстия, размещенная между вторым объективом и устройством изменения увеличения вблизи от последнего. Максимальный размер отверстия диафрагмы выполнен не меньшим светового диаметра наибольшей линзы трубок Галилея. Первый объектив 2 может быть выполнен с возможностью осевого перемещения. Обеспечивается идентичность изображений, формируемых первой и второй ветвями сравнения. 1 з.п. ф-лы, 2 ил.
Изобретение относится к оптическому приборостроению и может быть использовано при сравнительном анализе объектов, в частности, для идентификационных исследований в области криминалистики.
Известен микроскоп сравнения, содержащий две ветви сравнения, каждая из которых включает первый объектив, устройство изменения увеличения, второй объектив, блок наблюдения и регистрации и блок совмещения полей изображений, расположенный между вторыми объективами ветвей сравнения и блоком наблюдения и регистрации. Работа микроскопа сравнения основана на формировании обеими ветвями сравнения промежуточных изображений объектов в блоке совмещения полей изображений в плоскости, совмещенной с плоскостью предметов блока наблюдения и регистрации. При перемещении блока совмещения полей изображений в направлении, параллельном оптическим осям вторых объективов ветвей сравнения, наблюдают и регистрируют в крайних положениях блока совмещения полей изображений изображение объекта, формируемое либо первой, либо второй ветвью сравнения, а в промежуточных положениях – части изображений, формируемых обеими ветвями сравнения. Фокусировку на резкость изображений, формируемых ветвями сравнений, осуществляют перемещениями предметных столиков вдоль оптической оси первых объективов [1].
Недостатком известного микроскопа сравнения является сложность идентификации объектов при совмещении изображений их фрагментов, формируемых первой и второй ветвями сравнения, так как яркость этих изображений различна в связи с неодинаковым коэффициентом пропускания света в первой и второй ветвях сравнения. Это объясняется наличием отклонений (допусков) на геометрические размеры оптических и механических деталей в обеих ветвях сравнения.
Известен микроскоп сравнения, содержащий две ветви сравнения, каждая из которых включает первый объектив, устройство изменения увеличения, выполненное в виде по меньшей мере двух телескопических трубок Галилея, второй объектив, блок наблюдения и регистрации и блок совмещения полей изображений, расположенный между вторыми объективами ветвей сравнения и блоком наблюдения и регистрации. При перемещении блока совмещения полей изображений в направлении, параллельном оптическим осям вторых объективов ветвей сравнения, наблюдают и регистрируют совмещенные по какому-либо фрагменту изображения объектов, формируемые обеими ветвями сравнения. При перемещении блока совмещения полей изображений в направлении, перпендикулярном первому, наблюдают и регистрируют наложенные друг на друга изображения первой и второй ветвей сравнения. Фокусировку на резкость изображений, формируемых ветвями сравнений, осуществляют перемещениями предметных столиков вдоль оптической оси первых объективов [2] (наиболее близкий аналог).
Недостатком данного микроскопа сравнения также является сложность идентификации объектов при совмещении изображений их фрагментов, формируемых первой и второй ветвями сравнения, так как яркость этих изображений различна в связи с неодинаковым коэффициентом пропускания света в первой и второй ветвях сравнения. Это объясняется наличием отклонений (допусков) на геометрические размеры оптических и механических деталей в обеих ветвях сравнения.
Задачей настоящего изобретения является обеспечение идентичности изображений, формируемых первой и второй ветвями сравнения.
Поставленная задача решается тем, что в микроскопе сравнения, содержащем две ветви сравнения, каждая из которых включает первый объектив, устройство изменения увеличения, выполненное в виде по меньшей мере двух телескопических трубок Галилея, второй объектив, блок наблюдения и регистрации и блок совмещения полей изображений, расположенный между вторыми объективами ветвей сравнения и блоком наблюдения и регистрации, в каждую ветвь сравнения введена диафрагма с изменяющимся размером отверстия, размещенная между вторым объективом и устройством изменения увеличения вблизи от последнего, а максимальный размер отверстия диафрагмы выполнен не меньшим светового диаметра наибольшей линзы трубок Галилея. Первый объектив выполнен с возможностью осевого перемещения.
Проведенный анализ заявленного технического решения показал, что идентичность изображений, формируемых первой и второй ветвями сравнения, обеспечивают за счет введения в каждую ветвь сравнения диафрагмы с изменяющимся размером отверстия и размещение ее между вторым объективом и устройством изменения увеличения. Это позволяет выравнивать уровень яркости изображений, формируемых в ветвях сравнения, и, соответственно, обеспечивает большую идентичность этих изображений по сравнению с аналогами. Выполнение максимального размера отверстия диафрагмы, не меньшим светового диаметра наибольшей линзы трубок Галилея, обеспечивает максимально возможную яркость изображения, формируемого ветвью сравнения.
Выполнение первого объектива с возможностью осевого перемещения позволяет осуществлять дополнительную точную фокусировку на резкость изображения осевым перемещением первого объектива, а изменением размера отверстия диафрагмы – компенсировать изменение яркости изображения, вызванное изменением расстояния между первым и вторым объективами.
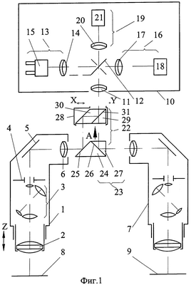
Сущность изобретения поясняется схемами, приведенными на фиг.1 и 2. На фиг.1 изображена функциональная оптическая схема варианта исполнения микроскопа сравнения; на фиг.2 – схема расположения светоделительных участков в блоке совмещения полей (вид А, фиг.1).
Микроскоп сравнения содержит первую ветвь 1 сравнения, состоящую из последовательно расположенных первого объектива 2, выполненного с возможностью осевого перемещения по стрелке «Z», устройства 3 изменения увеличения, выполненное в виде двух трубок Галилея, диафрагмы 4 с изменяющимся размером отверстия, максимальный размер которого выполнен не меньшим светового диаметра наибольшей линзы трубок Галилея, отклоняющего зеркала 5 и второго объектива 6. Диафрагма 4 расположена вблизи устройства 3. Параллельно первой ветви 1 сравнения расположена вторая ветвь 7 сравнения, состоящая из тех же элементов. В передних фокальных плоскостях первых объективов 2 в обеих ветвях 1 и 7 сравнения расположены предметные столики соответственно 8 и 9.
Микроскоп сравнения содержит блок 10 наблюдения и регистрации, включающий объектив 11 и установленное по ходу его лучей переключающее зеркало 12. Переключающее зеркало 12 имеет три фиксированных положения. По ходу лучей от переключающего зеркала 12 в каждом его фиксированном положении установлены, соответственно, визуальный канал 13, содержащий объектив 14 и бинокулярную систему 15, телевизионный канал 16, содержащий объектив 17 и телекамеру 18, и фотографический канал 19, содержащий объектив 20 и фотокамеру 21.
Между вторыми объективами 6 ветвей 1 и 7 сравнения и блоком 10 наблюдения и регистрации расположен блок 22 совмещения полей изображений, включающий отражательную призму 23, состоящую из прямоугольной призмы 24 с отражающими гранями 25 и 26, установленными под углом к оптической оси вторых объективов 6, соответственно, ветвей 1 и 7 сравнения. Призма 24 склеена по грани 26 с прямоугольной призмой 27. В блок 22 входит также разделительная призма 28, образованная призмами 29 и 30 с общей светоделительной гранью 31, наклонной к оптической оси блока 10 наблюдения и регистрации и параллельной грани 25 призмы 24. Призма 30 выполнена в виде ромб-призмы, светоделительная грань 31 которой содержит три участка. Первый участок 32 выполнен в виде полупрозрачного зеркала (фиг.2), второй участок 33 – с зеркально отражающей поверхностью и третий участок 34 – с прозрачной для света поверхностью. Линия 35 раздела участков 33 и 34 перпендикулярна плоскости главного сечения разделительной призмы 28, которая установлена с возможностью линейного перемещения по направлению Х между ветвями 1 и 7 и с возможностью перемещения в два фиксированных положения 36 и 37 по направлению Y, параллельному линии 35. На фиг.2 показано расположение поля зрения 38 блока 10 в первом фиксированном положении 36 и во втором фиксированном положении 37 призмы 28.
Работа микроскопа сравнения осуществляется следующим образом.
Два сравниваемых объекта, например, пули, одна из которых известна и принадлежит пулегильзотеке, а другая анализируется на предмет идентичности первой, устанавливаются на предметные столики, соответственно, 8 и 9. Изображения объектов сравнения формируются ветвями 1 и 7 сравнения в плоскости разделительной призмы 28, совпадающей с фокальной плоскостью блока 10 и проходящей через линию раздела 35 участков 33 и 34 светоделительной грани 31. При положении разделительной призмы 28 в первом фиксированном положении 36 в поле зрения 38 блока 10 формируется составное изображение, слева от линии 35 – левая часть изображения известной пули, формируемого ветвью 1, справа – правая часть изображения анализируемой пули, формируемого ветвью 7.
При последовательном перемещении разделительной призмы 28 влево по направлению Х все большую часть поля зрения 38 будет занимать изображение анализируемой пули, а при перемещении вправо – изображение известной пули.
После разделительной призмы 28 пучок лучей проходит объектив 11 и параллельным пучком попадает на переключающее зеркало 12. При установке зеркала 12 в положение, показанное на фиг.1 сплошной линией, пучок лучей направляется в телевизионный канал 16, где объективом 17 на фотоприемной площадке телекамеры 18 формируются изображения известной и анализируемой пуль, которые рассматриваются на экране монитора (на фиг.1 не показан), подключенного к телекамере 18. При наблюдении через визуальный канал 13 (зеркало 12 установлено в положение, показанное штриховой линией, пересекающей оптическую ось) или телевизионный канал 16 изображений, формируемых ветвями 1 и 7, резкость указанных изображений вначале грубо фокусируют перемещением предметных столиков 8 и 9. Затем изображения точно фокусируют осевым перемещением объективов 2, а уровень их яркости выравнивают изменением размера отверстия диафрагмы 4 в ветви 1 или 7. При этом изменяется апертура (апертурный угол) объектива 2 и, соответственно, уровень яркости изображения, формируемого им совместно с объективом 6.
Для регистрации полученных изображений в фотографическом канале 19 зеркало 12 переводят в положение, показанное на фиг.1 штриховой линией, не пересекающей ось объектива 11. При этом объектив 20 формирует изображения объектов в плоскости фотоматериала фотокамеры 21.
Таким образом, предложенное техническое решение обеспечивает идентичность изображений, формируемых первой и второй ветвями сравнения.
Источники информации
1. Скворцов Г.Е. и др. Микроскопы. – Л.: Машиностроение, 1969, с.396-398, рис.XVII-2.
2. Патент РФ №2082197, МПК6, G 02 В 21/18, 1997.
Формула изобретения
1. Микроскоп сравнения, содержащий две ветви сравнения, каждая из которых включает первый объектив, устройство изменения увеличения, выполненное в виде по меньшей мере двух телескопических трубок Галилея, второй объектив, блок наблюдения и регистрации и блок совмещения полей изображений, расположенный между вторыми объективами ветвей сравнения и блоком наблюдения и регистрации, отличающийся тем, что в каждую ветвь сравнения введена диафрагма с изменяющимся размером отверстия, размещенная между вторым объективом и устройством изменения увеличения вблизи от последнего, а максимальный размер отверстия диафрагмы выполнен не меньшим светового диаметра наибольшей линзы трубок Галилея.
2. Микроскоп сравнения по п.1,отличающийся тем, что первый объектив выполнен с возможностью осевого перемещения.
РИСУНКИ
|
|