|
|
(21), (22) Заявка: 2004118072/28, 30.05.2003
(24) Дата начала отсчета срока действия патента:
30.05.2003
(30) Конвенционный приоритет:
19.06.2002 (1-20) US 60/390,389 27.02.2003 US 10/378,056
(43) Дата публикации заявки: 20.03.2005
(45) Опубликовано: 20.05.2006
(56) Список документов, цитированных в отчете о поиске:
US 4566935 A, 28.01.1986. US 4229732 A, 21.10.1980. RU 2097809 С1, 27.11.1997. RU 2143127 С1, 020.12.1999.
(85) Дата перевода заявки PCT на национальную фазу:
15.06.2004
(86) Заявка PCT:
US 03/172999 (30.05.2003)
(87) Публикация PCT:
WO 2004/001487 (31.12.2003)
Адрес для переписки:
129010, Москва, ул. Б. Спасская, 25, стр.3, ООО “Юридическая фирма Городисский и Партнеры”, пат.пов. Ю.Д.Кузнецову, рег.№ 595
|
(72) Автор(ы):
ПАНЬ Шаохэж С. (US), ЧЭНЬ Дунминь (US), ЯН Сяо (US), ЧЖАН Шоучэн (US)
(73) Патентообладатель(и):
МИРАДИА, ИНК. (US)
|
(54) ОТРАЖАТЕЛЬНЫЙ ПРОСТРАНСТВЕННЫЙ МОДУЛЯТОР СВЕТА
(57) Реферат:
Изобретение относится к измерительной технике. Микрозеркало содержит зеркальную пластину, выполненную с возможностью связи с управляющим электродом, разделительную опорную раму для отделения зеркальной пластины от электродов, подвес, присоединенный к разделительной опорной раме и зеркальной пластине, позволяющий зеркальной пластине поворачиваться относительно разделительной опорной рамы вокруг оси, заданной подвесом, при этом зеркальная пластина, разделительная опорная рама и подвес изготовлены из единого непрерывного куска материала. Технический результат – повышение отражательной эффективности, обеспечение долговременной надежности и упрощение процесса изготовления. 3 н. и 17 з.п. ф-лы, 14 ил.
Перекрестные ссылки на родственные заявки
Настоящее изобретение заявляет приоритет предварительной заявки на патент США за №60/390,389, c названием «Отражательный пространственный модулятор света», поданной 19 июня 2002 г., содержание которой включено посредством ссылки.
Предпосылки изобретения
1. Область применения изобретения
Данное изобретение относится к пространственным модуляторам света (ПМС) и, в частности, к массиву микрозеркал с управляющей схемой электронной адресации, используемому в дисплеях.
2. Уровень техники
Пространственные модуляторы света (ПМС) имеют многочисленные применения для обработки оптической информации, проекционных дисплеев, видео и графических мониторов, телевизоров и электрофотографической печати. Отражательные ПМС это устройства, которые модулируют падающий свет в соответствии с пространственным шаблоном для отражения изображения, соответствующего электрическому или оптическому входному сигналу. Падающий свет можно модулировать по фазе, интенсивности, поляризации или направлению отклонения. Отражательный ПМС обычно содержит область или двумерный массив адресуемых элементов изображения (пикселей), способный отражать падающий свет. Пиксельные данные источника света сначала обрабатываются соответствующей управляющей схемой, а затем покадрово загружаются в пиксельный массив.
ПМС, известные из уровня техники, имеют различные недостатки. К этим недостаткам относятся: оптически активная область (измеряемая как доля поверхности устройства, обладающая отражательной способностью, именуемая также отношением (коэффициент) заполнения) меньше оптимальной, что снижает оптическую эффективность, шероховатость отражающих поверхностей, снижающую отражательную способность зеркал, дифракцию, снижающую контрастность дисплея, использование материалов, имеющих проблемы долговременной надежности, и сложность процесса изготовления, повышающую стоимость изделия.
Многие устройства, известные из уровня техники, содержат значительные неотражающие области на своих поверхностях. Что обеспечивает низкие отношения заполнения и отражательную эффективность ниже оптимальной. Например, в патенте США №4229732 описаны устройства на МОП-транзисторах, которые, помимо зеркал, сформированы на поверхности устройства. Эти устройства на МОП-транзисторах занимают часть поверхности, тем самым снижая долю оптически активной области устройства и снижая отражательную эффективность. Устройства на МОП-транзисторах на поверхности устройства также вызывают дифракцию падающего света, что снижает контрастность дисплея. Кроме того, интенсивный свет, падающий на открытые устройства на МОП-транзисторах, нарушает правильную работу устройств за счет зарядки устройств на МОП-транзисторах и перегрева схем.
Некоторые конструкции ПМС имеют шероховатые поверхности, которые также снижают отражательную эффективность. Например, в некоторых конструкциях ПМС отражающая поверхность представляет собой алюминиевую пленку, осажденную на слое нитрида кремния, полученном методом ЛХПО (лазерного химического осаждения из паровой фазы). Гладкость этих отражающих зеркальных поверхностей трудно контролировать, поскольку они получены осаждением тонкой пленки. Таким образом, конечное изделие имеет шероховатые поверхности, снижающие отражательную эффективность.
Другая проблема, приводящая к снижению отражательной эффективности в некоторых конструкциях ПМС, в частности, в некоторых конструкциях с верхней подвеской зеркала, состоит в больших открытых площадях поверхности подвеса. Эти большие открытые площади поверхности подвеса должны блокироваться пластиной, обычно выполненной из вольфрама, в верхней части подвеса, чтобы препятствовать рассеянию падающего света. Эти пластины значительно уменьшают оптически активную область и снижают отражательную эффективность.
Многие традиционные ПМС, например, ПМС, описанные в патенте США №4566935, имеют подвесы, выполненные из алюминиевого сплава. Алюминий, как и другие металлы, подвержены усталости и пластической деформации, что может привести к проблемам, связанным с долговременной надежностью. Кроме того, для алюминия свойственна «память» ячеек, когда ненапряженное положение смещается к наиболее часто занимаемому положению. Кроме того, зеркала, описанные в патенте США №4566935, освобождают, подрезая поверхность зеркала. Этот метод часто приводит к разрушению хрупких микрозеркальных структур в процессе освобождения. Для этого также требуются большие зазоры между зеркалами, что снижает долю оптически активной области устройства.
Предпочтительно иметь ПМС с повышенной отражательной эффективностью, долговременную надежность устройства ПМС и упрощенный процесс изготовления.
Сущность изобретения
Настоящее изобретение предусматривает пространственный модулятор света (ПМС). Согласно одному варианту осуществления, ПМС имеет отражающий массив избирательно отклоняемых микрозеркал, изготовленный из первой подложки, связанной со второй подложкой, имеющей индивидуально адресуемые электроды. Вторая подложка также может иметь схему адресации и управления для массива микрозеркал. Альтернативно, части схемы адресации и управления находятся на отдельной подложке и подключены к схемам и электродам на второй подложке.
Массив микрозеркал содержит управляемо отклоняемую зеркальную пластину с отражающей поверхностью для отражения падающего света. Зеркальная пластина присоединена соединителем к вертикальному подвесу, который, в свою очередь, присоединен к разделительным стенкам посредством опорных штырей. Зеркальная пластина, соединитель, вертикальный подвес, опорные штыри и разделительные стенки изготовлены из первой подложки. Эта первая подложка представляет собой пластину из одного материала, согласно одному варианту осуществления, монокристаллического кремния. Разделительные стенки обеспечивают разделение между зеркальной пластиной и электродом, связанным с этой зеркальной пластиной, который управляет отклонением зеркальной пластины и размещен на второй подложке, связанной с массивом микрозеркал.
Близкое расположение зеркальных пластин и вертикальная ориентация подвеса обеспечивает очень высокое отношение заполнения отражающих поверхностей в массиве микрозеркал. Свет, проникающий через массив микрозеркал, настолько слаб, что не оказывает влияния на работу схем, находящихся на второй подложке.
Пространственный модулятор света изготавливают в несколько этапов, что позволяет снизить стоимость и сложность изготовления. На первой стороне первой подложки формируют полости. Согласно одному варианту осуществления, для этого осуществляют одну операцию анизотропного травления. Параллельно, на первой стороне второй подложки формируют электроды и схему адресации и управления. Первую сторону первой подложки присоединяют к первой стороне второй подложки. Стороны выравнивают, чтобы электроды на второй подложке находились в правильном соотношении с зеркальными пластинами, которыми электроды будут управлять. Со второй стороны первой подложки удаляют материал, добиваясь требуемой толщины. В необязательном порядке, на второй стороне первой подложки можно осаждать слой отражающего материала. Осуществляя вторую операцию анизотропного травления, формируют опорные штыри, вертикальные подвесы и соединители, а также освобождают зеркальные пластины от второй стороны первой подложки. Таким образом, модулятор света можно изготавливать только посредством двух главных этапов травления.
Краткое описание изобретения
Фиг.1 – схема общей конструкции пространственного модулятора света, согласно одному варианту осуществления изобретения.
Фиг.2а и 2b – виды в перспективе одного микрозеркала.
Фиг.3а и 3b – виды в перспективе верхней и боковых сторон массива микрозеркал.
Фиг.4а и 4b – виды в перспективе нижней и боковых сторон массива микрозеркал.
Фиг.5а и 5b – виды сверху массива микрозеркал.
Фиг.6а и 6b – виды сбоку массива микрозеркал.
Фиг.7а-7d – виды в перспективе верхней, нижней и боковых сторон одного зеркала согласно альтернативному варианту осуществления массива микрозеркал.
Фиг.8а-8d – виды в перспективе верхней и нижней сторон альтернативного массива микрозеркал.
Фиг.9а – блок-схема предпочтительного варианта осуществления изготовления пространственного модулятора света.
Фиг.9а-9j – подробные схемы изготовления пространственного модулятора света.
Фиг.10 – подробная схема формирования маски и травления для формирования полостей в первой подложке.
Фиг.11 – вид в перспективе одного варианта осуществления электродов, сформированных на второй подложке.
Фиг.12 – вид в перспективе массива микрозеркал на первой подложке, расположенного поверх электродов и других схем на второй подложке.
Фиг.13 – схема упрощенного варианта осуществления маски, используемой при травлении верхней поверхности на первой подложке.
Фиг.14 – вид в разрезе части двух подложек, связанных друг с другом.
Подробное описание предпочтительных вариантов осуществления
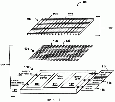
Отражательный пространственный модулятор света (ПМС) 100 имеет массив 103 отклоняемых зеркал 202. Отдельные зеркала 202 можно избирательно отклонять, подавая напряжение смещения между этим зеркалом и соответствующим электродом 126. Отклонение каждого зеркала 202 управляет отражением света, идущего от источника света, на видеодисплей. Таким образом, управление отклонением зеркала 202 позволяет осуществлять отражение света, падающего на это зеркало 202, в выбранном направлении и, таким образом, позволяет управлять видом пикселя на видеодисплее.
Обзор пространственного модулятора света
На фиг.1 показана схема, иллюстрирующая общую конструкцию ПМС 100 согласно одному варианту осуществления изобретения. Первый слой представляет собой массив 103 зеркал, который имеет совокупность отклоняемых микрозеркал 202. Согласно одному предпочтительному варианту осуществления, массив 103 микрозеркал изготавливают из первой подложки 105, которая представляет собой единый материал, например, монокристаллический кремний.
Второй слой представляет собой массив 104 электродов с совокупностью электродов 126 для управления микрозеркалами 202. Каждый электрод 126 связан с микрозеркалом 202 и управляет отклонением этого микрозеркала 202. Схема адресации позволяет выбирать один электрод 126 для управления отдельным микрозеркалом 202, связанным с этим электродом 126.
Третий слой – это слой управляющей схемы 106. Эта управляющая схема 106 имеет схему адресации, которая позволяет управляющей схеме 106 управлять напряжением, подаваемым на выбранные электроды 126. Это позволяет управляющей схеме 106 управлять отклонением зеркал 202 в массиве 103 зеркал посредством электродов 126. Традиционно, управляющая схема 106 также содержит блок 108 управления дисплеем, буферы 110 памяти строк, массив 112 широтно-импульсной модуляции и входы для видеосигналов 120 и графических сигналов 122. Микроконтроллер 114, схема 116 управления оптической системой и флэш-память 118 могут быть внешними компонентами, подключенными к управляющей схеме 106, или, согласно некоторым вариантам осуществления, могут входить в состав управляющей схемы. В различных вариантах осуществления, некоторые из вышеперечисленных компонентов могут отсутствовать, могут находиться на отдельной подложке и подключаться к управляющей схеме 106, или другие дополнительные компоненты могут входить в состав управляющей схемы 106 или быть подключены к управляющей схеме 106.
Согласно одному варианту осуществления, второй слой 104 и третий слой 106 изготавливают с использованием полупроводниковой технологии на единой второй подложке 107. Иными словами, второй слой 104 не обязательно должен быть отделен от третьего слоя 106 и находиться над ним. Напротив, термин «слой» используется как вспомогательное понятие для концептуализации разных частей пространственного модулятора света 100. Например, согласно одному варианту осуществления, второй слой 104, т.е. слой электродов изготавливают над третьим слоем, т.е. слоем управляющей схемы 106, и их обоих изготавливают на единой второй подложке 107. Иными словами, согласно одному варианту осуществления, электроды 126, а также блок 108 управления дисплеем, буферы 110 памяти строк и массив 112 широтно-импульсной модуляции изготавливают на одной подложке. Интеграция нескольких функциональных компонентов управляющей схемы 106 на одной и той же подложке обеспечивает преимущество повышенной скорости переноса данных по сравнению с традиционными пространственными модуляторами света, в которых блок 108 управления дисплеем, буферы 110 памяти строк и массив 112 широтно-импульсной модуляции изготовлены на отдельной подложке. Кроме того, изготовление второго слоя массива 104 электродов и третьего слоя управляющей схемы 106 на единой подложке 107 обеспечивает преимущество простоты и дешевизны изготовления, а также компактности конечного изделия.
После изготовления слоев 103, 104 и 106, их связывают друг с другом для формирования ПМС 100. Первый слой с массивом 103 зеркал покрывает второй и третий слои 104 и 106. Площадь под зеркалами 202 в массиве 103 зеркал определяет, сколько места имеется под первым слоем 103 для электродов 126 и схемы 106 адресации и управления. Под микрозеркалами 202 в массиве 103 зеркал имеется ограниченное пространство для размещения электродов 126 и электронных компонентов, образующих блок 108 управления дисплеем, буферы 110 памяти строк и массив 112 широтно-импульсной модуляции. В настоящем изобретении используются методы изготовления (подробнее описанные ниже), позволяющие создавать элементы малых размеров, например, процессы, позволяющие изготавливать элементы размерами 0,18 микрон, и процессы, позволяющие изготавливать элементы размерами 0,13 микрон или менее. Традиционные пространственные модуляторы света выполнены в процессе изготовления, который не позволяет создавать столь малые элементы. Обычно, традиционные пространственные модуляторы света выполнены посредством процесса, который ограничивает размер элемента примерно 1 микроном или более. Таким образом, настоящее изобретение позволяет изготавливать гораздо больше схемных устройств, например, транзисторов, в ограниченной области под микрозеркалами массива 103 зеркал. Это допускает интеграцию компонентов, например, блока 108 управления дисплеем, буферов 110 памяти строк и массива 112 широтно-импульсной модуляции, на одной подложке с электродами 126. Размещение такой управляющей схемы 106 на одной подложке 107 с электродами 126 повышает производительность ПМС 100.
В других вариантах осуществления, различные комбинации электродов 126 и компонентов управляющей схемы могут быть изготовлены на разных подложках и электрически соединены.
Зеркало
На фиг.2а изображен вид в перспективе одного микрозеркала 202. Согласно одному предпочтительному варианту осуществления, микрозеркало 202 изготавливают из пластины единого материала, например, монокристаллического кремния. Таким образом, первая подложка 105 в таком варианте осуществления представляет собой пластину из монокристаллического кремния. Изготовление микрозеркала 202 из пластины единого вещества значительно упрощает изготовление зеркала 202. Кроме того, монокристаллический кремний можно полировать для создания гладких зеркальных поверхностей, шероховатость поверхности которых на порядок меньше, чем у осажденных пленок. Зеркала 202, изготовленные из монокристаллического кремния, характеризуются механической жесткостью, что препятствует нежелательному изгибу или кручению поверхности зеркала, и подвесы, изготовленные из монокристаллического кремния, отличаются долговечностью, гибкостью и надежностью. Согласно другим вариантам осуществления, вместо монокристаллического кремния можно использовать другие материалы. В качестве примера можно использовать другой тип кремния (например, поликристаллического кремния или аморфного кремния) для микрозеркала 202 или даже зеркало 202 может быть изготовлено полностью из металла (например, алюминиевого сплава или вольфрамового сплава).
Микрозеркало 202 имеет верхнюю зеркальную пластину 204. Эта зеркальная пластины 204 является частью микрозеркала 202, которая избирательно отклоняется при приложении напряжения смещения между зеркалом 202 и соответствующим электродом 126. Согласно одному варианту осуществления, эта отражающая зеркальная пластина 204 имеет по существу квадратную форму с размерами примерно пятнадцать микрон на пятнадцать микрон, т.е. с площадью примерно 225 квадратных микрон, хотя возможны и другие формы и размеры. Согласно одному предпочтительному варианту осуществления, большая часть площади поверхности массива 103 микрозеркал образована площадями зеркальных пластин 204 микрозеркал 202.
Зеркальная пластина 204 имеет отражающую поверхность, которая отражает свет, идущий от источника света, под углом, определенным отклонением зеркальной пластины 204. Эта отражающая поверхность может быть из того же материала, из которого изготовлено микрозеркало 202, в данном случае, поверхность зеркальной пластины 204 отполирована до степени гладкости, которая обеспечивает требуемый уровень отражающей способности. Альтернативно, после изготовления микрозеркал 202, на поверхность зеркальной пластины 204 можно добавить слой отражающего материала, например, алюминия. Поскольку в предпочтительном варианте осуществления большая часть площади поверхности образована площадями зеркальных пластин 204 микрозеркал, и зеркальные пластины 204 имеют отражающие поверхности, то большая часть площади поверхности массива 103 микрозеркал является отражающей и способна отражать свет под выбранным углом. Таким образом, ПМС 100 имеет большое отношение заполнения и эффективно отражает падающий свет.
Зеркальная пластина 204 присоединена к торсионному пружинному подвесу 206 соединителем 216. Торсионный пружинный подвес 206 присоединен к разделительной опорной раме 210, которая удерживает торсионную пружину 206 на месте. Заметим, что можно использовать и другие пружины и схемы соединения между зеркальной пластиной 204, подвесом 206 и разделительной опорной рамой 210. Торсионный пружинный подвес 206 позволяет зеркальной пластине 204 поворачиваться относительно разделительной опорной рамы 210 вокруг оси между стенками разделительной опорной рамы 210, когда на зеркальную пластину 204 действует сила, например, электростатическая сила, за счет подачи напряжения между зеркалом 202 и соответствующим электродом 126. Этот поворот обеспечивает угловое отклонение отраженного света в выбранном направлении. Согласно одному варианту осуществления, этот поворот происходит вокруг оси, по существу коллинеарной с длинной осью подвеса. Согласно одному варианту осуществления, торсионный пружинный подвес 206 имеет «вертикальное» выравнивание. Это значит, что ширина 222 подвеса 206 меньше глубины подвеса (измеренной в перпендикулярном направлении относительно поверхности зеркальной пластины 204). Ширина подвеса обычно составляет от 0,1 микрон до 0,5 микрон и, в одном варианте осуществления, равна около 0,2 микрона. Это «вертикальное» выравнивание подвеса способствует минимизации неотражающих поверхностей на поверхности массива 103 зеркал и поддержанию высокого отношения заполнения.
Разделительная опорная рама 210 отделяет зеркальную пластину 204 от электродов и схемы адресации, благодаря чему зеркальная пластина 204 может отклоняться вниз, не контактируя с электродами и другими схемами под ней. Согласно одному варианту осуществления, разделительная опорная рама 210 содержит разделительные стенки, которые обычно не отделяют компоненты от остальной разделительной опорной рамы 210. Эти стенки помогают задавать высоту разделительной опорной рамы 210. Высоту разделителей 210 выбирают на основании требуемого разделения между зеркальными пластинами 204 и электродами 126 и топографической конструкции электродов. Чем больше высота, тем больше может отклоняться зеркальная пластина 204, и тем больше максимальный угол отклонения. Больший угол отклонения обеспечивает повышенную контрастность. Согласно одному варианту осуществления, максимальный угол отклонения зеркальной пластины 204 равен 20 градусам. Разделительная опорная рама 210 характеризуется шириной 212 разделительной стенки, которая, в сумме с зазором между зеркальной пластиной 204 и опорной рамой 210, практически равна расстоянию между соседними зеркальными пластинами 204 соседних микрозеркал 202. Согласно одному варианту осуществления, ширина 212 разделительной стенки равна 1 микрону или менее. Согласно одному предпочтительному варианту осуществления, ширина 212 разделительной стенки равна 0,5 микрона или менее. Таким образом, зеркальные пластины 204 размещаются в непосредственной близости друг к другу, что увеличивает отношение заполнения массива 103 зеркал.
Согласно некоторым вариантам осуществления, микрозеркало 202 содержит элементы, которые препятствуют отклонению зеркальной пластины 204 при определенном угле отклонения пластины 204 вниз. Обычно, эти элементы содержат ограничитель движения и посадочный конец. При отклонении зеркальной поверхности 204, ограничитель движения на зеркальной пластине 204 контактирует с посадочным концом. Когда это происходит, зеркальная пластина 204 больше не может отклоняться. Существует несколько возможных конфигураций ограничителя движения и посадочного конца. Согласно одному варианту осуществления, посадочный конец изготавливают на разделительных рамах 210 напротив подвеса. Максимальный угол наклона зеркальной пластины 204 ограничивается посадочным концом на разделительных рамах 210, который останавливает механическое движение вниз зеркальной пластины 204. Наличие максимального угла наклона упрощает управление пространственным модулятором 100 света для отражения падающего света в известном направлении.
Согласно другому варианту осуществления, посадочные концы изготавливают совместно с электродами 126 на второй подложке 107. Посадочные концы в данном варианте осуществления можно изготавливать из диэлектрика, например, диоксида кремния, для исключения короткого замыкания между зеркальной пластиной 204 и электродом 126. Максимальный угол наклона зеркальной пластины 204 ограничивается в этом варианте осуществления углом, под которым зеркальная пластина 204 соприкасается с посадочным концом на второй подложке 107. Этот угол зависит от высоты разделителей 210; чем выше разделители 210, тем больше возможный угол. Посадочный конец на второй подложке 107 может представлять собой выступающий столбик, который уменьшает полную площадь поверхности фактического контакта. На столбиках может быть тот же электрический потенциал, что и на зеркальной пластине 204, для исключения сваривания в месте контакта.
Согласно еще одному варианту осуществления, зазор между зеркальной пластиной 204 и подвесом 206 выполняется с высокой точностью, чтобы, при наклоне зеркальной пластины 204 на определенный угол, углы пластины 204 вблизи подвеса 206 касались концов подвеса 206, которые действуют как механические ограничители. Дело в том, что участок подвеса 206, присоединенный к зеркальной пластине 204, отклоняется совместно с зеркальной пластиной 204, а участки подвеса 206 вблизи опорной стенки 210 остаются относительно неотклоненными. Например, при высоте торсионного подвеса 206 в 1 микрон, зазор в 0,13 микрона между опорной стенкой и подвесом 206 будет давать максимальный угол наклона зеркальной пластины 204, равный 15 градусам.
Согласно одному предпочтительному варианту осуществления, ограничитель движения и посадочный конец выполнены из того же материала, что и остальное зеркало 202, и оба они изготовлены на первой подложке 105. Согласно вариантам осуществления, где в качестве материала используется монокристаллический кремний, ограничитель движения и посадочный конец выполнены из твердого материала, характеризуемого большой долговечностью, что обеспечивает сохранность массива 103 зеркал в течение длительного времени. Кроме того, поскольку монокристаллический кремний является твердым материалом, ограничитель движения и посадочный конец можно изготавливать с малой площадью контакта между ограничителем движения и посадочным концом, что значительно уменьшает силы слипания и позволяет зеркальной пластине 204 свободно отклоняться. Кроме того, это значит, что электрический потенциал на ограничителе движения и посадочном конце одинаковый, что препятствует слипанию, происходящему в процессах сваривания и инжекции заряда, когда ограничитель движения и посадочный конец имеют разные электрические потенциалы.
На фиг.2b показан вид в перспективе, иллюстрирующий нижнюю сторону одного микрозеркала 202, включая опорные стенки 210, зеркальную пластину 204, подвес 206 и соединитель 216.
На фиг.3а показан вид в перспективе, иллюстрирующий верхнюю и боковые стороны массива 103 микрозеркал, содержащего микрозеркала с 202-1 по 202-9. Хотя на фиг.3а показан массив 103, состоящий из трех строк и трех столбцов, т.е. всего девяти микрозеркал 202, массивы 103 микрозеркал могут иметь и другие размеры. Обычно, каждое микрозеркало 202 соответствует пикселю видеодисплея. Таким образом, более крупные массивы 103 с большим количеством микрозеркал 202 обеспечивают видеодисплей с большим количеством пикселей. Поскольку подвесы 206 в массиве 103 зеркал ориентированы в одном направлении, свет источников направляется на зеркала 202 массива 103 в одном направлении для отражения с целью формирования проекционного изображения на видеодисплее.
Согласно фиг.3а, поверхность массива 103 микрозеркал имеет большое отношение заполнения. Это значит, что большая часть поверхности массива 103 микрозеркал образована отражающими поверхностями зеркальных пластин 204 микрозеркал 202. Очень малая доля поверхности массива 103 микрозеркал является неотражающей. Согласно фиг.3а, неотражающие участки поверхности массива 103 микрозеркал представляют собой области между отражающими поверхностями микрозеркал 202. Например, ширина области между зеркалами 202-1 и 202-2 определяется шириной 212 разделительной стенки и суммой ширины зазора между зеркальными пластинами 204 зеркал 202-1 и 202-2 и опорной стенкой. Зазоры и ширину 212 разделительной стенки можно сделать такими же малыми, как и размер элементов, обеспечиваемый методом изготовления. Таким образом, согласно одному варианту осуществления, зазоры составляют 0,2 микрона, а согласно другому варианту осуществления, зазоры составляют 0,13 микрона. Поскольку полупроводниковые технологии обеспечивают малые элементы, размер разделительной стенки 210 и зазоры можно уменьшить для обеспечения более высокого отношения заполнения. На фиг.3b показан вид в перспективе, детализирующий одно зеркало 202 массива 103 микрозеркал, показанного на фиг.3а. Варианты осуществления настоящего изобретения допускают отношения заполнения 85%, 90% и даже выше.
На фиг.4а показан вид в перспективе нижней и боковых сторон массива 103 микрозеркал, изображенного на фиг.3. Согласно фиг.4а, разделительные опорные рамы 210 микрозеркал 202 образуют полости под зеркальными пластинами 204. Эти полости обеспечивают место для отклонения вниз зеркальных пластин 204, а также обеспечивают большие области под зеркальными пластинами 204 для размещения второго слоя 104 с электродами 126 и/или третьего слоя с управляющей схемой 106. На фиг.4b показан вид в перспективе, детализирующий одно зеркало 202 массива 103 зеркал, изображенного на фиг.4а.
На фиг.5а показан вид сверху массива 103 микрозеркал, содержащего девять микрозеркал с 202-1 по 202-9, изображенных на фиг.3а и 4а. Например, для микрозеркала 202-1, на фиг.5а показана зеркальная пластина 204, разделительная опорная рама 210, торсионная пружина 206 и соединитель 216, соединяющий зеркальную пластину 204 с торсионной пружиной 206. На фиг.5а также отчетливо показано, согласно описанному выше со ссылкой на фиг.3а, что массив 103 микрозеркал имеет большое отношение заполнения. Большая часть поверхности массива 103 микрозеркал образована отражающими поверхностями микрозеркал с 202-1 по 202-9. На фиг.5а отчетливо видно, что отношение заполнения определяется областями отражающих зеркальных пластин 204 и областями между отражающими поверхностями зеркальных пластин 204. Размер областей между отражающими поверхностями зеркальных пластин 204, согласно одному варианту осуществления, ограничен предельным размером элемента, определяемым процессом изготовления. От этого зависит, насколько малым можно сделать зазор между зеркальной пластиной 204 и разделительной стенкой 210, и насколько толстой можно сделать разделительную стенку 210. Заметим, что хотя на фиг.2 показано единичное зеркало, имеющее собственную разделительную опорную раму 210, между двумя зеркалами, например, зеркалами 202-1 и 202-2 обычно не бывает двух примыкающих разделительных стенок 210. Напротив, между зеркалами 202-1 и 202-2 обычно имеется одна физическая разделительная стенка опорной рамы 210. На фиг.5b показан вид в перспективе, детализирующий одно зеркало 202 массива 103 зеркал, изображенного на фиг.5а.
На фиг.6а показан вид снизу массива 103 микрозеркал, содержащего девять микрозеркал с 202-1 по 202-9, изображенного на фиг.3-5. На фиг.6а показана нижняя сторона зеркальных пластин 204, а также нижние стороны разделительных опорных рам 210, торсионые пружины и соединители. Во многих вариантах осуществления, область под зеркальными пластинами 204 достаточно велика для обеспечения оптимальной конструкции и размещения электродов 126 и управляющей схемы 106 и обеспечивает пространство для размещения возможного посадочного конца зеркала. На фиг.6b показан вид в перспективе, детализирующий одно зеркало 202 массива 103 зеркал, изображенного на фиг.6а.
Из фиг.5а и 6а видно, что очень малая доля света, падающего перпендикулярно к зеркальной пластине 204, может проникать через массив 103 микрозеркал и достигать электродов 126 или управляющей схемы 106, находящихся под массивом 103 микрозеркал. Причина в том, что разделительная опорная рама 210, торсионная пружина 206, соединитель 216 и зеркальная пластина 204 почти полностью закрывают схемы под массивом 103 микрозеркал. Кроме того, поскольку зеркальная пластина 204 отделена от схемы под массивом 103 микрозеркал разделительной опорной рамой 210, свет, распространяющийся под косым углом к зеркальной пластине 204 и проходящий за зеркальную пластину 204, скорее всего попадет на стенку разделительной опорной рамы 210 и не достигнет схемы под массивом 103 микрозеркал. Поскольку свет, падающий на массив 103 микрозеркал, при попадании на схему имеет малую интенсивность, ПМС 100 не имеет проблем, связанных с интенсивным воздействием света на схему. Эти проблемы включают в себя нагрев схемы за счет падающего света и зарядку элементов схемы под действием фотонов падающего света, причем оба эти явления могут привести к сбою в работе схемы.
Согласно фиг.3-6, торсионные пружины 206 всех микрозеркал 202 в массиве 106 микрозеркал расположены на одних и тех же сторонах. Согласно одному альтернативному варианту осуществления, торсионные пружины 206 разных микрозеркал 202 в массиве 103 микрозеркал расположены на разных сторонах. Например, согласно фиг.3а, пружины 206 зеркал 202-1 и 202-3 расположены на одних и тех же сторонах. Напротив, пружина 206 зеркала 202-2 могла бы находиться на другой стороне, располагаясь перпендикулярно пружинам 206 зеркал 202-1 и 202-3. Это позволяет зеркальным пластинам 204 разных микрозеркал 202-1 и 202-2 отклоняться в разных направлениях, благодаря чему массив 103 зеркал как целое приобретает более одной управляемой степени свободы. В этом альтернативном варианте осуществления, на массив 103 микрозеркал можно направлять свет от двух разных источников (например, источников света разного цвета) и по отдельности избирательно перенаправлять микрозеркалами 202 массива 103 микрозеркал для формирования изображения на видеодисплее. В таком варианте осуществления, множественные микрозеркала 202 можно использовать для отражения света, идущего от множественных источников света, в один и тот же пиксель видеодисплея. Например, свет от двух источников света разных цветов может идти на массив 103 зеркал в разных направлениях и отражаться массивом 103 для формирования многоцветного изображения на видеодисплее. Микрозеркала 202-1 и 202-3 с торсионными пружинами 206 на первой стороне управляют отражением света первого источника на видеодисплей. Микрозеркала, например, микрозеркало 202-2, с торсионными пружинами 206 на другой, второй стороне управляют отражением света второго источника на видеодисплей.
На фиг.7а показан вид в перспективе микрозеркала 702 согласно альтернативному варианту осуществления изобретения. Торсионный подвес 206 в этом варианте осуществления ориентирован по диагонали относительно разделительной опорной стенки 210 и делит зеркальную пластину 204 на две части или стороны: первую сторону 704 и вторую сторону 706. С зеркалом 702 связаны два электрода 126: один электрод 126 для первой стороны 704 и один электрод 126 для второй стороны 706. Это позволяет каждой стороне 704, 706 притягиваться к одному из находящихся под ними электродов 126 и поворачиваться вниз, что обеспечивает более обширный диапазон углового движения при той же высоте опорной стенки 210 по сравнению с зеркалом, изображенным на фиг.2-6. На фиг.7b показан более детальный вид зеркала 702, где изображена зеркальная пластина 702, подвес 206 и опорная стенка 210. На фиг.7с и 7d изображены нижняя сторона единичного зеркала 702 и более детальный вид внутреннего угла зеркала 702. Согласно другим вариантам осуществления, подвес 206 может располагаться по существу параллельно одной из сторон зеркальной пластины 204, а не диагонали, но располагаться так, чтобы делить зеркальную пластину 204 на две части 704, 706.
На фиг.8а-8d показаны различные виды в перспективе массивов зеркал, состоящих из множественных микрозеркал 702, описанных на фиг.7а-7d. На фиг.8а и 8b показаны верхняя сторона массива зеркал 702 и более детальный вид одного зеркала 702 в массиве. На фиг.8с и 8d показаны нижняя сторона массива зеркал 702 и более детальный вид одного зеркала 702 в массиве.
Изготовление пространственного модулятора света
На фиг.9а показана блок-схема, иллюстрирующая один предпочтительный вариант осуществления изготовления пространственного модулятора 100 света. На фиг.9b-9g показаны схемы, более подробно иллюстрирующие изготовление пространственного модулятора 100 света. В целом, микрозеркала 202 частично изготавливают на первой подложке 105. Отдельно, некоторые или все электроды, схему адресации и управляющую схему изготавливают на второй подложке 107. Затем первую и вторую подложку 105 и 107 связывают друг с другом. Первую подложку утоняют, после чего осуществляют этапы литографии и травления. На этом изготовление микрозеркал 202 завершается. Окончательные этапы, включая упаковку, завершают изготовление пространственного модулятора 100 света. Согласно одному варианту осуществления, массив 103 зеркал изготавливают из пластины монокристаллического кремния только методами анизотропного сухого травления, для изготовления массива 103 зеркал используют только две операции травления, и схему изготавливают с использованием стандартных методов КМОП. Что обеспечивает простоту и дешевизну изготовления ПМС 100.
Традиционные пространственные модуляторы света изготавливают методами микромашинной обработки поверхности, которые включают в себя травление, осаждение структурных слоев, осаждение и удаление защитных слоев. Эти традиционные методы изготовления МЭМС имеют низкую производительность, низкую однородность и обеспечивают размеры элемента примерно 1 микрон или более. Напротив, один вариант осуществления настоящего изобретения предусматривает использование полупроводниковой технологии, в которой не предусмотрены защитные слои, которая имеет более высокую производительность и позволяет формировать элементы размерами 0,13 микрон или менее.
Согласно фиг.9а, на этапе 902 формируют первую маску для первоначального частичного изготовления микрозеркал 202. Эта маска определяет участки вещества, подлежащие удалению с одной стороны первой подложки 105, для формирования полостей на нижней стороне массива 103 микрозеркал, которые образуют разделительные опорные рамы 210 и опорные штыри 208. Осуществлять формирование маски на первой подложке можно стандартными методами, например, методом фотолитографии. Как было указано выше, в одном предпочтительном варианте осуществления, микрозеркала 202 формируют из единого материала, например, монокристаллического кремния. Заметим, что традиционно на одной пластине изготавливают множественные массивы 103 микрозеркал, подлежащие использованию в множественных ПМС 100, с последующим разделением. Структуры, изготовленные для создания массива 103 микрозеркал, обычно больше элементов, используемых в схемах КМОП, что позволяет относительно легко формировать структуры массива 103 микрозеркал с использованием известных методов изготовления схем КМОП. На фиг.9b показан вид сбоку, иллюстрирующий первую подложку 105 до изготовления. Подложка 105 первоначально содержит слой 938 устройств, который является материалом, из которого будет изготовлен массив 103 зеркал, изолирующий оксидный слой 936, и несущую подложку 934. На фиг.9с показан вид сбоку, который иллюстрирует первую подложку 105 с маской на ней.
После этапа 902 формирования маски, согласно предпочтительному варианту осуществления, первую подложку 105 подвергают анизотропному ионному травлению 904 для формирования полости под зеркальными пластинами 204. Иными словами, в первой подложке формируют «карманы» для каждого микрозеркала 202. Для формирования полостей или «карманов» можно использовать другие способы помимо анизотропного ионного травления, например, влажное травление или плазменное травление. На фиг.9d показана схема, демонстрирующая первую подложку с вытравленными полостями.
Отдельно от изготовления полостей под зеркальными пластинами 204, на второй подложке 107 формируют на этапе 906 электроды 126 и управляющую схему 106. Вторая подложка 107 может представлять собой прозрачный материал, например, кварц или иной материал. Если вторая подложка кварцевая, то транзисторы могут быть выполнены из поликристаллического кремния, а не монокристаллического кремния. Схемы можно изготавливать на этапе 906 с использованием стандартной технологии изготовления КМОП. Например, согласно одному варианту осуществления, управляющая схема 106, изготовленная на этапе 906 на второй подложке 107, содержит массив ячеек памяти, схему адресации строк и схему загрузки данных столбца. Известно много разных способов создания электрической схемы, осуществляющей функцию адресации. Функцию адресации могут выполнять такие общеизвестные устройства, как динамическое ОЗУ, статическое ОЗУ и защелки. Поскольку площадь зеркальной пластины 204 может быть велика по сравнению с размерами полупроводниковых устройств (например, зеркальная пластина 204 может иметь площадь 225 квадратных микрон), под микрозеркалом 202 можно изготовить сложную схему. Возможная схема содержит, но не исключительно, буферы памяти для хранения временной последовательности пиксельной информации, схему для компенсации возможной неоднородности расстояний между зеркальной пластиной 204 и электродом 126 за счет подачи на электроды 126 переменных уровней напряжения, и схему для осуществления преобразований широтно-импульсной модуляции.
Эту управляющую схему 106 покрывают слоем пассивации, например, оксида кремния или нитрида кремния. Затем осаждают слой металлизации. Согласно одному варианту осуществления, этот слой металлизации шаблонируют и травят для образования электродов 126, а также шины смещения/перезапуска. Электроды 126 размещают в ходе изготовления так, чтобы каждому микрозеркалу 202 соответствовал один или несколько электродов 126. По аналогии с первой подложкой 105, на второй подложке 107 обычно изготавливают на этапе 906 множественные комплекты схем, подлежащие использованию во множественных ПМС 100, с последующим их разделением.
Затем первую и вторую подложки связывают на этапе 910 друг с другом. Сторону первой подложки 105, на которой сформированы полости, связывают со стороной второй подложки 107, на которой сформированы электроды. Подложки 105 и 107 выравнивают, чтобы электроды на второй подложке 107 находились в правильном положении для управления отклонением микрозеркал 202 в массиве 103 микрозеркал. Согласно одному варианту осуществления, две подложки 105 и 107 оптически выравнивают с использованием микроскопов двойной фокусировки путем выравнивания шаблона на первой подложке 105 с шаблоном на второй подложке 107, и две подложки 105 и 107 связывают друг с другом методами низкотемпературного связывания, например, анодного или эвтектического связывания. Имеется много возможных альтернативных вариантов осуществления изготовления на этапе 906. Например, можно использовать термопласты или связующие материалы на основе диэлектрического плетеного стекла; так что подложки 105 и 107 связываются термомеханически. На фиг.9е показан вид сбоку, где изображены первая и вторая подложки 105, 107, связанные друг с другом.
Связав первую и вторую подложки 105 и 107 друг с другом, поверхность первой подложки 105, которая не подверглась травлению, утоняют на этапе 912 до требуемой толщины. Сначала удаляют несущую подложку 934, как показано на фиг.9f, обычно путем шлифования или травления. Затем удаляют оксид 936. Затем, при необходимости, утоняют или полируют слой 938 устройств. Согласно одному варианту осуществления, утонение осуществляют путем механического шлифования подложки 105 до толщины между дном изготовленного «кармана» и противоположной поверхностью первой подложки 105, которая близка к требуемой толщине микрозеркала 202. Согласно одному варианту осуществления, эта толщина, достигаемая механической шлифовкой, составляет примерно 5 микрон. Затем подложку 105 полируют путем механической тонкой полировки или химической механической полировки до требуемой толщины между дном «кармана» и противоположной поверхностью первой подложки 105. Эта толщина определяет толщину зеркальных пластин 204. Согласно одному варианту осуществления, эта требуемая толщина составляет около 1 микрона или менее. На фиг.9g показан вид сбоку, где изображены связанные первая и вторая подложки 105, 107 после утонения первой подложки.
Затем создают отражающую поверхность микрозеркала 202. Для этого можно отполировать на этапе 913 первую подложку 105, чтобы сформировать поверхность первой подложки 105 отражающей. Можно также осуществить осаждение на этапе 914 слоя отражающего материала на первую подложку 105 для создания отражающей поверхности. Можно использовать и другие способы формирования отражающей поверхности.
Согласно одному варианту осуществления, осаждают на этапе 914 отражающий слой алюминия. Утоненную поверхность первой подложки 105 покрывают затравочной тонкой пленкой из титана толщиной около 10 нм. Затем осаждают слой алюминия толщиной около 30 нм для формирования отражающего слоя с отражающей способностью выше 95% на большей части видимого оптического спектра. На фиг.9h показан вид сбоку, где изображен осажденный отражающий слой 932.
Затем отражающую поверхность первой подложки 105 маскируют и, согласно предпочтительному варианту осуществления, подвергают анизотропному ионному травлению на этапе 916 с высоким характеристическим отношением для окончательного формирования массива 103 микрозеркал и освобождают зеркальные пластины 204. В результате этого второго травления возникают зеркальная пластина 204, торсионный пружинный подвес 206 и соединитель 216. Таким образом, для изготовления микрозеркал 202 осуществляют только два процесса травления первой подложки 105. Это значительно снижает стоимость изготовления микрозеркал 202. На фиг.9i изображена схема, где показана поверхность первой подложки 105, покрытой маской 933, и на фиг.9j изображена схема, где показан пространственный модулятор 100 света после второго травления, включая зеркальную пластину 204, подвес 206, разделительную опорную раму 210 и электрод 126.
Согласно некоторым вариантам осуществления, подвесы 206 частично травят для заглубления относительно поверхности зеркальных пластин 204. Кроме того, в некоторых вариантах осуществления, отражающую поверхность осаждают на этапе 914 после второго травления, в процессе которого образуется зеркальная пластина 204, торсионный пружинный подвес 206 и соединитель 216. Такой отражающий слой можно осаждать, например, испаряя алюминий вниз под углом, чтобы горизонтальный вектор угла был направлен от зеркальной пластины 204 к подвесам 206. При этом угле, и если подвесы 206 протравлены так, что они заглублены относительно поверхности зеркальных пластин 204, можно не осаждать по существу никакого отражающего покрытия на поверхности заглубленных подвесок 206 для минимизации оптического рассеяния подающего света поверхностями торсионных подвесов 206. Испарение можно осуществлять, например, в реакционной камере электронно-лучевого термического испарителя со скоростью осаждения один нанометр в секунду.
В некоторых вариантах осуществления, массив 103 микрозеркал защищают куском стекла или другим прозрачным материалом. Согласно одному варианту осуществления, при изготовлении массива 103 микрозеркал, по периметру каждого массива 103 микрозеркала, изготовленного на первой подложке 105 оставляют ободок. Для защиты микрозеркал 202 в массиве 103 микрозеркал, к ободку присоединяют на этапе 918 кусок стекла или другого прозрачного материала. Этот прозрачный материал защищает микрозеркала 202 от физического повреждения. Согласно одному альтернативному варианту осуществления, для получения массива ободков в слое светочувствительной смолы на стеклянной пластине используют литографию. Затем на верхний край ободков наносят эпоксидную смолу и стеклянную пластину выравнивают и присоединяют для завершения формирования отражательного ПМС 100.
Согласно рассмотренному выше, из двух подложек 105 и 107 можно формировать множественные пространственные модуляторы 100 света; на первой подложке 105 можно изготавливать множественные массивы 103 микрозеркал, и на второй подложке 107 можно изготавливать множественные комплекты схем. Изготовление множественных ПМС 100 повышает эффективность процесса изготовления пространственного модулятора 100 света. Однако при одновременном изготовлении множественных ПМС 100, их необходимо разделять на отдельные ПМС 100. Существует много способов отделения каждого пространственного модулятора 100 света и подготовки его к использованию. Согласно первому способу, каждый пространственный модулятор 100 света является просто кристаллом, отделяемым на этапе 920 от остальных ПМС 100 на объединенных подложках 105 и 107. Каждый отделенный пространственный модулятор 100 света затем монтируют на этапе 922 в корпус с использованием стандартных методов монтажа.
Согласно второму способу, для инкапсуляции каждого ПМС 100 в отдельные полости и формирования электрических выводов до разделения ПМС 100 производят монтаж «на уровне пластины в масштабе чипа». Это дополнительно защищает отражающие отклоняемые элементы и снижает стоимость упаковки. Согласно одному варианту осуществления способа, заднюю сторону второй подложки 107 соединяют на этапе 924 с наплывами припоя, затем заднюю сторону второй подложки 107 подвергают травлению на этапе 926, чтобы обнажить металлические соединители, сформированные в ходе изготовления схем на второй подложке 107. Затем осаждают на этапе 928 проводящие линии между металлическими соединителями и наплывами припоя для электрического соединения между ними. Наконец, осуществляют матричное разделение на этапе 930 множественных ПМС.
На фиг.10 более подробно показано формирование на этапе 902 маски 1000 и травление на этапе 904 для формирования полостей в первой подложке. Согласно предпочтительному варианту осуществления, первая подложка представляет собой пластину из монокристаллического кремния. На первой подложке производят осаждение и шаблонирование оксида. В результате получают шаблон, показанный на фиг.10, где область 1004 – это оксид, защищающий подложку под ним от травления, а области 1002 – это области экспонированной подложки. Области 1002 экспонированной подложки подвергают травлению для формирования полостей. Оставшиеся области 1004, не подвергнутые травлению, образуют разделительные опорные штыри 208 и разделительную опорную раму 210.
Согласно одному варианту осуществления, подложку травят в камере реактивного ионного травления путем обдува газообразными SF6, HBr и кислородом с расходами 100 см3/с, 50 см3/с и 10 см3/с, соответственно. Рабочее давление находится в диапазоне 10-50 мТор, мощность смещения равна 60 Вт и мощность источника равна 300 Вт. Согласно другому варианту осуществления, подложку травят в камере реактивного ионного травления путем обдува газообразными Cl2, HBr и кислородом с расходами 100 см3/с, 50 см3/с и 10 см3/с, соответственно. В этих вариантах осуществления, процессы травления останавливают, когда полости достигают глубины около 3-4 микрона. Эту глубину измеряют с использованием оперативного мониторинга глубины травления, например, методов оперативной оптической интерферометрии, или путем хронирования скорости травления.
Согласно другому варианту осуществления полости формируют в пластине с использованием процесса анизотропного реактивного ионного травления. Пластину помещают в реакционную камеру. Газообразные SF6, HBr и кислород вводят в реакционную камеру с суммарным расходом 100 см3/с, 50 см3/с и 10 см3/с, соответственно. Установка мощности смещения 50 Вт и мощность источника 150 Вт используются при давлении 50 мТор в течение примерно 5 минут. Затем пластины охлаждают тыловым потоком газообразного гелия с расходом 20 см3/с под давлением 1 мТор. Согласно одному предпочтительному варианту осуществления, процессы травления останавливают, когда полости достигают глубины 3-4 микрона. Эту глубину измеряют с использованием оперативного мониторинга глубины травления, например, методов оперативной оптической интерферометрии, или путем хронирования скорости травления.
На фиг.11 показан вид в перспективе одного варианта осуществления электродов 126, сформированных на второй подложке 107. Согласно этому варианту осуществления, каждое микрозеркало 202 имеет соответствующий электрод 126. Электроды 126 в этом иллюстрируемом варианте осуществления изготавливают так, чтобы они возвышались над остальной схемой на второй подложке 107. Как показано на фиг.11, материал на сторонах электродов 126 снижается от верхней поверхности электродов, образуя пирамидальную форму. В других вариантах осуществления, электроды 126 располагаются на одном уровне с остальной схемой на второй подложке 107, не выступая над схемой. В одном варианте осуществления изобретения, электроды 126 представляют собой отдельные алюминиевые площадки размером примерно 10х10 микрон. Эти электроды 126 изготавливают на поверхности второй подложки 107. Большая площадь поверхности электродов 126 в этом варианте осуществления обеспечивает относительно низкие напряжения адресации, необходимые для оттягивания зеркальной пластины 204 вниз на механические ограничители для получения определенного полного углового отклонения зеркальных пластин 204.
На фиг.12 показан вид в перспективе, на котором изображен массив 103 микрозеркал на первой подложке 105, расположенной поверх электродов 126 и других схем на второй подложке 107. Здесь показаны относительные положения микрозеркал 202 в массиве 103 микрозеркал и электродов до связывания на этапе 910 первой и второй подложек 105 и 107 друг с другом. Следует отметить, что в иллюстративных целях микрозеркала 202 в массиве 103 микрозеркал показаны как законченные микрозеркала 202. Однако, согласно предпочтительному варианту осуществления, описанному со ссылкой на фиг.9а, до присоединения первой подложки 105 ко второй подложке 107, в первой подложке 105 осуществляют только вытравливание полостей под зеркальными пластинами 204. На этот момент зеркальная пластина 204, подвесы 206 и соединители 216 еще не изготовлены. Согласно вариантам осуществления, где электроды 126 располагаются над уровнем остальной схемы, и материал на стороне электродов 126 снижается, причем снижающийся материал способствует точному позиционированию первой подложки 105 на второй подложке 107.
На фиг.13 показан упрощенный вариант осуществления маски, используемой при травлении на этапе 916 верхней поверхности первой подложки 105. На этапе травления 916, области 1302 оставляют открытыми к воздействию и подвергают травлению для освобождения зеркальных пластин 204 и формирования торсионных пружин 206, соединителей 216 и опорных штырей 208. Другие области 1304 покрывают фоторезистом и не подвергают травлению. Эти области включают в себя сами зеркальные пластины 204 и материал, образующий подвесы 206. Согласно фиг.13, большая часть поверхности массива 103 зеркал является отражающей. В процессе изготовления возникают лишь малые неотражающие зазоры, отделяющие зеркальные пластины 204 от опорных стенок 210 и подвесов 206.
Верхнюю поверхность первой подложки 105 подвергают травлению для освобождения зеркальных пластин 204 и формирования подвесов 206 после маскирования верхней поверхности на первой подложке 105. Согласно одному варианту осуществления, травление осуществляют в камере реактивного ионного травления путем обдува газообразными SF6, HBr и кислорода с расходом 100 см3/с, 50 см3/с и 10 см3/с соответственно. Рабочее давление находится в диапазоне 10-50 мТор, мощность смещения равна 60 Вт, и мощность источника равна 300 Вт. Поскольку глубина травления обычно меньше 1 микрона, той же цели можно добиться с использованием некоторых других процессов изготовления. В другом варианте осуществления используется газообразные Cl2 и кислород под рабочим давлением 10-50 мТор при мощности смещения и источника реакционной камеры травления 50 Вт и 300 Вт, соответственно, для достижения точного контроля размеров. Процесс травления останавливают на нужной глубине (в одном варианте осуществления, около 5 микрон) с использованием оперативного мониторинга глубины или хронирования скорости травления.
Принцип работы
В ходе эксплуатации, отдельные отражательные элементы избирательно отклоняются и служат для пространственной модуляции света, падающего на зеркала и отражающегося от них.
На фиг.14 показан вид в разрезе, на котором изображено микрозеркало 202 над электродом 126. В ходе эксплуатации для управления отклонением соответствующей зеркальной пластины 204 над электродом 126, к электроду 126 прикладывают напряжение. Согласно фиг.14, при подаче напряжения на электрод 126, зеркальная пластина 204 притягивается к электроду. Что приводит к повороту зеркальной пластины 204 вокруг торсионной пружины 206. При отключении напряжения на электроде 126, зеркальная пластина 204 поднимается обратно под действием подвеса 206. Таким образом, свет, падающий на зеркальную пластину 204, отражается в направлении, которым можно управлять, подавая напряжение на электрод.
Один вариант осуществления изобретения предусматривает следующую последовательность действий. Первоначально, зеркальная пластина не отклонена. В этом несмещенном состоянии, входящий световой пучок, поступающий от источника света, падает на ПМС 100 перпендикулярно и отражается плоскими зеркальными пластинами 204. Выходящий, отраженный световой пучок может приниматься, например, оптическим дампом. Свет, отраженный от неотклоненной зеркальной пластины 204, не отражается на видеодисплей.
При подаче напряжения смещения между зеркальной пластиной 204 и нижним электродом 126, зеркальная пластина 204 отклоняется по причине электростатического притяжения. Вследствие конструкции подвеса 206, свободный конец зеркальной пластины 204 отклоняется по направлению ко второй подложке 107. Следует отметить, что, согласно одному варианту осуществления, по существу весь изгиб происходит на подвесе 206, а не на зеркальной пластине 204. В одном варианте осуществления, для этого можно уменьшить ширину 222 подвеса и соединить подвес 206 с опорными штырями 208 только на обоих концах. Отклонение зеркальной пластины 204 ограничивается вышеописанными ограничителями движения. Полное отклонение зеркальной пластины 204 приводит к отклонению отраженного светового пучка на оптическую систему формирования изображения и на видеодисплей.
При отклонении зеркальной пластины 204 под действием напряжения, превышающего «щелчковое» или «тяговое» напряжение (примерно 12 вольт в одном варианте осуществления), восстанавливающая/ий механическая сила или крутящий момент подвеса 206 уже не может уравновешивать электростатическую/ий силу или крутящий момент, и зеркальная пластина 204 «отламывается» вниз по направлению к электроду 126, достигая полного отклонения, ограниченного только ограничителями движения. Для освобождения зеркальной пластины 204 из ее положения полного отклонения, напряжение нужно снизить до уровня, который существенно ниже щелчкового напряжения, т.е. освобождающего напряжения (например, около 3,3 вольт, в одном варианте осуществления, где щелчковое напряжение равно 5,0 вольт). Таким образом, микрозеркало 202 является электромеханическим бистабильным устройством. При данном конкретном напряжении между освобождающим напряжением и щелчковым напряжением, имеются два возможных угла отклонения зеркальной пластины 204, в зависимости от истории отклонения зеркальной пластины 204. Поэтому отклонение зеркальной пластины 204 действует как защелка. Эти свойства бистабильности и защелки обусловлены тем, что механическая сила, необходимая для отклонения зеркальной пластины 204, примерно линейно зависит от угла отклонения, тогда как противоположная электростатическая сила обратно пропорциональная квадрату расстояния между зеркальной пластиной 204 и электродом 126.
Поскольку электростатическая сила между зеркальной пластиной 204 и электродом 126 зависит от суммарного напряжения между зеркальной пластиной и электродом 126, отрицательное напряжение, поданное на зеркальную пластину 204, снижает положительное напряжение, которое нужно подать на электрод 126 для достижения данной величины отклонения. Таким образом, подавая напряжение на массив 103 зеркал, можно снижать необходимую величину напряжения на электродах 126. Это может быть полезно, например, поскольку в некоторых приложениях желательно поддерживать максимальное напряжение, которое необходимо подавать на электроды 126, ниже 12 В, поскольку возможность переключения при 5 В является более общеупотребительной в полупроводниковой промышленности. Кроме того, величина заряда, необходимая для обеспечения смещения на каждом электроде 126 при подаче напряжения на массив 103 зеркал, меньше заряда, необходимого согласно варианту осуществления, в котором массив 103 зеркал находится под потенциалом заземления. Таким образом, время, необходимое для точной подачи правильного напряжения на электрод 126 и отклонения зеркальной пластины 204, относительно мало.
Поскольку максимальное отклонение зеркальной пластины 204 является фиксированным, ПМС 100 может работать в цифровом режиме, если будет работать под напряжениями, превышающими щелчковое напряжение. Режим работы является по существу цифровым, поскольку зеркальная пластина 204 либо полностью отклоняется вниз при подаче напряжения на соответствующий электрод 126, либо пружина поднимает ее вверх, когда на электроды 126 не подается напряжение. Напряжение, которое вызывает полное отклонение зеркальной пластины 204 вниз, пока она не будет остановлена физическими элементами, препятствующими отклонению зеркальной пластины 204, называется «щелчковым» или «тяговым» напряжением. Таким образом, для полного отклонения зеркальной пластины 204 вниз, на соответствующий электрод 126 подают напряжение, большее или равное щелчковому напряжению. Применительно к видеодисплею, при полном отклонении зеркальной пластины 204 вниз, свет, падающий на зеркальную пластину 204, отражается в соответствующий пиксель видеодисплея. Когда зеркальная пластина 204 поднимается под действием пружины, свет отражается в таком направлении, что не попадает на видеодисплей.
В таком цифровом режиме работы не обязательно сохранять полное щелчковое напряжение на электроде 126 после того, как соответствующая зеркальная пластина 204 полностью отклонилась. На «этапе адресации» напряжения для выбранных электродов 126, которые соответствуют зеркальным пластинам 204, подлежащим полному отклонению, устанавливают на уровни, необходимые для отклонения зеркальных пластин 204. После отклонения соответствующих зеркальных пластин 204 вследствие напряжений на электродах 126, напряжение, необходимое для удержания зеркальных пластин 204 в отклоненном положении, меньше необходимого для фактического отклонения. Причина заключается в том, что зазор между отклоненной зеркальной пластиной 204 и электродом 126 адресации меньше, чем, когда зеркальная пластина 204 находится в процессе отклонения. Поэтому, на «этапе удержания», следующим после этапа адресации, напряжение, подаваемое на выбранные электроды 126, можно снизить по сравнению с первоначально необходимым уровнем, не оказывая существенного влияния на состояние отклонения зеркальных пластин 204. Одно преимущество пониженного напряжения на этапе удержания состоит в том, что близлежащие неотклоненные зеркальные пластины 204 подвергаются меньшей силе электростатического притяжения, и поэтому остаются ближе к положению нулевого отклонения. Это повышает оптическое контрастностное отношение между отклоненными зеркальными пластинами 204 и неотклоненными зеркальными пластинами 204.
При соответствующем выборе размеров (в одном варианте осуществления, разделение разделителя 210 между зеркальной пластиной 204 и электродом 126 от 1 до 5 микрон и толщина подвеса 206 от 0,05 до 0,45 микрон) и материалов (например, монокристаллического кремния (100)), можно сделать так, чтобы отражающий ПМС 100 имел рабочее напряжение всего лишь несколько вольт. Модуль кручения подвеса 206, выполненного из монокристаллического кремния, может составлять, например, 5·1010 ньютон на квадратный метр на радиан. Напряжение, при котором электрод 126 осуществляет полное отклонение соответствующей зеркальной пластины 204, можно сделать еще ниже, поддерживая зеркальную пластину 204 под соответствующим напряжением («отрицательного смещения»), отличным от напряжения заземления. Это приводит к увеличению угла отклонения при данном напряжении на электроде 126. Максимальное отрицательное напряжение смещения это напряжение освобождения, поэтому, когда напряжение адресации снижается до нуля, зеркальная пластина 204 может отщелкнуться в неотклоненное положение.
Управлять отклонениями зеркальных пластин 204 можно также в более «аналоговом» режиме. Напряжения, меньшие «щелчкового напряжения», подают, чтобы отклонить зеркальную пластину 204 и управлять направлением, в котором отражается падающий свет.
Альтернативные применения
Помимо видеодисплеев, пространственный модулятор света 100 также полезен в других сферах применения. Одной такой областью применения является безмасковая фотолитография, при которой пространственный модулятор 100 света направляет свет для обработки осажденного фоторезиста. Это устраняет необходимость в маске для точной обработки фоторезиста по заданному шаблону.
Хотя изобретение было конкретно показано и описано со ссылкой на множественные варианты осуществления, специалисты в данной области могут предложить различные модификации, касающиеся формы и деталей, не выходя за рамки сущности и объема изобретения. Например, можно использовать другие механизмы отклонения зеркальных пластин 204, отличные от электростатического притяжения. Возможны магнитный, термический или пьезоэлектрический механизмы отклонения зеркальных пластин 204.
Формула изобретения
1. Микрозеркало, содержащее зеркальную пластину, выполненную с возможностью связи с управляющим электродом, разделительную опорную раму для отделения зеркальной пластины от электродов, подвес, присоединенный к разделительной опорной раме и зеркальной пластине, позволяющий зеркальной пластине поворачиваться относительно разделительной опорной рамы вокруг оси, заданной подвесом, при этом зеркальная пластина, разделительная опорная рама и подвес изготовлены из единого непрерывного куска материала.
2. Микрозеркало по п.1, отличающееся тем, что материалом является монокристаллический кремний.
3. Микрозеркало по п.1, отличающееся тем, что подвес является вертикально ориентированной торсионной пружиной.
4. Микрозеркало по п.1, отличающееся тем, что зеркальная пластина имеет отражающую верхнюю поверхность.
5. Микрозеркало по п.1, отличающееся тем, что дополнительно содержит отражающий слой на своей верхней поверхности.
6. Микрозеркало по п.1, отличающееся тем, что разделительная опорная рама содержит стенки толщиной около 1 микрона или менее.
7. Микрозеркало по п.1, отличающееся тем, что дополнительно содержит механический ограничитель для остановки вращения зеркальной пластины относительно разделительной рамы при повороте зеркальной пластины на предварительно определенный угол.
8. Массив из совокупности микрозеркал, содержащий разделительную опорную раму, стенки которой, обеспечивающие разделение между зеркальной пластиной и электродом, образуют совокупность полостей, каждая из которых соответствует микрозеркалу, совокупность зеркальных пластин, выполненных с возможностью связи с совокупностью электродов, совокупность подвесов, каждый из которых присоединен к, по меньшей мере, одной стенке разделительной опорной рамы и присоединен к зеркальной пластине из совокупности зеркальных пластин, что позволяет зеркальной пластине поворачиваться относительно разделительной опорной рамы вокруг оси, заданной подвесом, при этом разделительная опорная рама, совокупность зеркальных пластин и совокупность подвесов изготовлены из единого непрерывного куска материала.
9. Массив по п.8, отличающийся тем, что каждая зеркальная пластина имеет верхнюю поверхность.
10. Массив по п.9, отличающийся тем, что верхние поверхности зеркальных пластин отполированы с возможностью отражения света.
11. Массив по п.9, отличающийся тем, что на каждой верхней поверхности зеркальных пластин осажден отражающий слой для отражения света.
12. Массив по п.8, отличающийся тем, что дополнительно содержит подложку управления, присоединенную к разделительной опорной раме и имеющую, по меньшей мере, один электрод, соответствующий каждой из совокупности зеркальных пластин, на который подают напряжение для управляемого отклонения зеркальной пластины микрозеркала.
13. Массив по п.12, отличающийся тем, что подвес делит зеркальную пластину на первую часть и вторую часть, так что при повороте зеркальной пластины вокруг оси, заданной подвесом, первая часть зеркальной пластины приближается к подложке управления, а вторая часть зеркальной пластины удаляется от подложки управления.
14. Массив по п.12, отличающийся тем, что подложка управления дополнительно содержит схему адресации и управления, обеспечивающую избирательную подачу напряжения на совокупность электродов для избирательного управляемого отклонения зеркальных пластин в массиве.
15. Массив по п.8, отличающийся тем, что поверхности пластин в массиве зеркал составляют, по меньшей мере, 85% площади поверхности массива.
16. Массив по п.8, отличающийся тем, что поверхности пластин в массиве зеркал составляют, по меньшей мере, 90% площади поверхности массива.
17. Массив из совокупности микрозеркал, включающий первую подложку с микрозеркалами и содержащий для каждого микрозеркала в массиве, по меньшей мере, одну зеркальную пластину с верхней поверхностью, для каждого микрозеркала в массиве, по меньшей мере, один подвес, присоединенный к, по меньшей мере, одной зеркальной пластине указанного микрозеркала, позволяющий зеркальной пластине поворачиваться, опорную раму с совокупностью опорных стенок, причем каждый подвес присоединен к, по меньшей мере, одной опорной стенке для поддержки подвеса и зеркальной пластины и отделения каждой зеркальной пластины от второй подложки, присоединенной к опорной раме, при этом зеркальные пластины и подвесы изготовлены из единого непрерывного куска материала.
18. Массив по п.17, отличающийся тем, что между краем верхней поверхности зеркальной пластины и опорной стенкой опорной рамы имеется зазор в 0,2 мкм или менее.
19. Массив по п.17, отличающийся тем, что верхние поверхности зеркальных пластин имеют по существу прямоугольную форму.
20. Массив по п.19, отличающийся тем, что верхние поверхности зеркальных пластин имеют площадь около 225 мкм2.
РИСУНКИ
|
|