|
|
(21), (22) Заявка: 2004128414/28, 16.09.2004
(24) Дата начала отсчета срока действия патента:
16.09.2004
(45) Опубликовано: 20.05.2006
(56) Список документов, цитированных в отчете о поиске:
RU 2032142 C1, 27.03.1995. SU 1379613 A1, 07.03.1988. GB 1132752 A, 06.11.1968.
Адрес для переписки:
188300, Ленинградская обл., г. Гатчина, ул. Рощинская, 19, кв.46, Б.Г. Турухано
|
(72) Автор(ы):
Турухано Борис Ганьевич (RU), Турухано Никулина (RU), Добырн Владислав Вениаминович (RU)
(73) Патентообладатель(и):
Турухано Борис Ганьевич (RU), Турухано Никулина (RU), Добырн Владислав Вениаминович (RU)
|
(54) ИЗМЕРИТЕЛЬНЫЙ ДАТЧИК КАСАНИЯ НА ДИФРАКЦИОННЫХ РЕШЕТКАХ
(57) Реферат:
Устройство содержит измерительную дифракционную решетку, щуп, две направляющие, две считывающие головки, подложку, двигатель, группу магнитов. Первая считывающая головка жестко связана с корпусом датчика. Вторая считывающая головка закреплена на измерительной дифракционной решетке. Каждая считывающая головка содержит источник излучения, коллиматор, индикаторную дифракционную решетку, матрицу фотоприемников. Группа подшипников обеспечивает перемещение измерительной дифракционной решетки вдоль направления перемещения. Направляющими служат измерительная дифракционная решетка и подложка. Одна индикаторная дифракционная решетка зафиксирована в каретке. Каретка связана со щупом, который касается измеряемой поверхности и двигается относительно нее вместе с измерительной дифракционной решеткой. Измерительная дифракционная решетка и подложка соединены с двигателем, а считывающие головки связаны с сумматорами. Технический результат – увеличение точности определения координаты касания с измеряемой поверхностью. 5 ил.
Изобретение относится к измерительной технике, точнее к области определения координат поверхности (измеряемой детали), и может быть использовано в машиностроении, станкостроении, оптико-механической промышленности, а также во всех высокотехнологических отраслях промышленности, науки, техники и т.д.
Известен измерительный датчик касания (ИДК) для определения координаты касания с измеряемой поверхностью, содержащий узел жестко связанный со щупом посредством двух мембран (наружной и внутренней) и двигатель, позволяющий перемещать и останавливать щуп в момент касания с измеряемой поверхностью /1/.
Устройство работает следующим образом:
ИДК перемещается с помощью двигателя по направлению к измеряемой поверхности вдоль координаты, которую он должен определить в момент касания. ИДК содержит узел, который обладает в качестве конечного узла щупом. Щуп связан с этим узлом двумя мембранами: наружной и внутренней. Щуп центрируется в указанном узле для совмещения его оси с направлением оси, вдоль которой будет измеряться координата поверхности. Для этого в основании ИДК имеется сферическое седло, которое допускает настройку щупа по осям Х и Y. После правильной настройки щупа туго затягиваются четыре винта, чтобы удержать его в этой позиции. Так как щуп будет перемещаться и нагибаться с перебегом 28,5 угл. град. при каждом касании, то операцию настройки щупа приходится повторять через определенное количество измерений для проверки его положения. При соприкосновении с измеряемой поверхностью вырабатывается электрический сигнал, который подается на интерфейс М17, преобразующий сигналы датчика в приемлемую для УЧПУ станка или любого другого устройства, использующего ИДК, форму. Данный ИДК имеет возможность определения координат в маленьком диапазоне перемещения порядка 1 мм. Поэтому при измерении поверхностей крупногабаритных деталей по данной координате, ИДК, как правило, используется совместно со вторым измерительным датчиком с большим диапазоном измерения координат до метра и более из-за чего координата точки соприкосновения ИДК должна соотноситься или, иначе говоря, быть совместимой с координатой второго измерительного датчика или быть с ней в одном масштабе, также как и с общей системой координат (т.е. с другими его датчиками) станка (изделия), в которой крепится датчик касания и регистрируется в УЧПУ станка (изделия). Таким образом, у станка имеется один датчик, который определяет координату (без доли периода) измеряемой поверхности детали в пределах расхода станка и жестко с ним связан и другой датчик ИДК со щупом, осуществляющий механический контакт в точке с измеряемой поверхностью детали, координаты которой необходимо определить. Датчик касания (т.е. ИДК) дополняет измеренную первым датчиком величину координаты изделия на некоторую малую конечную величину, которая определенным образом складывается с первой, и только после этого УЧПУ выдает окончательную величину координаты изделия Разделение датчиков на два связано с необходимостью облегчения веса щупа в точке касания с целью более точного определения координаты точки касания.
Датчик касания (ИДК) в момент соприкосновения с поверхностью вырабатывает также электрический сигнал, который подается на двигатель, установленный у второго измерительного датчика для его остановки. В качестве измерительного датчика, как правило, используют линейный датчик со штриховыми (дифракционными) шкалами. Такие датчики обладают более высокой точностью /Приложение II/ (Аттестация ЛГИИС, HeidenHain), нежели тензодатчики, используемые в данном устройстве как ИДК.
Повторяемость в одном направлении приведенного ИДК 1 микрон.
ИДК имеет ограничение по точности и разрешению по следующим причинам:
1. Сигнал, полученный в результате механической деформации щупа и мембран, ставит ограничение на реакцию системы как по времени отклика на происходящий контакт, так и по инерционности происходящих изменений в структуре вещества самих мембран и щупа датчика касания. Это приводит к временной задержке вырабатываемого импульса остановки первого датчика и жестко с ним связанных мембран и, следовательно, к искажению величины измеряемой координаты.
2. Головка датчика касания (тензодатчика) содержит два узла, работающих на изгиб: две металлические мембраны и щуп, которые в результате многократных измерений, приобретают нелинейные остаточные деформации (механический гистерезис), ставящие ограничения по точности, разрешению и повторяемости системы.
3. Конструктивные особенности датчика касания, содержащего большое количество механических элементов, существенно увеличивают его размеры (Ф82 мм, см. Приложение I), вес, количество взаимодействий между ними и приводит к увеличению его инерционности.
4. Большая сила ощупывания (50, 75 и 150 грамм) измерительной головки приводит к деформации измеряемой поверхности и уменьшению точности измеряемой координаты, особенно в случае измерения поверхностей с невысокой твердостью.
5. Данный ИДК имеет возможность определения координат в маленьком диапазоне перемещения порядка 1 мм.
6. Различные принципы, заложенные в двух датчиках (измерительного и касания – как нониусного датчика), действующие независимо и в то же время дополняющие друг друга, при определении величины координаты изделия по каждой отдельной оси координат, требуют дополнительные условия для их совместимости (соотносительности к эталону длины). Различные принципы построения датчиков приводят их также и к разным точностным и разрешительным категориям. Поэтому, из теоретических и экспериментальных соображений действия систем, точность любой системы будет определяться точностью узла с наименьшей точностью, в данном случае, точностью датчика касания, который в данном случае подобен – тензодатчика. Точность, разрешение и повторяемость тензодатчика в том исполнении, в каком используется в устройстве аналога, с большим трудом сможет стать выше одного микрона /1/(Приложение I), в то время как точность измерительных датчиков на дифракционных решетках, уже достигла субмикронной точности (см. Приложение II).
7. Точность тензодатчика будет зависеть от остаточных механических деформаций его многочисленных узлов. Т.е. у тензодатчика точность, разрешение и повторяемость будут ухудшаться со временем. Это обстоятельство потребует замену мембран, которые и прилагаются в запчастях к данному устройству. Замена мембран и повторное тарирование датчика касания, а также настройка осей измерительного датчика и датчика касания, весьма сложная работа, которую под силу только высококвалифицированным специалистам метрологам, не говоря уже о том, что окончательно, после фиксирования оси датчика касания посредством затягивания такого большого количества болтов (четырех) головки, нет уверенности, что ось сохранилась после затягивания, У каждого болта есть своя внутренняя структура и механические напряжения, которые также могут сниматься по разному.
8. Сложная конструкция из самых различных материалов, с разными коэффициентами температурного расширения приводит также к погрешностям системы.
Все эти недостатки ограничивают область применения аналога в случае необходимости получения более высоких точностей измерения или измерения поверхностей с не высокой твердостью.
Наиболее близким по технической сущности является измерительный датчик касания (ИДК) на дифракционных решетках для определения координат поверхности /2/. Устройство содержит измерительную дифракционную решетку, щуп, две направляющие, жестко связанные с измерительной дифракционной решеткой, считывающую головку, жестко связанную с корпусом датчика и включающую источник излучения, коллиматор, индикаторную дифракционную решетку, матрицу фотоприемников, причем обе направляющие жестко связаны с измерительной дифракционной решеткой, а также группу подшипников, жестко закрепленных на корпусе и обеспечивающих перемещение измерительной дифракционной решетки вдоль направления перемещения, ИДК содержит измерительный цилиндрический стержень, заканчивающийся щупом. Стержень обладает возможностью перемещения относительно подшипников, закрепленных на корпусе, и выполнен с плоским продольным срезом, параллельным оси стержня, и сквозным продольным пазом, в котором жестко устанавливается измерительная дифракционная решетка т.о., что ее плоскость параллельна плоскости среза. Плоскость среза и цилиндрическая поверхность стержня служат в качестве направляющих. Имеются опоры, выполненные в виде двух узлов, расположенных в пределах плоскости среза, один из узлов включает четыре подшипника, два из которых катятся по плоскости среза, а другие два – по цилиндрической поверхности. Второй узел включает механизм с подшипником. Который также катится по плоскости среза и два подшипника – по цилиндрической поверхности стержня.
Устройство работает следующим образом.
ИДК представляет собой прецизионное измерительное устройство с цифровым выходом информации и с измерительным элементом в виде линейной дифракционной решетки. В ИДК используется сопряжение двух дифракционных решеток, из которых одна измерительная с длиной, равная измеряемой длине, а другая небольшая – индикаторная, входящая в считывающую головку. При их освещении световым потоком от источника излучения на выходе решеток появляются интерференционные муаровые полосы, которые возникают в результате интерференции пучков различных порядков дифракции этих двух решеток. Шаг и форма муаровых полос зависит от параметров решеток и от взаимного расположения их штрихов. В основном, муаровые полосы представляют собой семейство прямых линий. Измерительная решетка связана с шариком посредством гибкой нити, которая позволяет измерительной решетке двигаться и подходить к поверхности измеряемого объекта. В данном устройстве ИДК нить с шариком заменяет двигатель и позволяет перемещать измерительную решетку без передачи ей биений и вибраций. Перемещение измерительной решетки, установленной в цилиндрическом стержне (и жестко с ней связанным щупом), относительно индикаторной, установленной в считывающей головке, приводит к синхронному движению муаровых полос и в случае реверса (обратного движения) – к синхронному реверсу. Масштабное (увеличенное) преобразование малых перемещений измерительной решетки в существенно большие, пропорциональные перемещения муаровых полос, позволило расположить в поле муаровых полос матрицу фотоприемников, жестко установленных в считывающей головке и обладающих существенно большими размерами, чем произведенное перемещение измерительной решетки ИДК. Перемещение муаровых полос преобразуется фотоприемниками в электрические сигналы, которые обрабатываются в электронном логическом блоке считывания с целью получения цифровой информации об измеряемом перемещении. В момент касания измеряемой поверхности, координаты которой необходимо измерять, щуп останавливается и на счетчике координат высвечивается измеряемая координата касания по той оси, по которой перемещается щуп.
Несмотря на высокое разрешение, которого может достигнуть ИДК при определении координаты касания, он обладает следующими недостатками:
1. большой вес ИДК за счет веса измерительной дифракционной решетки и узла (штока со щупом), в котором она установлена, непосредственно соприкасающиеся с измеряемой поверхностью, приводит к деформациям этой поверхности в точке касания и тем самым, к неточному определению координаты касания.
2. большой вес измерительной решетки со штоком (т.е. подвижной части ИДК) увеличивает инерцию системы, что не позволяет использовать его при больших скоростях, т.к. в результате этого сложно получить высокую точность определения координаты касания;
3. очень сложно изготовить с высокой точностью цилиндрические направляющие штока большой длины (более 200 мм), равные измеряемой координате. Причем образующие цилиндра, должны быть параллельны плоскости среза стержня для сохранения величины точности на протяжении всего диапазона измерения координаты касания.
4. небольшая длина перемещения стержня (щупа) приводит к тому, что, если речь идет об использовании ИДК на станках с направляющими в метр и более, то для измерения крупногабаритной обрабатываемой детали устройство ИДК не может быть использовано самостоятельно, а лишь в комбинации с другим измерительным датчиком для полного перекрытия величины координаты изделия. Использование второго датчика для определения координаты касания большой величины приводит к необходимости сопряжения и совместимости этих двух датчиков, каждый из которых имеет свой автономный измерительный элемент. Сопряжение двух приборов требует их точной установки друг относительно друга. Неточность в установке, естественно, приводит к уменьшению точности системы определения координат в целом. Погрешность уменьшается, когда эти два датчика совместимы друг с другом, т.е. однотипные по способу считывания информации при измерении перемещения (к примеру, обе имеют однотипные измерительные элементы).
Задачей предложенного изобретения является:
1. Увеличение точности определения координаты касания с измеряемой поверхностью.
Задача решается тем, что в измерительном датчике касания на дифракционных решетках, включающем измерительную дифракционную решетку, щуп, две направляющие, жестко связанные с измерительной дифракционной решеткой, считывающую головку, жестко связанную с корпусом датчика и включающую источник излучения, коллиматор, индикаторную дифракционную решетку, матрицу фотоприемников, а также группу подшипников жестко закрепленных на корпусе, и обеспечивающих перемещение измерительной дифракционной решетки вдоль направления перемещения, вновь введены магниты, двигатель, подложка, а измерительная дифракционная решетка жестко связана с подложкой, которая установлена перпендикулярно плоскости расположения штрихов измерительной дифракционной решетки, причем измерительная дифракционная решетка и подложка служат в качестве направляющих, и дополнительно введена вторая считывающая головка, которая закреплена на измерительной дифракционной решетке после первой считывающей головки со стороны расположения щупа, и индикаторная дифракционная решетка второй считывающей головки зафиксирована в каретке, которая поддерживается магнитами, установленными в обеих направляющих в пределах перемещения каретки, и каретка снабжена подшипниками, которые обеспечивают возможность ее перемещения по направляющим в пределах апертуры индикаторной дифракционной решетки второй считывающей головки вдоль направления перемещения измерительной дифракционной решетки, и каретка жестко связана со щупом, причем на измерительной дифракционной решетке со стороны щупа выполнена плоскость опоры, а на каретке с индикаторной дифракционной решеткой напротив и в пределах плоскости опоры жестко закреплен шарик, причем измерительная дифракционная решетка с подложкой соединены с двигателем, обеспечивающим их перемещение вдоль оси направления перемещения измерительной решетки, и каждая считывающая головка связана через электронные логические блоки с сумматором.
Такое конструктивное выполнение устройства позволяет определить координату касания с измеряемой поверхностью с более высокой точностью и с малой деформацией поверхности за счет использования двух считывающих головок, расположенных в поле штрихов одного и того же измерительного элемента – измерительной дифракционной решетки, таким образом обеспечивающих одинаковый счет при одном и том же перемещении этой дифракционной решетки, а также за счет малого веса индикаторной дифракционной решетки и щупа второй считывающей головки измерительного датчика касания и за счет использования одних и тех же направляющих для обеих считывающих головок.
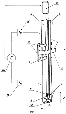
На фиг.1 изображен конкретный пример конструктивного решения заявляемого устройства измерительного датчика касания (ИДК) для измерения координаты в момент касания датчика с измеряемой поверхностью. На фиг.2 дан вид второй считывающей головки и ее установки относительно направляющих. На фиг.3 дан вид второй считывающей головки по стрелке А (см. фиг.2). Фиг.4 показывает схему расположения магнитов, удерживающих каретку второй считывающей головки, а на фиг.5 дан график определения величины координаты касания в результате совместных действий первой и второй считывающих головок измерительного датчика касания до и после момента касания.
В соответствии с представленными фигурами датчик касания для измерения координаты содержит (фиг.1) узел 1 и 2, а также измерительную дифракционную решетку Риз – 3, склеенную на стеклянной подложке – 4. Чертеж содержит две считывающие головки СГ1- 5 и СГ2 – 6. СГ1- 5 жестко связана с корпусом – 7. На корпусе – 7 закреплены также подшипники – 8. СГ2 – 6 жестко связана с Риз – 3. Каждая считывающая головка включает источник излучения, коллиматор, индикаторную решетку Рин1 (не показанные на фигуре), жестко связана с СГ1- 5 и, соответственно, Рин2 – 9 (фиг.2 и 3), входящей в состав (СГ2) – 6 и матрицу фотоприемников. Щуп 10 жестко связан с Рин 2 – 9 и осуществляет касание с измеряемой поверхностью 11. Рин 2 – 9 зафиксирована в каретке 12, к которой зафиксированы подшипники 13. Причем подшипники 8, закрепленные на корпусе, позволяют осуществлять перемещение Риз – 3 и подложки 4 относительно Рин1, закрепленной в СГ1-5; а подшипники 13, жестко связанные с Рин2 – 9 осуществляют взаимодействие Риз – 3 и подложки 4 с Рин2 – 9. Рин2 – 9 жестко связана с шариком 14, который перед началом измерений опирается на плоскость опоры 15, которая жестко закреплена на Риз – 3. Риз – 3 с подложкой соединена с двигателем 16, обеспечивающим ее движение вдоль оси направления перемещения в измерительной плоскости Риз – 3.
Измерительной плоскостью измерительной решетки Риз – 3 мы будем называть такую плоскость, в которой расположена дорожка штрихов измерительной решетки Риз – 3 на всей ее длине, а также дорожка штрихов (или ее проекция) индикаторных решеток Рин1 и Рин2 – 9 тоже на всю их длину. Штрихи каждой пары решеток обеих считывающих головок не меняют своего расположения друг относительно друга (наклон) при движении одной решетки относительно другой и не выходят из сферы взаимного перекрытия.
Рин2 – 9 второй считывающей головки СГ2 – 6 свободна и относительно Риз – 3 и относительно СГ2 – 6. Она удерживается лишь магнитами 17, зафиксированными в Риз – 3 и подложке 4 (фиг.2, 3 и 4). И каждая считывающая головка связана через логические блоки 18 и 19 с сумматором «С» – 20.
Принцип работы устройства заключается в следующем:
На голографической дифракционной измерительной решетке Риз – 3, склеенной с подложкой, устанавливаются две считывающие головки 5 и 6. Считывающая головка СГ1 – 5 является электронным считывающим устройством для первого узла – 1 измерительного датчика касания (фиг.1). Считывающая головка СГ2 – 6 является электронным считывающим устройством для второго узла 2 измерительного датчика касания. Решетка измерительная 3 совместно с подложкой 4 могут двигаться вперед и назад в считывающей головке СГ1 – 5 относительно ее индикаторной решетки Рин1, а также относительно индикаторной решетки Рин2 – 9 второй считывающей головки СГ1-6. Причем в ИДК используется одна и та же измерительная решетка Риз – 3, как видно на фиг.1. В каждой считывающей головке ИДК используется сопряжение двух дифракционных решеток, из которых одна измерительная Риз – 3 с длиной, равной измеряемой длине, а другая небольшая, индикаторная Рин1 (на фигурах не показана) и, соответственно, Рин2 – 9.
(Риз-3, Рин1) и (Риз-3, Рин2).
Жирными буквами обозначены подвижные решетки относительно корпуса – 7.
При освещении каждой пары решеток (измерительной и индикаторной) световым потоком от источника излучения, расположенном в каждой считывающей головке, на выходе решеток появляются интерференционные муаровые полосы, которые возникают в результате интерференции пучков различных порядков дифракции этих решеток – Шаг и форма муаровых полос зависит от параметров решеток и от взаимного расположения их штрихов. В основном муаровые полосы представляют собой семейство прямых линий. Перемещение измерительной решетки относительно индикаторной в первой считывающей головке, также как и во второй считывающей головке, но лишь после касания, приводит к синхронному перемещению муаровых полос и в случае реверса (обратного перемещения) – к синхронному реверсу. Можно оценить связь между перемещением одной решетки относительно другой и перемещением муаровых полос, т.е. определить коэффициент оптической редукции. Имеет место тот же процесс, который описан у прототипа на стр.6. Это же обстоятельство позволяет установить в поле муаровых полос матрицу фотоприемников в каждой из считывающих головок, т.к. это поле обладает существенно большими размерами, чем произведенное перемещение измерительной решетки. При этом величина перемещения в периодах штрихов, тождественно равно перемещению в периодах муаровых полос. Т.о. имеет место то же явление, что и в микроскопе, где маленький объект перед входом в объектив микроскопа трансформируется тождественно, но с увеличением на его выходе. Разница только в том, что в микроскопе это изображение получается с помощью сложной оптической системы микроскопа, а тут изображение муаровых полос (и тем самым их период) получается увеличенным по сравнению со штрихами двух решеток (с их периодом) только благодаря тому, что используются две решетки с разной частотой или с небольшим наклоном штрихов друг относительно друга. Более того, при нулевом наклоне штрихов, период муаровой полосы бесконечно большой. Это явление было открыто ученым Moire еще в прошлом веке, но стало использоваться в измерительных системах лишь в шестидесятых годах нашего столетия. Перемещения муаровых полос преобразуются фотоприемниками в электрические сигналы, которые обрабатываются в стандартных электронных логических блоках с целью получения цифровой информации об измеряемом перемещении. В момент начала движения запускается двигатель 16, который начинает перемещение Риз – 3. При этом СГ1 начинает выдавать определенное количество импульсов n1i. В самом начале движения шарик 14, опирающийся на жесткую плоскость опоры 15, позволяет реализовать зануливание счета второй считывающей головки СГ2 – 6 (n2i=0), которая осуществляет свое совместное движение с Риз – 3 в направлении к измеряемой поверхности 11, будучи ее сателлитом, т.к. она полностью неподвижна относительно Риз – 3 из-за их жесткой взаимной связи, так же как неподвижна относительно Риз – 3 (лишь до момента касания) Рин2 – 9 и щуп 10, благодаря их жесткой связи с кареткой 12, к которой прикреплен шарик 14, упирающийся в площадку 15 измерительной решетки Риз – 3. В момент касания щупа 10 поверхности 11 щуп 10 и Рин2 – 9 останавливается из своего совместного движения с измерительной решетки Риз – 3 относительно корпуса – 7, продолжая оставаться неподвижными уже относительно измеряемой поверхности 11. Риз – 3 в это время продолжает свое прежнее движение в сторону поверхности 11, благодаря возможности скольжения по подшипникам 13, оси которых жестко закреплены в каретке 12. С момента касания обе считывающие головки считывают импульсы, поскольку теперь в каждой паре решеток
(Риз-3, Рин1) и (Риз-3, Рин2)
одна решетка (Риз-3) подвижна. Напомним, что ранее, до касания, вторая пара решеток была взаимно неподвижна. В связи с тем, что решетка Риз – 3 одна и тоже для обеих считывающих головок, и она продолжает двигаться в том же направлении и идентично перед двумя индикаторными решетками Рин1, и Рин2 – 9, проходя одно и то же расстояние, то электрические импульсы с двух считывающих головок n1iкас и n2iкас, после касания, тождественно равны и совместимы друг с другом по масштабу величин. Эти электрические импульсы обрабатываются в электронных логических блоках 18 и 19 с целью получения цифровой информации об измеряемом перемещении N1iкас и N2iкac, которые затем подаются на сумматор «С» – 20 (фиг.1). Так как цифровое значение N1iкac и N2iкac на сумматоре «С» – 20 попадают с обратным знаком, то на сумматоре происходит их вычитание и в дальнейшем, до остановки движения Риз – 3, сумматор будет выдавать одну и ту же величину координаты касания, указанная в виде точек на оси Niкас (фиг.5). После касании, СГ2 – 6 вырабатывает управляющий импульс на остановку двигателя – 16, осуществляющего движение Риз – 3 в направлении измеряемой поверхности 11. Для увеличения точности датчика касания электрические пути сигналов n1iкac и n2iкас должны быть равны.
Работа ИДК предусматривает две цели:
1 – регистрацию на сумматоре координаты касания от момента получения нулевой разницы между N1iкac и N2iкac после касания щупом 10 измеряемой поверхности 11 и до самой остановки Риз – 3;
2 – выработать после момента касания управляющий импульс на остановку двигателя 16, осуществляющего движение Риз – 3.
После касания на счетчике координат сумматора выдается истинная измеряемая координата касания Nкас по той оси, по которой перемещается щуп.
Рассмотрим более подробно, как в заявляемом ИДК регистрируется координата касания.
До начала измерения обнуливаются обе считывающие головки. СГ1 – 5 обнуливается (т.е. N1i=0) следующим образом: Риз – 3 начинает свое движение в сторону некоторой базовой поверхности, относительно которой будет определяться полная координата измеряемого объекта (изделия). После касания щупом этой базовой поверхности обнуляется сумматор. Поднимается Риз – 3 вместе со щупом выше той поверхности, которую мы должны измерять. Во время этого движения Рин2 – 9 опускается вниз до касания шарика 14 плоскости опоры 15. В этот момент зануливается автоматический СГ2 – 6, т.к. эта плоскость и является «0 меткой» для второй считывающей головки (т.е. N1i=0). После зануливания СГ2 – 6 мы можем начинать измерения.
Риз – 3 вместе со щупом 10 начинают свое движение в направлении измеряемой поверхности 11, при этом СГ1 – 5 отсчитывает величину перемещения и на сумматор С – 20 поступает величина N1i. До момента касания сумматор постоянно определяет разницу
N1i-N2i=N1i, т.к. N2i=0
В момент касания щупа 10 с поверхностью 11 продолжается счет на СГ1 – 5, откуда поступают импульсы n1iкас и числа N1iкac с блока 18 на сумматор 20. Одновременно начинается движения Риз- 3 относительно Рин2 – 9 и от СГ2-6 на блок 19 начинают поступать измерительные сигналы n2iкас, которые преобразуются этим блоком в величины N2iкac, которые подаются затем на сумматор 20. До и после момента касания Риз – 3 продолжает первоначальное движение. На сумматоре сравниваются данные N1iкac и N2iкac. Так как после касания величины перемещения от двух головок равны, но попадают с разным знаком на сумматор, то после касания алгебраическая сумма N1iкас-N2iкас практически равна нулю.
Поэтому сумматор постоянно будет выдавать координату касания в точке «О» – N10кас, до самого момента остановки двигателем 16 Риз – 3, независимо от того, сколько времени прошло с момента касания. В этом и есть существенное преимущество заявляемого устройства перед известными устройствами, которое состоит в том, что величина координаты касания выдается не единожды, а многократно на протяжении некоторого интервала времени после момента касании до момента остановки Риз – 3 двигателем 16.
Причем величины N1iкас, полученные после касания могут быть математически обработаны с тем, чтобы увеличить точность определения координаты касания.
Удобно пояснить работу ИДК с помощью фиг.5, где по оси ординат отложены величины координат перемещения, полученные от первой считывающей головкой, т.е. N1i и второй головкой N2i, а по оси абсцисс время измерения tиз. Предположим, что в точке А начинается движение Риз – 3. На сумматоре будут высвечиваться N1i. В точке О, соответствующей времени tокас произошло касание щупа с измеряемой поверхностью и сумматор выдает величину N10. После касания щупа Риз- 3 продолжает движение в том же направлении, и первая головка будет давать величины перемещения N1iкac, численные значения которых будут укладываться на прямой ОВ (они условно обозначены кружками), а численные величины перемещения от второй головки N2iкac на прямой ОС (треугольниками). Тогда на сумматоре «С» – 20 будут отражаться величины Niкас:
Niкас=N10кac+ i,
где i=N1iкac-N2iкac алгебраическая сумма величин от двух логических блоков с момента касания до момента остановки двигателя. Причем величины Niкас координаты касания могут быть математически обработаны с тем, чтобы увеличить точность определения координаты касания.
Как можно заметить, эти величины будут располагаться на горизонтальном отрезке OD, параллельном оси абсцисс. Причем, если измерительные оси обеих считывающих головок строго параллельны и если правильно выбрано время задержки сигналов от двух датчиков, то i близка к нулю и точки ложатся на прямой линии OD, которая будет параллельна оси абсцисс. Измерительные оси каждой пары решеток легко и с высокой точностью можно настроить параллельно друг относительно друга, по фазе интерференционных полос, тем более что измерительная решетка единая и она движется строго поступательно, а задержки можно выбирать равными, используя этот график и плоскую эталонную поверхность. В связи с тем, что в основе этого измерительного датчика касания лежит операция вычитания величин координат, получаемых от двух считывающих головок, его можно назвать дифференциальным измерительным датчиком касания.
Прямая OD и представляет собой геометрическую ось, на которой будут располагаться искомые величины координаты касания, которая может считываться в любой момент времени после касания.
Это означает, что не надо ловить мгновенный момент касания, поскольку этот момент, как раз, может и не отражать правильно величину координаты касания, скажем, хотя бы из-за удара, когда в это мгновение имеет место упругая деформация щупа и поверхности. Таким образом координата касания легко уловима на протяжении целого интервала времени OD до остановки двигателя.
С целью сохранения параллельности осей перемещения Рин2-9 относительно Риз – 3 и взаимного расположения штрихов обеих решеток друг относительно друга в конкретном примере реализации данной заявки, используются магниты 17, позволяющие подшипникам 13 каретки 12, в которой закреплена Рин2 – 9 (см. рис.1, 2 и 3), перемещаться по направляющим Риз – 3 и подложки 4. Для этого две пары по 3 магнита зафиксированы в стеклянной подложке Риз – 3 и подложке 4 в пределах перемещения Рин2 относительно Риз – 3 (фиг.4). Количество магнитов и их расположение в каждом отдельном случае может быть разное в зависимости от конкретной реализации устройства.
В данном конкретном случае ИДК обладал следующими характеристиками:
| длина Риз-3, L, мм |
200, |
частота Риз-3, , линий/мм |
1000, |
| точность Риз-3, Q, мкм |
±0,05, |
| разрешение, мкм |
0,01, |
| повторяемость системы, мкм |
0,2. |
Таким образом, в данном конкретном исполнении ИДК цель достигается тем, что:
1) используются:
– однотипные считывающие головки (с одинаковыми индикаторными решетками),
– единая высокоточная высокоразрешающая измерительная дифракционная решетка /3, 4/, (Приложение III), для СГ1 – 5 и СГ2 – 6,
– одни и те же направляющие для СГ1 – 5 и с СГ2 – 6.
Это изначально делает их максимально совместимыми по всем параметрам, в том числе по точности и по разрешению, без использования дополнительных методов для их совместимости и соотношения масштабов;
В данном конкретном случае оригинально была решена и задача создания собственных точных направляющих с помощью склеенных решеток, на что получен Патент РФ /4/. Измерительный датчик касания с собственными направляющими уже не зависит от качества направляющих изделия, в котором он встроен, таких как станок, обрабатывающий центр, измерительная машина и т.п. Опытный образец таких направляющих, изготовленный по особой технологии, показал точность отклонения от прямолинейности не больше ±1,7 микрон/метр;
2) создана единая система высокоточного дифференциального линейного измерительного датчика касания для измерения полной координаты поверхности изделия в момент касания с этой поверхностью, позволяющего измерить координату любой величины и с высокой точностью;
3) вес узла касания с поверхностью зависит не от веса крупногабаритных деталей ИДК, как в прототипе, т.е. от Риз-3 и щупа, а от веса малогабаритных деталей- Рин2- 9 и щупа, что приводит к уменьшению деформации измеряемой поверхности в точке касания благодаря малой силе ощупывания;
4) координата касания с измеряемой поверхностью определяется не только в самый первый момент касания, а также в последующие моменты времени после касания щупа с измеряемой поверхностью вплоть до полной остановки измерительной решетки (см. рис.5). Это обстоятельство позволяет более точно определить координату касания благодаря возможности математической обработки полученных величин координаты касания в одну и ту же точку, но в разное время (до полной остановки двигателем измерительной решетки) путем усреднения по многим измерениям, полученных с учетом величины релаксации всех узлов, в том числе и поверхности после ее деформации щупом;
5) в заявляемом датчике касания содержится в качестве элемента касания (контакта) миниатюрный, малоинерционный элемент – индикаторная дифракционная решетка, жестко связанная со щупом, поэтому временной отклик в момент касания практически мгновенный и определяется разрешающей способностью измерительной системы обеих считывающих головок, которая в настоящее время одинаковая для них и достигает 0,01 мкм. Это дает возможность сохранить высокую точность и при измерениях с высокими скоростями;
6) в обеих считывающих головках используются элементы с одинаковым коэффициентом температурного расширения.
В связи с тем, что после изготовления детали ее необходимо обмерять, то в мире создано и создается большое количество точных измерительных машин, содержащих для контакта с измеряемой деталью измерительный датчик касания (ИДК). Этот датчик не должен уступать по точности другим измерительным узлам этих машин. В то же время пока очень мало фирм (несколько), разрабатывающих ИДК. Поэтому естественно, что имеется большая конкурентная борьба за точность ИДК среди фирм, продвинутых в области высоких технологий.
Источники информации
1. Измерительный датчик касания МРЗ, Ренишоу, Паспорт МРЗ – аналог.
2. Турухано Б.Г., Турухано Н., Якутович В.Н.
Измерительная микрометрическая головка «ТУБОР». Патент РФ №2032142, 19.03.92.- прототип.
3. Горелик В.П., Николаев С.Н., Турухано Б.Г, Турухано Н.
Устройство для фазированного соединения дифракционных голографических решеток. Патент РФ, №673018, приор, от 06.06.77.
4. B.G.Turukhano, V.P.Gorelik, N.Turukhano. Apparatus for synthesis of elongated holographic diffraction gratings. Patent UK 2195784. Filed 07.10.86. Patent France 2605419. Filed 17.10.86. Patent Switzerland 675493. Filed 21.10.87.
Формула изобретения
Измерительный датчик касания на дифракционных решетках, включающий измерительную дифракционную решетку, щуп, две направляющие, считывающую головку, жестко связанную с корпусом датчика и включающую источник излучения, коллиматор, индикаторную дифракционную решетку, матрицу фотоприемников, а также группу подшипников, жестко закрепленных на корпусе, которые обеспечивают перемещение измерительной дифракционной решетке вдоль направления перемещения, отличающийся тем, что вновь введены двигатель, подложка, а измерительная дифракционная решетка жестко связана с подложкой, которая установлена перпендикулярно плоскости расположения штрихов измерительной дифракционной решетки, причем направляющими служат измерительная дифракционная решетка и подложка, и дополнительно введена вторая считывающая головка, которая закреплена на измерительной дифракционной решетке после первой считывающей головки со стороны расположения щупа и перед ним, а индикаторная дифракционная решетка второй считывающей головки зафиксирована в каретке, которая поддерживается магнитами, установленными в обеих направляющих в пределах перемещения каретки, каретка снабжена подшипниками, которые обеспечивают возможность ее перемещения по направляющим в пределах апертуры индикаторной дифракционной решетки второй считывающей головки вдоль направления перемещения измерительной дифракционной решетки, каретка жестко связана с щупом, причем на измерительной дифракционной решетке со стороны щупа выполнена плоскость опоры, а на каретке напротив и в пределах плоскости опоры жестко закреплен шарик, причем измерительная дифракционная решетка с подложкой соединены с двигателем, обеспечивающим их перемещение вдоль оси направления перемещения измерительной решетки, каждая считывающая головка связана через электронные логические блоки с сумматором.
РИСУНКИ
RH4A – Выдача дубликата патента Российской Федерации на изобретение
Дата выдачи дубликата: 10.05.2007
Наименование лица, которому выдан дубликат:
Турухано Борис Ганьевич (RU)
Наименование лица, которому выдан дубликат:
Турухано Никулина (RU)
Наименование лица, которому выдан дубликат:
Добырн Владислав Вениаминович (RU)
Извещение опубликовано: 27.06.2007 БИ: 18/2007
MM4A – Досрочное прекращение действия патента СССР или патента Российской Федерации на изобретение из-за неуплаты в установленный срок пошлины за поддержание патента в силе
Дата прекращения действия патента: 17.09.2007
Извещение опубликовано: 20.05.2009 БИ: 14/2009
|
|