|
|
(21), (22) Заявка: 2004131936/02, 01.11.2004
(24) Дата начала отсчета срока действия патента:
01.11.2004
(45) Опубликовано: 20.05.2006
(56) Список документов, цитированных в отчете о поиске:
RU 2000118346 А, 20.05.2002. US 3430563 А, 07.08.1963. US 5311819 А, 17.05.1994. US 3753402 А, 21.08.1973.
Адрес для переписки:
607188, Нижегородская обл., г. Саров, пр. Мира, 37, ФГУП “РФЯЦ-ВНИИЭФ”, начальнику ОПИНТИ
|
(72) Автор(ы):
Коротков Вадим Алексеевич (RU), Афанасьев Владимир Александрович (RU)
(73) Патентообладатель(и):
Российская Федерация, от имени которой выступает государственный заказчик – Федеральное агентство по атомной энергии (RU), Федеральное государственное унитарное предприятие “Российский федеральный ядерный центр – Всероссийский научно-исследовательский институт экспериментальной физики” – ФГУП “РФЯЦ-ВНИИЭФ” (RU)
|
(54) УСТРОЙСТВО ФОРМИРОВАНИЯ ВЗРЫВНОЙ ВОЛНЫ
(57) Реферат:
Область применения: взрывные работы и может найти применение при взрывании зарядов взрывчатых веществ в различных отраслях промышленности. Сущность изобретения: в основном заряде взрывчатого вещества выполнен сквозной канал, в котором размещен узел электрического задействования, с подводящими проводами, а закреплен он непосредственно на узле инициирования, который размещен под основным зарядом. Технический результат: повышение безопасности устройства при эксплуатации. 1 ил.
Изобретение относится к взрывной технике и может быть использовано для инициирования зарядов из бризантных взрывчатых веществ (ВВ), а также малочувствительных взрывчатых составов в различных отраслях, где используются взрывные работы. За аналог взято гибкое устройство для формирования взрывной волны (патент США №3430563, кл. НКИ 102-22, приоритет от 07.08.63, опубл. 04.03.69), которое содержит основной заряд ВВ, узел электрического задействования и узел инициирования, представляющий собой матрицу из гибкого ВВ с разветвленными концевыми участками, расположенную в листе инертного эластомера таким образом, что взрывная волна, расходящаяся от узла электрического задействования в эластомере, пересекает множество одинаковой длины полос с ВВ и подходит к множеству концевых участков ВВ, разнесенных равномерно по поверхности листа эластомера. Тем самым основной заряд ВВ инициируется одновременно в точках, соответствующих концевым участкам, находящихся с ним в контакте.
Недостатком аналога является расположение матрицы и узла электрического задействования над основным зарядом ВВ, что снижает уровень безопасности устройства и увеличивает его габариты.
За прототип взято устройство для формирования взрывной волны «Боевик», заявка на изобретение 2000118346/02, приоритет от 10.07.2000 г., опубл. 20.05.2002 г., которое содержит основной заряд ВВ, узел инициирования в виде форкамеры с узлом электрического задействования, заполненной вторичным ВВ и закрытой с одного конца мембраной, при этом в основном заряде ВВ выполнено заглушенное с одного торца отверстие, в котором установлена форкамера так, что ее замыкающая мембрана обращена в сторону заглушенного торца отверстия, в последнем перед мембраной установлено металлическое кольцо, при этом полость отверстия, кольцо и форкамера заполнены насыпным вторичным ВВ, отверстие перед форкамерой (входная часть отверстия) заполнено гидроизоляционным материалом, через который пропущены подводящие провода.
Недостатком прототипа является наличие вторичного насыпного ВВ в отверстии монолитного основного заряда ВВ, что повышает опасность в обращении с данным устройством.
Снижение уровня опасности является одной из основных задач в области взрывных работ.
Техническим результатом заявляемого изобретения является создание устройства с лучшим уровнем безопасности.
Указанный результат достигается тем, что в устройстве формирования взрывной волны, включающем основной заряд ВВ, узел инициирования и узел электрического задействования, с каналом в основном заряде ВВ, внутри которого установлен узел электрического задействования, канал основного заряда ВВ выполнен сквозным, узел инициирования размещен на внутренней поверхности основного заряда ВВ, узел электрического задействования расположен в выходной части канала непосредственно на узле инициирования.
Выполнение канала сквозным дает возможность расположить узел электрического задействования на наибольшем расстоянии от наружной поверхности основного заряда ВВ и за счет этого обеспечить его максимально возможную защиту основным зарядом ВВ, тем самым повысить взрывобезопасность устройства формирования взрывной волны при механических, ударно-волновых и пулеосколочных воздействиях за счет того, что более чувствительный узел электрического задействования защищен менее чувствительным ВВ основного заряда.
Размещение узла инициирования на внутренней поверхности основного заряда ВВ обеспечивает его полную защиту основным зарядом ВВ и тем самым повышает взрывобезопасность устройства формирования взрывной волны при механических, ударно-волновых и пулеосколочных воздействиях за счет того, что более чувствительный узел инициирования защищен менее чувствительным ВВ основного заряда.
Размещение узла электрического задействования в выходной части канала основного заряда ВВ непосредственно на узле инициирования, распологаемого на внутренней поверхности основного заряда ВВ, обеспечивает лучшую взрывобезопасность устройства формирования взрывной волны при механических, ударно-волновых и пулеосколочных воздействиях за счет того, что более чувствительные элементы устройства – узел инициирования и узел электрического задействования – защищены менее чувствительным ВВ основного заряда.
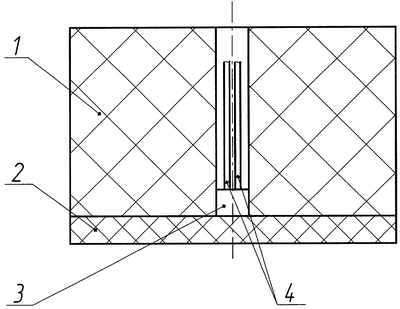
На чертеже изображен общий вид заявляемого устройства формирования взрывной волны, где 1 – основной заряд ВВ, 2 – узел инициирования, 3 – узел электрического задействования с подводящими проводами 4, расположенный в выходной части канала основного заряда непосредственно на узле инициирования.
В качестве примера конкретного выполнения можно привести устройство, состоящее из основного заряда 1 (ВВ – малочувствительный взрывчатый состав на основе триаминотринитробензола), узла инициирования 2, размещенного под основным зарядом ВВ и представляющего собой матрицу с каналами, заполненными пластичным ВВ, узла электрического задействования 3 (электродетонатор). В основном заряде выполнен сквозной канал. Диаметр сквозного канала основного заряда 15 мм. Узел инициирования склеен клеем ЭЛ 20 с основным зарядом. Электродетонатор 3 с подводящими проводами 4 поджимается к узлу инициирования пружиной.
Устройство работает следующим образом. От источника тока напряжение через подводящие провода 4 подается на электродетонатор 3. Последний, располагаясь непосредственно на узле инициирования 2, подрывает его начальную точку, от нее детонационные волны по каналам матрицы узла инициирования 2, заполненных ВВ, расходятся до концевых участков, которые одновременно подрывают основной заряд ВВ 1 по всей его внутренней поверхности.
При механических, ударно-волновых и пулеосколочных воздействиях основной заряд 1 из малочувствительного взрывчатого состава демпфирует эти воздействия, не взрываясь вплоть до своего разрушения, тем самым снижая уровень воздействия на защищаемые узел инициирования 2 и электродетонатор 3, и таким образом повышает взрывобезопасность устройства формирования взрывной волны при эксплуатации.
Формула изобретения
Устройство формирования взрывной волны, включающее основной заряд взрывчатого вещества, узел инициирования и узел электрического задействования, при этом в основном заряде взрывчатого вещества выполнен канал, в котором установлен узел электрического задействования, отличающееся тем, что канал основного заряда взрывчатого вещества выполнен сквозным, узел инициирования размещен на внутренней поверхности основного заряда взрывчатого вещества, узел электрического задействования расположен в выходной части канала непосредственно на узле инициирования.
РИСУНКИ
|
|