|
(21), (22) Заявка: 2004130943/02, 21.10.2004
(24) Дата начала отсчета срока действия патента:
21.10.2004
(45) Опубликовано: 20.05.2006
(56) Список документов, цитированных в отчете о поиске:
CH 659887 A5, 27.02.1987. RU 2224206 C1, 20.02.2004. RU 2210712 C2, 20.08.2003. US 4232449 A, 11.11.1980. FR 2756373 A1, 29.05.1998.
Адрес для переписки:
300001, г.Тула, Щегловская засека, ГУП “Конструкторское бюро приборостроения”
|
(72) Автор(ы):
Березин Сергей Михайлович (RU), Дульнев Вениамин Акимович (RU), Бурлаков Борис Валентинович (RU)
(73) Патентообладатель(и):
Государственное унитарное предприятие “Конструкторское бюро приборостроения” (RU)
|
(54) УСТРОЙСТВО ДЛЯ КОНТРОЛЯ ПОЛОЖЕНИЯ ОСИ КАНАЛА СТВОЛА ОРУДИЯ
(57) Реферат:
Изобретение относится к военной технике и может быть использовано для наведения и юстировки с прицелом оси канала ствола танковых пушек. Устройство контроля положения оси канала ствола орудия содержит штангу с закрепленными на ней передним и задним фланцами, имеющими трехточечные опоры призматического типа с одной подпружиненной точкой. Штанга установлена с возможностью радиального смещения относительно переднего фланца, выполненного с отбортовкой относительно канала ствола и имеющего риску на наружной торцевой поверхности. Точки опор фланцев при размещении в канале ствола образуют форму равнобедренного треугольника. Реализация изобретения позволяет повысить точность юстировки с прицелом танкового орудия. 3 ил.
Изобретение относится к военной технике и может быть использовано для наведения и юстировки с прицелом оси канала ствола танковых пушек.
Известно устройство для наводки через канал ствола (патент США №4232449 от 11.11.1980 г, МПК5 F 41 G 3/32), содержащее зажимное кольцо и приспособление, закрепляемое в зоне дульного среза ствола. В нем предусмотрены две горизонтальные консоли, прикрепленные к зажимному кольцу и отходящие от него на наружную поверхность в противоположные стороны, и два реперных прицельных элемента, шарнирно прикрепленных к консолям у зажимного кольца, которые совмещаются с контрольными отметками на стволе. Имеются также две вертикальные консоли, шарнирно прикрепленные к концам горизонтальных консолей, и мишенные средства, установленные на каждой вертикальной консоли и используемые вместе с прицелами, расположенными у казенной части ствола.
Недостатком устройства является низкая точность наведения оси канала ствола вследствие консольного закрепления конструкции.
Известна калиберная штанга (патент Швейцарии №659887 от 27.02.87 г, МПК5 F 41 G 3/32), которая является наиболее близким техническим решением к заявляемому объекту и выбрана в качестве прототипа. Штанга предназначена для проверки оси канала ствола и юстировки прицельных приспособлений относительно указанной оси. Штанга снабжена двумя устройствами трехточечного крепления и устанавливается непосредственно в канал ствола. Каждое устройство образует опору призматического типа, которая третьей подпружиненной опорной точкой прижимается к внутренней стенке ствола. Благодаря этому штанга принудительно кинематически ориентируется, за счет чего ее ось устанавливается параллельно оси канала ствола. Устройство трехточечного крепления содержит неподвижный фланец, жестко связанный со стержнеобразной штангой. Фланец снабжен направляющими, на которых установлен регулируемый фланец с двумя опорными точками, одна из которых подпружинена. Третья опорная точка находится на неподвижном фланце. С помощью регулируемого фланца все три опорные точки выставляются на требуемый калибр ствола. В центре регулируемого фланца выполнено удлиненное отверстие, позволяющее осуществлять его перемещение относительно неподвижного фланца. Для фиксации фланцев друг относительно друга предусмотрены фиксаторы.
Недостатками калиберной штанги являются:
– невозможность определения истинного положения оси канала ствола, так как ось штанги можно принудительно устанавливать только параллельно оси канала ствола со смещением по горизонтальной и вертикальной плоскостям;
– наличие погрешности, вызванной регулировкой устройств трехточечного крепления друг относительно друга;
– невозможность идентичной установки штанги в канале ствола в осевом и тангенциальном направлениях при повторной юстировке.
Задачей предлагаемого изобретения является повышение точности юстировки танкового орудия с прицелом.
Поставленная задача решается устройством для контроля положения оси канала ствола орудия, содержащим штангу с закрепленными на ней передним и задним фланцами, имеющими трехточечные опоры призматического типа с одной подпружиненной точкой, в котором штанга установлена с возможностью радиального смещения относительно переднего фланца, выполненного с отбортовкой относительно канала ствола и имеющего риску на наружной торцевой поверхности, а точки опор фланцев при размещении в канале ствола образуют форму равнобедренного треугольника.
Установка штанги с возможностью радиального смещения относительно переднего фланца позволяет точно по калибру выставлять ось штанги по оси канала ствола. Выполнение отбортовки и риски на наружной торцевой поверхности переднего фланца обеспечивает идентичность установки штанги в канале ствола в осевом и тангенциальном направлениях. Размещение точек опор фланцев в канале ствола с образованием формы равнобедренного треугольника обеспечивает возможность смещения оси штанги относительно оси канала ствола при его износе только в одной плоскости.
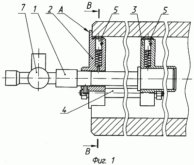
Предлагаемое изобретение поясняется графическими материалами, где на фиг.1 изображен общий вид устройства, на фиг.2 – вид на дульную часть орудия с установленным в нем устройством, на фиг.3 – сечение по переднему фланцу в плоскости, перпендикулярной оси канала ствола.
Устройство для контроля положения оси канала ствола орудия состоит из штанги 1 с размещенными на ней передним 2 и задним 3 фланцами.
Фланцы имеют звездообразную форму и дополнительно соединены между собой стержнями 4.
Верхние перья фланцев снабжены подпружиненными грибками 5. Штанга 1 установлена относительно переднего фланца 2 с возможностью радиальной регулировки установочными винтами 6. Каждое перо переднего фланца 2 имеет буртик “А”. На торцевой поверхности переднего фланца 2 в осевой вертикальной плоскости выполнена риска “Б” в виде канавки. На штанге I закреплено оптическое, световое или лазерное приспособление 7, позволяющее на расстоянии определять положение оси штанги.
Проверка положения оси канала ствола орудия производится следующим образом. Предварительно устройство устанавливают в приспособление-имитатор (калибр) дульной части ствола орудия. С помощью установочных винтов 6 совмещают ось штанги 1 с осью дульной части канала ствола приспособления (калибра). После регулировки устройство помещают в штатный ствол до упора буртиков “А” в дульный срез орудия, при этом риску “Б” на переднем фланце 2 совмещают с вертикальной контрольной отметкой на стволе. С помощью приспособления 7 отмечают положение оси дульной части ствола относительно точки прицеливания. По мере износа канала ствола положение оси устройства будет смещаться вниз в вертикальной плоскости, проходящей через ось дульной части канала ствола.
Величина смещения оси определяется по формуле:

где r – радиальный износ канала ствола;
° – угол, образованный линией, соединяющей нижние точки касания поверхности канала ствола перьями фланца, и линией, проходящей через одну из этих точек и ось штанги.
При юстировке изношенного канала ствола с прицелом по известной величине износа определяют необходимую величину смещения линии визирования прицела.
Таким образом, предложенное техническое решение позволяет повысить точность юстировки оси канала ствола орудия с прицелом.
Формула изобретения
Устройство для контроля положения оси канала ствола орудия, содержащее штангу с закрепленными на ней передним и задним фланцами, имеющими трехточечные опоры призматического типа с одной подпружиненной точкой, отличающееся тем, что штанга установлена с возможностью радиального смещения относительно переднего фланца, выполненного с отбортовкой относительно канала ствола и имеющего риску на наружной торцевой поверхности, а точки опор фланцев при размещении в канале ствола образуют форму равнобедренного треугольника.
РИСУНКИ
MM4A – Досрочное прекращение действия патента СССР или патента Российской Федерации на изобретение из-за неуплаты в установленный срок пошлины за поддержание патента в силе
Дата прекращения действия патента: 22.10.2007
Извещение опубликовано: 27.06.2009 БИ: 18/2009
|