|
|
(21), (22) Заявка: 2003136760/06, 13.05.2002
(24) Дата начала отсчета срока действия патента:
13.05.2002
(30) Конвенционный приоритет:
16.05.2001 DK PA 2001 00781
(43) Дата публикации заявки: 20.05.2005
(45) Опубликовано: 20.05.2006
(56) Список документов, цитированных в отчете о поиске:
SU 429234 A1, 25.05.1974. SU 771395 A1, 15.10.1980. GB 2232274 A, 05.12.1990. DE 19712618 A, 01.10.1998.
(85) Дата перевода заявки PCT на национальную фазу:
16.12.2003
(86) Заявка PCT:
DK 02/00311 (13.05.2002)
(87) Публикация PCT:
WO 02/093048 (21.11.2002)
Адрес для переписки:
191002, Санкт-Петербург, а/я 5, ООО “Ляпунов и партнеры”, пат.пов. В.В.Дощечкиной
|
(72) Автор(ы):
ХОЛГРИН Ларс (DK)
(73) Патентообладатель(и):
Флокон АпС (DK)
|
(54) РЕГУЛИРУЮЩИЙ КЛАПАН
(57) Реферат:
Изобретение относится к регулирующим клапанам для управления потоком жидкости в трубопроводе. Регулирующий клапан содержит корпус клапана, разделенный проходным отверстием клапана, имеющим ось, на первую и вторую секции, соединенные с трубой соответственно выше и ниже по течению потока через клапан. Камера давления выполнена предпочтительно соосно с проходным отверстием клапана и сообщена со второй секцией корпуса клапана. Плунжер установлен с возможностью перемещения в камере давления и имеет затвор для регулирования проходного сечения клапана при взаимодействии с проходным отверстием клапана. Осевое отверстие в плунжере соединено, по меньшей мере, с одним первым каналом, выходящим в первую секцию корпуса клапана или вблизи нее, и, по меньшей мере, с одним вторым каналом, выходящим во вторую секцию корпуса клапана. Позиционирующий шток выполнен с возможностью перемещения в корпусе клапана, один конец которого выполнен с возможностью перемещения в осевом отверстии плунжера, а второй конец выходит наружу из корпуса клапана. Клапан дополнительно содержит соединительный канал в позиционирующем штоке, один конец которого сообщается с камерой давления, а другой конец которого сообщается, по меньшей мере, с одним первым каналом плунжера в первом положении позиционирующего штока относительно плунжера, по меньшей мере, с одним вторым каналом плунжера во втором положении и не сообщается ни с одним из этих каналов в третьем положении. Описан вариант выполнения устройства. Изобретение позволяет повысить надежность устройства. 2 н. и 14 з.п. ф-лы, 19 ил.
Изобретение относится к регулирующему клапану для управления потоком жидкости в трубопроводе, содержащему корпус, разделенный проходным отверстием клапана, имеющим ось, на первую и вторую секции, соединенные с трубой соответственно выше и ниже по течению потока через клапан, камеру давления, выполненную предпочтительно соосно с проходным отверстием клапана и сообщающуюся со второй секцией корпуса клапана, и плунжер, установленный с возможностью перемещения в камере давления и имеющий затвор для регулирования проходного сечения клапана при взаимодействии с проходным отверстием клапана.
Клапаны такого типа главным образом используют для регулирования расхода жидкости в трубопроводах, которые, например, являются частью систем охлаждения или отопления.
Их устанавливают в системах центрального отопления в подающей трубе к радиатору для регулирования расхода воды и соответственно,тепловыделения радиатора.
Регулирование происходит путем изменения площади проходного сечения клапана в зависимости от параметра, например от желаемой температуры в помещении. Для этой цели затвор устанавливается на определенном расстоянии от проходного отверстия клапана с помощью исполнительного механизма, которым может быть в одних случаях двигатель, в других случаях средства, работающие в зависимости, например, от температуры или давления.
Во время работы клапана в нем возникает разность давлений, на его затвор действует усилие, которое тем больше, чем больше размеры клапана; для преодоления этого усилия необходим исполнительный механизм соответствующих размеров. Таким образом, цена клапана значительно возрастает вследствие удорожания исполнительного механизма, который, как указано, должен быть тем больше, чем больше размеры клапана.
Эту проблему пытаются решить путем изготовления затвора в виде части плунжера, установленного с возможностью перемещения в камере давления и выполнения в плунжере продольного канала, выходящего в камеру давления. Таким образом, разность давлений в некоторой степени выравнивается. Однако указанный канал имеет тенденцию засоряться примесями, содержащимися в жидкости, протекающей через клапан, так что желаемое выравнивание давления в конечном итоге прекращается и клапан соответственно не может функционировать удовлетворительно.
Объектом изобретения является регулирующий клапан упомянутого выше типа, который имеет простую недорогую конструкцию, обеспечивает надежность работы в течение длительного времени и который может управляться легко и безопасно путем приложения незначительных усилий.
Новой уникальным отличительным признаком изобретения, в результате чего это достигается, является наличие осевого отверстия в плунжере, которое сообщается, по меньшей мере, с одним первым каналом, выходящим в первую секцию корпуса клапана или вблизи нее, и, по меньшей мере, с одним вторым каналом, выходящим во вторую секцию корпуса клапана, позиционирующего штока, установленного с возможностью перемещения или поворота в корпусе клапана, один конец которого выполнен с возможностью перемещения в осевом отверстии плунжера, а второй выходит наружу из корпуса клапана, и соединительного канала в позиционирующем штоке или в плунжере, один конец которого сообщается с камерой давления, а другой конец которого сообщается, по меньшей мере, с одним первым каналом плунжера в первом положении позиционирующего штока относительно плунжера, по меньшей мере, с одним вторым каналом плунжера во втором положении, и не сообщается ни с одним из этих каналов в третьем положении.
Обычно разность давлений в регулируемом проходном сечении регулирующего клапана является неблагоприятным фактором, который необходимо преодолеть. Для этой цели требуется относительно большое усилие и соответственно большой и дорогой исполнительный механизм.
В регулирующем клапане, выполненном согласно изобретению, разность давлений преодолевать не требуется. Наоборот, обычно мешающая, здесь она удивительным образом используется для управления клапаном.
Это управление осуществляется легко и безопасно путем перемещения или поворота позиционирующего штока, и для этой цели требуются только относительно небольшие усилия, которые можно создавать с помощью относительно небольших и недорогих исполнительных механизмов, которые не требуется увеличивать в размерах по мере увеличения размеров клапана.
Рабочие каналы клапана могут иметь достаточно большие поперечные сечения, чтобы не засоряться примесями, содержащимися в протекающей через клапан жидкости во время работы, таким образом, клапан будет надежно функционировать в течение длительного времени.
Указанные каналы могут быть выполнены различными способами в зависимости от способа установки позиционирующего штока в корпусе клапана и от характера его движения, возвратно-поступательного или вращательного.
Однако во всех случаях позиционирующий шток должен быть выполнен с соединительным каналом, один конец которого выходит в камеру давления, а другой конец – на расстоянии от этой камеры. Таким образом, за счет разности давлений позиционирующий шток будет перемещать плунжер вверх и вниз и таким образом изменять площадь проходного сечения в клапане.
Если позиционирующий шток предназначен для работы в возвратно-поступательном режиме, его выполняют с продольным каналом в штоке или в плунжере.
Если шток предназначен для работы во вращательном режиме, его выполняют с винтовой резьбой по наружной стороне. В этом случае расстояние вдоль оси между двумя смежными витками в 360° должно быть меньше или равно диаметру второго поперечного канала плунжера.
Предпочтительно, чтобы камера давления имела относительно большой диаметр, который может быть даже больше, чем площадь проходного сечения потока в клапане, так, что плунжер будет реагировать даже на незначительную разность давлений.
Если позиционирующий шток снабжен манжетой на каждой стороне осевого отверстия плунжера, клапаном можно управлять, даже если разность давлений столь мала, что не может преодолеть трение между подвижными частями клапана, при этом манжеты перемещают плунжер в камере давления, когда управляющее воздействие приложено к позиционирующему штоку.
Ниже изобретение описано более детально, с описанием вариантов выполнения в виде примеров и с изложением дополнительных преимущественных отличительных особенностей со ссылками на чертежи, на которых:
фиг.1 изображает регулирующий клапан, выполненный согласно первому варианту выполнения изобретения, в первой фазе управления;
фиг.2 изображает регулирующий клапан, показанный на фиг.1, во второй фазе управления;
фиг.3 изображает регулирующий клапан, показанный на фиг.1, в третьей фазе управления;
фиг.4 изображает позиционирующий шток, являющийся частью регулирующего клапана, изображенного на фиг.1-3;
фиг.5 изображает плунжер, являющийся частью регулирующего клапана, изображенного на фиг.1-3;
фиг.6 изображает регулирующий клапан, выполненный согласно второму варианту выполнения изобретения, в первой фазе управления;
фиг.7 изображает регулирующий клапан, показанный на фиг.6, во второй фазе управления;
фиг.8 изображает регулирующий клапан, показанный на фиг.6, в третьей фазе управления;
фиг.9 изображает позиционирующий шток, являющийся частью регулирующего клапана, изображенного на фиг.6-8;
фиг.10 изображает плунжер, являющийся частью регулирующего клапана, изображенного на фиг.6-8;
фиг.11 изображает регулирующий клапан, выполненный согласно третьему варианту выполнения изобретения;
фиг.12 изображает регулирующий клапан, выполненный согласно изобретению, по четвертому варианту выполнения, в первой фазе управления;
фиг.13 изображает регулирующий клапан, показанный на фиг.12, во второй фазе управления;
фиг.14 изображает регулирующий клапан, показанный на фиг.12, в третьей фазе управления;
фиг.15 изображает позиционирующий шток, являющийся частью регулирующего клапана, изображенного на фиг.12-14;
фиг.16 изображает регулирующий клапан, выполненный согласно пятому варианту выполнения, изобретения, в первой фазе управления;
фиг.17 изображает регулирующий клапан, показанный на фиг.16, во второй фазе управления;
фиг.18 изображает регулирующий клапан, показанный на фиг.16, в третьей фазе управления;
фиг.19 изображает плунжер, являющийся частью регулирующего клапана, изображенного на фиг.16-18.
В приведенном ниже описании предполагается, что регулирующий клапан установлен в подающей трубе радиатора (не показан), и, как показано на фиг.1-19, соединен с левой секцией трубы. Таким образом, вода протекает через клапан справа налево, как обозначено стрелкой.
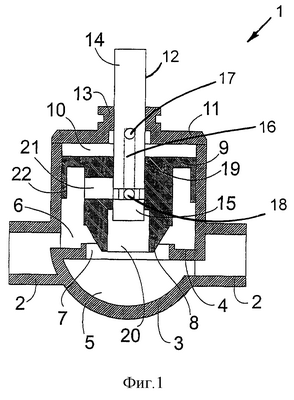
На фиг.1-5 регулирующий клапан в общем случае обозначен номером 1 позиции, при этом единственная частично показанная подающая труба обозначена номером 2.
Клапан содержит корпус 3, разделенный на первую секцию 5 и вторую секцию 6 перегородкой 4. Две секции 5, 6 расположены соответственно выше и ниже по течению потока через клапан, соединенный с трубой 2.
В перегородке 4 выполнено проходное отверстие 7 клапана, через которое протекает вода в радиатор.
Затвор (конус тарелки клапана) 8 на подвижном плунжере 9 служит для закрытия проходного отверстия 7 клапана или для регулирования площади проходного сечения клапана путем установки указанного конуса 8 на соответствующем расстоянии от проходного отверстия клапана в зависимости, например, от температуры в помещении.
Плунжер расположен с возможностью перемещения в камере 10 давления, которая в нижней части, показанной на чертеже, сообщается со второй секцией 6 корпуса 3 клапана. В верхней части камера давления закрыта основанием 11.
Позиционирующий шток 12, установленный с возможностью перемещения в фиксирующем подшипнике 13 в этом основании, имеет верхнюю концевую часть 14 и нижнюю концевую часть 15. Концевая часть 14 выходит наружу, а концевая часть 15 находится внутри корпуса 3 клапана соответственно.
В позиционирующем штоке 12 имеется осевой канал 16, выпускающий жидкость в камеру 10 давления через верхний поперечный канал 17 и на расстоянии от этой камеры – через нижний поперечный канал 18.
В альтернативном варианте осевой канал 16 может быть выполнен в виде паза или канавки по боковой стороне позиционирующего штока.
В плунжере 9 дополнительно выполнено осевое отверстие 19 для установки нижней концевой части 15 позиционирующего штока таким образом, что нижний поперечный канал 18 штока будет находиться в указанном осевом отверстии.
В плунжере, кроме того, выполнены первый канал 20, расположенный внизу, и соединяющий осевое отверстие 19 с первой секцией 5 корпуса клапана, и второй канал 21, расположенный в верхней части корпуса клапана, и соединяющий осевое отверстие 19 со второй секцией корпуса клапана.
Как показано на фиг.1-19, плунжер 9 содержит элемент 22 большей площади, имеющий больший диаметр, чем проходное отверстие 7 клапана.
Как показано на фиг.1-19, плунжер 9 содержит элемент 22 большей площади, имеющий больший диаметр, чем проходное отверстие 7 клапана.
Когда через регулирующий клапан вода поступает в радиатор, между первой и второй секциями 5 и 6 корпуса клапана образуется разность давлений, указанное давление будет воздействовать на плунжер посредством направленной вверх первой силы.
Давление в камере 10 давления одновременно воздействует на плунжер второй силой, направленной вниз.
На фиг.1 позиционирующий шток 12 расположен таким образом в корпусе 3 клапана с помощью исполнительного механизма (не показан), что камера 10 давления сообщается со второй секцией 6 корпуса клапана через второй канал 21 плунжера 9 и осевой канал 16, верхний поперечный канал 17 и нижний поперечный канал 18 позиционирующего штока 12, при этом соединение между камерой 10 давления и первой секцией 5 корпуса клапана перекрыто.
Таким образом, давление из второй секции 6 корпуса клапана будет передаваться в камеру давления 10. Так как давление в этой камере соответственно будет ниже, чем давление в первой секции 5 корпуса клапана, результирующей этих двух сил, одновременно воздействующих на плунжер, будет сила, направленная вверх, которая будет толкать плунжер вверх, или, иными словами, регулирующий клапан будет находиться в фазе открытия.
Фаза открытия будет продолжаться до тех пор, пока не возникнет ситуация, изображенная на фиг.2, в которой позиционирующий шток перекрывает любое соединение между камерой 10 давления и обеими секциями 5, 6 корпуса клапана. В этой фазе давление в камере давления будет регулироваться автоматически до достижения той же величины, что и давление в первой секции корпуса клапана, и результирующая двух одновременно действующих на плунжер сил, таким образом, станет равна нулю. Регулирующий клапан находится в стационарной фазе.
На фиг.3 позиционирующий шток 12 расположен в корпусе 3 клапана таким образом, что камера 10 давления сообщается с первой секцией 5 корпуса клапана через первый канал 20 плунжера 9, осевой канал 16 и верхний и нижний поперечные каналы 17 и 18 позиционирующего штока 12, при этом соединение между камерой 10 давления и второй секцией 6 корпуса клапана одновременно перекрывается.
Давление из первой секции 5 корпуса клапана будет передаваться в камеру давления. Так как давление в камере 10 давления будет такое же, как в первой секции 5 корпуса клапана, а давление на нижнюю сторону элемента 22 плунжера будет такое же, как более низкое давление во второй секции 6 корпуса клапана, результирующая этих двух сил, одновременно воздействующих на плунжер, будет направлена вниз, и будет толкать плунжер вниз, иными словами, регулирующий клапан находится в фазе закрытия.
Как видно, разность давлений между двумя секциями 5 и 6 корпуса клапана напрямую используется для управления клапаном, при этом позиционирующий шток может легко перемещаться с помощью небольшого усилия. Таким образом, для позиционирования плунжера и управления клапаном может использоваться небольшой и, следовательно, не дорогой исполнительный механизм.
Так как верхний элемент 22 большей площади плунжера имеет относительно большой диаметр, плунжер легко реагирует даже на небольшие значения разности давлений между первой и второй секциями 5 и 6 корпуса 3 клапана.
На фиг.6-10 показан клапан 23 по второму варианту выполнения согласно изобретению. Этот вариант по существу соответствует варианту, показанному на фиг.1 – 5, и подобные части соответственно обозначены теми же номерами позиций.
Отличие состоит в том, что соединительный канал позиционирующего штока 12 в этом варианте выполнен в виде винтовой резьбы 25, проходящей от камеры 10 давления по наружной стороне штока к области у осевого отверстия 20 плунжера 9, и в том, что клапан управляется путем поворота позиционирующего штока, чем достигается результат в виде тех же фаз управления, как показано на фиг.1-3.
На фиг.6 позиционирующий шток 12 с помощью исполнительного механизма (не показан) расположен в корпусе 3 клапана таким образом, что камера 10 давления сообщается со второй секцией 6 корпуса клапана через второй канал 21 плунжера 9 и винтовую резьбу 25 позиционирующего штока, при этом соединение между камерой 10 давления и первой секцией 5 корпуса клапана одновременно перекрывается. Регулирующий клапан, как на фиг.1, находится в фазе открытия.
На фиг.7 позиционирующий шток повернут таким образом, что он перекрывает любое соединение между камерой 10 давления и обеими секциями 5, 6 корпуса клапана. Регулирующий клапан, как и на фиг.2, находится в стационарной фазе.
На фиг.8 позиционирующий шток путем повернут таким образом, что камера 10 давления сообщается с первой секцией 5 корпуса клапана через первый канал 20 плунжера 9 и винтовую резьбу 25 позиционирующего штока, при этом соединение между камерой 10 давления и второй секцией 6 корпуса клапана одновременно перекрывается. Регулирующий клапан, как и на фиг.3, находится в фазе закрытия.
На фиг.11 изображен клапан по третьему варианту выполнения изобретения, установленный в подающей трубе 26, показанной фрагментарно.
Клапан содержит корпус 27, разделенный на первую секцию 29 и вторую секцию 30 перегородкой 28, причем указанные секции соединены с трубой 26 выше и ниже по течению потока через клапан соответственно. В перегородке имеется проходное отверстие 31 клапана для протекания воды в радиатор.
Затвор (конус тарелки клапана) 32 на перемещающемся плунжере 33 предназначен для закрытия проходного отверстия клапана или для регулирования площади проходного сечения клапана путем расположения указанного конуса на соответствующем расстоянии от проходного отверстия клапана в зависимости, например, от температуры в помещении.
Плунжер расположен с возможностью перемещения в камере 34 давления, сообщающейся, без плунжера, со второй секцией 30 корпуса клапана. В нижней части камера давления закрыта основанием 35. В верхней части первая секция корпуса клапана закрыта основанием 36. Позиционирующий шток 12, установленный с возможностью перемещения в фиксирующем подшипнике 38 в основании 36, содержит верхнюю концевую часть 39, которая выходит из корпуса клапана наружу, и нижнюю концевую часть 40, проходящую в осевом отверстии 41 плунжера 33 и через первую и вторую секции 29, 30 корпуса.
В позиционирующем штоке 12 имеется осевой канал 42, одним концом выходящий в камеру 34 давления, а другим концом выходящий в осевое отверстие 41 плунжера через верхний поперечный канал 44 у перегородки 45 в осевом отверстии.
В плунжере, кроме того, выполнены первый канал 46, соединяющий осевое отверстие 41 с первой секцией 29 корпуса клапана, и второй канал 47, соединяющий осевое отверстие 41 со второй секцией 30 корпуса клапана.
Этот регулирующий клапан, выполненный согласно изобретению по третьему варианту, работает по тому же принципу, что и в первом варианте, показанном на фиг.1 – 3.
Когда поперечный канал 44 позиционирующего штока перемещается ниже поперечной стенки 45 плунжера, вторая секция 30 корпуса клапана сообщается с камерой 34 давления через второй канал 47 плунжера, поперечный канал 44 и осевой канал 42 позиционирующего штока. Таким образом, давление в камере 34 давления будет ниже, чем давление в первой секции 29 корпуса клапана, в результате чего клапан будет открываться.
Когда поперечный канал 44 позиционирующего штока перемещается выше поперечной стенки 45 плунжера, первая секция 29 корпуса клапана сообщается с камерой 34 давления через поперечный канал 44 и осевой канал 42 позиционирующего штока. Таким образом, давление в камере 34 давления будет выше, чем давление во второй секции 30 корпуса клапана, в результате чего клапан будет закрываться.
Когда поперечный канал 44 позиционирующего штока находится в перегородке 45 плунжера, все сообщения между камерой 34 давления и двумя секциями 29 и 30 корпуса клапана прекращаются. Положение плунжера является стационарным относительно корпуса клапана.
На фиг.12-15 изображен вариант 48 выполнения регулирующего клапана, показанного на фиг.1-5. Единственное отличие состоит в том, что позиционирующий шток 12, показанный на фиг.4, заменен позиционирующим штоком 12, показанным на фиг.15, снабженным, как показано на чертеже, верхней манжетой 50 и нижней манжетой 51. Остальные части клапана обозначены теми же номерами позиций, что и показанные на фиг.1-5.
При обычно присутствующей разности давлений в клапане 48 этот клапан работает точно таким же образом, что и описанный выше со ссылками на фиг.1-3. То есть клапан 48 на фиг.12 находится в открытой фазе, на фиг.13 – в стационарной фазе, а на фиг.14 – в закрытой фазе.
В некоторых случаях разность давлений может быть столь мала, что не может преодолеть естественного сопротивления трения между движущимися частями клапана. Управляющий клапан, показанный на фиг.1-3, в этом случае не может управляться позиционирующим штоком 12 на фиг.4.
Регулирующий клапан 1, выполненный по варианту 48, изображенный на фиг.12-15, может управляться, даже если перепад давления почти равен нулю, потому что позиционирующий шток 12 снабжен манжетами 50 и 51.
Например, предположим, что разность давлений, достаточная для перемещения плунжера 9, отсутствует и что клапан 48 необходимо закрыть путем перемещения позиционирующего штока 12 в корпусе 3 клапана с помощью исполнительного механизма или вручную.
В этом случае требуемые действия производятся перемещением позиционирующего штока 12 вниз, как показано на чертеже, в корпусе 3 клапана, в результате чего верхняя манжета 50 позиционирующего штока первой войдет в контакт с верхней частью плунжера 9 и будет толкать плунжер вниз при перемещении вниз позиционирующего штока 12.
При открытии клапана действия происходят в обратном порядке, в этом случае нижняя манжета 51 позиционирующего штока 12, который будет активным в этом случае, будет толкать плунжер вверх при перемещении позиционирующего штока вверх в корпусе 3 клапана.
На фиг.16-19 показан клапан, выполненный согласно изобретению, в пятом варианте выполнения. Этот вариант выполнения по существу соответствует варианту выполнения, показанному на фиг.1-5, и соответствующие элементы обозначены теми же номерами позиций.
Различие состоит в том, что вместо осевого канала 16 в позиционирующем штоке 12 имеется продольный соединительный канал 52, выполненный в плунжере 9 и выходящий частично в камеру 10 давления, частично – на расстоянии от этой камеры.
Клапан, выполненный по пятому варианту согласно изобретению, работает таким же образом, как и клапан по первому варианту, и поэтому подробно его работа здесь не описана.
Формула изобретения
1. Регулирующий клапан для управления потоком жидкости в трубопроводе (2), содержащий корпус (3) клапана, разделенный проходным отверстием (7) клапана, имеющим ось, на первую и вторую секции (5; 6), соединенные с трубой (2) соответственно выше и ниже по течению потока через клапан, камеру (10) давления, выполненную предпочтительно соосно с проходным отверстием (7) клапана и сообщающуюся со второй секцией (6) корпуса (3) клапана, и плунжер (9), установленный с возможностью перемещения в камере (10) давления и имеющий затвор (8) для регулирования проходного сечения клапана при взаимодействии с проходным отверстием (7) клапана, осевое отверстие (19) в плунжере (9), соединенное, по меньшей мере, с одним первым каналом (20), выходящим в первую секцию (5) корпуса (3) клапана или вблизи нее, и, по меньшей мере, с одним вторым каналом (21), выходящим во вторую секцию (6) корпуса (3) клапана, позиционирующий шток (12), выполненный с возможностью перемещения в корпусе (3) клапана, один конец (15) которого выполнен с возможностью перемещения в осевом отверстии (19) плунжера (9), а второй конец (14) выходит наружу из корпуса (3) клапана, отличающийся тем, что клапан дополнительно содержит соединительный канал в позиционирующем штоке, один конец которого сообщается с камерой (10) давления, а другой конец которого сообщается, по меньшей мере, с одним первым каналом (20) плунжера (9) в первом положении позиционирующего штока относительно плунжера, по меньшей мере, с одним вторым каналом (21) плунжера (9) во втором положении и не сообщается ни с одним из этих каналов (20; 21) в третьем положении.
2. Регулирующий клапан по п.1, отличающийся тем, что позиционирующий шток (12) проходит в осевом отверстии (19) плунжера (9) через камеру (10) давления, его соединительный канал состоит из осевого канала (16), по меньшей мере, одного первого поперечного канала (17), выходящего в камеру давления, и, по меньшей мере, одного второго поперечного канала (18), расположенного на некотором расстоянии от первого поперечного канала.
3. Регулирующий клапан по п.1, отличающийся тем, что позиционирующий шток (12) проходит в осевом отверстии (41) плунжера (33) через первую и вторую секции (29; 30) корпуса (3) клапана и его соединительный канал состоит из осевого канала (42), выходящего на конце позиционирующего штока (12), обращенного к камере (34) давления, и, по меньшей мере, одного поперечного канала (44) на некотором расстоянии от точки выхода канала (42).
4. Регулирующий клапан по п.1, отличающийся тем, что плунжер (9) выполнен с возможностью перемещения в камере (10) давления между первым положением, в котором его затвор (8) закрывает проходное отверстие (7) клапана, и вторым положением, в котором затвор расположен на максимальном расстоянии от проходного отверстия (7) клапана.
5. Регулирующий клапан по п.1, отличающийся тем, что затвор (8) выполнен в виде конуса и выполнен с возможностью входить в проходное отверстие (7) клапана.
6. Регулирующий клапан по п.1, отличающийся тем, что камера (10) давления имеет диаметр больший, чем диаметр проходного отверстия (7) клапана.
7. Регулирующий клапан по п.1, отличающийся тем, что выходящая наружу часть (14) позиционирующего штока (12) соединена с исполнительным механизмом.
8. Регулирующий клапан по любому из пп.1-7, отличающийся тем, что позиционирующий шток (12) снабжен манжетами (50; 51) на каждом из концов осевого отверстия (19) плунжера (9) и расстояние между этими манжетами больше, чем длина осевого отверстия (19).
9. Регулирующий клапан для управления потоком жидкости в трубопроводе (2), содержащий корпус (3) клапана, разделенный проходным отверстием (7) клапана, имеющим ось, на первую и вторую секции (5; 6), соединенные с трубой (2) соответственно выше и ниже по течению потока через клапан, камеру (10) давления, выполненную предпочтительно соосно с проходным отверстием (7) клапана и сообщающуюся со второй секцией (6) корпуса (3) клапана, плунжер (9), установленный с возможностью перемещения в камере (10) давления и имеющий затвор (8) для регулирования проходного сечения клапана при взаимодействии с проходным отверстием (7) клапана, осевое отверстие (19) в плунжере (9), соединенное, по меньшей мере, с одним первым каналом (20), выходящим в первую секцию (5) корпуса (3) клапана или вблизи нее, и, по меньшей мере, с одним вторым каналом (21), выходящим во вторую секцию (6) корпуса (3) клапана, установленный в корпусе (3) клапана позиционирующий шток (12), у которого один конец (15) расположен в осевом отверстии (19) плунжера (9), а второй конец (14) выходит наружу из корпуса (3) клапана, отличающийся тем, что позиционирующий шток (12) выполнен с возможностью поворота в корпусе (3) клапана и клапан дополнительно содержит соединительный канал в позиционирующем штоке, один конец которого сообщается с камерой (10) давления, а другой конец которого сообщается, по меньшей мере, с одним первым каналом (20) плунжера (9) в первом положении позиционирующего штока относительно плунжера, по меньшей мере, с одним вторым каналом (21) плунжера (9) во втором положении и не сообщается ни с одним из этих каналов (20; 21) в третьем положении.
10. Регулирующий клапан по п.9, отличающийся тем, что позиционирующий шток (12) проходит в осевом отверстии (19) плунжера (9) через камеру (10) давления и его соединительный канал выполнен в виде винтовой резьбы (25) по наружной стороне позиционирующего штока (12) от камеры (10) давления до области на некотором расстоянии от этой камеры.
11. Регулирующий клапан по п.9, отличающийся тем, что по меньшей мере один второй поперечный канал (21) плунжера (9) имеет диаметр, меньший или равный расстоянию по оси между двумя смежными витками в 360° винтовой резьбы (25).
12. Регулирующий клапан по п.9, отличающийся тем, что плунжер (9) выполнен с возможностью перемещения в камере (10) давления между первым положением, в котором его затвор (8) закрывает проходное отверстие (7) клапана, и вторым положением, в котором затвор расположен на максимальном расстоянии от проходного отверстия (7) клапана.
13. Регулирующий клапан по п.9, отличающийся тем, что затвор (8) выполнен в виде конуса и выполнен с возможностью входить в проходное отверстие (7) клапана.
14. Регулирующий клапан по п.9, отличающийся тем, что камера (10) давления имеет диаметр больший, чем диаметр проходного отверстия (7) клапана.
15. Регулирующий клапан по п.9, отличающийся тем, что выходящая наружу часть (14) позиционирующего штока (12) соединена с исполнительным механизмом.
16. Регулирующий клапан по любому из пп.9-15, отличающийся тем, что позиционирующий шток (12) снабжен манжетами (50; 51) на каждом из концов осевого отверстия (19) плунжера (9) и расстояние между этими манжетами больше, чем длина осевого отверстия (19).
РИСУНКИ
PC4A – Регистрация договора об уступке патента Российской Федерации на изобретение
(73) Патентообладатель(и):
ФК Афвиклинг АФ 11/4 АпС (DK)
(73) Патентообладатель:
ХИХ Девелопмент А/С (DK)
Дата и номер государственной регистрации перехода исключительного права: 16.10.2006 № РД0013216
Извещение опубликовано: 27.11.2006 БИ: 33/2006
|
|