|
(21), (22) Заявка: 2005106783/06, 09.03.2005
(24) Дата начала отсчета срока действия патента:
09.03.2005
(45) Опубликовано: 20.05.2006
(56) Список документов, цитированных в отчете о поиске:
RU 14993 U1, 10.09.2000. RU 5231 U1, 16.10.1997. RU 5631 U1, 16.12.1997. US 2003183792 A, 02.10.2003.
Адрес для переписки:
450059, г.Уфа, ул. Р. Зорге, 35, ООО “АРМ ГАРАНТ”
|
(72) Автор(ы):
Белоусов Валерий Александрович (RU), Князев Юрий Алексеевич (RU), Набиев Рустем Маратович (RU)
(73) Патентообладатель(и):
Общество с ограниченной ответственностью “АРМ ГАРАНТ” (RU)
|
(54) ЭЛЕКТРОПРИВОД АРМАТУРЫ ТРУБОПРОВОДОВ
(57) Реферат:
Электропривод арматуры трубопроводов предназначен для использования в трубопроводной арматуре. Электропривод содержит электродвигатель с зубчатым колесом на его валу и червячный редуктор с выходным валом. Коробка передач выполнена из легкого сплава. В корпусе коробки установлен стальной стакан с буртом. В стакане расположен упорный однорядный подшипник. Последний закрыт стальной шайбой. Последняя поджата к стакану кольцевым фланцем. На последний установлена крышка. Кольца упорного подшипника установлены свободно с зазором и на валу червяка, и в стакане. Также кольца подшипника установлены свободно с зазором по торцам между буртом стакана и стальной шайбой. Обеспечивается повышение нагрузочной способности и расширение технических возможностей электропривода. 1 з.п. ф-лы, 4 ил.
Изобретение относится к области трубопроводного транспорта и касается электропривода к задвижкам продуктопроводов, преимущественно нефтепроводов.
Электропривод может быть использован также на арматуре (задвижках и шаровых кранах) газопроводов, тепловых сетей, в водоканализационных системах, нефтегазоперерабатывающих и химических предприятиях, а также на атомных станциях.
Известен электропривод, содержащий электродвигатель с зубчатым колесом на валу, червячный редуктор, механизм выключения электродвигателя при конечных положениях запорного органа арматуры, механизм ограничения величины крутящего момента, включающий тарельчатые пружины, расположенные на валу подвижного вдоль оси червяка по обе стороны опорного подшипника (RU 5231 U1, 08.08.96 г.).
В качестве опорного подшипника для тарельчатых пружин используется радиальный подшипник. Радиальный подшипник позволяет воспринимать осевое усилие величиной до 70% от его радиальной нагрузочной способности.
Радиальный подшипник обеспечивает двустороннюю осевую нагрузку, то есть попеременно с одной, а затем с другой стороны, особенно при больших скоростях вращения.
Однако при увеличении осевой нагрузки вдвое и больше и соответственно уменьшения скорости вращения радиальные подшипники не выдерживают нагрузки, заклинивают или разрушаются.
Известен электропривод, содержащий электродвигатель с зубчатым колесом на валу, червячный редуктор, механизм выключения электродвигателя при конечных положениях запорного органа арматуры, механизм ограничения величины крутящего момента, включающий тарельчатые пружины, расположенные на валу подвижного вдоль оси червяка по обе стороны опорного подшипника, а также зубчатую передачу между двигателем и валом червяка, которая размещена в коробке передач, соединенной с корпусом редуктора, при этом в стенке коробки передач консольно установлена ось, на которой дополнительно размещено зубчатое колесо, соединенное с зубчатыми колесами двигателя и вала червяка. (RU 14993 U1, 03.04.2000 г.).
В такой конструкции привода зубчатое колесо на валу электродвигателя может быть меньше в несколько раз зубчатого колеса на валу червяка. В реальной конструкции привода это соотношение равно 1:3, т.е. скорость вращения вала червяка уменьшилась в 3 раза, а крутящий момент увеличился в 3 раза.
При этом осевая нагрузка при работе на арматуре увеличится также на блоки тарельчатых пружин и на радиальный подшипник.
Для восприятия увеличенной втрое осевой нагрузки требуется применение другого радиального подшипника.
Но такой радиальный подшипник имеет большие габариты, в результате чего нужно увеличивать соответственно размеры корпуса редуктора и коробки передач.
Взамен радиального подшипника можно было бы применить упорный подшипник, соизмеримый с размерами используемого радиального подшипника, но который обладает более высокой нагрузочной способностью, например в 3 раза.
Но однорядные упорные подшипники предназначены только для восприятия осевых нагрузок в одном направлении (П.И.Орлов. Основы конструирования, книга 2, издание третье, М.: «Машиностроение», 1988, с.408).
Для двустороннего действия для однорядного упорного подшипника необходимо выполнить специальное устройство подшипникового узла (например, рис.794, стр.442 книги П.И.Орлова) или применить двухрядный подшипник.
В существующих размерах корпуса редуктора и коробки передач применить двухрядный подшипник невозможно.
Задачей настоящего изобретения является разработка такого электропривода, который обеспечивал бы повышенные нагрузочные способности, расширение технических возможностей при сохранении размеров корпуса редуктора и коробки передач.
Кроме того, необходимо выполнить требования эксплуатационников, чтобы корпусные детали были выполнены из легких сплавов и могли выдерживать температуру окружающей среды в условиях Крайнего Севевра, где сложно использовать грузоподъемную технику.
Поставленная задача решается тем, что в электроприводе, содержащем электродвигатель с зубчатым колесом на его валу, червячный редуктор с выходным валом, механизм выключения электродвигателя при конечных положениях запорного органа арматуры, механизм ограничения величины крутящего момента, включающий тарельчатые пружины, расположенные на валу подвижного вдоль оси червяка по обе стороны опорного подшипника, а также зубчатую передачу между двигателем и валом червяка, которая размещена в коробке передач, соединенной с корпусом редуктора, согласно изобретению в корпусе коробки передач из легкого сплава установлен стальной стакан с буртом, в котором расположен упорный однорядный подшипник, подшипник закрыт стальной шайбой, которая поджата к стакану кольцевым фланцем, а на фланец установлена крышка, при этом кольца упорного подшипника установлены свободно (с зазором) и на валу червяка, и в стакане, а также свободно (с зазором) по торцам между буртом стакана и стальной шайбой.
Сущность изобретения поясняется примерами конкретного выполнения и прилагаемыми чертежами.
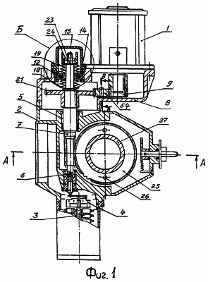
На фиг.1 – изображен электропривод в разрезе вдоль силового червяка червячной передачи.
На фиг.2 – электропривод в разрезе А-А по фиг.1 вдоль выходного вала привода.
На фиг.3 – изображен узел Б на фиг.1, где расположен упорный подшипник в стакане и тарельчатые пружины.
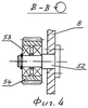
На фиг.4 – изображен узел промежуточного зубчатого колеса, разрез В-В по фиг.1.
Электропривод содержит электродвигатель 1 (фиг.1), червячный редуктор 2, механизм 3 выключения электродвигателя при конечных положениях запорного органа арматуры и механизм 4 ограничения величины крутящего момента.
В корпусе редуктора на игольчатых подшипниках 5 и 6 установлен вал-червяк 7. К корпусу редуктора присоединена коробка передач 8, к которой закреплен электродвигатель 1 с зубчатым колесом 9.
В корпусе коробки передач 8 из легкого сплава установлен стальной стакан 10 (фиг.3) с буртом 11.
В стакане 10 расположен упорный подшипник 12, закрытый стальной шайбой 13, которая поджата к стакану 10 кольцевым фланцем 14 с помощью винтов.
На фланце закреплена крышка 15.
Кольца 16 и 17 упорного подшипника 12 установлены свободно, с зазором порядка 0,1-0,3 мм на валу-червяке 7 и в стакане 10. Также свободно, с зазором порядка 0,3-0,5 мм, эти кольца расположены по торцам между буртом 11 стакана 10 и стальной шайбой 13.
Блоки тарельчатых пружин 18 и 19 расположены по обе стороны упорного подшипника 12 и поджимают к его кольцам 16 и 17 шайбы 20.
На валу-червяке 7 установлено зубчатое колесо 21.
На конце вала-червяка может быть установлена полумуфта 22, которая крепится с помощью гайки 23 и контрогайки 24, при этом происходит предварительное натяжение тарельчатых пружин.
Полумуфта 22 может быть использована при взаимодействии с полумуфтой дублирующего пневматического привода, который может крепиться к коробке передач 8.
Для этого крышка 15 снимается. На коробке передач выполнены резьбовые отверстия, с помощью которых и крепится дублирующий пневматический привод.
Вал-червяк 7 связан с червячным колесом 25 (фиг.1), которое снабжено двумя поводками 26 и свободно установлено на выходном валу 27.
На выходном валу 27 расположена муфта 28 (фиг.2) со шпонками 29, которые входят в пазы выходного вала 27. При вращении червячного колеса 25 поводки 26 имеют возможность сцепляться со шпонками 29 муфты 28.
При вращении в любую сторону червячное колесо 25 увлекает конец упора 30 в сторону, при этом нарушается устойчивость упора, и под действием пружины 31 муфта 28 входит во взаимодействие с червячным колесом 25.
На муфте 28 выполнены пальцы 32 для взаимодействия с выступами 33 ступицы 34 штурвала 35.
Для подъема муфты 28 выполнен рычаг 36 с кулачком 37, который воздействует на вилку 38. Вилка 38 снабжена двумя пальцами 39, с помощью которых муфта 28 поднимается вверх для взаимодействия с выступами 33 ступицы 34.
На оси вилки 38 установлен поворотный упор 30, который под действием пружины на вилке 38 занимает вертикальное положение и упирается в червячное колесо 25. Выходной вал 27 установлен на радиальном подшипнике 40, который расположен в ступице 34 штурвала 35, и на радиальном подшипнике 41, который установлен в обойме 42, закрепленной к корпусу редуктора 2. Обойма 42 присоединятся к фланцу запорной арматуры.
Подшипник 41 фиксируется в корпусе обоймы 42 крышкой 43, а на валу 27 фиксируется стопорным кольцом 44.
В обойме 42 установлены резиновые уплотнительные манжеты 45, которые закрыты фланцем 46 с центрирующими выступами. Между манжетами 45 и подшипником 41 установлено разделительное кольцо 47.
Вместо резиновых манжет 45 могут быть установлены уплотнительные кольца 48 из упругого графита (материал «Графлекс»), который работоспособен в диапазоне температур от минус 190 градусов Цельсия до плюс 600 градусов Цельсия и исключительно нейтрален для всех химических элементов. Приводы с такими уплотнителями могут быть применены на тепловых и атомных станциях.
На выходном валу 27 установлен мелкомодульный кинематический червяк 49, который взаимодействует с колесом 50 механизма 3 выключателя электродвигателя при конечных положениях запорного органа арматуры.
На выходном валу 27 выполнены выступы 51 для взаимодействия со шпинделем или бугельным узлом запорного органа арматуры.
На стенке коробки передач 8 установлена ось 52 (фиг.4), на которой на подшипниках 53 расположено зубчатое промежуточное колесо 54.
Работает электропривод следующим образом.
При включении электродвигателя 1 вращение с помощью зубчатой передачи сообщается валу-червяку 7. Вал-червяк передает вращение червячному колесу 25. Червячное колесо 25 с помощью поводков 26 (фиг.2) сцепляется со шпонками 29 муфты 28, расположенной на выходном валу 27.
Таким образом передается движение выходному валу 27, который связан с запорным органом арматуры и производит движение запорного органа на закрытие или открытие.
При этом преодолевается сопротивление со стороны запорного органа, в результате чего на вал-червяк передается осевая нагрузка. Вал-червяк осуществляет осевое перемещение. При закрытии – в сторону механизма 4 ограничения величины крутящего момента и воздействует на него.
При открытии движение происходит в обратном направлении.
При закрытии сжимается блок тарельчатых пружин 19 (фиг.3), при этом кольцо 16 упорного подшипника 12 упирается в бурт 11 стакана 10 и становится неподвижным, а кольцо 17 отходит от стальной шайбы 13 и имеет возможность вращаться.
При открытии сжимается блок тарельчатых пружин 18, кольцо 17 упирается в стальную шайбу 13 и становится неподвижным, а кольцо 16 отходит от бурта 11 стакана 10 и имеет возможность вращаться.
Такая конструкция узла однорядного упорного подшипника 12 обеспечивает восприятие подшипником двусторонней нагрузки.
За счет установки с зазорами упорного подшипника обеспечивается расширение технологических возможностей привода, повышение нагрузочных способностей привода при сохранении размеров корпуса редуктора и коробки передач, что экономически выгодно.
Например, в реальном приводе по свидетельству 5231 максимальное осевое усилие на червяке составляет около 9500 Н.
В конструкции подобран радиальный однорядный подшипник №306 с размерами 30×72×19, который рассчитан на статическую радиальную нагрузку 14600 Н.
В предлагаемой конструкции привода максимальное осевое усилие составляет в 3 раза больше, то есть около 28500 Н.
Для такого осевого усилия потребуется радиальный однорядный подшипник, рассчитанный на радиальную нагрузку порядка 45000 Н.
Такому радиальному усилию соответствует радиальный однорядный подшипник №312 с размерами 60×130×31, статическая радиальная нагрузка на который составляет 48000 Н.
Габариты такого подшипника неприемлемы, как под вал червяка 60 мм вместо требуемого 30 мм, так и по наружному диаметру 130 мм вместо 72 мм.
Среди упорных однорядных подшипников из расчета на осевую нагрузку порядка 28500 Н подходит упорный подшипник №8306 с размерами 30×60×21 с его возможностью воспринимать осевую нагрузку порядка 50000 Н, то есть больше необходимого.
Определяющим здесь является размер вала червяка, который равен 30 мм. По наружному диаметру этот подшипник меньше радиального №306, что позволяет свободно разместить в существующих размерах корпуса коробки передач стальной стакан для установки в нем упорного подшипника №8306.
По ширине этот подшипник незначительно больше (только на 2 мм), что вполне приемлемо. Таким образом, взамен радиального подшипника применяется упорный, при этом по новой схеме его установки на валу-червяке и в корпусных деталях, которая ранее не использовалась.
Такая схема установки позволяет применять однорядный упорный подшипник для восприятия двусторонней нагрузки и при сохранении размеров корпусов коробки передач и редуктора, а также позволяет воспринимать нагрузки в несколько раз больше, чем сопоставимых размеров радиальный подшипник.
При испытании привода с упорным подшипником был достигнут крутящий момент величиной 450 кГм вместо 110 кГм на приводе-аналоге по патенту №5231, то есть более 3 раз. При этом двигатель работал при большей силе тока, но все элементы конструкции выдержали повышенную нагрузку.
Выполнение кольцевого фланца 14 обеспечивает возможность производить расклинивание привода путем вращения ключом вручную за полумуфту 22 при снятой крышке 15. Явление заклинивания иногда наблюдается при пуско-наладочных работах, когда происходит остановка запорного органа при попадании в арматуру посторонних предметов, а также при неправильном подключении фаз электродвигателя и неправильной настройке механизма выключателей электродвигателя при конечных положениях запорного органа арматуры (задвижки или шарового крана).
Такие явления наблюдаются и при использовании электроприводов фирмы «РОТОРК», которые брались за прототип на начальных стадиях проектирования. Наличие этих явлений отражено в инструкции по эксплуатации фирмы «РОТОРК».
При снятой крышке 15 подшипник 12 и стакан 10 удерживаются фланцем 14. При этом вал-червяк 7 не вывинчивается и не выходит далеко наружу, как это происходит в приводе-аналоге (RU 5231) и приводе фирмы «РОТОРК».
Из доступных источников информации авторы не выявили устройство со сходными признаками.
На Уфимском приборостроительном производственном объединении изготовлен опытный образец с использованием однорядного упорного подшипника, который показал свою работоспособность, прошел приемочные испытания и рекомендован к серийному производству.
Источники информации
1. RU 5231 U1, 08.08.1996 г.
2. RU 14993 U1, 03.04.2000 г.
3. RU 14994 U1, 03.04.2000 г.
4. RU 7466 U1, 05.08.1997 г.
5. RU 18432 U1, 25.08.2000 г.
6. RU 2173799 С1, 10.11.2000 г.
7. П.И.Орлов. Основы конструирования, книга 2, издание третье, М.: «Машиностроение», 1988, с.408, с.442, рис.794.
8. Описание технического обслуживания электропривода типа А, стр.13.
Формула изобретения
1. Электропривод арматуры трубопроводов, содержащий электродвигатель с зубчатым колесом на его валу, червячный редуктор с выходным валом, механизм выключения электродвигателя при конечных положениях запорного органа арматуры, механизм ограничения величины крутящего момента, включающий тарельчатые пружины, расположенные на валу подвижного вдоль оси червяка по обе стороны опорного подшипника, а также зубчатую передачу между двигателем и валом червяка, которая размещена в коробке передач, соединенной с корпусом редуктора, отличающийся тем, что в корпусе коробки из легкого сплава установлен стальной стакан с буртом, в котором расположен упорный однорядный подшипник, подшипник закрыт стальной шайбой, которая поджата к стакану кольцевым фланцем, а на фланец установлена крышка, при этом кольца упорного подшипника установлены свободно с зазором и на валу червяка и в стакане, а также свободно с зазором по торцам между буртом стакана и стальной шайбой.
2. Электропривод по п.1, отличающийся тем, что выходной вал привода расположен на радиальных подшипниках, один из которых установлен в ступице штурвала, а второй расположен в обойме, которая присоединяется к фланцу трубопроводной арматуры, при этом уплотнение выходного вала с обоймой обеспечивается резиновыми манжетами или кольцами из упругого графита, которые закрыты фланцем с центрирующим выступом со стороны поверхности обоймы, устанавливаемой на трубопроводную арматуру, кроме того, на выходном валу установлен мелкомодульный кинематический червяк, который взаимодействует с колесом механизма выключения электродвигателя при конечных положениях запорного органа арматуры.
РИСУНКИ
|