|
(21), (22) Заявка: 2003120320/11, 02.07.2003
(24) Дата начала отсчета срока действия патента:
02.07.2003
(43) Дата публикации заявки: 27.03.2005
(45) Опубликовано: 20.05.2006
(56) Список документов, цитированных в отчете о поиске:
FR 2699238 А, 17.06.1994. SU 966344 A1, 15.10.1982. SE 127458 А, 12.11.1973.
Адрес для переписки:
600000, г.Владимир, ул. Нижняя Дуброва, 44, кв.169, Р.А. Шипилову
|
(73) Патентообладатель(и):
Шипилов Роман Александрович (RU), Гонченко Борис Васильевич (RU), Сафрыгин Михаил Михайлович (RU)
|
(54) ПОДШИПНИК КАЧЕНИЯ
(57) Реферат:
Изобретение относится к области машиностроения и может быть применен во всех отраслях промышленности. Подшипник качения радиально-упорный однорядный содержит внутреннее и разъемное наружное кольца, размещенные между ними тела качения, выполненные в виде одноступенчатых роликов, установленных в сепаратор. Больший диаметр большей ступени ролика, выполненный сферическим, контактирует только с двумя дорожками качения разъемного наружного кольца подшипника в двух точках под углом контакта . Меньший диаметр ступеней ролика, выполненный цилиндрическим, через промежуточное звено контактирует только с дорожками качения внутреннего кольца подшипника в двух точках, с постоянной и одинаковой частотой вращения. Дорожка качения внутреннего кольца подшипника выполнена с кольцевой проточкой и образует зазоры под большим диаметром большей ступени ролика. Промежуточное звено представляет собой жесткое торовое кольцо, которое выполнено увеличенным по отношению к расчетному меньшему диаметру ступеней ролика. Дорожки качения под жесткое торовое кольцо выполнены на внешней стороне внутреннего кольца подшипника, канавки под торовое кольцо выполнены и на цилиндрических участках меньших диаметров ступеней ролика. Технический результат – повышение долговечности подшипника за счет устранения проскальзывания тел качения, снижения величины упругого гистерезиса в зоне контакта меньшего диаметра ступеней ролика. 1 ил.
Изобретение относится к области машиностроения и приборостроения, а также может быть использовано во всех отраслях промышленности.
Известны подшипники качения, содержащие внутреннее и наружное кольца с дорожками качения, размещенные между ними тела качения, выполненные в виде шариков или роликов, установленных в гнездах сепаратора.
Основным недостатком известных подшипников качения является наряду с трением качения присутствие трения качения с проскальзыванием тел качения относительно дорожек качения:
– проскальзывание тел качения относительно дорожек качения, вызванное сдвиговой деформацией материала в точке контакта;
– скольжение тел качения относительно дорожек качения при нарушении качения в результате сдвигов и перекосов колец подшипников под нагрузкой (см. П.И. Орлов кн.2 “Основы конструирования” М.: Машиностроение, 1977, с.453…460).
Для примера возьмем подшипник качения радиально-упорный шариковый однорядный с разъемным наружным кольцом с четырехточечным контактом №116220 по ГОСТ 8995-75, у которого d100×D180×B34; DW25.4; Z=14; =26; Nk=4000 мин-1; Nж=5000 мин-1. Шарик 25,4 обкатывается по корде с 23 мм по дорожкам качения подшипника. По наружным дорожкам качения с 163 мм шарик обкатывается за один оборот вала:
Nоборотов= 163/ 23=7,086.
А по дорожкам качения внутреннего кольца с 117 мм шарик делает за один оборот вала:
Nоборотов= 117/ 23=5,086
То есть по дорожкам качения наружного кольца подшипника шарик делает на два оборота больше, чем по дорожкам качения внутреннего кольца подшипника. Эта величина равна величине проскальзывания шарика в подшипнике только за один оборот вала. А шариков в подшипнике 14 и каждый за один оборот вала делает по два лишних оборота или этот путь проскальзывает.
Однако подшипник может делать 5000 мин-1.Тогда число “лишних” оборотов будет сделано только за одну минуту всеми шариками (Z=14):
N=14×(5000×2)=140000 мин-1.
Данное противоречие работает в подшипниках качения как радиальных, так и радиально-упорных вот уже 120 лет со времени изготовления подшипников на заводе в Германии, когда был освоен промышленный выпуск.
Аналогами для данного предлагаемого изобретения являются заявки №2001119832 и №2002107654.
Цель изобретения:
– обеспечение чистого качения тел качения при обкатке их по дорожкам качения как внутреннего, так и наружного колец подшипника;
– в целом повысить долговечность подшипника, только за счет устранения проскальзывания тел качения, а также за счет снижения величины упругого гистерезиса в зоне контакта меньшего диаметра ступеней ролика;
– повысить частоту вращения подшипников качения, например, в два раза по отношению к известным подшипникам.
Поставленные цели и технический эффект предлагаемого изобретения достигается за счет того, что промежуточное звено представляет собой жесткое торовое кольцо, которое выполнено увеличенным по отношению к расчетному меньшему диаметру ступеней ролика, а дорожки качения под жесткое торовое кольцо выполнены как на внутреннем кольце подшипника, так и на цилиндрических участках меньших диаметров ступеней ролика.
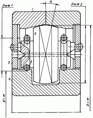
На чертеже изображен подшипник качения радиально-упорный однорядный с разъемным наружным кольцом с четырех точечным контактом тел качения с дорожками качения. Направление воспринимаемых нагрузок – радиальное и осевое в обе стороны.
Подшипник качения состоит из разъемного наружного кольца 1, тел качения 2, сепаратора 3, внутреннего кольца 4 и промежуточного звена 5. Тела качения 2 выполнены в виде одноступенчатого ролика, больший диаметр большей стороны ролика выполнен сферическим по форме и контактирует только с дорожками качения с диаметром D1m наружного кольца 1 в двух точках по диаметру ролика Dwm2 с углом контакта ( равен от 12° до 36°, как пример). А меньший диаметр ступеней ролика 2 выполнен цилиндрическим с радиусными кольцевыми проточками, по которым проходит обкатка промежуточного звена 5. Последнее выполнено в виде жесткого тора с увеличенным диаметром по отношению к расчетному. На внутреннем кольце 4 выполнена кольцевая проточка с образованием зазоров под больший диаметр большей ступени ролика 2. Дополнительно на внутреннем кольце 4 выполнены радиусные кольцевые проточки – дорожки качения с диаметром d1m, по которым и происходит контакт расчетного диаметра Dwm1 – меньшего диаметра ступени ролика 2.
Сепаратор 3 центрируется по наружному диаметру с кольцом 1, содержит центровые вставки для фиксации роликов 2, а так же соединительные ступенчатые заклепки (см. чертеж).
Подшипник качения изображенный на чертеже работает следующим образом: при вращении вала получает вращение внутреннее кольцо 4, ступенчатый ролик 2 своим меньшим диаметром Dwm1 через промежуточное звено 5 обкатывается по дорожкам качения с диаметром d1m внутреннего кольца 4. Больший диаметр большей ступени Dwm1 обкатывается по дорожкам качения D1m наружного кольца 1. При этом необходимо чтобы выполнялось условие сборки:
D1m/Dwm2=d1m/Dwm1=const.
Здесь надо заметить, что данное условие позволяет телам качения 2 обкатываться по наружной и внутренней дорожкам качения с постоянной и одинаковой частотой вращения без проскальзывания.
Промежуточное звено 5, жесткое торовое кольцо, контактирует одновременно и с дорожками качения внутреннего кольца 4 и кольцевыми проточками меньшего диаметра ступеней ролика 2. При этом данное звено 5 участвует в передаче как радиальной нагрузки, так и осевой. Промежуточное звено 5 – жесткий кольцевой тор, выполненный большего, чем расчетный диаметр меньшего диаметра ступени ролика Dwm1, работает своим радиусом от центра ролика 2. Больший же радиус жесткого тора 5 при обкатке снижает величину упругого гистерезиса в месте контакта с дорожкой качения по диаметру d1m. Так как в контакте с дорожками качения d1m проходит и обкатывается увеличенный радиус торового жесткого кольца 5. А в контакте с дорожками качения D1m наружного кольца 1 участвует два участка с диаметром Dwm2 – большего диаметра ступени ролика 2.
Следует заметить, это диаметры жесткого кольцевого тора могут быть и различными по наружному диаметру, а по сечению тор должен быть идеальным и одинаковым. Это обстоятельство не повлияет на работу подшипника при его вращении, это скажется только на скорости обкатки промежуточного звена 5 по своему среднему диаметру кольца тора. Однако это обстоятельство повлияет на собственные колебания подшипника.
Будет лучше, если наружные диаметры тора будут одинаковыми для каждого ролика (например, для первого ролика dH тора будет равен 65 мм, а для последующего dH равен 63 мм). То есть неплохо будет чередовать dH тора величинами, кратными 2; 3; 4; 5…. Это повлияет на плавность хода при вращении подшипника, чем увеличит его надежность.
Отсутствие проскальзывания тел качения позволит значительно повысить частоту вращения подшипника, например, в два или более раз и одновременно повысить и долговечность, снизить шум при работе.
Отсутствие проскальзывания тел качения способствует и снижению расхода масла. Можно применять смазку масляным туманом, как пример. Большой избыточный расход смазки в скоростном подшипнике снижает обороты подшипника и выступает в качестве тормоза.
Формула изобретения
Подшипник качения радиально-упорный однорядный, содержащий внутреннее и разъемное наружное кольца, размещенные между ними тела качения, выполненные в виде одноступенчатых роликов, установленных в сепаратор, больший диаметр большей ступени ролика, выполненный сферическим, контактирует только с двумя дорожками качения разъемного наружного кольца подшипника в двух точках под углом контакта , a меньший диаметр ступеней ролика, выполненный цилиндрическим, через промежуточное звено контактирует только с дорожками качения внутреннего кольца подшипника в двух точках, с постоянной и одинаковой частотой вращения, при этом выполняется условие сборки подшипника:
D1m/Dwm2=d1m/Dwm1=Const,
где D1m – диаметр дорожек качения наружного кольца подшипника;
Dwm2 – больший диаметр большей ступени ролика;
d1m – диаметр дорожек качения внутреннего кольца подшипника;
Dwm1 – меньший диаметр ступеней ролика,
а дорожка качения внутреннего кольца подшипника выполнена с кольцевой проточкой и образует зазоры под большим диаметром большей ступени ролика, отличающийся тем, что промежуточное звено представляет собой жесткое торовое кольцо, которое выполнено увеличенным по отношению к расчетному меньшему диаметру ступеней ролика, а дорожки качения под жесткое торовое кольцо выполнены на внешней стороне внутреннего кольца подшипника, канавки же под торовое кольцо выполнены и на цилиндрических участках меньших диаметров ступеней ролика.
РИСУНКИ
MM4A – Досрочное прекращение действия патента СССР или патента Российской Федерации на изобретение из-за неуплаты в установленный срок пошлины за поддержание патента в силе
Дата прекращения действия патента: 03.07.2007
Извещение опубликовано: 20.02.2009 БИ: 05/2009
|