|
|
(21), (22) Заявка: 2003127662/11, 11.09.2003
(24) Дата начала отсчета срока действия патента:
11.09.2003
(43) Дата публикации заявки: 27.03.2005
(45) Опубликовано: 20.05.2006
(56) Список документов, цитированных в отчете о поиске:
WO 0049300 A1, 24.08.2000. GB 2136088 A, 12.09.1984. DE 19531365 A1, 27.02.1997. SU 1227837 A1, 30.04.1986.
Адрес для переписки:
606522, Нижегородская обл., г. Заволжье, ул. Советская, 1, ОАО “ЗАВОЛЖСКИЙ МОТОРНЫЙ ЗАВОД”, УГТ, БРИЗ
|
(72) Автор(ы):
Дюжаков Владимир Федорович (RU), Миронычев Михаил Андреевич (RU), Голубцов Валерий Владимирович (RU)
(73) Патентообладатель(и):
Открытое акционерное общество “ЗАВОЛЖСКИЙ МОТОРНЫЙ ЗАВОД” (RU)
|
(54) ШАТУН ДВИГАТЕЛЯ ВНУТРЕННЕГО СГОРАНИЯ
(57) Реферат:
Изобретение относится к области двигателестроения, в частности к конструкциям шатунов. Шатун двигателя внутреннего сгорания содержит поршневую и кривошипную головки, соединяющий их жесткий шток и крышку, присоединенную болтами к кривошипной головке. Ось наружной поверхности поршневой головки смещена относительно оси отверстия под поршневой палец на величину i в сторону таким образом, что обеспечивается выравнивание напряжений в правой и левой половинах поперечного сечения поршневой головки от действия момента трения в паре палец – поршневая головка. Технический результат – обеспечение равных напряжений в поперечных сечениях поршневой головки шатуна с целью уменьшения его массы при обеспечении необходимых несущих свойств. 2 ил.
Изобретение относится к области двигателестроения, а именно к конструкциям шатунов.
Известна конструкция шатуна двигателя внутреннего сгорания, состоящая из шатунной ножки, шатунной головки и стержня, ось которого проходит через центры отверстий в верхней и нижней головках шатунов и имеет равновеликие составные половинки (см. патент FR №2719349, кл. F 16 C 7/00 от 29.04.94).
Известна конструкция шатуна двигателя внутреннего сгорания, поршневую и кривошипную головки, соединяющий их жесткий шток и крышку, присоединенную болтами к кривошипной головке, в котором центр масс смещен относительно его продольной оси (см. авт. свид. SU №1227837, кл. F 16 C 7/02 от 28.04.81 г.).
К причинам, препятствующим достижению указанного ниже технического результата, при использовании известного изобретения является неравномерное распределение растягивающих напряжений по поперечному сечению поршневой головки шатуна, возникающих при инерции поршневого комплекта и поршневого пальца при прохождении поршнем верхней мертвой точки во время такта выпуска, обусловленное симметричностью поршневой головки.
Наиболее близким устройством того же назначения к заявленному изобретению по совокупности признаков является шатун, содержащий поршневую и кривошипную головки, стержень, ось которого смещена от линии, соединяющей центры поршневой и кривошипной головок с целью достижения большей мощности, момента и экономичности машины, и крышку, присоединенную болтами к кривошипной головке (см. заявка WO №49300, кл. F 16 C 7/02 от 25.02.2000 г.).
К причинам, препятствующим достижению указанного ниже технического результата при использовании известного изобретения, принятого за прототип, является симметричность поршневой головки шатуна, которая приводит к неравномерному нагружению поперечных сечений от результирующей сил инерции и трения.
Сущность изобретения – обеспечение равных напряжений в поперечных сечениях поршневой головки шатуна с целью уменьшения его массы при обеспечении необходимых несущих свойств.
Технический результат – снижение массы шатуна приводит к уменьшению массы противовесов коленчатого вала, уменьшению инерционных сил подвижных деталей кривошипно-шатунного механизма, снижению шума, вибраций, расхода топлива и уменьшению вредных выбросов ДВС.
Указанный технический результат при осуществлении изобретения достигается тем, что в шатуне двигателя внутреннего сгорания, содержащем поршневую и кривошипную головки, соединяющий их жесткий шток и крышку, присоединенную болтами к кривошипной головке, особенностью является то, что ось наружной поверхности поршневой головки смещена относительно оси отверстия под поршневой палец на величину i в сторону таким образом, что обеспечивается выравнивание напряжений в правой и левой половинах поперечного сечения поршневой головки от действия момента трения в паре палец – поршневая головка.
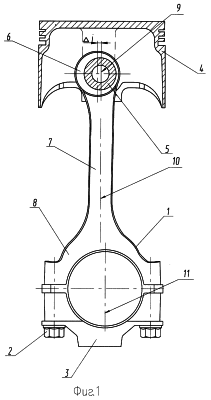
На чертежах представлено: на фиг.1 изображен общий вид шатуна двигателя внутреннего сгорания; на фиг.2 – поршневая головка шатуна со смещением оси образующей наружной поверхности относительно оси отверстия под поршневой палец.
Шатун двигателя внутреннего сгорания включает корпус шатуна 1, содержащий поршневую головку 6 с осью отверстия 9, стержень 7 с осью 10 и кривошипную головку 8 с осью отверстия 11, к которой болтами 2 крепится крышка шатуна 3. Шатун поршневым пальцем 5 соединен с поршнем 4.
Работа шатуна на такте выпуска осуществляется следующим образом. Силы инерции, действующие на поршень 4 и на поршневой палец 5, передаются на поршневую головку шатуна 6, далее через стержень шатуна 7 на кривошипную головку 8, от которой передаются на кривошип коленчатого вала. Для неподвижной схемы все силы проходят через центры отверстий. Но при колебательном движении шатуна в шарнирной паре поршневой головки образуется момент, вызванный трением фрикционной пары поршневой палец – поршневая головка шатуна, который нарушает симметрию нагрузки, вследствие чего левая и правая часть поперечного сечения поршневой головки нагружается по разному.
Преимущество изобретения состоит в том, что ось наружной поверхности поршневой головки смещена относительно оси отверстий под поршневой палец на величину i. В этом случае площади и моменты инерции левой и правой половины поперечного сечения поршневой головки шатуна становятся неодинаковыми, и поршневая головка работает как непризматическая криволинейная балка. Величина смещения является сложной функцией геометрических размеров, характеристик материалов, действующей нагрузки и коэффициента трения и в каждом конкретном случае определяется расчетным путем таким образом, чтобы максимальные напряжения в левой и правой половине поперечного сечения головки были равны.
Формула изобретения
Шатун двигателя внутреннего сгорания, содержащий поршневую и кривошипную головки, соединяющий их жесткий шток и крышку, присоединенную болтами к кривошипной головке, отличающийся тем, что ось наружной поверхности поршневой головки смещена относительно оси отверстия под поршневой палец на величину i в сторону таким образом, что обеспечивается выравнивание напряжений в правой и левой половинах поперечного сечения поршневой головки от действия момента трения в паре палец – поршневая головка.
РИСУНКИ
|
|